Крупнейшая бесплатная информационно-справочная система онлайн доступа к полному собранию технических нормативно-правовых актов РФ. Огромная база технических нормативов (более 150 тысяч документов) и полное собрание национальных стандартов, аутентичное официальной базе Госстандарта. GOSTRF.com - это более 1 Терабайта бесплатной технической информации для всех пользователей интернета. Все электронные копии представленных здесь документов могут распространяться без каких-либо ограничений. Поощряется распространение информации с этого сайта на любых других ресурсах. Каждый человек имеет право на неограниченный доступ к этим документам! Каждый человек имеет право на знание требований, изложенных в данных нормативно-правовых актах!

  


 

РУКОВОДЯЩИЙ ДОКУМЕНТ

ТЕПЛООБМЕННИКИ НА ДАВЛЕНИЕ СВЫШЕ 10 ДО 100 МПа (СВЫШЕ 100 ДО 1000 КГС/СМ2).

Расчет толщины трубной решетки.

РД 26-01-167-88

РУКОВОДЯЩИЙ ДОКУМЕНТ

ТЕПЛООБМЕННИКИ НА ДАВЛЕНИЕ СВЫШЕ 10 ДО 100 МПа (СВЫШЕ 100 ДО 1000 КГС/СМ2).

Расчет толщины трубной решетки.

РД 26-01-167-88

Дата введения 01.01.89

Настоящий руководящий документ распространяется на кожухотрубчатые теплообменные аппараты, работающие под действием внутреннего давления свыше 10 МПа до 100 МПа, применяемые в химической, нефтехимической промышленности, производстве минеральных удобрений и других смежных отраслях промышленности и отвечающие требованиям ГОСТ 11879-81, ОСТ 26-01-221-86, ОСТ 26-291-87, ОСТ 26-1046-87, ГОСТ 14249-80.

Настоящий руководящий документ устанавливает нормы и методы расчета толщины трубных решеток (из условия прочности) кожухотрубчатых теплообменных аппаратов с U-образными трубами, с компенсаторами на трубах, с компенсатором на корпусе межтрубного пространства аппарата.

Руководящий документ не распространяется на теплообменные аппараты высокого давления, (свыше 10 до 100 МПа), трубные решетки которых спроектированы до 01.01.89 г. и изготовлены до 01.01.91 г.

1. ОБЩИЕ ПОЛОЖЕНИЯ

1.1. Условные обозначения

C - сумма прибавок к расчетной толщине трубной решетки, мм;

Dт - внутренний диаметр камеры трубного пространства аппарата, мм;

Dм - внутренний диаметр камеры межтрубного пространства аппарата, мм;

Dк - наружный диаметр компенсатора, мм;

Dо - диаметр перфорированной части трубной решетки, мм;

D3 - диаметр окружности центров шпилек, мм;

D4 - наружный диаметр трубной решетки, мм;

DR - расчетный диаметр уплотнения, мм;

dp - диаметр отверстия в решетке, мм;

dт - наружный диаметр трубы, ми;

dВ - наружный диаметр резьбы шпильки, мм;

FQ - осевая сила от действия давления среды на крышку, Н;

FB - расчетное усилие, действующее на шпильки при расчетном давлении, Н;

i - количество труб;

Kp - поправочный коэффициент;

N - число циклов нагружения;

Nт - осевое усилие в трубе, Н;

n - количество отверстий в наиболее ослабленном сечении решетки;

Pm - расчетное давление в камере трубного пространства аппарата, МПа;

Рм - расчетное давление в камере межтрубного пространства аппарата, МПа;

R - расстояние от оси аппарата до оси наиболее удаленной трубы, мм;

SPR - расчетная толщина трубной решетки, мм;

Sp - исполнительная толщина трубной решетки, мм;

tp - шаг расположения отверстий в решетке, мм;

bp - коэффициент толстостенности трубной решетки;

d - высота сварного шва в месте приварки трубы к решетке, мм;

[s]p- допускаемое напряжение для материала трубной решетки при расчетной температуре, МПа;

[s]т - допускаемое напряжение для материала труб, МПа.

1.2. Материалы и требования к конструкции и изготовлению.

Материалы, применяемые для изготовления трубных решеток теплообменных аппаратов высокого давления, должны удовлетворять требованиям ОСТ 26-01-135-81.

1.3. Рабочее, расчетное, пробное давления, давление опрессовки.

Рабочее, расчетное, пробное избыточные давления и давление опрессовки определяются в соответствии с ГОСТ 14249-80.

1.4. Расчетная температура.

Расчетная температура трубных решеток определяется по ГОСТ 14249-80.

1.5. Допускаемое напряжение, коэффициенты запаса прочности.

1.5.1. Допускаемое напряжение и коэффициенты запаса прочности принимаются по ГОСТ 25215-82. Прочностные характеристики материала трубной решетки принимаются по ОСТ 26-01-135-81.

1.5.2. Проверку прочности трубных решеток на пробное давление необходимо производить в соответствии с ГОСТ 25215-82 и по формулам (1), (2), (6), (7), (12), (13), (15), (16) настоящего руководящего документа.

1.5.3. При гидравлическом испытании камеры теплообменного аппарата с многослойным корпусом повышенным давлением опрессовки необходимо производить проверку прочности трубной решетки по формулам (1), (2), (6), (7), (12), (13), (15), (16), подставляя в расчетные формулы величину давления опрессовки вместо расчетного давления. При этом коэффициент запаса прочности по пределу текучести при температуре испытаний должен быть не менее 1,07.

1.6. Прибавки к расчетным величинам.

Значения прибавки к расчетной толщине трубной решетки принимаются по ГОСТ 14249-80.

1.7. Порядок расчета.

1.7.1. Расчетная толщина трубной решетки определяется по разд. 2 и 3 настоящего руководящего документа для различных состояний, которые могут иметь место в рабочих условиях эксплуатации или при испытаниях теплообменного аппарата.

1.7.2. Теплообменные аппараты, в которых трубные решетки соответствуют данному руководящему документу по конструктивному оформлению, могут быть допущены в эксплуатацию без проверки на прочность при малоцикловых нагрузках, если выполняются все следующие условия:

1) весь аппарат не проверяется на прочность при малоцикловых нагрузках в соответствие с требованиями ОСТ 26-1046-87;

2) число циклов нагружения не превышает 1000;

3) расчетное давление в камере высокого давления не превышает 40 МПа;

4) (отношение толщины трубной решетки Sp к наружному диаметру D4 не превышает 0,3 и D4 не превышает 1500 мм;

5) перепад температур по толщине трубной решетки в рабочих условиях не превышает 50 °С;

6) разность температур сред трубного и межтрубного пространств для теплообменников с U-образными трубами в рабочих условиях не превышает 35 °.

1.7.3. Если трубные решетки не удовлетворяют данному руководящему документу по конструктивному оформлению или, если не выполняется хотя бы одно из условий п. 1.7.2, то необходимо провести расчет на прочность трубной решетки, который должен быть согласован с ИркутскНИИхиммашем.

2. РАСЧЕТ ТОЛЩИНЫ ТРУБНОЙ РЕШЕТКИ, ЖЕСТКО СВЯЗАННОЙ С КОРПУСОМ КАМЕРЫ ВЫСОКОГО ДАВЛЕНИЯ

2.1. Теплообменные аппараты с U-образными трубами или компенсаторами на трубах

2.1.1. Толщину трубной решетки (черт. 1, 2) следует рассчитывать по формулам:

                                             (1)

                                                     (2)

где

2.1.2. Диаметр перфорированной части трубной решетки следует определять по формуле

                                                        (3)

2.1.3. Величину коэффициента Кр в зависимости от толстостенности трубной решетки bр принимают в соответствии с черт. 3.

2.1.4. Величину коэффициента толстостенности трубной решетки следует определять по формуле

                                           (4)

2.1.5. Расчетную толщину трубной решетки следует принимать наибольшей из двух значений, определенных по формулам (1), (2).

2.1.6. При определении расчетной толщины трубной решетки, работающей при температуре свыше 200 °С, толщина аустенитного наплавленного или плакирующего защитного слоя не учитывается.

2.1.7. Исполнительная толщина трубной решетки должна удовлетворять условию:

                                                           (5)

2.2. Теплообменные аппараты с компенсатором на корпусе межтрубного пространства (Рт > Pм).

2.2.1. Толщину трубной решетки следует рассчитывать по формулам:

                     (6)

                                         (7)

2.2.2. Диаметр перфорированной части трубной решетки следует определять по формуле (3).

2.2.3. Величину коэффициента Кр следует определять в соответствии с черт. 3.

2.2.4. Величину коэффициента толстостенности трубной решетки следует определять по формуле

                     (8)

2.2.5. Расчетную толщину трубной решетки следует принимать наибольшей из двух значений, определенных по формулам (6), (7).

2.2.6. Исполнительная толщина трубной решетки должна удовлетворять условию (5) и требованию п. 2.1.6.

2.3. Проверка прочности крепления труб в решетке.

2.3.1. Условие прочности крепления труб в решетке

                                       (9)

2.3.2. Осевое усилие в трубе для теплообменных аппаратов с U-образными трубами, с компенсаторами на трубах следует определять по формуле

                                                       (10)

где

2.3.3. Осевое усилие в трубе для теплообменного аппарата с компенсатором на корпусе межтрубного пространства следует определять по формуле

                                       (11)

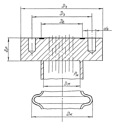
Трубная решетка, жестко связанная с корпусом камеры высокого давления (Рт > Pм).

Черт. 1

Трубная решетка, жестко связанная с корпусом камеры высокого давления (Рт < Pм).

Черт. 2

Коэффициент Kp

Черт. 3

3. РАСЧЕТ ТОЛЩИНЫ ТРУБНОЙ РЕШЕТКИ С РАЗЪЕМНЫМ СОЕДИНЕНИЕМ РЕШЕТКИ С КОРПУСОМ КАМЕРЫ ВЫСОКОГО ДАВЛЕНИЯ

3.1. Теплообменные аппараты с U-образными трубами или компенсаторами на трубах (Рт > Pм).

3.1.1. Толщину трубной решетки следует рассчитывать по формулам:

                                    (12)

                                                      (13)

3.1.2. Осевая сила FQ и расчетное усилие определяются по ГОСТ 26303-84.

3.1.3. Диаметр перфорированной части трубной решетки Do следует определять по формуле (3).

3.1.4. Величину коэффициента Kp в зависимости от толстостенности трубной решетки bp следует определять в соответствии с черт. 3.

3.1.5. Величину коэффициента толстостенности трубной решетки следует определять по формуле

                                       (14)

3.1.6. Расчетную толщину трубной решетки следует принимать наибольшей из двух значений SPR, определенных по формулам (12), (13).

3.1.7. Исполнительная толщина трубной решетки должна удовлетворять условию (5) и требованию п. 2.1.6.

3.1.8. Проверка прочности крепления труб в решетке должна проводиться по п. 2.3.

3.2. Теплообменные аппараты с компенсатором на корпусе межтрубного пространства в соответствии с черт. 4.

3.2.1. Толщину трубной решетки следует рассчитывать по формулам:

           (15)

                                          (16)

3.2.2. Диаметр перфорированной части трубной решетки следует определять по формуле (3).

3.2.3. Осевая сила FQ и расчетное усилие FB определяются по ГОСТ 26303-84.

3.2.4. Величину коэффициента Kp следует определять в соответствии с черт. 3.

3.2.5. Величину коэффициента толстостенности трубной решетки следует определять по формуле

    (17)

3.2.6. Расчетную толщину трубной решетки следует принимать наибольшей из двух значений, определенных по формулам (15), (16).

3.2.7. Исполнительная толщина трубной решетки должна удовлетворять условию (5) и требованию п. 2.1.6.

3.2.8. Проверка прочности крепления труб в решетке должна проводиться по п. 2.3.

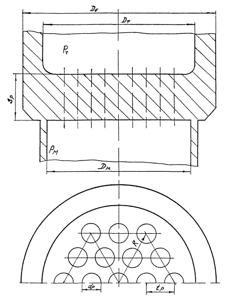
Трубная решетка с разъемным соединением корпуса камеры высокого давления

Черт. 4

ИНФОРМАЦИОННЫЕ ДАННЫЕ

УТВЕРЖДЕН И ВВЕДЕН В ДЕЙСТВИЕ Министерством химического и нефтяного машиностроения, УкрНИИхиммаш

ИСПОЛНИТЕЛИ

В. И. Лившиц, канд. техн. наук; В. Г. Татаринов, канд. техн. наук; (руководитель темы); В. П. Дорохов, канд. техн. наук; Л. М. Лобова.

ВВЕДЕН впервые.

Срок первой проверки - 1993г.

Периодичность проверки - четыре года.

ССЫЛОЧНЫЕ НОРМАТИВНО-ТЕХНИЧЕСКИЕ ДОКУМЕНТЫ

Обозначение НТД, на который дана ссылка

Номер пункта, подпункта, перечисления, приложения

ГОСТ 11879-81

вводная часть

ГОСТ 14249-80

вводная часть, 1.3, 1.4, 1.6

ГОСТ 25215-82

вводная часть, 1.5.1, 1.5.2

ГОСТ 26303-84

3.1.2, 3.2.3

ОСТ 26-01-135-81

1.2, 1.5.1

ОСТ 26-01-221-86

вводная часть

ОСТ 26-291-87

вводная часть

ССТ 26-1046-87

вводная часть, 1.7.2

                                                                                                        УТВЕРЖДАЮ

                                                                                          Директор УкрНИИхиммаша

                                                                                          ___________П. П. Прядкин

                                                                                                                     25.05.1988 г.

ЛИСТ УТВЕРЖДЕНИЯ

ТЕПЛООБМЕННИКИ НА ДАВЛЕНИЕ СВЫШЕ 10 ДО 100 МПа (СВЫШЕ 100 ДО 1000 КГС/СМ2).

Расчет толщины трубной решетки.

РД 26-01-167-88

Директор ИркутскНИИхиммаша                                                     Е. Р. Хисматулин

Заместитель директора по научной работе                                    В. И. Лившиц

Заведующий отделом стандартизации                                            В. И. Королев

Заведующий отделом прочности                                                     А. К. Древин

Руководитель темы, заведующий лабораторией                            В. Г. Татаринов

Старший научный сотрудник                                                           В. П. Дорохов

            СОГЛАСОВАНО

Заведующий базовым отделом

стандартизации УкрНИИххммаша

______________ В. В. Проголаев

            СОГЛАСОВАНО

Заместитель директора НИИХИММАШа

______________ В. В. Грязнов

            СОГЛАСОВАНО

Заместитель Председателя

Госгортехнадзора СССР

Зубенко В. М.

Письмо № 15-15/27/127 от 19.05.88.

СОДЕРЖАНИЕ

 

 




ГОСТЫ, СТРОИТЕЛЬНЫЕ и ТЕХНИЧЕСКИЕ НОРМАТИВЫ.
Некоммерческая онлайн система, содержащая все Российские Госты, национальные Стандарты и нормативы.
В Системе содержится более 150000 файлов нормативно-технической документации, действующей на территории РФ.
Система предназначена для широкого круга инженерно-технических специалистов.

Рейтинг@Mail.ru Яндекс цитирования

Copyright © www.gostrf.com, 2008 - 2026