Крупнейшая бесплатная информационно-справочная система онлайн доступа к полному собранию технических нормативно-правовых актов РФ. Огромная база технических нормативов (более 150 тысяч документов) и полное собрание национальных стандартов, аутентичное официальной базе Госстандарта. GOSTRF.com - это более 1 Терабайта бесплатной технической информации для всех пользователей интернета. Все электронные копии представленных здесь документов могут распространяться без каких-либо ограничений. Поощряется распространение информации с этого сайта на любых других ресурсах. Каждый человек имеет право на неограниченный доступ к этим документам! Каждый человек имеет право на знание требований, изложенных в данных нормативно-правовых актах!

  


 

СССР

АЛЬБОМ ТИПОВЫХ КОНСТРУКЦИЙ

ОПОРЫ ЦИЛИНДРИЧЕСКИЕ И КОНИЧЕСКИЕ
ВЕРТИКАЛЬНЫХ АППАРАТОВ

ТИПЫ И ОСНОВНЫЕ РАЗМЕРЫ

АТК 24.200.04-90

АЛЬБОМ ТИПОВЫХ КОНСТРУКЦИЙ

ОПОРЫ ЦИЛИНДРИЧЕСКИЕ И КОНИЧЕСКИЕ ВЕРТИКАЛЬНЫХ АППАРАТОВ

Типы и основные размеры

АТК 24.200.04-90

Дата введения 01.01.91

1. Настоящий АТК распространяется на опоры стальные сварные цилиндрические и конические стальных вертикальных аппаратов диаметром от 400 до 6300 мм при приведенных нагрузках на опору не более 16,0 МН (1600·103 кгс).

Допускается применение АТК для аппаратов, изготовленных из титановых сплавов, при условии выполнения опор съемными.

2. АТК устанавливает следующие типы опор:

01 - опора облегченная цилиндрическая;

1 - опора цилиндрическая с местными косынками;

2 - опора цилиндрическая с наружными стойками под болты;

3 - опора цилиндрическая с кольцевым опорным поясом;

4 - опора коническая с кольцевым опорным поясом.

3. Основные размеры опор должны соответствовать:

типа 01 - черт. 1 и табл. 3;

типа 1, 2, 3 - черт.1, 2, 3 и табл. 1;

типа 4 - черт. 4 и табл. 2.

Допускается уменьшать толщины элементов опоры и применять для фундаментных болтов марки стали с механическими характеристиками ниже указанных при подтверждении расчетом на прочность по ГОСТ 24757-81.

4. Пример условного обозначения опоры типа 2 для аппарата диаметром 1000 мм, максимальной приведенной нагрузкой 0,25 МН (25·103 кгс), минимальной приведенной нагрузкой 0,20 МН (20·103 кгс), высотой опоры 1200 мм.

Опора 2-1000-0,25-0,20-1200 АТК 24.200.04-90.

Пример условного обозначения облегченной опоры:

Опора 01-1000-0,32-0,125-1200 АТК 24.200.04-90.

5. Формулы для определения приведенных нагрузок и примеры выбора опор помещены в обязательном приложении 1.

6. Пределы применения типов опор в зависимости от минимальной приведенной нагрузки и диаметра аппаратов приведены в обязательном приложении 3.

7. При подтверждении расчетом на прочность* разрешается применять для аппаратов опоры с внутренним диаметром опорной обечайки меньшим, чем внутренний диаметр обечайки (днища) аппарата.

______________

*) Методика расчета на прочность мест присоединения цилиндрических или конических опор к днищам. Отчет о НИР, № гос. рег. 01890006650, УкрНИИхиммаш, Харьков, 1989.

8. Высота цилиндрических опор h должна быть на менее 600 мм; высота выбирается конструктивно по условиям эксплуатации аппарата.

9. Опоры должны изготовляться в соответствии с требованиями настоящего стандарта, требованиями ОСТ 26-291-87, по чертежам, утвержденным в установленном порядке.

10. При приварке опор из углеродистых сталей к аппаратам из коррозионно-стойких сталей длина переходной обечайки из коррозионно-стойких сталей определяется в соответствии с обязательным приложением 2.

11. Материал деталей опор необходимо выбирать, исходя из условий эксплуатации и в соответствии с требованиями ОСТ 26-291-87.

12. Необходимое количество отверстий, лазов (люков), их размеры, расположение и форма выбираются из условий эксплуатации и монтажа и должны соответствовать требованиям ОСТ 26-291-87 и ГОСТ 24757-81.

13. Для вентиляции полости опоры в верхней части должно быть предусмотрено не менее двух отверстий диаметром 100 мм.

При приварке опор к днищам, сваренным из отдельных частей, в обечайках опор необходимо предусмотреть вырезы, позволяющие иметь доступ к сварным радиальным швам на днищах. В этом случае отверстия для вентиляции не предусматриваются.

14. Конструкция и технические требования для фундаментных болтов должны соответствовать требованиям ГОСТ 24379.0-80 и ГОСТ 24379.1-80.

15. Формулы для определения расстояния между опорой и осью сварного соединения днища с корпусом и числовые значения расстояний приведены в рекомендуемом приложении 4.

16. Формулы для подсчета массы опор даны в справочном приложении 5.

17. Монтажные нагрузки должны определяться и учитываться дополнительно монтажными организациями при определенном способе подъема аппаратов, кроме случаев подъема аппарата методом скольжения с отрывом от земли, для которого дополнительной проверки не требуется.

18. В опорах аппаратов с массой свыше 100 т должны быть предусмотрены устройства для перевода аппаратов из горизонтального положения в вертикальное.

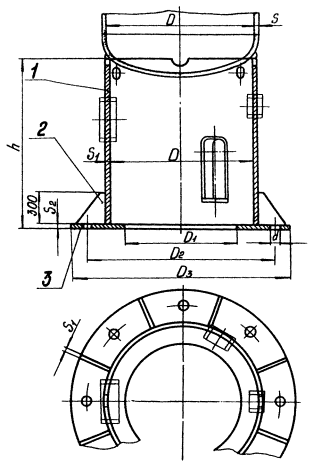
Тип 1

Опоры цилиндрические с местными косынками

1 - обечайка; 2 - косынка; 3 - кольцо нижнее.

Черт. 1.

Примечание. Количество косынок должно быть равно количеству фундаментных болтов.

Тип 2

Опоры цилиндрические с наружными стойками под болты

1 - обечайка; 2 - планка; 3 - ребро; 4 - кольцо нижнее

Черт. 2

l = 160 + 4 s1.

Примечание. Допускается изготовление стоек в штампованном исполнении, при этом толщина стойки должна быть не менее 0,75 толщины планки s3

Тип 3

Опоры цилиндрические с кольцевым опорным поясом

1 - обечайка; 2 - кольцо верхнее; 3 - ребро; 4 - кольцо нижнее

Черт. 3.

Тип 4

Опоры конические с кольцевым опорным поясом

1 - обечайка; 2 - обечайка коническая; 3 - кольцо верхнее; 4 - ребро; 5 - кольцо нижнее

Черт. 4.


Таблица 1

Основные размеры цилиндрических опор типов 1, 2 и 3

Размеры в мм

D

D1

D2

D3

Максимальная приведенная нагрузка Qmax, МН (кгс)

0,25 (25·103)

0,63 (63·103)

s1

s2

Минимальная приведенная нагрузка Qmin, МН (кгс)

s1

s2

Минимальная приведенная нагрузка Qmin, МН (кгс)

до 0,125 (2,5·103)

до 0,2 (20·103)

до 0,32 (32·103)

до 0,5 (50·103)

s3

d

Фунд. болт ГОСТ 24379.1-80

s3

d

Фунд. болт ГОСТ 24379.1-80

s3

d

Фунд. болт ГОСТ 24379.1-80

s3

d

Фунд. болт ГОСТ 24379.1-80

Диаметр резьбы

Количество

Диаметр резьбы

Количество

Диаметр резьбы

Количество

Диаметр резьбы

Количество

400

350

520

600

6

20

16

32

24

6

20

32

24*

6

 

 

 

 

 

 

 

 

 

 

500

450

620

700

50

30

6

8

20

25

60

36

6

 

 

 

 

600

550

720

800

 

 

 

 

800

750

960

1080

25

60

36

10

1000

950

1160

1280

1200

1150

1360

1480

1400

1300

1560

1680

 

 

 

 

 

 

 

 

 

 

1600

1500

1760

1880

 

 

 

 

 

 

 

 

 

 

1800

1700

1980

2100

 

 

 

 

 

 

 

 

 

 

8

20

8

2000

1900

2180

2300

 

 

 

 

 

 

 

 

 

 

2200

2100

2380

2500

 

 

 

 

 

 

 

 

 

 

2400

2250

2580

2720

 

 

 

 

 

 

 

 

 

 

2500

2350

2680

2820

 

 

 

 

 

 

 

 

 

 

2600

2450

2780

2920

 

 

 

 

 

 

 

 

 

 

2800

2650

3000

3140

 

 

 

 

 

 

 

 

 

 

3000

2850

3220

3360

 

 

 

 

 

 

 

 

 

 

3200

3050

3480

3560

 

 

 

 

 

 

 

 

 

 

 

 

 

 

 

 

 

 

 

 

3400

3200

3680

3760

 

 

 

 

 

 

 

 

 

 

 

 

 

 

 

 

 

 

 

 

3600

3400

3820

3960

 

 

 

 

 

 

 

 

 

 

 

 

 

 

 

 

 

 

 

 

3800

3600

4020

4160

 

 

 

 

 

 

 

 

 

 

 

 

 

 

 

 

 

 

 

 

4000

3800

4220

4360

 

 

 

 

 

 

 

 

 

 

 

 

 

 

 

 

 

 

 

 

4500

4300

4780

4860

 

 

 

 

 

 

 

 

 

 

 

 

 

 

 

 

 

 

 

 

5000

4800

5220

5360

 

 

 

 

 

 

 

 

 

 

 

 

 

 

 

 

 

 

 

 

5500

5300

5720

5860

 

 

 

 

 

 

 

 

 

 

 

 

 

 

 

 

 

 

 

 

5600

5400

5820

5960

 

 

 

 

 

 

 

 

 

 

 

 

 

 

 

 

 

 

 

 

6000

5800

6220

6360

 

 

 

 

 

 

 

 

 

 

 

 

 

 

 

 

 

 

 

 

6300

6100

6520

6660

 

 

 

 

 

 

 

 

 

 

 

 

 

 

 

 

 

 

 

 

Продолжение табл. 1

D

D1

D2

D3

Максимальная приведенная нагрузка Qmax, МН (кгс)

1,6 (160·103)

2,5 (250·103)

s1

s2

Минимальная приведенная нагрузка Qmin, МН (кгс)

s1

s2

Минимальная приведенная нагрузка Qmin, МН (кгс)

до 0,8 (80·103)

до 1,32 (132·103)

до 1,32 (132·103)

до 2,0 (200·103)

s3

d

Фунд. болт ГОСТ 24379.1-80

s3

d

Фунд. болт ГОСТ 24379.1-80

s3

d

Фунд. болт ГОСТ 24379.1-80

s3

d

Фунд. болт ГОСТ 24379.1-80

Диаметр резьбы

Количество

Диаметр резьбы

Количество

Диаметр резьбы

Количество

Диаметр резьбы

Количество

400

350

520

600

 

 

 

 

 

 

 

 

 

 

 

 

 

 

 

 

 

 

 

 

500

450

620

700

 

 

 

 

 

 

 

 

 

 

 

 

 

 

 

 

 

 

 

 

600

550

720

800

 

 

 

 

 

 

9

 

 

 

 

 

 

 

 

 

 

 

 

 

800

750

960

1080

 

 

 

 

 

 

 

 

 

 

 

 

 

 

 

 

 

 

 

 

1000

950

1160

1280

 

 

 

 

 

 

 

 

 

 

 

 

 

 

 

 

 

 

 

 

1200

1150

1360

1480

 

 

 

 

 

 

 

 

 

 

 

 

 

 

 

 

 

 

 

 

1400

1300

1560

1680

10

25

25

60

36

16

 

 

 

 

 

 

 

 

 

 

 

 

 

 

1600

1500

1760

1880

 

 

 

 

 

 

 

 

 

 

 

 

 

 

1800

1700

1980

2100

30

65

42

16

12

30

30

65

42

16

 

 

 

 

2000

1900

2180

2300

8

30

65

42*

16

2200

2100

2380

2500

10

2400

2250

2580

2720

2500

2350

2680

2820

2600

2450

2780

2920

25

42

24

2800

2650

3000

3140

3000

2850

3220

3360

3200

3050

3480

3560

3400

3200

3680

3760

3600

3400

3820

3960

3800

3600

4020

4160

25

60

36

24

25

60

36

24

4000

3800

4220

4360

4500

4300

4780

4860

 

 

 

 

 

 

 

 

 

 

5000

4800

5220

5360

 

 

 

 

 

 

 

 

 

 

5500

5300

5720

5860

 

 

 

 

 

 

 

 

 

 

 

 

 

 

 

 

 

 

 

 

5600

5400

5820

5960

 

 

 

 

 

 

 

 

 

 

 

 

 

 

 

 

 

 

 

 

6000

5800

6220

6360

 

 

 

 

 

 

 

 

 

 

 

 

 

 

 

 

 

 

 

 

6300

6100

6520

6660

 

 

 

 

 

 

 

 

 

 

 

 

 

 

 

 

 

 

 

 

Продолжение табл. 1

D

D1

D2

D3

Максимальная приведенная нагрузка Qmax, МН (кгс)

4,0 (400·103)

6,3 (630·103)

s1

s2

Минимальная приведенная нагрузка Qmin, МН (кгс)

s1

s2

Минимальная приведенная нагрузка Qmin, МН (кгс)

до 2,0 (200·103)

до 3,2 (320·103)

до 3,2 (320·103)

до 5,0 (500·103)

s3

d

Фунд. болт ГОСТ 24379.1-80

s3

d

Фунд. болт ГОСТ 24379.1-80

s3

d

Фунд. болт ГОСТ 24379.1-80

s3

d

Фунд. болт ГОСТ 24379.1-80

Диаметр резьбы

Количество

Диаметр резьбы

Количество

Диаметр резьбы

Количество

Диаметр резьбы

Количество

2000

1900

2180

2300

16

30

30

 

42*

16

 

 

 

 

 

 

 

 

 

 

 

 

 

 

2200

2100

2380

2500

 

 

 

 

 

 

 

 

 

 

 

 

 

 

2400

2250

2580

2720

30

70

48*

16

 

 

 

 

 

 

 

 

 

 

2500

2350

2680

2820

 

 

 

 

 

 

 

 

 

 

2600

2450

2780

2920

65

42

24

20

36

30

70

48*

16

36

70

56*

16

2800

2650

3000

3140

12

16

30

3000

2850

3220

3360

3200

3050

3480

3560

3400

3200

3680

3760

10

65

42*

24

65

42*

24

30

48*

24

3600

3400

3820

3960

3800

3600

4020

4160

25

25

60

36*

32

25

60

36*

32

4000

3800

4220

4360

12

4500

4300

4780

4860

65

42*

32

5000

4800

5220

5360

5500

5300

5720

5860

5600

5400

5820

5960

6000

5800

6220

6360

6300

6100

6520

6660

Продолжение табл. 1

D

D1

D2

D3

Максимальная приведенная нагрузка Qmax, МН (кгс)

10,0 (1000·103)

16,.0 (1600·103)

s1

s2

Минимальная приведенная нагрузка Qmin, МН (кгс)

s1

s2

Минимальная приведенная нагрузка Qmin, МН (кгс)

до 5,0 (500·103)

до 8,0 (800·103)

до 8,0 (800·103)

до 10,0 (1000·103)

s3

d

Фунд. болт ГОСТ 24379.1-80

s3

d

Фунд. болт ГОСТ 24379.1-80

s3

d

Фунд. болт ГОСТ 24379.1-80

s3

d

Фунд. болт ГОСТ 24379.1-80

Диаметр резьбы

Количество

Диаметр резьбы

Количество

Диаметр резьбы

Количество

Диаметр резьбы

Количество

2000

1900

2180

2300

 

 

 

 

 

 

 

 

 

 

 

 

 

 

 

 

 

 

 

 

2200

2100

2380

2500

 

 

 

 

 

 

 

 

 

 

 

 

 

 

 

 

 

 

 

 

2400

2250

2580

2720

 

 

 

 

 

 

 

 

 

 

 

 

 

 

 

 

 

 

 

 

2500

2350

2680

2820

 

 

 

 

 

 

 

 

 

 

 

 

 

 

 

 

 

 

 

 

2600

2450

2780

2920

 

 

 

 

 

 

 

 

 

 

 

 

 

 

 

 

 

 

 

 

2800

2650

3000

3140

20

36

36

70

56*

16

 

 

 

 

 

 

 

 

 

 

 

 

 

 

3000

2850

3220

3360

 

 

 

 

 

 

 

 

 

 

 

 

 

 

3200

3050

3480

3560

40

80

64*

20

 

 

 

 

 

 

 

 

 

 

3400

3200

3680

3760

30

48*

24

25

40

40

80

64*

20

 

 

 

 

3600

3400

3820

3960

20

 

 

 

 

3800

3600

4020

4160

40

80

64*

24

4000

3800

4220

4360

4500

4300

4780

4860

65

42*

32

24

24

5000

4800

5220

5360

5500

5300

5720

5860

5600

5400

5820

5960

6000

5800

6220

6360

70

56*

32

70

56*

32

6300

6100

6520

6660

*) Фундаментные болты изготавливаются из стали марки 35 по ГОСТ 1050-74. Допускается применение сталей других марок, механические свойства которых не ниже свойств указанной стали.

Таблица 2

Основные размеры конических опор типа 4

Размеры в мм

D

D1

D2

D3

D4

Максимальная приведенная нагрузка Qmax, МН (кгс)

1,0 (100·103)

1,6 (160·103)

2,5 (250·103)

Минимальная приведенная нагрузка Qmin, МН (кгс)

до 0,8 (80·103)

до 1,32 (132·103)

до 2,0 (200·103)

s1

s2

s3

d

Фунд. болт ГОСТ 24379.1-80

s1

s2

s3

d

Фунд. болт ГОСТ 24379.1-80

s1

s2

s3

d

Фунд. болт ГОСТ 24379.1-80

Диаметр резьбы

Количество

Диаметр резьбы

Количество

Диаметр резьбы

Количество

400

950

1160

1280

1000

10

25

25

60

36*

8

 

 

 

 

 

 

 

 

 

 

 

 

500

1050

1260

1380

1100

12

30

30

65

42*

8

 

 

 

 

 

 

600

1150

1360

1480

1200

16

30

36

70

56*

8

800

1300

1560

1680

1400

36

16

1000

1500

1760

1880

1600

25

30

48*

12

1200

1700

1980

2100

1800

8

42

16

12

1400

1900

2180

2300

2000

10

1600

2100

2380

2500

2200

 

 

 

 

 

 

1800

2250

2580

2720

2400

 

 

 

 

 

 

 

 

 

 

 

 

65

42*

16

2000

2450

2780

2920

2600

 

 

 

 

 

 

 

 

 

 

 

 

 

 

 

 

 

 

2200

2650

3000

2140

2800

 

 

 

 

 

 

 

 

 

 

 

 

 

 

 

 

 

 

2400

2850

3220

3360

3000

 

 

 

 

 

 

 

 

 

 

 

 

 

 

 

 

 

 

2500

2950

3320

3460

3100

 

 

 

 

 

 

 

 

 

 

 

 

 

 

 

 

 

 

2600

3050

3420

3560

3200

 

 

 

 

 

 

 

 

 

 

 

 

 

 

 

 

 

 

2800

3200

3620

3760

3400

 

 

 

 

 

 

 

 

 

 

 

 

 

 

 

 

 

 

3000

3400

3820

3960

3600

 

 

 

 

 

 

 

 

 

 

 

 

 

 

 

 

 

 

3200

3600

4020

4160

3800

 

 

 

 

 

 

 

 

 

 

 

 

 

 

 

 

 

 

3400

3800

4220

4360

4000

 

 

 

 

 

 

 

 

 

 

 

 

 

 

 

 

 

 

3600

4000

4420

4560

4200

 

 

 

 

 

 

 

 

 

 

 

 

 

 

 

 

 

 

Продолжение табл. 2

D

D1

D2

D3

D4

Максимальная приведенная нагрузка Qmax, МН (кгс)

4,0 (400·103)

6,3 (630·103)

10,0 (1000·103)

Минимальная приведенная нагрузка Qmin, МН (кгс)

до 2,5 (250·103)

до 4,0 (400·103)

до 6,3 (630·103)

s1

s2

s3

d

Фунд. болт ГОСТ 24379.1-80

s1

s2

s3

d

Фунд. болт ГОСТ 24379.1-80

s1

s2

s3

d

Фунд. болт ГОСТ 24379.1-80

Диаметр резьбы

Количество

Диаметр резьбы

Количество

Диаметр резьбы

Количество

400

950

1160

1280

1000

 

 

 

 

 

 

 

 

 

 

 

 

 

 

 

 

 

 

500

1050

1260

1380

1100

 

 

 

 

 

 

 

 

 

 

 

 

 

 

 

 

 

 

600

1150

1360

1480

1200

 

 

 

 

 

 

 

 

 

 

 

 

 

 

 

 

 

 

800

1300

1560

1680

1400

 

 

 

 

 

 

 

 

 

 

 

 

 

 

 

 

 

 

1000

1500

1760

1880

1600

16

36

30

70

48*

12

 

 

 

 

 

 

 

 

 

 

 

 

1200

1700

1980

2100

1800

 

 

 

 

 

 

 

 

 

 

 

 

1400

1900

2180

2300

2000

 

 

 

 

 

 

 

 

 

 

 

 

1600

2100

2380

2500

2200

20

36

40

80

64*

12

 

 

 

 

 

 

1800

2250

2580

2720

2400

65

42*

16

36

70

56*

16

25

40

40

80

64*

16

2000

2450

2780

2920

2600

30

30

2200

2650

3000

2140

2800

2400

2850

3220

3360

3000

 

 

 

 

 

 

2500

2950

3320

3460

3100

 

 

 

 

 

 

16

2600

3050

3420

3560

3200

 

 

 

 

 

 

2800

3200

3620

3760

3400

 

 

 

 

 

 

 

 

 

 

 

 

3000

3400

3820

3960

3600

 

 

 

 

 

 

 

 

 

 

 

 

3200

3600

4020

4160

3800

 

 

 

 

 

 

 

 

 

 

 

 

 

 

 

 

 

 

3400

3800

4220

4360

4000

 

 

 

 

 

 

 

 

 

 

 

 

 

 

 

 

 

 

3600

4000

4420

4560

4200

 

 

 

 

 

 

 

 

 

 

 

 

 

 

 

 

 

 


Окончание табл. 2

D

D1

D2

D3

D4

Максимальная приведенная нагрузка Qmax, МН (кгс)

16 (1600·103)

Минимальная приведенная нагрузка Qmin, МН (кгс)

до 10,0 (1000·103)

s1

s2

s3

d

Фунд. болт

ГОСТ 24379.1-80

Диаметр резьбы

Количество

400

950

1160

1280

1000

 

 

 

 

 

 

500

1050

1260

1380

1100

 

 

 

 

 

 

600

1150

1360

1480

1200

 

 

 

 

 

 

800

1300

1560

1680

1400

 

 

 

 

 

 

1000

1500

1760

1880

1600

 

 

 

 

 

 

1200

1700

1980

2100

1800

 

 

 

 

 

 

1400

1900

2180

2300

2000

 

 

 

 

 

 

1600

2100

2380

2500

2200

 

 

 

 

 

 

1800

2250

2580

2720

2400

 

 

 

 

 

 

2000

2450

2780

2920

2600

 

 

 

 

 

 

2200

2650

3000

2140

2800

 

 

 

 

 

 

2400

2850

3220

3360

3000

 

 

 

 

 

 

2500

2950

3320

3460

3100

 

 

 

 

 

 

2600

3050

3420

3560

3200

 

 

 

 

 

 

2800

3200

3620

3760

3400

 

 

 

 

 

 

3000

3400

3820

3960

3600

30

45

45

80

64*

24

3200

3600

4020

4160

3800

3400

3800

4220

4360

4000

3600

4000

4420

4560

4200

*) Фундаментные болты изготавливаются из стали марки 35 по ГОСТ 1050-74. Допускается применение сталей других марок, механические свойства которых не ниже свойств указанной стали.


Таблица 3

Основные размеры облегченных цилиндрических опор типа 1

Размеры в мм

D

D1

D2

D3

Максимальная приведенная нагрузка Qmax, МН

до 0,32

до 1,5

до 3,2

Минимальная приведенная нагрузка Qmin, МН

до 0,125

до 0,2

до 0,4

s1

s2

d

Болт фундам.

s1

s2

d

Болт фундам.

s1

s2

d

Болт фундам.

Диам. резьбы

Количество

Диам. резьбы

Количество

Диам. резьбы

Количество

800

730

900

980

4

12

45

24

4

 

 

 

 

 

 

 

 

 

 

1000

930

1100

1180

 

 

 

 

 

 

 

 

 

 

1200

1130

1300

1380

6

6

14

45

24

6

 

 

 

 

 

1400

1330

1500

1580

 

 

 

 

 

1600

1490

1740

1850

 

 

 

 

 

1800

1690

1940

2050

6

20

60

30

8

2000

1890

2140

2250

 

 

 

 

 

8

2200

2090

2340

2450

 

 

 

 

 

2400

2290

2570

2690

 

 

 

 

 

2600

2490

2770

2890

 

 

 

 

 

 

 

 

 

 

12

2800

2690

2970

3090

 

 

 

 

 

 

 

 

 

 

3000

2890

3170

3290

 

 

 

 

 

 

 

 

 

 

3200

3090

3370

3490

 

 

 

 

 

 

 

 

 

 

 

 

 

 

 

3400

3290

3570

3690

 

 

 

 

 

 

 

 

 

 

 

 

 

 

 

3600

3490

3770

3890

 

 

 

 

 

 

 

 

 

 

 

 

 

 

 

3800

3690

3970

4090

 

 

 

 

 

 

 

 

 

 

 

 

 

 

 

4000

3890

4170

4290

 

 

 

 

 

 

 

 

 

 

 

 

 

 

 

4500

4400

4680

4800

 

 

 

 

 

 

 

 

 

 

 

 

 

 

 

5000

4900

5180

5300

 

 

 

 

 

 

 

 

 

 

 

 

 

 

 

5600

5500

5780

5900

 

 

 

 

 

 

 

 

 

 

 

 

 

 

 

6300

6200

6480

6600

 

 

 

 

 

 

 

 

 

 

 

 

 

 

 

Окончание табл. 3

D

D1

D2

D3

Максимальная приведенная нагрузка Qmax, МН

до 5,0

до 10,0

до 12,5

Минимальная приведенная нагрузка Qmin, МН

до 0,63

до 1,6

до 2,5

s1

s2

d

Болт фундам.

s1

s2

d

Болт фундам.

s1

s2

d

Болт фундам.

Диам. резьбы

Количество

Диам. резьбы

Количество

Диам. резьбы

Количество

800

730

900

980

 

 

 

 

 

 

 

 

 

 

 

 

 

 

 

1000

930

1100

1180

 

 

 

 

 

 

 

 

 

 

 

 

 

 

 

1200

1130

1300

1380

 

 

 

 

 

 

 

 

 

 

 

 

 

 

 

1400

1330

1500

1580

 

 

 

 

 

 

 

 

 

 

 

 

 

 

 

1600

1490

1740

1850

 

 

 

 

 

 

 

 

 

 

 

 

 

 

 

1800

1690

1940

2050

 

 

 

 

 

 

 

 

 

 

 

 

 

 

 

2000

1890

2140

2250

 

 

 

 

 

 

 

 

 

 

 

 

 

 

 

2200

2090

2340

2450

 

 

 

 

 

 

 

 

 

 

 

 

 

 

 

2400

2290

2570

2690

 

 

 

 

 

 

 

 

 

 

 

 

 

 

 

2600

2490

2770

2890

8

25

70

36

12

 

 

 

 

 

 

 

 

 

 

2800

2690

2970

3090

 

 

 

 

 

 

 

 

 

 

3000

2890

3170

3290

 

 

 

 

 

 

 

 

 

 

3200

3090

3370

3490

 

 

 

 

 

 

 

 

 

 

3400

3290

3570

3690

 

 

 

 

 

 

 

 

 

 

3600

3490

3770

3890

10

28

70

36

20

 

 

 

 

 

3800

3690

3970

4090

 

 

 

 

 

4000

3890

4170

4290

 

 

 

 

 

 

 

 

 

 

4500

4400

4680

4800

 

 

 

 

 

12

32

70

36

28

5000

4900

5180

5300

 

 

 

 

 

5600

5500

5780

5900

 

 

 

 

 

 

 

 

 

 

6300

6200

6480

6600

 

 

 

 

 

 

 

 

 

 


ПРИЛОЖЕНИЕ 1

Обязательное

РАСЧЕТ ПРИВЕДЕННЫХ НАГРУЗОК И ВЫБОР ОПОРЫ

1. Формулы для определения приведенных нагрузок

1.1. Qmax - максимальная приведенная нагрузка в МН (кгс), принимается равной большей из двух значений

                             (1)

где М1 и F1 -  расчетный изгибающий момент в МН·м (кгс·см) и расчетное осевое сжимающее усилие в МН (кгс), действующие на аппарат в месте присоединения опорного кольца в рабочих условиях;

М2 и F2 - то же в условиях испытания.

Величины М1, М2, F1, F2 определяются по ГОСТ 24757-81.

1.2. Qmin - минимальная приведенная нагрузка в МН (кгс) определяется по формуле:

                                                         (2)

где М3 и F4 -  расчетный изгибающий момент в МН·м (кгс·см) и расчетное осевое сжимающее усилие в МН (кгс), действующие на аппарат в месте присоединения опорного кольца в условиях монтажа, определяются по ГОСТ 24757-81.

1.3. Допускается принимать толщины элементов, количество и диаметр фундаментных болтов по табл. 1, 2, 3 при величинах Qmax и Qmin , превышающих, соответственно, ближайшие табличные значения не более, чем на 10 %.

2. Примеры выбора опор

2.1. Пример выбора опоры высотой h = 2000 мм для колонного аппарата с D = 3000 мм, Н = 28500 мм.

2.1.1. Исходные данные.

Вес аппарата

- в рабочих условиях G1, MH                                                                                    2

- в условиях испытания G2, МН                                                                               3,2

- в условиях монтажа (минимальный) G4, МН                                                      0,8

Изгибающий момент в сечении YY от действия ветровых нагрузок:

- в рабочих условиях Mv1, МН·м                                                                              0,9

- в условиях испытания Mv2, МН·м                                                                          1,0

- в условиях монтажа (без изоляции) Mv3, МН·м                                                   0,85

- в условиях монтажа (с изоляцией) Mv4, МН·м                                                     0,95

Изгибающий момент в сечении YY от действия эксцентричных весовых нагрузок

- в рабочих условиях MG1, МН·м,                                                                             0,2

- в условиях испытания MG2, МН·м                                                                         0,25

- в условиях монтажа (без изоляции) MG3, МН·м                                                  0,15

Аппарат установлен в зоне с сейсмичностью не более 6 баллов.

2.1.2. Определение Qmax, Qmin и выбор опоры.

В соответствии с таблицей пункта 3 ГОСТ 24757-81 определяем расчетные изгибающие моменты М1, М2, M3 и осевые сжимающие силы F1, F2,.F4, действующие на аппарат в сечении YY:

для определения M3 вычисляем значения MG3 + Mv3 = 0,15 + 0,85 = 1,0 МН·м;

Так как , то

Подсчитываем значения

Так как , то по формуле (1)

по формуле (2)

По приложению 3 для Qmin = 0,53 МН и D = 3000 мм принимаем опору типа 1.

Для ближайших табличных значений Qmax < 4,0 МН (расхождение < 10 %), Qmin < 2,0 МН, D = 3000 мм принимаем опору

Опора 1-3000-4,0-2,0-2000 АТК 24.200.04-90

с параметрами s1 = 12 мм, s2 = 30 мм, s3 =- 30 мм;

количество фундаментных болтов М42 - 24 шт.

2.2. Пример выбора опоры высотой h = 2000 мм для колонного аппарата с D = 3000 мм, Н = 28500 мм, установленного в зоне с сейсмичностью 7 или более баллов.

2.2.1. Дополнительные исходные данные.

Расчетный изгибающий момент от сейсмических воздействий на аппарат

- в рабочих условиях MR1, МН·м                                                                              1,7

- в условиях монтажа (без изоляции) MR3, МН·м                                                  0,7

2.2.2. Определение Qmax, Qmin и выбор опоры.

В соответствии с таблицей пункта 3 ГОСТ 24757-81 определяем расчетные изгибающие моменты М1 и М3.

Так как , то в качестве М1 принимаем

М1 = 1,9 МН·м

Аналогично этому

в качестве M3 принимаем

Вычисляем новое значение величины

Так как оно больше, чем , то в качестве Qmax и Qmin принимаем

В соответствии с приложением 3 и таблицей 1 для D = 3000 мм и ближайших табличных значений  выбираем опору

Опора 1-3000-6,3-3,2-2000 АТК 24.200.0-90

с параметрами s1 - 16 мм, s2 = 30 мм, s3 = 30 мм, количество фундаментных болтов М48 - 16 шт.

ПРИЛОЖЕНИЕ 2

Обязательное

РАСЧЕТ ДЛИНЫ ПЕРЕХОДНОЙ ОБЕЧАЙКИ ИЗ КОРРОЗИОННО-СТОЙКОЙ СТАЛИ

1. Опорная обечайка полагается теплоизолированной.

2. Толщина переходной обечайки принимается равной толщине опорной обечайки s1.

3. Расчет производится для условий эксплуатации.

4. Расчетная допускаемая температура в месте стыка переходной и опорной обечаек определяется по формуле

где [s]2t - допускаемое напряжение для материала опорной обечайки при температуре в стыке, МПа;

E1t -   модуль Юнга для материала переходной обечайки при температуре в стыке, МПа;

a1t, a2t -   температурные коэффициенты линейного расширения материалов переходной и опорной обечаек при температуре в стыке, 1/°С;

[F] и [M] - допускаемые осевое сжимающее усилие (МН) и изгибающий момент (МН·м) на опорную обечайку; определяются по ГОСТ 14249-89 для рабочих условий (при температуре в стыке).

Температуру в месте стыка обечаек для определения механических характеристик материалов принять равной на расстоянии  от днища по графику на чертеже.

Перепад температуры в переходной обечайке

Черт. 1.

5. Для разности температур в днище tд и допускаемой в месте стыка tc

по графику на чертеже определить расчетную длину переходной обечайки hп.р..

6. Принять длину переходной обечайки hп кратной 100 мм из условия

,

но не менее 200 мм.

ПРИЛОЖЕНИЕ 3

Обязательное

ПРЕДЕЛЫ ПРИМЕНЕНИЯ ТИПОВ ОПОР В ЗАВИСИМОСТИ ОТ МИНИМАЛЬНОЙ ПРИВЕДЕННОЙ НАГРУЗКИ

Примечание: Опоры типа 01 и 4 принимаются по табл. 3 и 2.

ПРИЛОЖЕНИЕ 4

Рекомендуемое

Формулы определения расстояния между опорой и осью сварного соединения днища с корпусом

Н - расстояние между опорой и осью сварного соединения эллиптического днища с корпусом, выбирается по таблице, где ;

 - высота борта, выбирается по ГОСТ 6533-78;

 - расстояние от опоры до цилиндрической части днища, определяется по формуле:

hв - выбирается по ГОСТ 6533-78;

;

 - расстояние между опорой и осью сварного соединения полушарового днища с корпусом, определяется по формуле .


мм

D

s

4

5

6

8

10

12

14

16

18

20

22

25

28

30

32

34

36

38

40

45

50

55

60

65

70

80

90

H

400

52

55

55

60

63

66

70

76

76

80

85

80

110

110

-

-

-

-

-

-

-

-

-

-

-

-

-

500

55

56

60

63

66

70

76

75

90

85

108

110

115

120

120

-

130

-

-

-

-

-

-

-

-

-

-

600

60

53

63

66

70

76

80

80

100

105

110

115

120

125

130

-

140

-

160

-

-

-

-

-

-

-

-

800

63

65

66

72

76

85

100

105

110

115

120

125

130

130

140

155

160

165

165

170

180

-

-

-

-

-

-

1000

-

70

72

76

85

105

105

115

120

120

130

130

155

160

165

165

170

170

175

190

200

200

225

230

240

250

 

1200

-

-

76

85

105

110

115

120

125

130

155

160

155

170

180

185

190

200

210

220

225

230

240

245

250

255

 

1400

-

-

80

110

110

115

120

125

130

155

160

165

170

180

185

190

190

200

200

225

230

240

245

250

260

300

310

1600

-

-

85

105

110

120

125

130

155

160

165

170

180

185

190

190

200

220

220

230

240

245

255

280

300

310

320

1800

-

-

105

110

120

125

130

155

160

165

170

180

185

190

215

220

225

230

235

240

245

255

290

300

300

310

350

2000

-

-

110

120

125

130

155

160

165

170

180

185

190

215

220

225

230

235

240

245

255

290

300

300

310

325

360

2200

-

-

-

120

130

145

160

165

170

180

185

190

215

220

225

230

235

240

245

250

280

290

300

310

320

350

360

2400

-

-

-

120

135

160

165

170

180

185

190

215

220

225

230

235

240

245

250

280

290

300

310

320

350

360

380

2500

-

-

-

125

145

160

165

170

180

190

200

220

225

230

235

240

245

250

255

280

290

360

320

330

350

350

380

2500

-

-

-

125

150

160

165

170

180

190

200

230

230

235

240

245

250

255

280

285

300

310

320

350

355

370

390

2800

-

-

-

130

160

165

170

180

185

195

215

220

235

235

245

250

255

280

285

300

310

320

350

350

360

370

390

3000

-

-

-

130

160

170

180

185

190

215

220

230

235

240

250

255

275

280

300

300

310

350

350

360

370

390

410

3200

-

-

-

-

165

170

180

190

200

220

230

235

240

250

255

270

285

300

300

310

320

350

360

360

380

400

420

3400

-

-

-

-

-

170

180

190

220

225

230

240

250

255

275

285

300

300

300

310

340

350

360

370

380

400

420

3600

-

-

-

-

-

180

190

220

225

230

235

250

255

270

285

300

300

310

310

330

350

360

370

380

400

420

430

3800

-

-

-

-

-

-

190

220

230

235

240

250

260

280

300

300

300

310

320

340

360

370

380

400

400

420

440

4000

-

-

-

-

-

-

-

215

220

230

240

245

270

275

280

285

290

295

300

335

350

380

-

-

440

440

460


ПРИЛОЖЕНИЕ 5

Справочное

Формулы для определения масс элементов опорного узла (в кг)

1. Масса цилиндрической обечайки опоры типа 1, 2, 3

2. Масса нижнего опорного кольца

3. Масса косынки опоры типа 1

4. Масса плиты опорной стойки опоры типа 2

5. Масса верхнего опорного кольца опоры типа 3

6. Масса косынки стойки опоры типов 2 и 3

типа 4

7. Масса конической обечайки опоры типа 4

8. Масса верхнего опорного кольца опоры типа 4

В формулах nd - количество фундаментных болтов,

g - (для стали) = 7850 кг/м3, все геометрические размеры в м.

ИНФОРМАЦИОННЫЕ ДАННЫЕ

1. РАЗРАБОТАН И ВНЕСЕН УкрНИИхиммаш.

РАЗРАБОТЧИКИ Л. А. Родионов (руководитель темы).

2. УТВЕРЖДЕН И ВВЕДЕН В ДЕЙСТВИЕ Указанием Министерства тяжелого машиностроения СССР от 20.09.1990 № АВ-002-1-8993.

3. ЗАРЕГИСТРИРОВАН НИИхиммаш за № _________ от _________ 1990г.

4. Сведения о сроках и периодичности проверки документа:

Срок первой проверки 1995 г.

Периодичность проверки 5 лет.

5. Взамен ОСТ 26-467-84.

ССЫЛОЧНЫЕ НОРМАТИВНО-ТЕХНИЧЕСКИЕ ДОКУМЕНТЫ

Обозначение НТД, на который дана ссылка

Номер пункта

ГОСТ 6533-78

п. 4

ГОСТ 14249-89

п. 2, п. 4

ГОСТ 24379.0-80

п. 14

ГОСТ 24757-81

п. 3, 12, п. 1, п. 1.1, 1.2, 2.1.2, 2.2.2

ОСТ 26-291-87

п. 11, 12

 

 




ГОСТЫ, СТРОИТЕЛЬНЫЕ и ТЕХНИЧЕСКИЕ НОРМАТИВЫ.
Некоммерческая онлайн система, содержащая все Российские Госты, национальные Стандарты и нормативы.
В Системе содержится более 150000 файлов нормативно-технической документации, действующей на территории РФ.
Система предназначена для широкого круга инженерно-технических специалистов.

Рейтинг@Mail.ru Яндекс цитирования

Copyright © www.gostrf.com, 2008 - 2026