Крупнейшая бесплатная информационно-справочная система онлайн доступа к полному собранию технических нормативно-правовых актов РФ. Огромная база технических нормативов (более 150 тысяч документов) и полное собрание национальных стандартов, аутентичное официальной базе Госстандарта. GOSTRF.com - это более 1 Терабайта бесплатной технической информации для всех пользователей интернета. Все электронные копии представленных здесь документов могут распространяться без каких-либо ограничений. Поощряется распространение информации с этого сайта на любых других ресурсах. Каждый человек имеет право на неограниченный доступ к этим документам! Каждый человек имеет право на знание требований, изложенных в данных нормативно-правовых актах!

  


 

КОМПЛЕКС АРХИТЕКТУРЫ, СТРОИТЕЛЬСТВА, РАЗВИТИЯ И РЕКОНСТРУКЦИИ ГОРОДА

ТЕХНОЛОГИЧЕСКИЙ РЕГЛАМЕНТ
производства строительно-монтажных
работ при возведении зданий и сооружений

07. ГЕРМЕТИЗАЦИЯ СТЫКОВ НАРУЖНЫХ ОГРАЖДАЮЩИХ КОНСТРУКЦИЙ

ТР 95.07-99

МОСКВА-2000

Технологический регламент разработан по 11 видам производства строительно-монтажных работ, каждый из которых издан отдельным томом:

1. Строительство дорог из сборных железобетонных конструкций и монолитного бетона (ТР 95.01-99);

2. Монтаж наружных тепловых сетей с индустриальной теплоизоляцией (ТР 95.02-99);

3. Возведение свайных фундаментов (ТР 95.03-99);

4. Устройство дренажей (ТР 95.04-99);

5. Устройство рулонных и черепичных кровель (ТР 95.05-99);

6. Теплоизоляция стыков наружных стеновых панелей (ТР 95.06-99);

7. Герметизация стыков наружных ограждающих конструкций (ТР 95.07-99);

8. Монтаж внутренних сетей холодного и горячего водоснабжения (ТР 95.08-99);

9. Устройство полов (ТР 95.09-99);

10. Облицовка стен плитками (ТР 95.10-99);

11. Производство малярных фасадных работ (ТР 95.11-99).

Технологический регламент разработан ГУП "НИИМосстрой":

- Белоусов Е. Д., д.т.н., профессор, директор; тел. (095) 147-4002

- Белавин Ф. С., к.т.н., зам. директора по научной работе,

с участием ГУ "Мосстройлицензия"

- Емельянов Ю. П., руководитель ГУ

и ПКТИ "Промстрой" Едличка С.Ю., генеральный директор.

Технологический регламент согласован с АО ХК "Главмосстрой", ОАО "Мосинжстрой", ГУ "Мосстройлицензия", ГУП "Мосстройсертификация" и утвержден Управлением экономической, научно-технической и промышленной политики в строительной отрасли.

Том 07 "Герметизация стыков наружных ограждающих конструкций" ТР 95.07-99 разработан лабораторией герметизации ГУП "НИИМосстрой":

- Файфман Е.Ф., зав. лабораторией; тел. (095) 147-44-84

- Коротаев А.Н., старший научный сотрудник

СОДЕРЖАНИЕ

 

Правительство Москвы

Комплекс архитектуры, строительства, развития и реконструкции города

Технологический регламент производства строительно-монтажных работ при возведении зданий и сооружений

07. Герметизация стыков наружных ограждающих конструкций

ТР 95.07-99

I. ОБЩИЕ ПОЛОЖЕНИЯ

1. Настоящий регламент распространяется на работы по герметизации наружных стеновых панелей (включая и стены подвалов).

2. Регламент содержит описание технологического процесса, его основные параметры, используемые материалы, инструменты, приспособления, средства механизации, а также основные правила техники безопасности.

3. Регламент составлен на основании требований СНиП 3.03.01-87 "Несущие и ограждающие конструкции", ВСН 19-95 "Инструкция по технологии заделки стыковых соединений панелей наружных стен жилых домов и зданий соцкультбыта".

Разработан: НИИМосстроем

Утвержден:

Начальник Управления экономической, научно-технической и промышленной политики в строительной отрасли

А. И. Воронин

Дата введения в действие:

"30" июня 2000 г.


II. ТЕХНОЛОГИЧЕСКИЙ РЕГЛАМЕНТ

№№ п.п.

Наименование технологического процесса

Состав процесса

Основные параметры процесса

Используемые материалы

Инструменты, приспособления, средства механизации

Подготовительные работы

1.

Грунтовка поверхностей панелей, образующих стык

Грунтовка наносится кистью в заводских условиях сплошной непрерывной пленкой на поверхности, образующие стык (рис. 1, 2)

Температура нанесения грунтовочного состава не ниже +15°С

Грунтовочные составы: 51-Г-18 (ТУ 5772-028-04001232-96)

Кисть-ручник КР-35

2.

Подготовка поверхностей

Очистить грани панелей от пыли, раствора и других загрязнений, а в зимнее время от снега и наледи.

После дождя поверхности стыка следует вытереть сухими чистыми обтирочными концами и просушить путем продувки сжатым воздухом.

Температура не ниже -20°С при отсутствии атмосферных осадков

Концы обтирочные

Кисти, щетки волосяные, шпатели универсальные

Вспомогательные работы

3.

Изготовление герметизирующего и утепляющего вкладыша

Изготовление вкладыша в соответствии с "Технологическим регламентом на изготовление герметизирующего и утепляющего вкладыша ТУ 400-2-440-88 "Герметизирующий и утепляющий вкладыш (УП-1, УП-2)"

Температура цеха

Плиты теплоизоляционные из минваты на синтетическом связующем

ГОСТ 9573-96

Плиты пенополистирольные ГОСТ 15588-86

Линия автоматизированная по изготовлению уплотнительных прокладок, ТУ 400-2-480-84

4.

Приготовление герметика

Двухкомпонентные вулканизующиеся герметики приготовляют путем смешивания основной и отверждающей паст. Их соотношение указывается в паспорте, сопровождающем каждую партию герметика. Одна порция герметика должна быть использована в течение 4-х часов.

Смешивание компонентов герметика проводят в рабочей емкости с помощью мешалки или электродрели со специальной насадкой в течение 8-10 минут до получения однородной массы. Температура приготовления герметика (20±5)°С. Время перемешивания компонентов 8-10 минут

Двухкомпонентные герметики в заводской упаковке (основная и отверждающая пасты)

Электромешалка или электрическая дрель со специальной насадкой (число оборотов шпинделя 400-500 об/мин), металлические рабочие емкости

Основные работы

5.

Герметизация открытых вертикальных стыков водоотбойной лентой

Выполняется с перекрытия. Гофрированную водоотбойную ленту из алюминиевого сплава устанавливают так, чтобы крайние гофры были обращены к фасаду. Лента должна свободно без деформаций входить в паз, а при зазоре между фиксирующими гранями более 20 мм устанавливают две ленты, склепанные по краям. Выступающий за верхнюю грань конец ленты следует срезать ножовкой. В местах пересечения горизонтальных и вертикальных стыков устраивается дополнительная защита, для чего выступающий сверху припуск воздухозащитной ленты загибается и приклеивается на гребень панели. Сверху на нее наклеивается слив из гидроизоляционного материала и устанавливается опорная пластина из алюминиевого сплава (рис. 2)

Длина водоотбойной ленты должна соответствовать высоте этажа

Водоотбойная алюминиевая гофрированная лента.

Слив из гидроизоляционного материала.

Опорная пластина из алюминиевого сплава ОП-1.

Клей КН-2 ГОСТ 24064-80 или др. аналогичный

 

6.

Уплотнение стыков пористыми прокладками

В "закрытые" вертикальные и горизонтальные стыки прокладки устанавливать:

- "насухо" - со стороны фасада;

- на клее - при установке второй прокладки в вертикальный "закрытый" стык с его внутренней стороны.

В "открытые" вертикальные стыки прокладки устанавливают с внутренней стороны на клее типа КН-2 (рис. 3, 4).

Уплотнение вертикальных стыков панелей наружных стен подполья производят упругими прокладками на клее типа КН-2.

Диаметр прокладок, устанавливаемых в стык, принимается с учетом их поперечного обжатия на 20-50%.

Прокладки устанавливают с помощью деревянной конопатки в сухие очищенные

стыки. Наращивать прокладки по длине следует на расстоянии не менее 0,5 м от мест пересечения горизонтальных и вертикальных стыков.

Пенополиэтиленовые погонажные изделия "Вилатерм" ТУ 2291-009-03989419-96. Клей КН-2 -

ГОСТ 24064-80 или другой аналогичный клей

Кисть-ручник КР-35 ГОСТ 10597-80. Конопатка деревянная, люлька навесная самоподъемная ЛЭ-30-250,

ЛЭ-100-300

7.

Оклейка вертикальных стыков воздухозащитной лентой

Ленту типа "Герлен-Д" и аналогичные ей наклеивают с внутренней стороны стыка, предварительно сняв подложку из силиконизированной бумаги, не вытягивая, а плотно прижимая и разглаживая от центра к краям в поперечном направлении.

Температура воздуха не ниже -20°С при отсутствии атмосферных осадков

Ленты воздухозащитные резиновые типа Герлен-Д ТУ 5772-009-05108038-98; Герволент ТУ 21-29-46-84;

Кисть-ручник КР-35 ГОСТ 10597-80

Ленту "Герволент" и аналогичные ей наклеивают с помощью клея (рис. 2) типа КН-2, для чего предварительно приготовленный

клей наносят на бетонные поверхности стыков (2 слоя с промежутком в 5¸10 мин) и поверхность ленты.

После подсыхания клея до "отлипа" плотно прижимают ленту к бетонным поверхностям и тщательно разглаживают от центра к краям в поперечном направлении, чтобы исключить образование воздушных пузырей.

Вертикальные стыки панелей наружных стен подвалов в верхней их части (выше уровня земли) также тщательно обклеиваются изнутри воздухозащитной лентой (лентой "Герволент" на клее КН-2 или др. материалами, предусмотренными проектом).

На бетонные поверхности стыков наносят 2 слоя клея. Промежуток времени между нанесением слоев клея составляет 5-10 минут

Аргесал ТУ 21-29-148-89 Клей КН-2 ГОСТ 24064-80 или другой аналогичный клей

 

Вертикальные стыки панелей наружных стен подвалов ниже уровня земли замоноличиваются цементным раствором марки 200. Положение верхнего среза ленты при ее наклейке (величина припуска) должно точно соответствовать проекту.

 

Цементный раствор марки 200

Шпатель, Мастерок

8.

Герметизация "закрытых" стыков наружных стеновых панелей вулканизующимися герметиками

Герметизация стыков "закрытого" типа вулканизующимися герметиками производится по основанию из пенополиэтиленовых прокладок Вилатерм, установленных в стык "насухо".

Заполнение устья стыка мастикой производится с помощью пневматического или ручного шприца, либо шпателем. При большом раскрытии стыка мастику следует наносить в несколько приемов. После укладки слоя мастики его следует разровнять с помощью деревянной расшивки, смоченной в воде (рис. 3, 4).

Температура не ниже -20°С при отсутствии атмосферных осадков. Температура герметика в момент герметизации независимо от температуры наружного воздуха должна быть не ниже +15°С. Толщина нанесенного слоя герметика не менее 3-х мм.

Вулканизующиеся герметики: АМ-0,5 ТУ 84-246-85),

ЛТ-1 (ТУ 38-103650-88)

Элур (ТУ 5772-005-03990339-96),

Эластосил 137-181 (ТУ 6-02-1-362-95) и т.п.

Клей КН-2 ГОСТ 24064-80 или другой аналогичный клей

Шпатель универсальный со сменными полотнами.

Шприц ручной для мастик.

Пневмошприц для мастик.

Передвижная компрессорная установка для монтажных работ СО-7Б.

Шланг резиновый Г-10 диаметром 9 мм

деревянная расшивка.

9.

Герметизация стыков наружных стеновых панелей подполья и подвалов

Герметизация вертикальных стыков панелей наружных стен подполья производится путем тщательной заделки устья стыка вулканизующейся мастикой по упругой прокладке, установленной на клее. Вертикальные стыки наружных стен, расположенные ниже уровня земли, снаружи заподлицо заделываются цементным раствором, а затем промазываются горячим битумом 2 раза по холодной битумной грунтовке.

 

Цементный раствор марки 200.

Грунтовка битумная. Битум. Пенополиэтиленовые погонажные изделия "Вилатерм" ТУ 2291-009-03989419-96

Шпатель. Мастерок. Щетка.

III. СДАТОЧНО-ПРИЕМОЧНЫЕ ИСПЫТАНИЯ

10.

 

Работы по герметизации стыков должны выполняться под контролем технического персонала строительно-монтажного управления (участка) и периодическим контролем лаборатории.

 

 

Линейка металлическая ГОСТ 427-75. Штангенциркуль 0-500 мм по ГОСТ 166-89, шпатель

11.

 

Контроль качества герметизационного шва "закрытого" стыка заключается в:

- проверке непрерывности и толщины слоя герметика, соблюдения проектного профиля герметика в стыках;

- величины адгезии герметика к фаскам панелей

Проводится визуально и с помощью измерительных инструментов (линейки, штангенциркуля). При пробном отслаивании герметика шпателем от боковых граней стыка разрушение должно происходить по герметику.

 

 

12.

 

Водоотбойная лента должна свободно без деформаций входить в "открытый" стык и перекрывать его полностью на всю длину. Водоотводящие сливы (водоотводящие фартуки) должны быть без деформаций установлены на все без исключения пересечения вертикальных и горизонтальных стыков

Контроль проводится визуально.

 

 


IV. ОСНОВНЫЕ ПРАВИЛА БЕЗОПАСНОСТИ

1. При производстве работ по герметизации стыков наружных стеновых панелей должны соблюдаться требования СНиП III 4-80* "Техника безопасности в строительстве", "Правила пожарной безопасности при производстве строительно-монтажных работ" (утвержденных ГУПО МВД СССР 26.02.86г.).

2. Перед началом работ на строительной площадке должны быть вывешены плакаты и предупредительные надписи, разъясняющие безопасные приемы выполнения работ.

3. К работе по наклейке лент и нанесению мастик, которые содержат токсичные, легколетучие и огнеопасные вещества, допускаются лица, прошедшие медицинское освидетельствование и обучение, а также проинструктированные о свойствах материалов и мерах пожарной безопасности.

4. Запрещается пользоваться открытым огнем и курить в местах, где производится розлив, дозировка и перемешивание клеев, растворителей и др. ЛВЖ.

5. Клей КН-2 и другие виды клеев, растворители, а также тара из под них пожаро- и взрывоопасны. Запрещается оставлять пустую тару на перекрытии и в будке герметчиков. Каждый рабочий должен знать правила обращения с огнеопасными и легковоспламеняющимися материалами и инструкции по предотвращению и тушению пожаров.

6. Пустую тару из под клея и растворителей запрещается оставлять на перекрытии или в будке герметчиков ввиду ее взрыво- и пожароопасности.

7. Для предотвращения искрообразования запрещается вскрывать металлическую тару с клеями, растворителями и др. ЛВЖ, ударяя по ней стальным инструментом. Открывать тару следует не искрящимся бронзовым инструментом или деревянной конопаткой.

8. Электрооборудование для приготовления, подогрева и нанесения герметика и перемешивания клея должно быть в исправном состоянии и заземлено. Периодически должны проверяться электрическая прочность и электросопротивление изоляции. Электрооборудование будки герметчиков также должно быть исправным, проверено и заземлено. Включать и выключать его разрешается только дежурному электрику. Запрещается пользоваться неисправным или искрящим электрооборудованием и инструментом.

9. Рабочие-герметчики должны быть обеспечены защитной спецодеждой, рукавицами, резиновыми перчатками и профилактическими мазями для смазывания рук.

Рис. 1 Заделка горизонтального "открытого" стыка

1 - панели наружных стен;

2 - покрытие грунтовочным составом;

3 - герметизирующий и утепляющий вкладыш;

4 - утепляющий вкладыш.

Рис. 2 Заделка вертикального "открытого" стыка

1 - панель внутренней стены;

2 - цементный раствор;

3 - слив из алюминия в местах пересечения вертикальных и горизонтальных стыков;

4 - панели наружной стены;

5 - утепляющий вкладыш;

6 - воздухозащитная лента на клее;

7 - водоотбойная лента;

8 - покрытие грунтовочным составом.

Рис. 3 Заделка горизонтального закрытого стыка:

1 - поверхности панелей наружных стен, покрытые грунтовочным составом;

2 - уплотняющая прокладка "Вилатерм";

3 - вулканизующийся герметик.

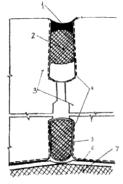
Рис. 4 Заделка вертикального закрытого стыка:

1 - вулканизующийся герметик;

2 - "Вилатерм", установленный «насухо»;

3 - панели наружной стены;

4 - поверхности, покрытые грунтовочным составом;

5 - "Вилатерм" остановленный на клее;

6 - воздухозащитная лента на клее;

7 - утепляющий вкладыш.

Рис. 5 Пример теплоизоляции оконных и балконных блоков с использованием монтажных пен типа "Макрофлекс"

1 - деревянный штапик; 2 - наличник; 3 - монтажная пена; 4 - деревянный клин; 5 - фартук из кровельного железа; 6 - профрезерованная щель; 7 - ячеистобетонные блоки мелкой резки; 8 - утеплитель; 9 - балконная плита; 10 - плита перекрытия.

 




ГОСТЫ, СТРОИТЕЛЬНЫЕ и ТЕХНИЧЕСКИЕ НОРМАТИВЫ.
Некоммерческая онлайн система, содержащая все Российские Госты, национальные Стандарты и нормативы.
В Системе содержится более 150000 файлов нормативно-технической документации, действующей на территории РФ.
Система предназначена для широкого круга инженерно-технических специалистов.

Рейтинг@Mail.ru Яндекс цитирования

Copyright © www.gostrf.com, 2008 - 2026