Крупнейшая бесплатная информационно-справочная система онлайн доступа к полному собранию технических нормативно-правовых актов РФ. Огромная база технических нормативов (более 150 тысяч документов) и полное собрание национальных стандартов, аутентичное официальной базе Госстандарта. GOSTRF.com - это более 1 Терабайта бесплатной технической информации для всех пользователей интернета. Все электронные копии представленных здесь документов могут распространяться без каких-либо ограничений. Поощряется распространение информации с этого сайта на любых других ресурсах. Каждый человек имеет право на неограниченный доступ к этим документам! Каждый человек имеет право на знание требований, изложенных в данных нормативно-правовых актах!

  


 

ГОСТ 30566-98

МЕЖГОСУДАРСТВЕННЫЙ СТАНДАРТ

 

ПОРОШОК ПЕРЛИТОВЫЙ
ФИЛЬТРОВАЛЬНЫЙ

Технические условия

 

МЕЖГОСУДАРСТВЕННЫЙ СОВЕТ
ПО СТАНДАРТИЗАЦИИ, МЕТРОЛОГИИ И СЕРТИФИКАЦИИ

Минск

 

Предисловие

1 РАЗРАБОТАН Украинским научно-исследовательским и проектно-конструкторским институтом строительных материалов и изделий (НИИСМИ)

ВНЕСЕН Комитетом Украины по вопросам стандартизации, метрологии и сертификации

2. ПРИНЯТ Межгосударственным Советом по стандартизации, метрологии и сертификации (протокол № 13 от 23 мая 1998 г.)

За принятие проголосовали:

Наименование государства

Наименование национального органа по стандартизации

Азербайджанская Республика

Азгосстандарт

Республика Армения

Армгосстандарт

Республика Беларусь

Госстандарт Республики Беларусь

Республика Казахстан

Госстандарт Республики Казахстан

Кыргызская Республика

Кыргызстандарт

Республика Молдова

Молдовастандарт

Российская Федерация

Госстандарт России

Республика Таджикистан

Таджикгосстандарт

Туркменистан

Главгосинспекция "Туркменстандартлары"

Республика Узбекистан

Узгосстандарт

Украина

Госстандарт Украины

3 Постановлением Государственного комитета Российской Федерации по стандартизации и метрологии от 17 ноября 2000 г. № 301-ст межгосударственный стандарт ГОСТ 30566-98 введен в действие непосредственно в качестве государственного стандарта Российской Федерации с 1 июля 2001

4 ВВЕДЕН ВПЕРВЫЕ

 

Содержание

1 Область применения

2 Нормативные ссылки

3 Классификация, основные параметры и размеры

4 Технические требования

5 Требования безопасности и охраны окружающей среды

6 Правила приемки

7 Методы контроля

8 Транспортирование и хранение

Приложение А

Предельно допустимые концентрации тяжелых металлов в продовольственном сырье и пищевых продуктах

Приложение Б

Библиография

 

МЕЖГОСУДАРСТВЕННЫЙ СТАНДАРТ

ПОРОШОК ПЕРЛИТОВЫЙ ФИЛЬТРОВАЛЬНЫЙ

Технические условия

Filter perlite powder. Specifications

Дата введения 2001-07-01

1 Область применения

Настоящий стандарт распространяется на перлитовый фильтровальный порошок (фильтроперлит), получаемый из вулканических стекловодосодержащих перлитовых пород термической и механической обработкой и применяемый в качестве вспомогательного фильтрующего материала в процессах фильтрации различных суспензий: сахарных сиропов, крахмалопатоки, фруктовых соков, пива, вина, растительных и технических масел, нефтепродуктов, присадок к маслам, антибиотиков, сточных и питьевых вод, различных химических растворов, смазочных средств.

2 Нормативные ссылки

В настоящем стандарте использованы ссылки на следующие стандарты:

ГОСТ 12.1.003-83 Система стандартов безопасности труда. Шум. Общие требования безопасности

ГОСТ 12.1.005-88 Система стандартов безопасности труда. Общие санитарно-гигиенические требования к воздуху рабочей зоны

ГОСТ 12.1.012-90 Система стандартов безопасности труда. Вибрационная безопасность. Общие требования

ГОСТ 12.4.011-89 Система стандартов безопасности труда. Средства защиты работающих. Общие требования и классификация

ГОСТ 17.2.3.02-78 Охрана природы. Атмосфера. Правила установления допустимых выбросов вредных веществ промышленными предприятиями

ГОСТ 2226-88 (ИСО 6590-1-83, ИСО 7023-83) Мешки бумажные. Технические условия

ГОСТ 6613-86 Сетки проволочные тканые с квадратными ячейками. Технические условия

ГОСТ 9758-86 Заполнители пористые неорганические для строительных работ. Методы испытаний

ГОСТ 10832-91 Песок и щебень перлитовые вспученные. Технические условия

ГОСТ 14192-96 Маркировка грузов

ГОСТ 17177-94 Материалы и изделия строительные теплоизоляционные. Методы контроля

ГОСТ 17811-78 Мешки полиэтиленовые для химической продукции. Технические условия

ГОСТ 22235-76 Вагоны грузовые магистральных железных дорог колеи 1520 мм. Общие требования по обеспечению сохранности при производстве погрузочно-разгрузочных и маневровых работ

ГОСТ 24104-88 Весы лабораторные общего назначения и образцовые. Общие технические условия

ГОСТ 25226-96 Щебень и песок перлитовые для производства вспученного перлита. Технические условия

ГОСТ 25880-83 Материалы и изделия строительные теплоизоляционные. Упаковка, маркировка, транспортирование и хранение

ГОСТ 30108-94 Материалы и изделия строительные. Определение удельной эффективной активности естественных радионуклидов

3 Классификация, основные параметры и размеры

3.1 В зависимости от зернового состава фильтроперлит выпускают мелкий и крупный, который должен соответствовать требованиям, указанным в таблице 1.

Таблица 1

Наименование показателя

Зерновой состав

мелкий

крупный

Массовая доля остатка на сите с размером ячеек 0,14 мм, %, не более

5

15

Примечания

1 Допускается по согласованию изготовителя с потребителем изготовление мелкого фильтроперлита, содержащего массовую долю остатка на сите с размером ячеек 0,14 мм до 10 %, и крупного, содержащего массовую долю остатка на сите с размером ячеек 0,14 мм до 20 %.

2 Допускается по согласованию изготовителя с потребителем регламентировать массовую долю остатка на сите с размером ячеек 0,056 и 0,071 мм.

3 Допускается по согласованию изготовителя с потребителем применять крупный фильтроперлит фильтрационной проницаемостью более 1,0 дарси для быстрого фильтрования в производстве нефтепродуктов, технических масел, присадок к маслам, смазочных средств, сточных и питьевых вод.

Мелкий фильтроперлит применяют для среднего фильтрования при изготовлении сахарных сиропов, фруктовых соков, крахмалопатоки, растительных масел, антибиотиков, химических растворов и для медленного фильтрования при производстве пива и вина.

 

4 Технические требования

4.1 Фильтроперлит должен соответствовать требованиям настоящего стандарта.

4.2 Фильтроперлит должен изготовляться по технологической документации, утвержденной в установленном порядке, из вспученного перлитового песка по ГОСТ 10832, полученного термической и механической обработкой перлитовой породы по ГОСТ 25226.

4.3 По физико-техническим показателям фильтроперлит подразделяют на группы А, Б, В и он должен соответствовать требованиям, указанным в таблице 2.

Таблица 2

Наименование показателя

Группа

А

Б

В

Насыпная плотность, кг/м3

80-120

121-160

161-180

Массовая доля всплывающих в воде частиц, %, не более

11,0

12,0

15,0

Массовая доля влаги, %, не более

0,4

1,0

1,0

Массовая доля сухого остатка водной вытяжки после выпаривания, %, не более

0,5

1,0

1,0

Фильтрационная проницаемость по воде, дарси, не менее

1,0

0,5

0,5

Примечания

1 Допускается по согласованию изготовителя с потребителем выпускать крупный фильтроперлит группы В, массовая доля всплывающих в воде частиц у которого составляет до 20 %.

2 Допускается по согласованию изготовителя с потребителем выпускать фильтроперлит группы В, насыпная плотность у которого составляет до 190 кг/м3.

4.4 Суммарная удельная активность естественных радионуклидов в фильтроперлите не должна быть более 370 Бк/кг.

4.5 Фильтроперлит упаковывают в полиэтиленовые мешки по ГОСТ 17811 или бумажные мешки по ГОСТ 2226 марки НМ с количеством слоев не более четырех. Масса фильтроперлита в мешке - не более 20 кг.

Примечание - Допускается упаковка фильтроперлита в мягкие контейнеры по действующим нормативным документам.

4.6 Маркировку мешков производят по ГОСТ 25880. К каждому мешку должен быть прикреплен ярлык или нанесен штамп несмываемой краской, где указывают:

- товарный знак предприятия-изготовителя;

- полное наименование предприятия-изготовителя:

- наименование продукции,

- номер партии;

- дату выпуска продукции;

- обозначение настоящего стандарта.

На бумажные мешки должен быть нанесен манипуляционный знак «Беречь от влаги» по ГОСТ 14192.

Пример условного обозначения при заказе мелкого фильтроперлита группы А:

Порошок перлитовый фильтровальный мелкий группы А ГОСТ 30566 - 98

5 Требования безопасности и охраны окружающей среды

5.1 К работе с фильтроперлитом на предприятии-изготовителе и предприятии-потребителе допускаются лица, достигшие 18 лет.

5.2 Контроль за содержанием пылевидных частиц в воздухе рабочей зоны должен производиться в соответствии с требованиями ГОСТ 12.1.005 и по [1].

5.3 Концентрация перлитовой пыли в воздухе рабочей зоны не должна превышать 4,0 мг/м3. В соответствии с ГОСТ 12.1.005 перлитовая пыль - фиброгенного действия, класс опасности 3.

5.4 Работающие с фильтроперлитом должны быть обеспечены средствами индивидуальной защиты органов дыхания по ГОСТ 12.4.011 - респираторами ШБ-1 «Лепесток».

5.5 Уровень шума в рабочей зоне не должен превышать значений по ГОСТ 12.1.003 и [2]. Измерения проводят по [3].

5.6 При работе оборудования уровень вибрации не должен превышать показатели, установленные ГОСТ 12.1.012 и [4]. Измерения проводят по [5].

5.7 Содержание оксида углерода в воздухе рабочих помещений нормируют по ГОСТ 12.1.005 и оно не должно превышать 20 мг/м3. Измерения проводят по [6].

5.8 Микроклимат производственных помещений должен соответствовать  Система стандартов безопасности труда. Общие санитарно-гигиенические требования к воздуху рабочей зоны

 и [7].

5.9 Контроль за выбросами вредных веществ в атмосферу осуществляют по ГОСТ 17.2.3.02 и [8].

5.10 При применении фильтроперлита в пищевой промышленности миграция алюминия и железа при контакте с пищевыми продуктами не должна превышать уровней, указанных в [9], и содержание тяжелых металлов и мышьяка не должно превышать допустимых концентраций, установленных [10].

5.11 Сточные воды перед сбросом в канализацию должны быть очищены и отвечать требованиям [11].

5.12 Охрану грунта от загрязнения бытовыми и промышленными отходами осуществляют в соответствии с требованиями [12].

6 Правила приемки

6.1 Приемку фильтроперлита проводят партиями. Каждая партия должна состоять из фильтровального перлитового порошка одной группы и однородного по зерновому составу, изготовляемого из сырья одного месторождения по одной технологии в течение одних суток и предъявленного одновременно к приемке, но не более 200 м3.

6.2 Каждая партия фильтроперлита должна сопровождаться документом о качестве установленной формы, в котором указывают:

- номер и дату выдачи документа;

- наименование и адрес изготовителя;

- наименование продукции и номер партии;

- количество материала в партии, м3;

- результаты испытаний (насыпная плотность, массовая доля влаги, массовая доля всплывающих в воде частиц, массовая доля остатка на сите);

- содержание естественных радионуклидов;

- обозначение настоящего стандарта;

- дополнительные сведения (при необходимости).

6.3 Соответствие качества фильтроперлита требованиям настоящего стандарта устанавливают по данным операционного контроля, приемосдаточных и периодических испытании.

Результаты операционного контроля, приемосдаточных и периодических испытаний должны быть зафиксированы в соответствующих журналах лаборатории, ОТК или других документах.

Порядок проведения, объем и содержание операционного контроля устанавливают в технологической документации.

6.4 Для проведения приемосдаточных испытаний из потока материала при загрузке мешков отбирают не менее пяти точечных проб, из которых составляют объединенную пробу.

Объединенную пробу используют для определения всех показателей качества фильтроперлита. Насыпную плотность материала определяют в каждой точечной пробе.

Объем точечной пробы и порядок получения объединенной пробы устанавливают в соответствии с ГОСТ 9758.

6.5 При проведении приемосдаточных испытаний определяют: насыпную плотность, массовую долю влаги, массовую долю всплывающих в воде частиц, массовую долю остатка на сите.

6.6 Периодическим испытаниям подвергают фильтроперлит, выдержавший приемосдаточные испытания.

Периодические испытания по определению фильтрационной проницаемости по воде и массовой доли сухого остатка водной вытяжки после выпаривания проводят один раз в квартал у изготовителя.

Суммарную удельную активность естественных радионуклидов определяют один раз в год и при постановке продукции на производство, а также при изменении месторождения сырья.

6.7 При неудовлетворительных результатах контроля хотя бы по одному из показателей по нему проводят повторную проверку на удвоенном количестве проб, взятых от той же партии.

При неудовлетворительных результатах повторного контроля партия фильтроперлита приемке не подлежит.

6.8 Фильтроперлит считают принятым ОТК завода по результатам приемосдаточных и периодических испытаний, если показатели соответствуют требованиям 3.1, 4.1, 4.2, 4.3, а значение насыпной плотности каждой точечной пробы, кроме того, не превышает максимального значения, установленного для данной группы более чем на 5 %.

6.9 Потребитель имеет право проводить контрольную проверку фильтроперлита в соответствии с требованиями настоящего стандарта, применяя следующий порядок отбора проб.

Для проверки качества партии фильтроперлита точечные пробы отбирают из мешков - по две пробы методом случайного отбора, но не менее чем из пяти мешков с помощью совка или пробоотборника с глубины 0,2 м.

Количество поставляемого фильтроперлита потребитель определяет по объему с учетом коэффициента уплотнения, но не более 1,3.

7 Методы контроля

7.1 Насыпную плотность фильтроперлита определяют по ГОСТ 9758.

7.2 Массовую долю влаги фильтроперлита определяют по ГОСТ 17177.

7.3 Массовую долю всплывающих в воде частиц определяют путем взвешивания всплывающих в воде частиц фильтроперлита, насыпанного в емкость и залитого водой.

7.3.1 Аппаратура

Мерный сосуд вместимостью 0,5 л.

Воронка Бюхнера.

Фильтр плотный («синяя лента») по действующему НД.

Стеклянная палочка.

Весы лабораторные по ГОСТ 24104 с погрешностью взвешивания 0,01 г.

7.3.2 Проведение испытаний

Высушенную до постоянной массы по ГОСТ 17177 навеску фильтроперлита в количестве 10 г засыпают в емкость (0,5 л), заливают 300 см3 воды и перемешивают стеклянной палочкой в течение 3 мин.

Суспензии дают отстояться в течение 30 мин. С помощью воронки Бюхнера всплывающие частицы отфильтровывают через предварительно взвешенный бумажный фильтр, высушивают до постоянной массы по ГОСТ 17177  и взвешивают на фильтре на лабораторных весах. Массу всплывающих частиц определяют вычитанием массы фильтра.

7.3.3 Обработка результатов

Массовую долю всплывающих в воде частиц а, %, вычисляют по формуле

                                                             (1)

где  - масса всплывающих частиц, г;

 - масса навески, г.

За результат испытаний принимают среднее арифметическое двух определений, относительное допускаемое расхождение между которыми не должно превышать 5 %.

7.4 Фильтрационную проницаемость фильтроперлита определяют измерением объема дистиллированной воды, проходящей через слой испытуемого порошка за определенное время.

7.4.1 Аппаратура

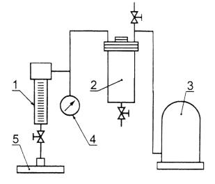
Прибор для определения фильтрационной проницаемости (рисунок 1).

Секундомер.

Мерный цилиндр вместимостью до 100 см3.

Весы лабораторные по ГОСТ 24104 с погрешностью взвешивания 0,01 г.

1 - фильтрационная колонка, выполненная из органического стекла, с фильтрационной перегородкой поверхностью 1 см3. Фильтрационная перегородка выполнена из нержавеющего штампованного сита с размером ячейки 100 мкм; 2 - напорный сосуд, выполненный из органического стекла, 3 - компрессор, предназначенный для создания необходимого постоянного давления в фильтрационной колонке; 4 - образцовый манометр для измерения давления в системе; 5 - подвижный столик с мерными цилиндрами

Рисунок 1 - Прибор для определения фильтрационной проницаемости

7.4.2 Проведение испытаний

Испытания проводят на двух пробах материала.

В напорный сосуд прибора заливают дистиллированную воду. Затем производят намыв фильтровального порошка на фильтрационную перегородку. Для этого в фильтрационную колонку прибора заливают 15 см3 дистиллированной воды и туда же помещают навеску фильтроперлита 0,4 г.

Время фильтрации составляет 120 с. Объем фильтра определяют через 30, 60, 90, 120 с при помощи мерного цилиндра вместимостью до 100 см3 установленного на подвижном столике под нижним краном фильтрационной колонки. После окончания опыта по шкале фильтрационной колонки определяют высоту намывного слоя.

7.4.3 Обработка результатов

По полученным данным рассчитывают коэффициент фильтрационной проницаемости К, дарси, исследуемого порошка по формуле

                                                            (2)

где Q - расход дистиллированной воды, прошедшей через слой испытуемого материала в единицу времени, см3/с;

 - вязкость дистиллированной воды, МПа×с;

L  - высота слоя, см;

Р - давление в колонке, МПа;

S - площадь поперечного сечения пористой среды, см2.

За результат испытаний одной пробы принимают среднее арифметическое для четырех определений объема фильтрата (через 30, 60, 90, 120 с), за окончательный результат испытаний принимают среднее арифметическое двух определений (для двух проб), относительное допускаемое расхождение между которыми не должно превышать 10 %.

7.5 Массовую долю сухого остатка водной вытяжки после выпаривания определяют взвешиванием фильтрата после выпаривания на водяной бане.

7.5.1 Аппаратура

Фильтр плотный («синяя лента») по действующему НД.

Весы лабораторные по ГОСТ 24104 с погрешностью взвешивания 0,01 г.

Водяная баня.

Мерный цилиндр вместимостью 100 см3.

Стакан вместимостью 0,5 л.

Коническая воронка.

Фарфоровая чашка.

Эксикатор.

7.5.2 Проведение испытаний

Испытания проводят на двух пробах материала. Навеску фильтроперлита в количестве 5 г помешают в стакан вместимостью 0,5 л, заливают 100 см3 дистиллированной воды, перемешивают в течение 10 мин, доводят до кипения и кипятят 1 мин. Суспензию охлаждают до комнатной температуры, фильтруют через плотный фильтр на конической воронке.

Фильтрат переносят в предварительно взвешенную фарфоровую чашку, высушивают до постоянной массы по ГОСТ 17177 и выдерживают на водяной бане. Затем чашку с остатком помещают в сушильный шкаф и высушивают до постоянной массы по ГОСТ 17177, охлаждают в эксикаторе и взвешивают с погрешностью измерения не более 0,01 г.

7.5.3 Обработка результатов Массовую долю сухого остатка а, %, вычисляют по формуле

                                                      (3)

где  - масса чашки с сухим остатком, г;

 - масса чашки, предварительно высушенной при температуре 110 °С, г;

 - масса навески фильтроперлита, г.

За результат испытаний принимают среднее арифметическое двух определений, допускаемое расхождение между которыми не должно превышать 10 %.

7.6 Массовую долю остатка на сите определяют вывешиванием частиц порошка, оставшихся на сите после его рассеивания на фракции.

7.6.1 Аппаратура

Весы лабораторные по ГОСТ 24104 с погрешностью взвешивания 0,01 г.

Сито с размером ячеек 0,14 мм (или 0,056 мм, или 0,071 мм, если требуется) по ГОСТ 6613.

Вибровстряхиватель технический.

Секундомер.

7.6.2 Проведение испытаний

Высушенную до постоянной массы по ГОСТ 17177 навеску фильтроперлита в количестве 20 г рассеивают в течение 10 мин на сите с размером ячеек 0,14 мм (или 0,056 мм, или 0,071 мм, если требуется), установленном на вибровстряхивателе. Остатки на ситах взвешивают.

7.6.3 Обработка результатов

Массовую долю остатка на сите М, %, вычисляют по формуле

                                               (4)

где  - масса остатка на сите, г;

 - масса навески, г.

За результат испытаний принимают среднее арифметическое двух определений, допускаемое; расхождение между которыми не должно превышать 5 %.

7.7 Суммарную удельную активность естественных радионуклидов определяют по ГОСТ 30108.

8 Транспортирование и хранение

8.1 Фильтроперлит транспортируют всеми видами крытого транспорта, упакованным в мешках по ГОСТ 2226 или специальных мягких контейнерах по действующему НД.

При транспортировании должны соблюдаться правила перевозки грузов, действующие на соответствующем виде транспорта.

При транспортировании в железнодорожных вагонах должны соблюдаться требования ГОСТ 22235.

8.2 Фильтроперлит должен храниться в закрытых отдельных складах, предохраняющих его от распыления, загрязнения и увлажнения.

 

ПРИЛОЖЕНИЕ А

(справочное)

Предельно допустимые концентрации тяжелых металлов в продовольственном сырье и пищевых продуктах

Таблица А. 1

Химическое вещество

ПДК, мг/л
(СанПиН 42-123-4089-86)

Свинец

0,30

Кадмий

0,03

Медь

5,00

Цинк

10,01

 

ПРИЛОЖЕНИЕ Б

(справочное)

Библиография

[1]

Методические указания на гравиметрическое определение пыли в воздухе рабочей зоны, утвержденные Минздравом СССР 13.04.77 № 1719

[2] СН 3223-85

Санитарные нормы допустимых уровней шума на рабочих местах

[3]

Методические указания по проведению измерения и гигиенической оценки шумов на рабочих местах, утвержденные Минздравом СССР 10.07.85 № 1844

[4] СН 3044-84

Санитарные нормы вибрации рабочих мест

[5]

Методические указания по проведению измерений и гигиенической оценке производственных вибраций, утвержденные Минздравом СССР 10.07.85 № 3911

[6]

Методические указания по фотометрическому измерению концентрации окиси углерода в воздухе рабочей зоны, утвержденные Минздравом СССР 12.12.88 №4862

[7] СН 4088-86

Санитарные нормы микроклимата производственных помещений

[8] СанПиН 4946-89

Санитарные правила по охране атмосферного воздуха населенных мест

[9] СанПиН 42-123-4240-86

Санитарные нормы, допустимые количества миграции (ДКМ) химических веществ, выделяющихся из полимерных и других материалов, контактирующих с пищевыми продуктами, и методы их определения

[10] СанПиН 42-123-4089-86

Предельно допустимые концентрации тяжелых металлов и мышьяка в продовольственном сырье и пищевых продуктах

[11] СанПиН 4630-88

Санитарные правила и нормы по охране поверхностных вод от загрязнений

[12] СанПиН 4690-88

Охрана почвы от загрязнений бытовыми и промышленными отходами

 

 

Ключевые слова: перлитовая порода, термическая обработка, механическая обработка, фильтровальный перлитовый порошок

 

 




ГОСТЫ, СТРОИТЕЛЬНЫЕ и ТЕХНИЧЕСКИЕ НОРМАТИВЫ.
Некоммерческая онлайн система, содержащая все Российские Госты, национальные Стандарты и нормативы.
В Системе содержится более 150000 файлов нормативно-технической документации, действующей на территории РФ.
Система предназначена для широкого круга инженерно-технических специалистов.

Рейтинг@Mail.ru Яндекс цитирования

Copyright © www.gostrf.com, 2008 - 2026