Крупнейшая бесплатная информационно-справочная система онлайн доступа к полному собранию технических нормативно-правовых актов РФ. Огромная база технических нормативов (более 150 тысяч документов) и полное собрание национальных стандартов, аутентичное официальной базе Госстандарта. GOSTRF.com - это более 1 Терабайта бесплатной технической информации для всех пользователей интернета. Все электронные копии представленных здесь документов могут распространяться без каких-либо ограничений. Поощряется распространение информации с этого сайта на любых других ресурсах. Каждый человек имеет право на неограниченный доступ к этим документам! Каждый человек имеет право на знание требований, изложенных в данных нормативно-правовых актах!

  


 

ПРАВИТЕЛЬСТВО МОСКВЫ

МОСКОМАРХИТЕКТУРА

РЕКОМЕНДАЦИИ
по проектированию озеленения
и благоустройства крыш жилых
и общественных зданий и других
искусственных оснований

2000

ПРЕДИСЛОВИЕ

1. РАЗРАБОТАНЫ: ОАО «Моспроект»

Авторский коллектив: руководитель работы - заслуженный эколог РФ, главный специалист ОАО «Моспроект» Машинский В.Л.; главный специалист технического отдела ОАО «Моспроект» Суденкова К.А.: руководитель отдела кровель ЦНИИпромзданий, к.т.н. Воронин А.М.; главный специалист отдела кровель ЦНИИпромзданий Синицина Л.Б.: руководитель фирмы «Диат» Цыкановский Е.Ю.; мл. н. сотрудник МГУ им. М.В.Ломоносова Горбачевская О.А.; технический редактор Музалева Е.В.

2. СОГЛАСОВАНЫ

- Управлением комплексного благоустройства города ГлавАПУ Москомархитектуры;

- Московским государственным университетом леса;

- УГПС ГУВД гор. Москвы;

- Управлением жилищно-коммунального хозяйства гор. Москвы

3. ПОДГОТОВЛЕНЫ к утверждению и изданию Управлением перспективного проектирования и нормативов Москомархитектуры (арх. Зобнин А.П., Ревкевич Л.П.).

4. ПРИНЯТЫ И ВВЕДЕНЫ В ДЕЙСТВИЕ указанием Москомархитектуры от 18.10.2000г. №43.

СОДЕРЖАНИЕ

Введение. 2

1. Общие положения. 3

2. Противопожарные требования и молниезащита. 5

3. Конструктивные решения кровли. 6

4. Требования к элементам покрытия и кровли. 8

4.1. Пароизоляция. 8

4.2. Теплоизоляция. 8

4.3. Основание под водоизоляционный ковёр. 8

4.4. Водоизоляционный ковёр. 9

4.5. Защитные, разделительные, фильтрующие и дренажные слои. 10

4.6. Противокорневой слой. 11

Приложения. 11

4-1 Физико-технические свойства битумно-полимерных наплавляемых рулонных материалов на стекловолокнистой основе (для пароизоляции и водоизоляционного ковра) 11

4-2 Физико-технические свойства битумно-полимерных наплавляемых рулонных материалов с основой из синтетических волокон (для пароизоляции и водоизоляционного ковра) 12

4-3 Физико-технические свойства пенопластовых теплоизоляционных материалов. 13

4-4 Физико-технические свойства теплоизоляционных материалов на цементном вяжущем.. 13

4-5 Физико-технические свойства теплоизоляционных материалов на основе перлита. 14

4-6 Физико-технические свойства волокнистых теплоизоляционных материалов. 14

4-7 Физико-технические свойства засыпных теплоизоляционных материалов. 14

4-8 Физико-технические свойства холодных мастик. 15

4-9 Физико-технические свойства фильтрующих материалов (геотекстиля) 15

4-10 Физико-технические свойства герметизирующих мастик. 15

5. Особенности эксплуатируемых кровель. 16

6. Дополнительные нагрузки на эксплуатируемую кровлю при устройстве садов на искусственных основаниях. 16

7. Защита от ветра и солнца. 17

8. Архитектурно-строительные детали (узлы) 17

9. Архитектурно-планировочные требования к благоустройству и озеленению на кровлях. 22

10. Элементы садов на крышах зданий. 24

11. Элементы наземных садов на искусственных основаниях. 29

12. Зеленые крыши. 29

13. Устройство архитектурно-ландшафтных объектов на крышах зданий с элементами озеленения. 30

14. Ассортимент деревьев и кустарников, используемых для озеленения садов на крышах и наземных садов. 31

15. Ассортимент травянистых растений, используемых для озеленения садов на крышах и наземных садов. 32

Приложение Зарубежный опыт устройства эксплуатируемых крыш.. 32

ВВЕДЕНИЕ

Проблема использования эксплуатируемых кровель зданий и сооружений для создания на них архитектурно-ландшафтных объектов до последнего времени упиралась в трудности освоения подземного пространства при строительстве подземных гаражей и практическую невозможность предотвращения протечек покрытий при использовании традиционных кровельных материалов, а также проблему создания устойчивого корнезащитного слоя при использовании тех материалов, которыми располагали строители.

В последние годы номенклатура применяемых в России кровельных материалов расширилась за счет выпуска новых отечественных и появления ряда зарубежных наплавляемых рулонных материалов, которые имеют приклеивающие (подплавляемые) слои из битумно-полимерных составов, наносимых на основу в заводских условиях. В качестве основы нашли применение долговечные (негниющие) стекломатериалы (стеклоткани, стеклохолсты) или полотна из синтетических волокон (например, из полиэстера).

Эти материалы имеют высокую прочность, деформативность и гибкость при отрицательных температурах, а также низкое водопоглощение, что обеспечивает им эксплуатационную надежность в составе кровельного ковра.

Опыт строительства жилого комплекса РАО «Газпром» по ул. Наметкина с двухэтажным гаражом, на кровле которого устроен мини-сквер, показал высокую надежность применяемых там кровельных материалов. Однако, необходимо учесть, что успеха можно добиться только при высоком качестве работ, соблюдении всех технологических требований при строительно-монтажных работах и жесткой технологической дисциплине, исключающей механические повреждения кровельных материалов при их хранении и укладке.

Следует отметить, что устройство архитектурно-ландшафтных объектов на эксплуатируемых крышах требует больших единовременных затрат, налаженной службы ухода за ними и высокой культуры пользователей этих объектов. Человек, посетивший такой объект, должен твердо знать, что нельзя пробовать силу на тех или иных деталях эксплуатируемой крыши, нельзя выкидывать пустые бутылки и прочие предметы с крыши, разводить костры для приготовления шашлыков и совершать другие «подвиги», к которым имеет тягу некоторая часть нашего населения, к сожалению, достаточно значительная. Именно учитывая «потребности» этой части населения, проектировщики вынуждены принимать определенные антивандальные меры, обеспечивающие безопасность пребывания на эксплуатируемых кровлях и на прилегающих к ним территориях.

Учитывая экономическое и социальное состояние нашего общества, сады на крышах зданий могут устраиваться на ограниченном числе объектов, имеющих налаженные службы охраны и эксплуатации (гостиницы, офисы крупных фирм, общественные здания и т.п.). В связи с тем, что в Москве все большее развитие получает строительство подземных гаражей, наземные сады должны иметь приоритетное значение при использовании эксплуатируемых крыш.

«Зеленые крыши» могут получить более широкое развитие, особенно при разноэтажном строительстве. При этом нужно учесть еще одно обстоятельство: экономически оправданы любые единовременные затраты при проектировании и строительстве любых объектов, если они обеспечивают низкие эксплуатационные расходы при использовании этих объектов. Самым ярким примером в этом отношении являются первые линии метро. Будучи безумно дорогими при строительстве, они уже, более 50 лет не нуждаются в капитальном ремонте и за счет этого давно многократно оправдали те затраты, которые были произведены при их строительстве.

В связи, с, особенностями эксплуатируемой кровли (сложность и дороговизна ремонта, сложность определения места протечки, сложные условия эксплуатации кровельного ковра и т.д.) необходимо применять самые высококачественные гидроизоляционные материалы, а работы должны производить специализированные кровельные фирмы.

Настоящие Рекомендации могут быть применены на объектах города Москвы и по согласованию органов архитектуры Московской области при проектировании эксплуатируемых кровель на объектах строительства Московской области.

Применение данных Рекомендаций при проектировании объектов с эксплуатируемой кровлей не освобождает заказчика от необходимости согласования конкретных проектов с УГПС ГУВД г. Москвы и другими согласующими организациями.

В настоящих Рекомендациях использованы следующие нормативные документы:

СНиП II-26-76 «Кровли. Нормы проектирования»

СНиП 2.08.02-89* «Общественные здания и сооружения»

СНиП 2.08.01-89* «Жилые здания»

СНиП 2.01.07-85* «Нагрузки и воздействия»

СНиП 21-01-97* «Пожарная безопасность зданий и сооружений»

СНиП II-3-79* (изд. 1998 г.) «Строительная теплотехника»

СНиП 2.01.02-85* «Противопожарные нормы»

МГСН 3.01-96 «Жилые здания»

МГСН 5.01-94* «Стоянки легковых автомобилей»

МГСН 4.04-94 «Многофункциональные здания и комплексы»

МГСН 4.16-98 «Гостиницы»

ГОСТ 15588-86 «Плиты пенополистирольные. Технические условия»

ТУ 2244-001-47547616-00 «Пенополистирольные плиты» (экструзионные)

ГОСТ 20916-87 «Плиты пенопластовые на основе резольных фенолформальдегидных смол»

ГОСТ 5742-76 «Изделия из ячеистых бетонов теплоизоляционные»

ГОСТ Р 51263-99 «Полистиролбетон»

ГОСТ 21500-76 «Плиты перлитофосфогелевые»

ГОСТ 16136-80 «Плиты перлитобитумные теплоизоляционные. Технические условия»

ГОСТ 9759-83 «Гравий и песок керамзитовые. Технические условия» ГОСТ 19345-83 «Гравий и песок шунгизитовые. Технические условия» ГОСТ 10832-91 «Песок и щебень перлитовые вспученные. Технические условия»

ГОСТ 12865-97 «Вермикулит вспученный»

РД 34.21.122-87 «Инструкция по устройству молниезащиты зданий и сооружений»

1. ОБЩИЕ ПОЛОЖЕНИЯ

1-1. В связи с дефицитом городской земли и напряженной экологической обстановкой в городе остро встала проблема использования кровель зданий, подземных и полуподземных гаражей, эстакад и других искусственных оснований для создания архитектурно-ландшафтных объектов с использованием зеленых насаждений и элементов благоустройства.

1-2. Архитектурно-ландшафтные объекты на искусственных основаниях (эксплуатируемых кровлях) представляют собой небольшие по территории участки, предназначенные для озеленения и благоустройства в границах кровель зданий и сооружений.

1-3. По своему использованию архитектурно-ландшафтные объекты на эксплуатируемых кровлях делятся на:

- сады на крышах зданий, предназначенные для рекреации населения. Они включают в себя площадки разного назначения, дорожки и элементы озеленения: деревья, кустарники, газоны и цветники. По своей планировочной структуре они приближаются к мини-скверам;

- наземные сады над подземными сооружениями, расположенными на уровне земли (кровли подземных и полуподземных гаражей, объектов ГО и т.п.). Часть территории наземных садов может быть использована под устройство автостоянок;

- озелененные крыши - эксплуатируемые крыши, на которых устраивается газонное покрытие. На озелененных крышах рекреация не предусматривается;

- архитектурно-ландшафтные объекты на эксплуатируемых крышах, используемые для устройства кафе, соляриев, автостоянок (на крышах подземных гаражей) с размещением растений в специальных емкостях с почвенным субстратом.

Возможно использование эксплуатируемых кровель для устройства на них оранжерей и парников, которые должны проектироваться по специальному проекту, учитывающему специфические требования различных групп растений к свету, теплу, влажности и т.п.

1-4. Использование озеленения на кровлях зданий и сооружений позволяет повысить эстетические качества застройки, особенно, при разноэтажной застройке, обогатить ландшафт города, расширить возможности для организации рекреации населения, что особенно важно при все увеличивающемся дефиците городских земель.

1-5. Существуют определенные ограничения при использовании эксплуатируемых кровель для создания архитектурно-ландшафтных объектов.

В таблице 1.1 приведен примерный перечень зданий и сооружений, на эксплуатируемой кровле которых возможно устройство архитектурно-ландшафтных объектов с использованием элементов озеленения и благоустройства.

Таблица 1.1

Тип здания, сооружения

Вид проекта

Класс функциональной опасности

Отметка пола верхнего этажа от уровня земли (этажность)

Возможность устройства различных архитектурно-ландшафтных объектов

Сады на крышах

«Зеленые» крыши

Наземные сады

Архитектурно-ландшафтные объекты с использованием озеленения

Жилые дома повышенной комфортности

Индивид.

Ф. 1.3

До 65м

(до 22 эт.)

+

+

-

+

Жилые дома

Типовой

Ф.1.3

До 65м

(до 22 эт.)

-

+

-

-

Здания высших учебных заведений, научно-исследовательских, проектных и общественных организаций

Индивид.

Ф4.2

Ф4.3

До 65м

(до 22 эт.)

+

+

-

+

Гостиницы, санатории, пансионаты

Индивид.

Ф1.2

До 50м

(до 16 эт.)

+

+

-

+

Многофункциональные здания и комплексы

Индивид.

Определяется при проектировании

До 65м

(до 22 эт.)

+

+

-

+

Отдельно стоящие подземные и полуподземные сооружения (гаражи, объекты ГО и т.д.)

Индивид.

Ф5.1

-

-

+

+

+

1-6. На перекрытии верхнего этажа жилого дома любого функционального назначения с отметкой пола 65 м и выше от уровня земли, у гостиниц при количестве этажей более 16 (выше 50 м от средней планировочной отметки проезда, предназначенного для подъезда пожарных автомашин, до отметки пола верхнего этажа) следует предусматривать площадку для эвакуации людей при пожаре пожарными вертолетами размером не менее 5´5 м.

У зданий (20 - 22 этажа и гостиниц 16 этажей и выше) садов на крышах не устраивать.

Статическая нагрузка составляет: для вертолета К-12 - 11 тонн, для вертолета МИ-17 - 12 тонн. Динамическая нагрузка при посадке этих вертолетов составляет 22 тонны и 24 тонны соответственно.

На крышах домов, на которых устраиваются вертолетные площадки, не допускается размещение объектов, которые могут создать помехи при посадке вертолетов.

1-7. Уровень кровли встроенно-пристроенных (пристроенных) учреждений общественного назначения в местах примыкания к жилой части здания не должен превышать отметки пола жилых помещений.

1-8. Озеленение крыш повышает теплоизоляцию здания, в значительной степени нивелируя резкие перепады температур в течение года; обеспечивает сохранность гидроизолирующего покрытия любой крыши, удлиняя во много раз периоды между капитальными ремонтами крыш. Озелененная крыша лучше поглощает шумы и пыль, создает собственный благоприятный климат.

1-9. Для размещения архитектурно-ландшафтных объектов используются покрытия с несущими железобетонными плитами.

1-10. По периметру эксплуатируемой кровли, используемой для садов на крышах, должен быть установлен парапет высотой 1,2 м, на котором должно быть закреплено сетчатое ограждение высотой не менее 1 м. Для «зеленых крыш» - парапет высотой 1,2 м без сетчатого ограждения. Наземные сады должны быть ограждены от другой территории высоким бортом не менее 0,5 м, чтобы исключить заезд на кровлю автотранспорта.

1-11. Особое внимание необходимо обратить на отвод воды с кровли; его необходимо предусматривать преимущественно внутренним с обеспечением уклона кровли 1,5 - 3% к водоотводящим устройствам.

1-12. Уклон кровли можно создать наклоном несущей плиты покрытия, что является предпочтительным, либо укладкой слоя керамзитового гравия переменной толщины с проливкой цементным раствором.

1-13. При недостаточной несущей способности плит покрытия необходимо предусмотреть их усиление в соответствии с расчетом. Сечения ригелей должны быть подобраны с учетом увеличенной нагрузки.

1-14. В случае, если архитектурно-ландшафтный объект предполагается создать на уже существующем здании или сооружении, то необходимо проверить состояние несущей способности всех конструктивных элементов здания и состояние конструкции самой кровли с привлечением специалистов (МосжилНИИпроект, ЦНИИПпромзданий и др.).

1-15. Размещение архитектурно-ландшафтных объектов на крышах и подземных сооружениях требует специальной конструкции этих кровель с устройством уклонообразующего слоя, пароизоляционных, теплоизоляционных, противокорневых, водоизоляционных, фильтрующих и дренажных и разделительных слоев. Материалы, используемые в этих конструкциях, должны быть гостированы, сертифицированы; по своим экологическим и техническим качествам они должны быть разрешены к использованию в Москве.

2. ПРОТИВОПОЖАРНЫЕ ТРЕБОВАНИЯ И МОЛНИЕЗАЩИТА

2-1. Здания и сооружения, имеющие эксплуатируемую кровлю, используемую под создание архитектурно-ландшафтных объектов (сады на крышах, зеленые крыши, наземные сады) должны полностью отвечать противопожарным требованиям СНиП 21-01-97*; СНиП 2.01-02-85* (для общественных зданий) и другим противопожарным требованиям, установленным для данного типа зданий и сооружений строительными нормами и правилами.

2-2. Степень огнестойкости архитектурно-ландшафтных объектов (кафе, ресторанов и др. сооружений), расположенных на кровлях, должна быть не ниже степени огнестойкости основного здания, класс функциональной опасности должен соответствовать классу основного здания.

2-3. Этажность и класс функциональной опасности зданий, на которых возможно устройство архитектурно-ландшафтных объектов, принимается по таблице 1-1.

2-4. Эксплуатируемая кровля общей площадью более 300 м2 или предназначенная для пребывания более 15 чел., на которой располагаются архитектурно-ландшафтные объекты, должна иметь не менее 2-х эвакуационных выходов, соответствующих СНиП 21-01-97*. При большей площади кровли на каждые полные и неполные 100 м протяженности здания должен быть предусмотрен один выход. Эти выходы должны иметь противопожарные двери (люки) двух типов. Двери эвакуационных выходов должны открываться наружу по направлению выхода на кровлю.

2-5. Кровли со специально оборудованными участками, являющимися эвакуационными путями, согласно п. 6.24 СНиП 21-07-97*, для устройства архитектурно-ландшафтных объектов не использовать.

2-6. Устраивать архитектурно-ландшафтные объекты на кровлях производственных и складских зданий с помещениями категории «А» и «Б» по взрывопожарной и пожарной опасности не допускается.

2-7. При размещении на крыше крышных котельных размещение на них архитектурно-ландшафтных объектов не допускается.

2-8. Расстояние от вентиляционных шахт, каналов и дымоходов, а также до клапанов (открывающихся створок) должно быть не менее 15 м.

2-9. Согласно СНиП 2.01-02.85* в общественных зданиях со стороны противоположной главному фасаду здания должен быть проложен пожарный водопровод и устроена пожарная лестница. Если эксплуатируемая кровля устроена в разных уровнях, то должны быть предусмотрены лестницы, соединяющие эти части.

2-10. Архитектурно-ландшафтные объекты и здания, на которых они размещаются, должны быть оборудованы автоматической противопожарной защитой в соответствии с требованиями НПБ 110-99 и НПБ 104-95.

2-11. Архитектурно-ландшафтные объекты и здания, на кровлях которых они размещаются, должны быть оборудованы молниезащитой в соответствии с РД-34.21.122-87.

2-12. Складирование сгораемых материалов и мусора (веток, кровельных и других материалов) на кровлях зданий не допускается. В проектах должен быть предусмотрен механизм утилизации (вывоза) сгораемых материалов.

2-13. Все деревянные детали малых форм архитектуры, установленных на эксплуатируемой кровле, должны быть подвергнуты глубокой обработке антипиренами.

2-14. Проекты зданий и сооружений с эксплуатируемыми кровлями с элементами озеленения и благоустройства, выполненные с учетом настоящих Рекомендаций, обязательно должны быть согласованы в установленном порядке с УГПС ГУВД г. Москвы.

3. КОНСТРУКТИВНЫЕ РЕШЕНИЯ КРОВЛИ

3-1. Эксплуатируемые кровли могут включать отдельные участки с зелеными насаждениями, площадки для автотранспорта и отдыха (кафе), пешеходные дорожки и другие элементы: при этом водоизоляционный ковер может находиться на теплоизоляционном слое с выравнивающей стяжкой или на несущей железобетонной плите с уклонообразующим слоем (традиционный вариант) либо под теплоизоляционным слоем (инверсионный вариант). Расположение слоев покрытия различных вариантов приведено на схеме (табл. 3.1).

3-2. В зданиях с не утепленным чердаком утеплитель предусматривают по чердачному перекрытию, а эксплуатируемую кровлю - по плитам покрытия над чердаком (табл. 3.1).


Таблица 3.1.

 

Тип кровли

Схема расположения слоев покрытия

 

1

традиционный

 

2

инверсионный

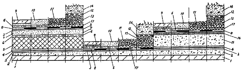
Обозначения:

1 - несущая железобетонная плита;

2 - уклонообразующий слой с затиркой цементно-песчаным раствором;

3 - грунтовочный слой;

4 - пароизоляция;

5 - штатный утеплитель;

6 - разделительный слой;

7 - основание под кровлю (выравнивающая стяжка);

8 - водоизоляционный ковер;

9 - пешеходные дорожки, площадки отдыха из плиток на растворе;

10 - то же, из цементно-песчаного раствора или асфальтобетона;

11 - участок с гравийной засыпкой;

12 - фильтрующий слой;

13 - дренажный слой;

14 - почвенный слой;

15 - монолитный утеплитель;

16 - цементно-песчаная затирка или литой асфальтобетон;

17 - противокорневой слой;

18 - плитка по разделительному слою;

 

 


4. ТРЕБОВАНИЯ К ЭЛЕМЕНТАМ ПОКРЫТИЯ И КРОВЛИ

4-1. Пароизоляция (табл. 3.1 позиция 4)

4-1-1. Пароизоляция для предохранения теплоизоляционного слоя и основания под кровлю от увлажнения должна предусматриваться в соответствии с требованиями главы СНиП II-3-79* «Строительная теплотехника», изд. 1998 г.;

4-1-2. В местах примыкания покрытий к стенам, шахтам и оборудованию, проходящему через покрытие или чердачное перекрытие, Пароизоляция должна быть поднята на высоту, равную толщине теплоизоляционного слоя, а в местах деформационных швов должна перекрывать края металлического компенсатора.

4-1-3. Для пароизоляции должны быть применены современные битуминозные материалы, например, наплавляемые рулонные материалы без крупнозернистой посыпки с армирующей долговечной основой из стекломатериалов или синтетических волокон, как наиболее эффективные по технологии укладки (см. Приложение 4-1, 4-2).

4-2. Теплоизоляция (табл. 3.1, позиции 5 и 15)

4-2-1. Толщину теплоизоляции покрытия устанавливают расчетным путём по главе СНиП II-3-79* с учётом теплоизолирующих свойств остальных слоев покрытия; теплоизоляционные качества участков и узлов с повышенной теплопроводностью следует определять путем расчета температурных полей, который производится компьютерным центром ОАО «Моспроект».

4-2-2. Учитывая относительно высокие нагрузки на теплоизоляцию в эксплуатируемых кровлях традиционного варианта (особенно в местах проезда и стоянок автомобильного транспорта), её следует предусматривать, как правило, из плитных материалов с прочностью на сжатие не менее 1,5 кгс/см2, к которым, в первую очередь, относятся пенополистирольные плиты, обладающие наиболее высокими теплозащитными свойствами и низким весом, например экструдированный пенополистирол по ТУ 2244-001-47547616-00, ТУ 5767-002-46261013-99 или пенополистирольные плиты, изготавливаемые безпрессовым способом (Приложение 4-3).

4-2-3. Плитную теплоизоляцию (См. Приложения 4-4 и 4-5) предусматривают из 2-х и более слоев, что позволяет располагать плиты вразбежку с перевязкой швов между ними.

4-2-4. Теплоизоляцию эксплуатируемой кровли в инверсионном варианте следует предусматривать только из плитного экструзионного пенополистирола, характеризующегося низким водопоглощением, что исключает возможность его увлажнения и размораживания в процессе эксплуатации кровли.

4-2-5. На неутепленном (холодном) чердаке теплоизоляцию перекрытия над помещениями следует предусматривать, как правило, из волокнистых или засыпных материалов (см. Приложение 4-6 и 4-7); для эксплуатации чердачного пространства необходимо по таким утеплителям устраивать пешеходные мостики (дорожки).

4-3. Основание под водоизоляционный ковёр (табл. 3.1, позиции 2, 7 и 16)

4-3-1. В эксплуатируемой кровле по инверсионному варианту и в кровле на покрытии не утепленного (холодного) чердака основанием под водоизоляционный ковер служит огрунтованная поверхность цементно-песчаной затирки толщиной 10...15 мм по уклонообразующему слою (табл. 4.1, позиция 2).

В качестве грунтовки применяют состав (называемый Праймер), приготовленный из битума и керосина, взятых в соотношении 1:3 (по весу) или из холодных мастик (Приложение 4-8), разбавленных растворителем в соотношении 1:2.

4-3-2. В традиционном варианте кровли основанием под водоизоляционный ковёр служат огрунтованные поверхности цементно-песчаных стяжки или затирки, соответственно по плитному или монолитному утеплителю, либо поверхность стяжки из цементно-песчаного раствора или асфальтобетона. Требования к выравнивающим стяжкам приведены в табл. 4.1.

Таблица 4.1

Наименование показателя,

Ед.измерения

Выравнивающая стяжка

Из цементно-песчаного раствора, (в т.ч.затирка)

Из литого асфальтобетона

1.

Прочность на сжатие, мпа (кгс/см2), не менее

10(100)

0,8(8,0)

2.

Влажность, % по массе, не более

5,0

2,5

3.

Толщина, мм

40 ±10%

30 ±10%

Примечание: запрещается стяжку из литого асфальтобетона предусматривать по теплоизоляции из пенопласта или с применением гранул пенопласта

4-3-3. Температурно-усадочные швы в стяжках шириной до 5 мм должны быть перекрыты полосами шириной 150 мм из рулонного водоизоляционного материала с точечной приклейкой их с одной стороны шва.

4-3-4. В местах примыкания к стенам, парапетам и другим конструктивным элементам, проходящим через кровлю, должны быть выполнены наклонные бортики (галтели) под углом 45° из цементно-песчаного раствора или асфальтобетона; высота их должна быть около 100 мм.

Вертикальные поверхности конструкций, выступающих над кровлей и выполненных из кирпича или блоков, должны быть оштукатурены цементно-песчаным раствором на высоту подъёма дополнительного водоизоляционного ковра, но не менее 350 мм.

4-4. Водоизоляционный ковёр (табл. 3.1 позиция 8)

4-4-1. В эксплуатируемых кровлях и инверсионный и традиционный варианты эксплуатируемых кровель предъявляют высокие требования к водоизоляционному ковру, т.к. при протечках возникают значительные трудности в определении мест его повреждения и выполнении ремонтных работ из-за необходимости, в большинстве случаев, снятия верхних защитных слоев кровли и даже теплоизоляционного слоя (в инверсионной кровле). В связи с этим, ковёр следует предусматривать из трёх слоев наплавляемых рулонных материалов с гибкостью при отрицательных температурах не выше минус 15°С, например изопласт, днепрофлекс и др. либо из двух слоев рулонных материалов с аналогичным показателем гибкости, один из которых толщиной не менее 4 мм с двумя армирующими основами, например «Дербигум» (см. Приложение 4-2), и другой слой с одной армирующей основой.

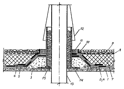
4-4-2. Для повышения эксплуатационной надёжности кровельного ковра, укладываемого на увлажненное основание под кровлю (выравнивающую стяжку), необходимо предусматривать укладку нижнего слоя водоизоляционного ковра с точечным креплением полотнищ рулонного материала дюбелями с шайбами в местах нахлёстки смежных полотнищ материала с последующей приклейкой этих мест (рис. 1). В этих случаях в местах примыкания кровли к выступающим конструкциям (парапетам, стенам и др.) необходимо предусматривать выход воздуха наружу за счёт наклейки нижнего полотнища дополнительного водоизоляционного ковра только в местах сопряжения с основным водоизоляционным ковром (рис. 2).

4-4-3. Не допускается применение холодных (на растворителях) мастик в кровлях, выполненных с применением пенопластовых, пенополистирольных, минераловатных плит и композиционной теплоизоляции с применением пенополистирола.

Рис. 1 Последовательность (а, б, в, г) раскладки рулонных материалов при устройстве водоизоляционного ковра с механическим закреплением нижнего слоя.

1 - переходный наклонный бортик; 2 - линия водораздела; 3 - основание под кровлю; 4 - нижний слой водоизоляционного ковра; 5 - шайбы с дюбелями; 6 - наклейка полотнищ в местах нахлесток; 7 - верхний (второй) слой водоизоляционного ковра

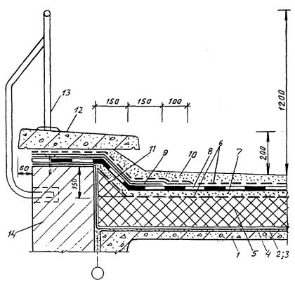
Рис. 2 Примыкание кровли к парапету (стене) при механическом закреплении нижнего слоя водоизоляционного ковра

1 - сборная железобетонная плита покрытия; 2 - пароизоляция (по расчету); 3 - теплоизоляция; 4 - выравнивающая стяжка; 5 - механически закрепляемый нижний слой основного водоизоляционного ковра; 6 - верхний слой основного водоизоляционного ковра; 7 - дюбель-гвоздь ДГ 3,7´30 с шайбой; 8 - слои дополнительного водоизоляционного ковра; 9 - разделительный слой; 10,11 - защитный фартук из оцинкованной стали толщ. 0,8 мм; 12 - герметизирующая мастика; 13 - костыль из стальной полосы 4´40 мм; 14 - дюбель-гвоздь ДГ 3,7´70 Ц6; 15 - полоса стальная 4´40 мм; 16 - стена; 17 - сплошная приклейка кровельного материала; 18 - отвод парообразной влаги.

4-5. Защитные, разделительные, фильтрующие и дренажные слои (табл. 3.1. позиции 6, 9, 10, 11, 12, 13 и 18).

4-5-1. Защитные слои эксплуатируемых кровель в зависимости от назначения её различных участков выполняются из асфальтобетона, цементно-песчаного раствора или бетона, из плиток бетонных или тротуарных на растворе или на разделительном слое с маркой по морозостойкости этих материалов не менее 100.

4-5-2. Отдельные участки кровли могут быть засыпаны гравием фракцией 10...15 мм толщиной 20...30 мм.

4-5-3. На участках кровли с растениями в качестве защитного слоя водоизоляционного ковра служат почвенный и дренажный слои, укладываемые на фильтрующие слои.

4-5-4. Для исключения связи между водоизоляционным ковром и защитным слоем на основе цемента либо из асфальтобетона, а также между плитным утеплителем и выравнивающей стяжкой из цементно-песчаного раствора предусматривают разделительный слой, позволяющий этим элементам с различными коэффициентами линейного расширения деформироваться независимо друг от друга.

4-5-5. Разделительным слоем между водоизоляционным ковром и цементно-песчаным (бетонным) защитным слоем могут служить рулонные материалы типа пергамин (ГОСТ 2697-83) или полиэтиленовая плёнка, а между ковром и защитным слоем из асфальтобетона - два слоя стеклохолста.

4-5-6. В качестве фильтрующего слоя может быть применён геотекстиль (Приложение 4-9), служащий одновременно разделительным слоем между кровлей и гравийной засыпкой, выполняющей роль дренажа, либо между утеплителем и гравийным дренажом, а также между почвенным и дренажным слоями. Дренаж предусматривают из мытого гравия, с размером зерен 5...10 мм, керамзитового гравия, перлита.

В монолитном защитном слое из бетона, цементно-песчаного раствора, в том числе из плит на растворе, и из асфальтобетона должны быть предусмотрены температурно-усадочные швы шириной около 10 мм с шагом не более 1,5 м во взаимно перпендикулярных направлениях, заполняемые герметизирующими составами (Приложение 4-10).

4-6. Противокорневой слой (табл. 3.1, позиция 17)

4-6-1. Противокорневой слой должен обеспечивать защиту от прорастания корней и нарушения нижележащих слоев.

Необходимо отметить, что цементно-песчаные стяжки, асфальтобетон, монолитный бетон не обладают противокорневыми свойствами. При устройстве озелененных эксплуатируемых кровель приходится использовать импортные материалы, например Тураг (Канада), высокоплотные мембраны из прессованного полиэтилена (НОРЕ, tefond и т.д.), специальные системы, выполняющие кроме противокорневой защиты и другие функции (Floradrain и т.д.).

Приложения

Приложение 4-1

4-1 Физико-технические свойства битумно-полимерных наплавляемых рулонных материалов на стекловолокнистой основе (для пароизоляции и водоизоляционного ковра)

Материал, ТУ

Изготовитель

Масса 1 м2 битуминозного вяжущего, г

Масса 1 м2 основы г

Разрывная сила при растяжении

кгс/5 см

Относительное удлинение, %

Теплостойкость, °С

Водопоглощение через 24ч, мас.%

Гибкость при температуре,°С

1

2

3

4

5

6

7

8

9

Филизол

ОАО «Фили-кровля»

2500...3000

210

50

12,8

80

0,7

-15

Филизол супер (ТУ 5774-008-05108038-97.)

4500...5500

150

50

9

80

0,8

-15

Бикроэласт (ТУ 5770-541-00284718-94)

Учалинское АП «Кровля»

3500

295

50

36

85

0,5

-15

Люберит (ТУ 5770-001-18060333-95)

АОЗТ «Люберит»

35001±500

170

75

8

80

1

-10

Днепрофлекс (ТУ 5770-531-00284718-93)

АО «Полимер-кровля»

3200

580

80

 

80

1,5

-15

Изопласт К, изопласт П (ТУ 5774-005-05766480-95)

АООТ Киришинефтеоргсинтез

3400

250

36

 

120

1

-25

200

60

120

1

-25

Стекломаст (ТУ 21-5744710-519-92)

Рязанский КРЗ

3200

790

85

 

85

1,5

±0

Полимаст (ТУ 5770-537-0287718-93)

АП Выборгский РЗ

3000

190

75

 

80

1,5

-10

МИДА-Л V6054в

Литовско-Российское предприятие «МИДА»

Толщина 4,0 мм

 

41

2

100

 

+5

Рубитэкс(ТУ 5774-003-00289973-95) стеклоткань

АО «Оргкровля»

3000...5000

460

50

 

80±2

 

-15

Стеклоизол (ТУ 5774-004-00289973-96)

АО «Оргкровля»

3500...4000

460

50

-

80+2

-

-5

Элабит (ТУ 5774-528-00284718-94)

Рязанский КРЗ

3200

-

80

-

80+2

1,5

-15

Атаклон (ТУ 5774-545-00284718-96)

АООТ «Омск- кровля»

3500

50

50

-

100+2

1,0

-15

Тепмофлекс (ТУ 5774-544-00284718-96)

АОЗТ»Мин-воды-Кровля»

3200

470

31...70

-

85

0,5

-15

Стеклобит (ТУ 21-5744710-515-92)

Тоже

3000

100

27

-

70

1.5

±0

Пинокром стеклоткань (ТУ 5774-002-13157915-98)

АООТ "Крома"

Толщ. 3 мм

-

40...90

-

75

2,0

±0...-10

Суперкром стеклоткань

4 мм

-

40...90

-

75

2,0

Стеклокром стеклохолст

3 мм

-

40...90

-

75

2,0

Битумен Гласс 1 50 стеклохолст со стеклоплитами

Ондулин-строительные материалы

2000

54

53,8

7,0

120

0,11

-7

Кондор 4 S стеклоткань

Фирма «Грмеч» Югославия

3200

230

72

7,5

100

0,54

-10

Техноэласт (ТУ 5774-003-00287852-99)

ЗАО «ТехноНИКОЛЬ»

3000...6500

50

37...60

-

100

1,0

-25

Экофлекс (ТУ 5774-002-00287852-98)

ЗАО «ТехноНИКОЛЬ»

3000...5500

50

36...60

-

120

1,0

-10

Приложение 4-2

4-2 Физико-технические свойства битумно-полимерных наплавляемых рулонных материалов с основой из синтетических волокон (для пароизоляции и водоизоляционного ковра)

Материал, ТУ

Изготовитель

Масса 1м2 битуминозного вяжущего, г

Масса 1 м2 основы г

Разрывная сила при растяжении, кгс/5см

Относительное удлинение, %

Теплостойкость, °С

Водопоглощение через 24ч, мас. %

Гибкость при температуре, °С

1

2

3

4

5

6

7

8

9

Рулонный материал марки МК-ПК и МГ-ПМ (ТУ РБ 14738548.002-42-94)

АО «Кровля г. Осиповичи»

3600...3800

-

61,2

60

70±2

2,0

-15

Эластофен, холст из искусственных волокон, усиленных продольными нитями

«Сопрема» (Франция)

3500

-

35

52

95

0,3

-20

Виапол

«Ветроас-фальто»(Италия)

Толщина 4 мм

500

80

45

120

0,47

-10

Фидиа

«Индекс» (Италия)

3000...4000

320...350

56,7...61,7

46

100

0,13...0,2

-10

МИДА - Пл РУЕ РУ 200 5в

Литовско-российское предприятие «МИДА»

Толщина 5 мм

-

82

40

100

0,39

-18

Монофлекс 4РУ

«Ланкедор» (Бельгия)

4408

180

56,3

60

135

1,2

-25

Супра

«Лемминкяйнен» (Финляндия)

3700

287

90

60

100

0,4

-25

Дербигум - SР, стеклохолст + полотно из полиэфирных волокон

«Импербел» (Бельгия)

4150

55 ± 10%, 160± 10%

56

40

100

140

0,43

-25

Изопласт ТУ5774-005-05766480-95

Российско-Ирландское СП «Изофлекс»

3000...5500

250

61,2

-

120±2

1,0

-15

Битулин НРI 170

Ондулин-строительные материалы

1700

172

75

42

120

0,46

-6

Scntumplast brarmato s/sus/pe

Фирма «Италиана мембране»

2000...2500

-

89

69

120

0,25...0,3

-16

Рулонный материал МВ 870 и МВ 874

Фирма «Uno Tech» Швеция

Толщина 4,0...4,5

180...250

70...112

58...70

95

0,1...0,2

-20

Полигум

АО «Ютон-Восток» Бельгия

Толщина 4,0

-

66...87,4

48...66

100

0,1...0.2

-4...11

Приложение 4-3

4-3 Физико-технические свойства пенопластовых теплоизоляционных материалов

Наименование основных показателей

Виды пенопластов

Пенополистирольные плиты ГОСТ 15588-86 безпрессовые

пенополистирольные плиты (экструзионные) ТУ 2244-001-47547616-00

плиты пенопластовые на основе резольных фенолформальдегидных смол ГОСТ 20916-87

Плотность, кг/м3

30-35

32

80-100

Прочность на сжатие при 10 % деформации не менее, МПа (кгс/см2)

0,15(1,5)

0,29 (2,9)

0,23 (2,3)

Предел прочности при изгибе не менее, МПа (кгс/см2)

0,2(2)

0,41 (4,1)

0,3(3,0)

Теплопроводность в сухом состоянии, Вт/(м·К)

0,038

0,029

0,045

Размеры (L×А×В), м

(0,9-5)×(0,5-1,3)×(0,02-0,5)

(1,25-2,5)×0,6×(0,02-0,2)

(0,6-3)×(0,5-1,2)×(0,05-0,15)

Влажность по массе, %

12

 

20

Водопоглощение за 24 часа не более, %

2 (по объему)

0,1-0,3

-

Приложение 4-4

4-4 Физико-технические свойства теплоизоляционных материалов на цементном вяжущем

Наименование основных показателей

Плиты калиброванные из ячеистого бетона

Плиты из ячеистого бетона ГОСТ 5742-76

Плиты из полистирол-бетона ГОСТ Р 51263-99

Плиты из керзмзито-бетона

Вермикулито-бетон

Плотность, кг/м3

350

400

200-300

400-600

300

Прочность при сжатии не менее, МПа (кГс/см2)

0,8 (8)

1,0(10)

0,25 (2,5)

1,0(10)

0,2 (2,0)

Прочность при изгибе, МПа (кгс/см2)

-

-

0,14(1,4)

-

-

Теплопроводность, Вт/(м·К)

0,093

0,104

0,082

0,23

0,11

Размеры (L×А×В), м

(0,485-1)×0,5×(0,1-0,18)

(0,5-1)×(0,4-0,6)×(0,1-0,2)

(0,5-3)×(0,5-0,1)×(0,1-0,14)

1×0,5×0,12

 

Влажность, %

10(по объему)

15 (по объему)

10 (по массе)

10 (по массе)

13 (по массе)

Приложение 4-5

4-5 Физико-технические свойства теплоизоляционных материалов на основе перлита

Наименование основных показателей

Плиты перлито-фосфогелевые ГОСТ 21500-76

Плиты перлито-битумные ГОСТ 16136-80

Плиты перлито-волокнистые

Плиты перлито-1 Пластбетонные ТУ 480-1-145-74

Битумо-перлит монолитный

Плотность, кг/м3

250

300

150

150

400

Требуемая прочность на сжатие, МПа (кгс/см2)

0,45 (4,5)

0,3 (3)

0,2 (2)

0,3 (3)

0,08 (0,8)

Прочность при изгибе, МПа (кгс/см2)

0,25 (2,5)

0,19(1,9)

0,2 (2)

0,38 (3,8)

-

Теплопроводность в сухом состоянии, Вт/(м·К)

0,076

0,087

0,05

0,044

0,08

Размеры (L×А×В), м

(0,5-1)×(0,25-5)×(0,04-0,1)

(0,5-1) × 0,5 × (0,04-0,06)

(0,5-2,4)×(0,5-1,8)×(0,02-0,08)

3×(1-1,5)×0,05

-

Влажность по массе, %

4

4

8

2

-

Водопоглощение, %

5 (по объему)

5 (по объему)

30 (по массе)

8 (по объему)

5 (по массе)

Приложение 4-6

4-6 Физико-технические свойства волокнистых теплоизоляционных материалов

Наименование основных показателей

Минераловатные плиты повышенной жесткости ГОСТ 22950-95

Плиты минераловатные на синтетическом связующем марки 200 ГОСТ 9573-96

Плиты минераловатные на битумной связке марки 200 ГОСТ 10140-80

Плиты минераловатные на синтетической связке фирмы «Партек» Финляндия

ТКЛ

ККЛ

Плотность, кг/м3

200

225

151-200

170

230

Прочность на сжатие при 10 % деформации не менее, МПа (кгс/см2)

0,1 (1)

0,04 (0,4)

-

0,05 (0,5)

0,05 (0,5)

Теплопроводность, Вт/(м ·К)

0,052

0,054

0,058

0,042

0,044

Содержание связующего вещества % по массе, не более

10

6

17

3,7

3,9

Размеры (L×А×В), м

1×0,5×(0,04-0,06)

1×(0,5-1)×(0,04-0,06)

-

0,6×1,2×(0,03-0,1)

1,2×1,8×0,2

Влажность по массе, % не более

1

1

-

0,24

0,22

Водопоглощение по массе, % не более

40

30

-

-

3,8

Приложение 4-7

4-7 Физико-технические свойства засыпных теплоизоляционных материалов

Наименование основных показателей

Керамзит ГОСТ 9759-83-

Шунгизит ГОСТ 19345-83

Перлит ГОСТ 10832-91

Вермикулит ГОСТ 12865-67

Насыпная плотность, кг/м3

250, 300, 350, 400, 450, 500, 550, 600

200, 250, 300, 350, 400, 450, 500, 550

200, 250, 300, 400, 500

100, 150, 200

Теплопроводность, Вт/(м·К)

-

-

-

0,064-0,076

Фракции, мм

от 5 до 10

от 5 до 10

от 5 до 10

от 0,6 до 5

св. 10 до 20

св. 10 до 20

св. 10 до 20

св. 5 до 10

св. 20 до 40

св. 20 до 40

 

 

Влажность, %

5 (по массе)

2 (по массе)

2(по массе)

3 (по массе)

Водопоглощение, %

25-30 (по массе)

15-20 (по массе)

 

 

Приложение 4-8

4-8 Физико-технические свойства холодных мастик*

Название мастики марка, фирма,

Наименование показателей

Условная прочность при растяжении, МПа, (кгс/см2)

Относительное удлинение, %

Теплостойкость, °С

Водопоглощение через 24 ч, %

Гибкость на стержне, мм/°С

Адгезия к цементно-песчаному раствору МПа (кгс/см2)

Вента-V АПО «Вента» (ТУ 21-5744710-512-91)

0,7(7,0)

400

130

0,5

10/-65

0,5(5,0)

Ребакс (ТУ 2384-008-13238275-97)

0,7(7,0)

1300

100

0

10/-20

0,48(4,8)

БКМ-200 (ТУ 2384-008-13238275-97)

0,5(5,0)

900

100

0,17

10/-16

0,2(2,0)

Крунк-1 НПФ «Изомер»

0,21(2,1)

280

100

0,8

10/-40

0,18(1,8)

Руф Коатинг фирма «Свепко» (США)

0,25(2,5)

77

100

0,23

10/-10

0,64(6,4)

Дипстоп (Франция, фирма «ДИП»)

0,25(2,5)

255

100

0,3

10/-15

0,3(3,0)

Поли-ТЕЧ (Англия, фирма «Е. Wood»

2,46(24,6)

310

100

4,0

10/-25

0,65(6,5)

Битурэл (ТУ 5775-001-17187505-95)

1,0(10)

500

120

1,5

5/-50

0,5(5,0)

Гермокров-2

1,2(12)

200

120

2,0

5/-50

0,4(4,0)

Гермокров-3

1,5(15)

250

120

2,0

0,4(4,0)

* Не допускается применение приведенных в таблице холодных мастик в кровлях, выполняемых с применением пенопилистирольных, минераловатных плит и композиционной теплоизоляции с применением пенополистирола (см. приложения 4-3, 4-6)

Приложение 4-9

4-9 Физико-технические свойства фильтрующих материалов (геотекстиля)

Наименование материала, марка, фирма

Наименование показателей

Поверхностная плотность, г/м2

Толщина, мм

Разрывная нагрузка, кгс, вдоль/поперек

относительное удлинение, % вдоль/поперек

Дорнит СП «Веротекс» (ТУ 1867882-90)

250...600

3...6

55/80...50/26

110/90...70/13

Геотекс Сургутский ГПЗ (ТУ 2282-535-00203521-97)

450...550

4...5

72/64...90/60

80/100

Дорнит Московский НПЗ (ТУ 8397-038-05766623-97)

400 ± 50

4 ±0,8

39/59

120

Тайпар Фирма «КемоПласт»

240...350

0,7...0,9

65/50...95/95

65/70...60/75

Приложение 4-10

4-10 Физико-технические свойства герметизирующих мастик

Наименование показателей

Виды герметиков

клей-герметик кремний органический «Эластосил 137-181»

мастики тиоколовые строительного назначения марок

Гермобутил-2м

АМ-05

КБ-05

Предел прочности на разрыв, МПа (кгс/см2), не менее

0,8 (8)

0,1 (1)

0,3 (3)

5-5,5

Относительное удлинение, % не менее

500

150

100

300-350

Жизнеспособность, час, не менее

0,15

2

2

24

Температурный интервал применения,°С

-60...+200

-50...+70

-50...+70

-50...+80

5. ОСОБЕННОСТИ ЭКСПЛУАТИРУЕМЫХ КРОВЕЛЬ

В связи с тем, что в настоящее время ещё не накоплен достаточный опыт применения кровель с озеленением, при проектировании необходимо учитывать особенности эксплуатируемых кровель.

Для устройства таких кровель более экономичными (по единовременным затратам) являются совмещенные покрытия, однако они имеют ряд существенных недостатков:

- в процессе эксплуатации кровли с озеленением (посадка и уборка растений, перекопка почвы, полив, внесение удобрений, замена и перемещение ёмкостей с растениями и т.д.) элементы кровли подвергаются крайне тяжёлым механическим, химическим и биологическим воздействиям, что приводит к нарушению целостности кровли (защитных слоев) и, как следствие, к проникновению воды (при ежедневном поливе растений) внутрь покрытия и к протечкам в помещения;

- ремонт совмещенных покрытий затруднён, т.к. требуется снятие и замена всех слоев (хотя и на отдельных участках - в месте протечки); сложно на время ремонта организовать защиту помещений от воды (дождя);

- применение токсичных материалов для химической защиты растений от вредителей и для подавления роста корней может привести к попаданию растворов этих веществ в помещения верхнего этажа здания;

- хранение инвентаря для ухода за растениями, запасной тары, емкостей, их ремонт требует устройства на кровле специального помещения,

Наиболее простое конструктивное решение эксплуатируемой кровли на крыше с не утепленным чердаком или техническим этажом. Такая кровля имеет ряд преимуществ перед кровлей на совмещенном покрытии:

- наличие чердака позволяет быстро определить место протечки в кровле и произвести её ремонт, т.к. при этом ремонтируется только водоизоляционный ковер и его защитные слои;

- ремонт выполняется безболезненно для помещений верхнего этажа, т.к. в объёме чердака протекаемую воду можно временно отвести в канализацию;

- объём чердака можно использовать для хранения инвентаря, запасных емкостей, ящиков, удобрений и других материалов; в случае необходимости сохранения в зимнее время крупных растений, высаживаемых в ёмкостях, возможно укрытие их от холода (и даже обогрев) в чердачном пространстве;

- чердак защищает помещения верхнего этажа от вредного воздействия гербицидов, применяемых для подавления роста корней и защиты растений;

- на чердаке можно расположить оборудование для автоматизированного полива озеленения.

6. ДОПОЛНИТЕЛЬНЫЕ НАГРУЗКИ НА ЭКСПЛУАТИРУЕМУЮ КРОВЛЮ ПРИ УСТРОЙСТВЕ САДОВ НА ИСКУССТВЕННЫХ ОСНОВАНИЯХ

в дополнение к СНиП «Нагрузки и воздействия» 2.01.07-85*

6-1. На перекрытие и конструкции здания воздействуют следующие дополнительные нагрузки:

Вес почвенного слоя во влажном состоянии

                                               - Земля 10 см + гравий 5 см - 300 кг/м2;

                                               - Земля 20 см + гравий 10 см - 600 кг/м2;

                                               - Земля 40 см + гравий 10 см - 1000 кг/м2;

                                               - Земля 80 см + гравий 10 см - 1800 кг/м2;

Вес влажной почвы в контейнерах (без учета веса контейнера, который зависит от используемого материала) при размерах контейнера

                                               - 0,7×0,7×0,25 м - 200 кг;

                                               - 1,0×1,0×0,25 м - 900 кг;

                                               - 1,2×1,2×0,50 м - 1300 кг;

                                               - 1,5×1,5×0,80 м - 3400 кг;

Вес травяного покрова - 2...5 кг/м2; одного кустарника - 5 кг; небольшого дерева - 10...20 кг.

6-2. Детали и конструкции, дающие значительные нагрузки (крупные контейнеры, холмы), следует располагать над колоннами, несущими стенами. Бетонные декоративные стенки нужно ориентировать поперек плит перекрытий, распределяя нагрузку от них на несколько плит.

7. ЗАЩИТА ОТ ВЕТРА И СОЛНЦА

7-1. Поскольку на высоте ветровые нагрузки больше, чем внизу, необходимо предусматривать на кровле специальные ветрозащитные стенки по одной из сторон здания с учетом розы ветров; при этом следует учитывать, что ветровая тень (пространство, где «ветровая нагрузка» снижается под воздействием ветрозащитных стенок) равна 10 высотам стенки. В стенках необходимо делать просветы для проветривания (до 1/3 от площади стенки).

7-2. Защитные сооружения от солнца или дождя (навесы, тенты, козырьки, беседки и т.п.) выполняются в виде лёгких, ажурных композиций, которые должны опираться на бетонные подставки поверх защитного слоя кровли.

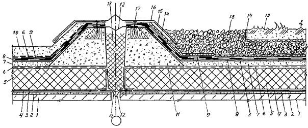
8. АРХИТЕКТУРНО-СТРОИТЕЛЬНЫЕ ДЕТАЛИ (УЗЛЫ)

8-1. В проекте эксплуатируемой кровли должны быть приведены детали (узлы) примыкания водоизоляционного ковра к выступающим над ним конструкциям: парапетам (стенам), трубам, вентиляционным шахтам, воронкам внутреннего водостока и др.

8-2. Места пропуска через кровлю труб должны быть выполнены с применением патрубков с фланцами (или железобетонных стаканов) и герметизацией кровли в этом месте. Места пропуска анкеров также должны быть загерметизированы, для чего устанавливают рамку из уголков, которая ограничивает растекание герметизирующей мастики, а пространство между патрубком или анкером заполняют мастикой.

Примеры устройства таких деталей приведены на рис. 3, 4. Деформационный шов показан на рис. 5 и 6.

8-3. В местах примыкания кровли к парапетам дополнительные слои водоизоляционного ковра и защитный фартук должны быть закреплены дюбелями, а верхняя часть парапета отделана кровельной сталью, закрепляемой костылями или покрыта парапетными плитками с герметизацией швов между ними (рис. 2, 7, 8 и 9).

8-4. Водоприемные воронки внутреннего водостока должны располагаться равномерно по площади кровли на пониженных участках не ближе 1,5 м от вертикальных поверхностей. Площадь водосбора на одну воронку принимают равной 150…300 м2.

Вокруг воронки у водоотводящих отверстий в уровне водоизоляционного ковра производится засыпка гравием или щебнем с фракцией зерен не менее 15 мм (рис. 10).

8-5. Водосточные устройства должны обеспечить отвод воды как с поверхности покрытия, так и с уровня дренажного слоя и водоизоляционного ковра (в инверсионных кровлях), для чего в боковых поверхностях водосборника должны быть предусмотрены отверстия (рис. 11).

8-6. Места приклейки водоизоляционного ковра к фланцам водоприемной чаши воронки должны быть усилены дополнительным слоем рулонного кровельного материала. Воронка должна устанавливаться с промазкой понизу герметизирующей битумной мастикой.

8-7. Конструкция водоотводящего устройства не должна менять своего положения при воздействии нагрузки. Для этого чаши водосточных воронок должны быть прикреплены хомутами к несущим плитам с резиновым уплотнителем либо соединены со стояками внутренних водостоков через компенсаторы.

8-8. Приемные патрубки водосточных воронок и охлаждаемые участки отводящих трубопроводов в пределах холодного помещения и на высоту 1,2…1,5 м от потолка в пределах теплого помещения должны иметь теплоизоляцию. Допускается предусматривать обогрев патрубков водосточных воронок и стояков в пределах охлаждаемых участков.

8-9. Орошение почвенного слоя с зелеными насаждениями может быть поверхностным или внутрипочвенным. Поверхностное орошение предусматривают из шланга или с помощью механических разбрызгивателей. Внутрипочвенное орошение производится при помощи перфорированных труб, располагаемых в траншеях, обложенных гравием.

Рис. 3 Пропуск трубы через традиционную эксплуатируемую кровлю.

1 - несущая железобетонная плита;

2 - выравнивающая стяжка из цементно-песчаного раствора;

3 - огрунтовка поверхности под кровлю;

4 - пароизоляции;

5 - плитный утеплитель;

6 - разделительный слой;

7 - основание под кровлю;

8 - основной водоизоляционный ковер;

9 - герметизирующая мастика;

10 - цементно-песчаный раствор (бетонные плитки, асфальто-бетон);

11 - защитный фартук из стали;

12 - хомут;

13 - стальной стакан с фланцем;

14 - минераловатный утеплитель

15 - пропускаемая труба;

Рис. 4 Пропуск трубы через инверсионную эксплуатируемую кровлю.

1 - несущая железобетонная плита;

2 - выравнивающая стяжка;

3 - наклонный бортик;

4 - огрунтовка;

5 - основной водоизоляционный ковер;

6 - дополнительные слои ковра;

7 - плитный утеплитель;

8 - геотекстиль;

9 - засыпка гравием;

10-рамка из уголка;

11 - герметик;

12 - защитный фартук;

13 - пропускаемая труба;

14 - стальной стакане фланцем;

15 - минераловатный утеплитель;

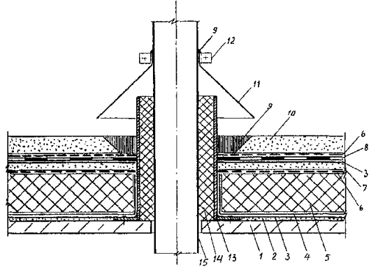
Рис. 5 Деформационный шов при традиционной эксплуатируемой кровле.

1 - несущая железобетонная плита;

2 - выравнивающая стяжка из цементно-песчаного раствора;

3 - огрунтовка поверхности под кровлю;

4 - пароизоляция;

5 - плитный утеплитель;

6 - разделительный слой;

7 - основание под кровлю;

8 - основной водоизоляционный ковер;

9 - дополнительные слои ковра

10 - цементно-песчаный раствор (бетонные плитки, асфальто-бетон);

11 - наклонный бортик;

12 - стальной компенсатор;

13 - минераловатный утеплитель;

14 - геотекстиль;

15 стальной костыль;

16 - защитный фартук из стали;

17 - крепежный элемент,

18 - дренажный слой

19 - почвенный слой

Рис. 6 Деформационный шов при инверсионной эксплуатируемой кровле.

1 - несущая железобетонная плита; 2 - выравнивающая стяжка; 3 - наклонный бортик; 4 - огрунтовка; 5 - основной водоизоляционный ковер; 6 - дополнительные слои ковра; 7 - стальной компенсатор; 8 - стенка деформационного шва; 9 - стальной костыль; 10 - защитный фартук; 11 - крепежный элемент; 12 - плитный утеплитель; 13 - геотекстиль; 14 - дренажный слой; 15 - почвенный слой; 16 - гравийная засыпка; 17 - наклонный бортик; 18 - приклеивающий состав; 19 - пароизоляция; 20 - минераловатный утеплитель.

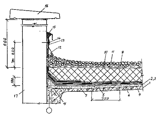
Рис. 7 Парапет продольной стены при традиционной эксплуатируемой кровле

1 - несущая железобетонная плита;

2 - выравнивающая стяжка из цементно-песчаного раствора;

3 - огрунтовка поверхности под кровлю;

4 - пароизоляция;

5 - плитный утеплитель;

6 - разделительный слой;

7 - основание под кровлю;

8 - основной водоизоляционный ковер;

9 - дополнительные слои ковра;

10 - цементно-песчаный раствор (бетонные плитки, асфальто-бетон)

11 - наклонный бортик;

12 - парапетная плита;

13 - ограждение кровли;

14 - парапетная стенка.

Рис. 8 Парапет продольной стены при инверсионной эксплуатируемой кровле

1 - несущая железобетонная плита;

2 - выравнивающая стяжка из цементно-песчаного раствора;

3 - огрунтовка поверхности под кровлю;

4 - наклонный бортик;

5 - слой кровельного материала (усиление ковра);

6 - основной водоизоляционный ковер;

7 - дополнительные слои ковра;

8 - плитный утеплитель;

9 - приклеивающий состав;

10 - геотекстиль;

11 - гравийная засыпка;

12 - стальной защитный фартук;

13 - полоса стальная;

14 - крепежный элемент;

15 - герметизирующая мастика;

16 - парапетная плита;

17 - стенка парапета.

Рис. 9 Парапет стены при инверсионной эксплуатируемой кровле.

1 - несущая железобетонная плита;

2 - выравнивающая стяжка из цементно-песчаного раствора;

3 - огрунтовка поверхности под кровлю;

4 - наклонный бортик;

5 - слой кровельного материала (усиление ковра);

6 - основной водоизоляционный ковер;

7 - дополнительные слои ковра;

8 - плитный утеплитель;

9 - геотекстиль;

10 - дренажный слой;

11 - почвенный слой;

12 - бетонная плитка;

13 - парапетная стенка

14 - крепежный элемент;

15 - стальной костыль;

16 - защитный фартук из стали.

Рис. 10 Воронка внутреннего водостока при традиционной эксплуатируемой кровле.

1 - несущая железобетонная плита;

2 - выравнивающая стяжка из цементно-песчаного раствора;

3 - огрунтовка поверхности под кровлю;

4 - пароизоляция;

5 - плитный утеплитель;

6 - разделительный слой;

7 - основание под кровлю;

8 - основной водоизоляционный ковер;

9 - дополнительные слои ковра;

10 - водоприемная воронка;

11 - защитная решетка;

12 - герметизирующая мастика;

13 - уплотнитель;

14 - хомут;

15 - патрубок с фланцем.

16 - гравийная засыпка;

17 - бетонная плитка.

Рис. 11 Воронка внутреннего водостока при инверсионной эксплуатируемой кровле

1 - несущая железобетонная плита;

2 - выравнивающая стяжка из цементно-песчаного раствора;

3 - огрунтовка поверхности под кровлю;

4; 4' - слой кровельного материала (усиление ковра);

5 - основной водоизоляционный ковер;

6 - плитный утеплитель;

7 - геотекстиль;

8 - дренажный слой;

9 - почвенный слой;

10 - бортовой камень;

11; 12 - защитная решетка;

13 - патрубок с фланцем;

14 - прижимной фланец;

15 - герметик;

16 - уплотнитель;

17 - хомут

9. АРХИТЕКТУРНО-ПЛАНИРОВОЧНЫЕ ТРЕБОВАНИЯ К БЛАГОУСТРОЙСТВУ И ОЗЕЛЕНЕНИЮ НА КРОВЛЯХ

9-1. Архитектурно-планировочное решение архитектурно-ландшафтного объекта на эксплуатируемой кровле тесно связано с функциональным назначением здания или сооружения (жилой дом, производственный комплекс, гараж, офис и т.д.) и определяется также многими другими требованиями, поскольку сад - это объект ландшафтной архитектуры. Предпочтительнее заранее, в процессе проектирования самого строительного объекта, заложить обоснованную идею использования эксплуатируемой кровли под тот или иной архитектурно-ландшафтный объект, чем, учитывая конструктивные особенности существующего строительного объекта, проектировать и осуществлять реконструкцию кровли.

9-2. До начала проектирования нужно определить место, занимаемое садом в структуре здания, время его эксплуатации, вид отдыха (активный или пассивный) или трудовой деятельности посетителей, а также характер использования сада (индивидуальный или коллективный).

Важно также заранее определить возможные количество и состав его посетителей, чтобы определить состав площадок и оборудования.

9-3. Виды деятельности, которые можно осуществить в саду на кровлях:

- активный отдых: загорание, спортивные игры и забавы, детские игры;

- тихий отдых: прогулки, созерцание, беседы;

трудовая деятельность: садоводство (разведение растений открытого грунта, оранжерейно-парниковое хозяйство), хозяйственно-бытовые работы (стирка, сушка белья, чистка вещей); в административно-общественных зданиях - проведение конференций, симпозиумов, демонстрация фильмов и т.д.); размещение кафе и ресторанов.

9-4. Необходимо так организовать пространство, чтобы обеспечить безопасность людей и одновременно нормальное функционирование всех инженерных систем, изолировав вентиляционные каналы от рекреации людей исключив приближение рекреационных площадок к ним ближе чем на 15 м.

Особое значение приобретают архитёктурно-планировочные связи сада на крыше с помещениями, расположенными ниже. Сад должен быть размещен как можно ближе к путям горизонтального и вертикального перемещения людей, поскольку в случае необходимости крышу можно использовать и для эвакуации людей из здания.

9-5. Сады на кровлях должны быть удобно зонированы с тем, чтобы удовлетворять всем требованиям их эксплуатации. При этом различные функциональные зоны находятся в разных режимах эксплуатации и в разной степени изоляции друг от друга. Они могут быть изолированы полностью или чисто визуально, чтобы отделить зоны друг от друга. Можно использовать и архитектурные элементы (экраны, перегородки, стены, перголы) и элементы благоустройства (разные типы мощения, перепады высот, растения в контейнерах, оборудование сада и малые формы архитектуры).

Сады на кровлях многоэтажных зданий обычно включают детские площадки и зоны тихого отдыха. Если позволяет площадь крыши, можно организовать физкультурно-оздоровительную зону с солярием, спортивным оборудованием, теннисный корт. Обязательна хозяйственная зона.

В зоне тихого отдыха нужно обеспечить возможность и контактов и уединения. Одновременно именно отсюда лучше всего организовать раскрытие панорам окружающего ландшафта. Функциональные площадки в рекреационной зоне обязательно нуждаются в ограждении. Визуальной изоляции требует и хозяйственно-бытовая зона, особенно если нужно обеспечить сушку белья или ковров проветриванием, но так, чтобы ветер не снес белье и все устройство не испортило бы фасад здания.

9-6. Сады на крышах общественных, производственных и административных зданий обычно предназначены для кратковременного отдыха сотрудников. Зонирование и оборудование таких крыш нужно производить с учетом условий и характера труда работающих. Люди, выполняющие монотонную и малоподвижную работу, обычно нуждаются в активном отдыхе (спортивные игры, гимнастика), и напротив, люди, занятые физическим трудом, предпочтут спокойный отдых, беседы, настольные игры, прогулки. В садах, размещенных на крышах, можно организовать летнюю столовую или кафе.

9-7. Необходимо предусмотреть удобное размещение выходов на крышу, исключающее все возможные препятствия, особенно для пожилых людей и инвалидов. Должны быть предусмотрены тамбуры между лифтовыми шахтами и выходом на крышу. Наряду с лестницами должны быть предусмотрены пандусы, по которым могут свободно передвигаться коляски и т.п., иначе могут возникнуть такие проблемы, как ограниченный доступ на крышу, недостаточная вместимость сада, загромождение территории сада техническим оборудованием, плохая пространственная организация и отсюда неудобство эксплуатации.

Детские игровые площадки на крыше должны иметь непосредственную связь с жилыми помещениями. Места для сидения нужно разместить так, чтобы родителям было удобно наблюдать за детьми.

9-8. Неотъемлемую часть архитектурной организации пространства составляют архитектурные элементы и детали:

- ограждающие элементы: парапеты, ветрозащитные стенки и перегородки, балюстрады, трельяжи для лиан, перголы;

- элементы декоративного мощения (различные типы покрытий);

- элементы оборудования: водные устройства, светильники, емкости для растений (ящики, контейнеры, вазы и т.п.), садовая мебель, оборудование детских и спортивных площадок, хозяйственное оборудование, навесы и т.п.).

Их размещение не только должно быть функционально оправданным, но и способствовать правильному зонированию сада и удобному расположению растений.

9-9. Парапет выполняет роль необходимого ограждения сада, представляя собой защиту от ветра, преграду, служащую для предотвращения явлений головокружения, возникающих у некоторых людей при виде высоты, а также обеспечивая антивандальную защиту пешеходов от падения на них с крыш различных предметов. Одновременно парапет, как завершающий элемент здания, должен соответствовать его архитектуре.

Наилучшей считается высота парапета - 120 см. При устройстве садов на крышах на парапет приваривается сетчатое ограждение высотой не менее 1,0 м, исключающее возможность выкидывания тех или иных предметов с крыши. При устройстве «зеленых крыш» сетка на парапет не устанавливается. Он служит только для безопасности обслуживающего персонала. При устройстве наземных садов по границам устанавливается высокий борт не менее 0,5 м для предотвращения заезда транспорта на кровлю. Не рекомендуется устройство выступов с внутренней части парапета и размещение рядом с ним оборудования, т.к. это может способствовать переворачиванию через него. Внутренние перегородки и подпорные стенки сада не должны примыкать к парапету с тем, чтобы исключить возможность перелезания через него детей. Размещение по периметру парапета ящиков для растений, либо встраивание их в конструкцию парапета также увеличивает безопасность ограждения сада. Уширение парапета может служить для маскировки труб поливочного водопровода и других инженерных коммуникаций. Деревянные опоры для лиан - трельяжи следует выполнять из хвойных пород (сосна, ель, лиственница) с пропиткой антисептиками и закреплять их наклонно к стене парапета на расстоянии не менее 1,5 м. Применение металла для этой цели исключается, т.к. он вызывает ожоги растений. Стенки и перегородки внутри сада создаются с помощью экранов, прозрачных ограждений с матовой поверхностью и ширм, которые могут быть передвижными.

9-10. Сады на кровлях могут посещаться и в вечернее время, в связи с чем возникает проблема их освещения и подсветки растений.

9-11. Среди садовой мебели предпочтение следует отдавать стационарно закрепленным скамьям и столам.

При использовании переносной мебели (шезлонги, кресла, топчаны, лежаки и т.п.) следует предусмотреть помещения для хранения этой мебели. Специальное оборудование для ухода за растениями и покрытиями требует помещения типа склада. Ящики для компоста и удобрений, противопожарные устройства, материалы и ящики для укрытия растений на зиму и от непогоды, инструменты для ухода за растениями - все это должно храниться в специально предусмотренных местах, возможно с использованием чердачного пространства.

Детское игровое оборудование (песочницы, качели, столики для настольных игр и т.д.) следует размещать на площадках, расположенных на более низких отметках и вдали от парапета. Нужно исключить малоразмерные незакрепленные элементы, которые дети могут сбросить вниз. Игры с мячом допускаются только при наличии спортивных площадок, имеющих сетчатое ограждение. Рекомендуется приспособление под игровые устройства стационарных элементов инженерного оборудования, лишенных острых углов (лазательные устройства из канатов и т.д.), для предотвращения травм.

Оборудование сада на крыше, в целом, должно отличаться стилевым единством и представлять собой продуманный ансамбль, соответствующий общему архитектурно-планировочному решению.

10. ЭЛЕМЕНТЫ САДОВ НА КРЫШАХ ЗДАНИЙ

10-1. Территория сада на крыше может включать отдельные участки с зелеными насаждениями (деревья, кустарники, газоны, цветники, спортивные площадки, площадки отдыха, дорожки, малые формы архитектуры). Для каждого участка проектируется свое покрытие, которое устраивается поверх конструктивных элементов кровли. Для удобства дальнейшего изложения в настоящих рекомендациях назовем это покрытие деятельным покрытием в отличие от конструкции крыши, различные варианты которой приведены в разделе 3.

10-2. При устройстве деятельного покрытия необходимо учитывать:

- нагрузку, которую может выдержать конструкция данной крыши; с ее учетом выбирается тип зеленых насаждений;

- объем почвенного слоя, необходимого для размещения корней растений;

- необходимое количество влаги для обеспечения растений водой;

- необходимость дренажа для удаления излишней влаги, которую получает эксплуатационное покрытие при атмосферных осадках или при поливе растений;

- необходимость защиты конструктивных элементов крыши от проникновения корней.

10-3. Исходя из этих соображений деятельное покрытие должно состоять из следующих элементов:

- почвенный субстрат;

- разделительно-фильтрующий слой (исключающий смешивание частиц почвенного субстрата с частицами, образующими дренажный слой);

- дренажный слой;

- противокорневой слой, исключающий проникновение корней в конструктивные элементы крыши.

10-4. Толщина деятельного покрытая определяется теми растениями, которые, с учетом несущей способности конструкции крыши, предполагается использовать при создании сада на крыше.

В таблице 10.1 представлены минимальные размеры основных элементов деятельного покрытия при использовании различных групп растений:

Таблица 10.1

Наименование групп растений

Минимальные толщины

Почвенный субстрат в см

Фильтрующий слой в мм

Дренаж в см

Корнезащитный слой в см

Почвопокровные травы (очиток, молодило)

10

4-8

5

3 - 4

Декоративные травы (газон)

15 - 20

-"-

5 - 10

3 - 4

Рулонный газон

5 - 6

-"-

10 - 15

3 - 4

Цветы однолетние

20

-"-

10

-"-

Цветы многолетние

20 - 25

-"-

10

-"-

Малые кустарники

25 - 30

-"-

10

-"-

Большие кустарники

40 - 60

-"-

10

-"-

Деревья

40 - 120

-"-

15

-"-

10-5. Проектирование мест посадки растений

При устройстве деятельной поверхности при проектировании садов на крышах площади, предназначенные проектом для высадки растений, ограждаются высокими бортами, образующим своего рода карты. Борт карты крепится на основной конструкции крыши. В целях обеспечения нормальной работы дренажного слоя по удалению дождевой влаги рекомендуется борт, ограждающий карту с растениями, устанавливать на столбиках, промежутки между которыми должны засыпаться дренирующим слоем. Борт должен быть утоплен в дренажный слой на 1/3 толщины дренажного слоя, чтобы исключить смыв почвенного субстрата в дренажный слой. Для изготовления таких бортов можно использовать монолитный бетон, заливая его в определенную форму (опалубку) после устройства карт для посадки растений. На их дно укладывается противокорневой слой. Поверх противокорневого слоя укладывается дренажный слой, который укладывается по всей крыше. Поверх дренажного слоя укладывается разделительно-фильтрующий слой (см. Приложение 4-9), препятствующий проникновению частиц почвенного субстрата или другого вышерасположенного слоя в дренажный слой. Фильтрующий разделительный слой заводится на высоту борта карты и прикрепляется к ее верхнему краю, образуя своего рода корыто, в которое укладывается почвенный субстрат. Поверх разделительно-фильтрующего слоя укладывается почвенный субстрат. В соответствии от выбранного способа озеленения и вида используемых растений почвенный субстрат насыпается слоем в соответствии с таблицей 10.1.

10-6. Почвенный субстрат

Рекомендуется использовать не полностью почву, а добавлять в нее в качестве составных частей керамзит, торф, вермикулит, перлит, имеющие меньшие удельные веса, чем почва и тем самым уменьшающие нагрузку на несущие конструкции здания.

Используемые для создания почвенного субстрата компоненты должны удовлетворять следующим требованиям:

- компоненты должны быть инертны, не изменять химический состав почвенного раствора и не оказывать токсического действия на растения;

- соотношение воды и воздуха в почвенном субстрате при поливе должно быть благоприятным для нормальной жизнедеятельности растений, что достигается соответствующими размерами частиц субстрата. Оптимальными считаются частицы диаметром 3 - 6 мм, допускается наличие частиц до 1 см;

- почвенный субстрат должен обладать достаточной механической прочностью и долговечностью в сочетании с небольшим объемным весом.

10-7. Основным компонентом почвенного субстрата является почва. В качестве почвы можно использовать так называемый растительный грунт, который изготавливается путем снятия верхнего слоя почвы на глубину залегания корневой системы растений, произрастающих на участке, где заготавливается этот грунт.

Почва должна быть очищена от посторонних примесей и корневых остатков растений и иметь плотность не менее 5 - 20 кг/см2 (плотность определяется как сопротивление сжатию).

Почва должна быть достаточно плодородной, т.е. содержать в 20 г почвы не менее 4% гумуса, не менее 6 мг легко гидролизуемого /доступного/ растениям азота и не менее чем по 10 мг гидроокиси фосфора (Р2О5) и окиси калия (К2О).

Плодородие почвы определяется лабораторным путем.

10-8. Повышение плодородия почвы достигается путем введения минеральных и органических удобрений, а механический состав улучшается введением добавок (песок, торф).



10-9. Важное значение имеет кислотность почв, которая определяется по шкале:

сильно кислые почвы - РН ниже 4

средне кислые                              4,1 - 4,5

слабо кислые                                4,6 - 5,2

нейтральные                                 6,7 - 7,4

щелочные                                      более 7,5

Нужно избегать применения удобрений, имеющих щелочную реакцию, во избежание негативного воздействия на конструктивные элементы крыши.

10-10. В целях обеззараживания почву перед укладкой ее на крышах рекомендуется прокалить при температуре ≈ 100°С. В построечных условиях прокаливание можно провести путем нагрева на костре железных листов, на которые слоем 5 см насыпается почва.

10-11. В качестве компонентов почвенного субстрата могут быть использованы: керамзит, вермикулит, перлит, торф.

10-12. Для устройства разделяющего фильтрующего слоя, отделяющего почвенный субстрат от дренажного слоя, используются материалы, указанные в Приложении 4-9.

10-13. При проектировании общественных зданий при наличии чердачного помещения или технического этажа, в случае, если концепция проекта изначально предусматривает строительство сада на крыше, возможно устройство специальных шахт для посадки крупных деревьев, комы которых будут находиться в чердачном помещении или в техническом этаже в специальных емкостях. Такое решение позволит избежать гибели растений от промерзания корневой системы зимой.

10-14. В садах на крышах кроме зеленых насаждений устраиваются дорожки и площадки детские, спортивные, отдыха (рис. 12). Основной тип покрытия - тротуарная плитка размером 50×50, выполненная из бетона марки 400, имеющая морозостойкость не менее 300 циклов.

Таблица 10.2

Наименование слоя

Толщина

Плитка 0,5×0,5 м

7

Цементо-песчаный раствор

5 см

Разделительный слой

1 см

Дренажный слой

6 - 13 мм

Ширина дорожки принимается 1,0 - 1,5 м. Спортивные площадки: баскетбольная, волейбольная, настольного тенниса, тенниса, для игр в хоккей - должны иметь стандартные размеры, но допускается и их уменьшение, но не более чем на 10%.

Стандартные размеры площадки приведены в таблице 10.3:

Таблица 10.3

Наименование площадок

Размер игрового поля

Площадь в м2

Баскетбольная

26×14

364

Волейбольная

9×18

162

Площадка для настольного тенниса

4,5×8

36

Площадка для игры в хоккей

40×20

800

Площадка для тенниса

36×18

648

Ограждение спортивных площадок выполняется из металлической сетки на столбах из труб. Его высота 3 - 4 м, причем сетка закрепляется сверху, образуя нечто вроде клетки.

10-15. На территории садов на крышах могут быть устроены детские площадки и площадки отдыха взрослого населения.

Площадки отдыха взрослого населения должны устраиваться таким образом, чтобы была обеспечена возможность просмотра окрестностей через проемы в парапете ограждения. На них устанавливаются скамьи и столики, возможно устройство пергол, увитых вьющимися растениями. Столики и скамьи должны быть удалены от парапета на расстояние не менее 1,5 м, с тем чтобы исключить возможность лазания детей на парапет ограждения. На детских площадках могут быть установлены следующие малые формы:

Таблица 10.4

Наименование малых форм

Материал

Длина в м

Высота в м

Ширина в м

Примечание

Качели из труб

Металл Сидение деревянное

1,5

1,5

1,66

 

Качалка

Металл, дерево

3,0

3,0

0,64

 

Лиана

Дерево

2,76

0,77

1,83

 

Песочница

Дерево Фундамент бетон

1,47

1,47

0,18

 

Стол со скамьями

Дерево

2,0

1,4

0,82

Для площадок отдыха

Скамьи

Металл, дерево

2,08

0,8

0,8

-"-

В соответствии с пожеланиями заказчика набор малых форм может быть скорректирован как в сторону уменьшения, так и расширения номенклатуры.

10-16. Освещение сада на крыше

Сады на крышах могут посещаться и в вечернее время, в связи с чем возникает проблема их освещения и подсветки растений. Для этого используются стационарные светильники различной формы. Низкими светильниками можно освещать ступени и пандусы (свет направлен вниз). Для подсветки растений и воды можно использовать разные варианты подсветки светильниками на траве, на дорожке, в структуре подпорной стенки, на дне чаши водоема. Для подсветки хвойных пород рекомендуется использовать ртутные лампы, дающие голубовато-зеленое освещение, натриевые светильники рекомендуются для подсветки осенней листвы. Следует учитывать, что излишнее применение подсветки может вызвать нежелательное ускорение роста растений. Минимальное воздействие оказывают светильники, размещенные у пешеходных дорожек и освещающие путь пешеходам.

11. ЭЛЕМЕНТЫ НАЗЕМНЫХ САДОВ НА ИСКУССТВЕННЫХ ОСНОВАНИЯХ

11-1. Структура наземных садов над подземными сооружениями (гаражами, объектами ГО и т.д.) близка к структуре территорий садов на крышах. Одновременно они входят в композицию прилегающих озелененных территорий.

11-2. В отличие от садов на крышах часть территории может быть использована под автостоянку, что требует использования на этом участке усиленных несущих конструкций подземных сооружений, позволяющих применять дорожные плиты или укладку асфальта на этот участок.

Конструкция верхнего покрытия автостоянки на кровле подземного сооружения принимается аналогичной конструкции подъездов к зданию.

11-3. Территория наземного сада должна быть ограничена высоким бортом высотой 0,5 м для предотвращения заезда автотранспорта. Спортивные площадки должны быть ограждены сеткой высотой до 4 м.

11-4. Необходимо предусматривать, чтобы любые площадки (отдыха, детские, спортивные) располагались не ближе 15 м от вентиляционных шахт.

11-5. При устройстве детских и спортивных площадок на кровлях подземных сооружений на дренажный слой укладывается гравийный или известняковый щебень толщиной слоя 10 см. Щебень укладывается слоями (3 - 4 см), каждый слой при этом проливается и укатывается катком. На щебень укладывается спецсмесь - 5 см, которая также укатывается с проливкой.

Состав спецсмеси:

гранитная высевка - 60%

песок - 10%

глина - 20%

известь - 10%

11-6. Площадки отдыха, а также площадки другого назначения могут иметь нежесткое покрытие или плиточное. Плитка 0,5×0,5 м укладывается на слой песка 10см.

11-7. С учетом пунктов 10-2 и 10-3 остальные компоненты эксплуатируемого покрытия аналогичны устройству соответствующих компонентов сада на крышах (разделы 9, 10).

12. ЗЕЛЕНЫЕ КРЫШИ

12-1. Зеленые крыши устраивают в основном на кровлях промышленных, складских и хозяйственных построек, но можно устраивать и на жилых домах. В качестве основного вида используемых для озеленения растений выбираются травянистые растения (газонные травы, суккуленты, почвопокровные растения) (рис. 13).

12-2. Зеленые крыши могут устраиваться на кровлях, имеющих уклон до 3°.

12-3. Зеленые крыши не используются для рекреации и выполняют следующие функции:

- обеспечивают сохранность гидроизолирующего слоя любой крыши;

- обеспечивают теплоизоляцию крыш, что позволяет экономить тепло зимой и защищает от перегрева летом;

- поглощают пыль и шумы, создают свой благоприятный микроклимат;

- при разновысокой застройке зеленые крыши создают большой эстетический эффект;

- деятельное покрытие зеленых крыш значительно легче деятельного покрытия наземных садов и садов на крышах, что расширяет диапазон их применения и создает возможность их использования на кровлях типовых жилых зданий без дополнительного усиления несущей способности конструктивных элементов крыши.

12-4. Возможны два основных способа устройства зеленых покрытий:

- посев семян газонных трав в непосредственно подготовленный почвенный субстрат;

- использование рулонного газона;

12-5. При озеленении крыш широкое применение должны иметь рулонные газоны. Рулонный газон готовится следующим образом. На армирующий слой (синтетическая сетка, мешковина, нетканые материалы и т.д.) насыпается почвенный субстрат толщиной 3-5 см и высеваются семена газонных трав. Когда трава прорастает, образуя рулонный ковер, ее разрезают на части и скатывают их в рулоны.

Примерные технические условия на рулонный газон:

размер ковра                                       0,6×1,65 м

вес ковра                                             5 - 7 кг

толщина дернового слоя от              3 до 5 см

высота травяного покрова от            5 см

13. УСТРОЙСТВО АРХИТЕКТУРНО-ЛАНДШАФТНЫХ ОБЪЕКТОВ НА КРЫШАХ ЗДАНИЙ С ЭЛЕМЕНТАМИ ОЗЕЛЕНЕНИЯ

13-1. На крышах общественных зданий, гостиниц, домов отдыха, санаториев, кинотеатров, киноконцертных зданий и т.п. могут быть устроены кафе, рестораны, солярии и т.п. При их оформлении могут быть использованы элементы озеленения.

13-2. Основной формой озеленения в этих случаях является использование растений, высаженных в те или иные емкости: контейнеры, горшки. Широко должно применяться вертикальное озеленение, которое улучшает микроклимат, поглощает пыль и шум и играет огромную эстетическую и декоративную роль.

13-3. Отдельные замкнутые емкости для растений должны устанавливаться на опорах с определенным зазором между ними и конструктивными элементами крыши, что позволяет следить за состоянием днищ, возможным прорастанием корней и своевременно принять меры к ликвидации последних; при этом исключается возможность применения фенолов и других вредных веществ для подавления роста растений. Небольшие по размеру емкости удобны, легко перемещаются с одного места на другое, позволяя создавать различные композиции из растений.

Для грядок и газонов можно применять широкие 1 - 2 м длинные емкости глубиной 0,3 - 0,4 м. Для ампельных растений часть емкостей-цветочниц размещается на подставках высотой 30 - 40 см от поверхности. Емкости могут быть изготовлены из различных материалов: железобетона, бетона, асбестоцемента, полимерных материалов, керамики, дерева, пенопласта, а также из комбинации этих материалов.

Деревянные емкости - ящики, бочки и пр. - необходимо антисептировать и обкладывать с внутренней стороны полиэтиленовой пленкой. Очень интересен вариант устройства емкостей для растений из полистирольного пенопласта.

13-4. Рекомендуемое использование ассортимента растений для вертикального озеленения в соответствии с таблицей 13.1

Таблица 13.1

Наименование культур

Способ посадки

Требования к опоре

Однолетние культуры:

Горошек душистый

9-см горшки на 1 п.м. - 5 горшков по 5 шт. в горшке

Тычины, шпалеры, шпагатная сетка и др.

Ипомея (граммофончики)

11-см горшки по 5 шт. на 1 п.м.

Шпагат, проволока, деревянный каркас

Настурция большая (Майюс)

                       «        Лоббе

                       «        Канадская

11-см горшки по 2 шт. на 1 п.м.

Требует опоры

Фасоль огненная

Ящики размером 0,5×0,4×1 м

 Посев 1 гр на 1 п.м.

Требует опоры

Многолетние культуры:

Актинидия Аргута Коломикга

Ящики 0,4×0,5×1,5м

Посев осенью или весной после стратификации 0,2 гр на 1 п.м.

Опора, вокруг которой она могла бы обвиться

Аристопохия (киркозон)

Ящики 0,4×0,5×1,5м

8 гр. на 1 п.м или саженцы 2шт. на 1 п.м.

Требует опоры и укрытия на зиму

Виноград амурский

Ящики 0,4×0,5×1,5м

Размножаются семенами, черенками, отводками, отпрысками

Посев 2,5 гр на 1 п.м.

Требует опоры, шпалеры

Виноград пятилистый

Аналогичен винограду амурскому но посев 2 гр на 1 п.м.

Требует опоры

14. АССОРТИМЕНТ ДЕРЕВЬЕВ И КУСТАРНИКОВ, ИСПОЛЬЗУЕМЫХ ДЛЯ ОЗЕЛЕНЕНИЯ САДОВ НА КРЫШАХ И НАЗЕМНЫХ САДОВ

14-1. Рекомендуется использовать ассортимент деревьев и кустарников в соответствии с таблицей:

Таблица 14.1

Наименование породы

Характер растений

Используется:

Примечание

Для садов на крышах

Для наземных садов

1

2

3

4

5

Хвойные породы

Ель колючая

 

 

 

 

Д

+

-

Подвержена ветровалу, нуждается в ветрозащите и укреплении на месте посадки

Ель обыкновенная

Д

+

-

 

Лиственница сибирская

Д

-

+

 

Можжевельник казацкий

К

+

+

 

Туя западная

Д

+

+

 

Лиственные породы

Айва японская высокая

 

 

 

 

К

+

+

Поддается формовке

Акация желтая

К

+

+

-"-

Барбарис обыкновенный

К

+

+

-"-

Барбарис Тунберга

К

+

+

-"-

Бархат амурский

Д

+

+

Не формуется

Груша обыкновенная

Д

+

+

-"-

Дерен белый

К

+

+

Формуется

Ирга канадская

ДК

+

+

-"-

Калина Гордовина

К

+

+

-"-

Кизильник блестящий

К

+

+

-"-

Клен Гиннала

К

+

+

-"-

Клен татарский

К

+

+

-"-

Лох серебристый

К

-

+

-"-

Рододендрон даурский

К

+

-

- -

Рябина обыкновенная

Д

+

+

-"-

Сирень обыкновенная

ДК

+

-

-"-

Сирень персидская

 

+

-

-"-

Снежноягодник

К

+

+

-"-

Спирея Бумельда, Вангутта

К

+

+

-"-

Спирея городчатая дубравколистная

К

+

+

-"-

Черемуха Маака

Д

+

+

-"-

Шиповник

К

+

+

-"-

Яблоня сибирская Шейдекара

Д

+

+

-"-

Условные обозначения:

форма роста: Д - дерево, ДК - дерево, кустарник, К - кустарник

формирование - обрезка

Этот ассортимент может быть расширен при условии, если создается достаточный объем почвенного субстрата и учитываются потребности используемых пород в плодородии почвы. В связи с тем, что создание для растений необходимого слоя почвенного субстрата до 120 см сопряжено с большими трудностями, основным способом посадки деревьев будет посадка их в кадки и контейнеры. В любом случае деревья, высаженные непосредственно в почвенный субстрат или контейнеры, должны быть дополнительно укреплены с тем, чтобы противостоять ветру, который на высоте может достигать большой скорости.

Кроме того, надо учитывать, что деревья в садах на крышах и наземных садах не обладают той долговечностью, которую имеют деревья, высаженные в естественный грунт, и через 5 - 6 лет их надо будет заменять.

Все эти обстоятельства ограничивают возможности применения деревьев в садах на крышах и наземных садах.

14-2. Для озеленения садов на крышах используются саженцы из первой; школы: 6 - 7-летнйе деревья и 3 - 4-летний кустарник. Для озеленения наземных садов используются саженцы из 2-ой школы питомника - 12 - 16 лет. Наиболее оптимальным временем для посадки растений являются весна и осень, когда растения находятся в состоянии физиологического покоя. Весной посадки проводятся после оттаивания и. прогревания почвы до начала активного распускания почек и образования побегов. Осенние посадки следует проводить с момента листопада до устойчивых заморозков. Хвойные породы лучше переносят пересадку в ранневесеннее время (март - начало апреля) и раннеосеннее (август - начало сентября).

15. АССОРТИМЕНТ ТРАВЯНИСТЫХ РАСТЕНИЙ, ИСПОЛЬЗУЕМЫХ ДЛЯ ОЗЕЛЕНЕНИЯ САДОВ НА КРЫШАХ И НАЗЕМНЫХ САДОВ

Таблица 15.1

Вид

Рекомендуемый вид озеленения

Рекомендуемый вид озеленения

Кошение

Интенсивность полива

Сад на крыше

Назем ные сады

Зеленые крыши

Посев в почвенный субстрат

Рулонный газон

Маты

Очиток едкий

-

-

+

+

 

+

-

низкая

Очиток белый

-

-

+

+

 

+

-

низкая

Очиток шестирябый

-

-

+

+

 

+

-

низкая

Очиток Эверса

-

-

+

+

 

+

-

низкая

Очиток гибридный

-

-

+

+

 

+

-

низкая

Овсянница красная

+

+

+

+

+

-

+

регуляр

Овсянница луговая

+

+

+

+

+

-

+

регуляр

Мятлик луговой

+

+

+

+

+

-

+

регуляр

Костер безостый

+

+

+

+

+

-

+

регуляр

Пырей бескорневищный

+

+

+

+

+

-

+

регуляр

Газон из очитков нуждается в выпалывании высокорослых сорняков, особенно однолетних. Полив такого газона производится лишь в первые 6 - 7 недель после укладки на крышу. Удобрения вносятся в случае появления красно-бурой окраски листьев и побегов очитков, свидетельствующей, о недостатке элементов минерального питания в субстрате. Обычно удобрения вносят один раз в год. Средняя норма - 30 г комплексных удобрений на 1 м2. Такой газон не нуждается в скашивании. Газон из злаковых трав регулярно поливается и скашивается. При достижении побегами 10 - 12 см, с целью недопущения выхода растения в колос и связанной с этим потери декоративности. Побеги срезаются до 5 - 7 см.

ПРИЛОЖЕНИЕ

ЗАРУБЕЖНЫЙ ОПЫТ УСТРОЙСТВА ЭКСПЛУАТИРУЕМЫХ КРЫШ

За рубежом разработано несколько систем садов на крышах, которые обеспечивают наиболее оптимальные условия для развития растений, а также снижения статической нагрузки на кровлю.

Одна из таких систем - Флорадрен фирмы IМРЕRВЕL (Бельгия) была на практике осуществлена на строительстве здания Газпрома в Москве и показала свою высокую эффективность (рис. 14). Основным конструктивным элементом этой системы являются прочные полиэтиленовые элементы флорадрен ячеистой формы размером 2×1 м и весом 2 кг/м2. Они обладают высокой эластичностью, хорошим сопротивлением к сжатию, высоким сопротивлением на разрыв. При устройстве озелененной кровли эти элементы дают возможность накапливать дождевые воды для увлажнения растений. Кроме того, система Флорадрен предусматривает гидроизоляционный слой и специальный противокорневой материал, дающий хорошую защиту от корней растений. Однако эта система требует применения специальных материалов (у нас они не выпускаются), что вызывает необходимость привлечения иностранных фирм.

УСТРОЙСТВО «САДА НА КРЫШЕ» С ПРИМЕНЕНИЕМ СИСТЕМЫ FLORADRAIN ЭКСПЛУАТИРУЕМАЯ КРОВЛЯ (инверсионный вариант)

Рис. 14

1. Бетонное основание

2. Выравнивающая цементная стяжка

3. Праймер РIМЕR S1

4. Нижний слой гидроизоляционного ковра из материала DERBIGUM

5. Верхний слой гидроизоляционного ковра из материала DERBIGUM

6. Утеплитель с закрытыми порами (экструзионный пенополистирол)

7. Полиэтиленовая пленка

8. Геотекстиль (мат)

9. Сотовый элемент FLORADRAIN

10. Керамзитовый гравий мелкой фракции

11. Геотекстиль

12. Засыпка земляным растительным слоем

13. Бетонная подушка под бордюрный камень

14. Бордюрный камень

15. Гравий фракции 5-20

16. Бетонная плитка

17. Зеленые насаждения

В Москве фирма ЗАО «ДИАТ» освоила устройство эксплуатируемых, в том числе и озелененных покрытий подземных гаражей с применением материалов и технологий фирмы IМРЕRВЕL (Бельгия). При этом фирма «ДИАТ» использует наиболее прогрессивное конструктивное решение покрытия с кровлей в инверсионном варианте, т.е. с размещением водоизоляционного ковра под теплоизоляцией. Такое решение обеспечивает высокую долговечность водоизоляционного ковра в связи с тем, что он в процессе эксплуатации в гораздо меньшей степени подвергается воздействию атмосферных факторов и работает в узком диапазоне температур. В качестве теплоизоляции используется плитный экструзионный пенополистирол, имеющий низкое водопоглощение, что исключает возможность его увлажнения и размораживания в процессе эксплуатации кровли. В качестве гидроизоляционного материала применяется бельгийский материал фирмы IМРЕRВЕL Дербигум (Derbigum SP). Дербигум - это АПП модифицированный битумный наплавляемый гидроизоляционный материал с двойным армированием из стекловолокнистого холста и полотен из синтетических волокон.

Не так давно за рубежом появился новый теплоизолирующий и противокорневой материал фомглас, который производится из битого стекла и углерода и обладает уникальной способностью обеспечивать жесткую конструкцию с постоянными физическими свойствами. Фомглас имеет коэффициент расширения такой же как у стали и бетона, обладает большим сопротивлением на сжатие. Химический состав защищает его от грызунов, насекомых, бактерий. Он не подвержен воздействию кислот, защищает от коррозии соседствующие с ним конструкции, полностью невозгораемый и соответственно не выделяющий дыма. Фомглас не впитывает в себя воду и водяные пары, что исключает необходимость устройства дополнительного параизоляционного слоя.

Фомглас представляет из себя жесткую пеноплиту с высоким сопротивлением к сжатию и высокой стабильностью формы.

Фомглас укладывается на профилированный металлический лист или на бетонную основу и клеится на горячий битум.

Фомглас обеспечивает быстрый сток воды, поэтому он должен иметь уклоны в сторону водостоков.

Пока он является очень дорогим материалом, поэтому мы не можем его рекомендовать к широкому применению. Однако он имеет большую перспективу.

В Германии широко применяют посадку предварительно подготовленных растений. Растения для посадки газона этим способом предварительно готовят. Черенки или одиночные побеги растений (очитков, гвоздик, лапчаток, тысячелистника, тимьяна, будры - виды подобраны для условий Москвы и Московской области) высаживают в горшочки диаметром не более 5 см и глубиной не менее 7 см из пластмассы или другого плотного материала (не торфа!). Субстрат в горшочках должен состоять из 2 частей пористых материалов (перлита, дробленого керамзита и т.д.), 1 части торфа и 1 части песка. Подготовка растений в ограниченном объеме почвы позволяет сформировать компактную корневую систему. В течение периода от 3 недель до 2 месяцев растения укореняются и развиваются в горшочках. Они готовы к посадке в том случае, если при попытке вытянуть растение за побег из горшочка оно не отрывается от корней. Растения выдавливают из горшочков вместе с субстратом с помощью палочки и высаживают на крышу. Субстрат на крыше должен состоять из тех же компонентов, что и субстрат горшочков. Высота субстрата составляет в среднем 5 - 7 см. Распределение по поверхности крыши производится как равномерно, так и группами. Рекомендуемая плотность посадки - 20 - 35 растений на 1 м2.

Полив необходим лишь в первые 6 - 7 недель, в течение которых растения приспосабливаются к условиям крыши. Удобрения вносятся после высадки на крышу по мере проявления растениями признаков голодания (красной, бурой или бледно-зеленой окраски листьев). Норма внесения удобрений не должна превышать 30 г/м2. В Германии посев газона осуществляется двумя основными способами: сухим и мокрым.

Сухой посев

Этот способ посева представляет собой разбрасывание по поверхности субстрата побегов и семян растений. Сухой посев производят на субстрат толщиной до 10 см, содержащий пористые вещества (например, дробленый керамзит), песок и перегной. В конструкции обязательно необходимо предусмотреть под субстратом дренажный слой. В качестве материала для посева используют побеги суккулентных растений, семена бобовых и злаков. Рекомендуемые виды: очиток едкий, о. шестирядный, о. белый, о. ложный, о. гибридный, о. Эверса, о. отклоняющийся - высев побегов; полевица тонкая, мятлик луговой, клевер ползучий, клевер луговой - высев семян. Норма высева составляет 50 - 60 г побегов и от 5 до 30 г семян на 1 м2. Для повышения влажности субстрата, столь необходимой для прорастания семян и укоренения побегов, обычно добавляют в смесь для посева абсорбент (вещество, удерживающее влагу - древесный уголь, полиакриламид), соломенную сечку, вату и клей на натуральной основе (например, водорослевой - препарат Теrrasоl). Примерное соотношение различных компонентов посадочной смеси представлено в следующей таблице:

Компонент смеси

Норма, г/м

Побеги суккулентных трав

50-60

Семена злаков и бобовых

5-30

Абсорбирующее влагу вещество

20-30

Вата хлопчатобумажная

60-120

Соломенная сечка

30-60

Натуральный клей (порошок)

20-30

Посеянную смесь регулярно поливают лишь в течение первых 6 - 7 недель развития растений на крыше из расчета 3 мм поливочной воды или атмосферных осадков в сутки.

Мокрый посев

При этом способе смесь, описанная в разделе «Сухой посев», разводится водой и подается с помощью насоса в шланг, с помощью которого распыляется. Это ускоряет посев и делает его более равномерным. Это единственное отличие этого способа посева от сухого посева.

При озеленении крыш широкое применение имеют рулонные газоны. Рулонный газон готовится следующим образом. На армирующий слой (синтетическая сетка, мешковина, нетканые материалы и т.д.) насыпается почвенный субстрат толщиной 3 - 5 см и высеваются семена газонных трав. Когда трава прорастает, образуя рулонный ковер, ее разрезают на части и скатывают их в рулоны.

Примерные технические условия на рулонный газон:

размер ковра                             0,6×1,65 м

вес ковра                                    5-7 кг

толщина дернового слоя          от 3 до 5 см

высота травяного покрова       от 5 см

Чаще всего для создания газонов на крыше в Германии используют вегетационные и комбинированные маты. Вегетационные маты выполняют функцию верхнего слоя субстрата, несущего растительность. Комбинированные минераловатные маты кроме аналогичной могут выполнять функцию накопления и распределения влаги (т.е. дренажного слоя).

Субстрат на крыше для озеленения с помощью вегетационных матов или комбинированных матов состоит из пористых материалов (перлит, дробленый керамзит и т.д.) и органического вещества (торфа, перегноя). Толщина субстрата составляет в зависимости от видов применяемых растений от 3-5 до 15 см. При создании газона из суккулентных злаков толщина субстратного слоя составляет 10-15 см. Независимо от видов применяемых растений необходим дренажный слой в виде дробленого керамзита или других пористых материалов (цеолита) или дренажных матов.

Стандартные вегетационные маты имеют вид квадрата или прямоугольника площадью 1 м2. Основу вегетационных матов составляет прочный слой нетканого полипропиленового материала (или прочных натуральных нитей), на который укладывается волокно естественного (лен, кокос) иди искусственного происхождения (полипропиленовые волокна). Волокно прикрепляется к основе (например, полипропиленовые нити термически «приклеиваются» к полипропиленовой ткани). Нетканый материал служит разделительным слоем между субстратом крыши и живым содержимым вегетационного мата. Сверху на волокнистую основу насыпается субстрат, содержащий пористые вещества (дробленый керамзит, перлит), торф и песок. На субстрат разбрасываются семена злаков (Полевицы тонкой, мятлика лугового или узколистого, овсяницы полевой и красной), луковички луковичных или побеги суккулентных растений (см. Описания видов) и побегоносных злаков (полевицы побегоносной, п. гигантской, п. виноградниковой). Общая толщина вегетационного мата составляет от 2 до 5 см. Полив производится регулярно по мере высыхания субстрата. Мат готов к укладке на крышу, если 70% его поверхности покрыто развившимися растениями. В зависимости от желания размеры и форма вегетационных матов могут варьироваться. Срок жизни волокон в составе вегетационных матов составляет, согласно наблюдениям, не менее 5 лет. Вес вегетационного мата - 3-5 кг/м2.

Комбинированные минераловатные маты выполняют одновременно функцию субстрата и дренажа. Их изготавливают из тонкой стекловаты. На слой стекловаты толщиной до 10 см насыпают слоем 2-5 см субстрат того же состава, что и применяемый для вегетационных матов, или смесь песка и перегноя или торфа. Сверху разбрасываются побеги и семена растений. Размеры матов ограничиваются разумными пределами. Из-за толщины и хрупкости основы комбинированные минераловатные маты нельзя сворачивать. В связи с большим весом минераловатных матов 7-10 кг (за счет накопления влаги стекловатой) применение их на крыше ограничено. Их транспортируют, укладывая друг на друга. Для посева на комбинированные минераловатные маты используют те же виды растений, что и для вегетационных матов.

Уход за вегетационным матом и комбинированным минераловатным матом на крыше зависит от назначения крыши. Для «зеленой крыши» регулярный полив необходим лишь в течение первых 6 - 7 недель развития растений на крыше. Удобрения вносятся в случае, если растения обнаруживают признаки бедности минерального питания (появляется красная, бурая и желтая окраска листьев). Для регулярно скашиваемого газона необходим регулярный полив и внесение удобрений, которые производят несколько чаще, чем для напочвенного газона.



 




ГОСТЫ, СТРОИТЕЛЬНЫЕ и ТЕХНИЧЕСКИЕ НОРМАТИВЫ.
Некоммерческая онлайн система, содержащая все Российские Госты, национальные Стандарты и нормативы.
В Системе содержится более 150000 файлов нормативно-технической документации, действующей на территории РФ.
Система предназначена для широкого круга инженерно-технических специалистов.

Рейтинг@Mail.ru Яндекс цитирования

Copyright © www.gostrf.com, 2008 - 2026