Крупнейшая бесплатная информационно-справочная система онлайн доступа к полному собранию технических нормативно-правовых актов РФ. Огромная база технических нормативов (более 150 тысяч документов) и полное собрание национальных стандартов, аутентичное официальной базе Госстандарта. GOSTRF.com - это более 1 Терабайта бесплатной технической информации для всех пользователей интернета. Все электронные копии представленных здесь документов могут распространяться без каких-либо ограничений. Поощряется распространение информации с этого сайта на любых других ресурсах. Каждый человек имеет право на неограниченный доступ к этим документам! Каждый человек имеет право на знание требований, изложенных в данных нормативно-правовых актах!

  


 

ГОСУДАРСТВЕННЫЙ СТАНДАРТ СОЮЗА ССР

КАБЕЛИ УПРАВЛЕНИЯ

ОБЩИЕ ТЕХНИЧЕСКИЕ УСЛОВИЯ

ГОСТ 18404.0-78

ГОСУДАРСТВЕННЫЙ КОМИТЕТ СССР ПО СТАНДАРТАМ

Москва

ГОСУДАРСТВЕННЫЙ СТАНДАРТ СОЮЗА ССР

КАБЕЛИ УПРАВЛЕНИЯ

Общие технические условия

Control cables. General specifications

ГОСТ
18404.0-78*

Взамен
ГОСТ 18404.0-73

Постановлением Государственного комитета СССР по стандартам от 15 ноября 1978 г. № 2987 срок действия установлен

с 01.01.81

до 01.01.91

Несоблюдение стандарта преследуется по закону

Настоящий стандарт распространяется на многожильные кабели управления, предназначенные для передачи электрических сигналов управления малой мощности переменным и импульсным напряжением до 1000 В и постоянным напряжением до 1400 В.

1. ОБОЗНАЧЕНИЯ

1.1. Многожильные кабели управления подразделяются по:

а) номинальному напряжению: 100, 250, 500 и 1000 В переменного или импульсного напряжения частоты до 3 МГц или соответственно 150, 350, 700 и 1400 В постоянного напряжения;

б) теплостойкости:

нормальной теплостойкости - для максимальной допустимой температуры до 100°С;

повышенной теплостойкости - для максимальной допустимой температуры свыше 100°С.

в) конструктивному исполнению:

на однородные, состоящие из одних экранированных или неэкранированных жил одного и того же сечения;

на неоднородные, состоящие из экранированных или неэкранированных жил разных сечений, или с частью экранированных жил, а также кабели, имеющие разные по назначению жилы (радиочастотные, силовые и прочие);

без экрана, с одинарным или двойным общим экраном;

в панцирной оплетке.

1.2. Обозначение марок кабелей должно состоять из следующих букв:

кабели управления (КУ);

материал изоляции (см. табл. 1);

общий экран (Э), в том числе двойной (ЭЭ);

материал оболочки (см. табл. 1);

панцирная оплетка (П).

Буквенное обозначение материала изоляции и оболочки должно соответствовать, указанному в табл. 1.

Таблица 1

Материал

Буквенное обозначение

Изоляционная и шланговая резина

Р

Изоляционная и шланговая резина на основе силиконовых каучуков

С

Изоляционная и шланговая резина повышенной теплостойкости на основе фторкаучуков

ФС

Полиэтилен

П

Поливинилхлоридный пластикат

В

Полиэтилен-капрон

ПК

Фторопласт

Ф

Лавсан

Л

Капрон

К

Фенилон

ФН

Если изоляция и оболочка кабелей выполнены из однотипного материала, например резина - резина, то в обозначение марки кабеля входит только одна буква, соответствующая данному материалу.

В марку кабелей с двойной усиленной оболочкой входят буквенные обозначения материалов обеих оболочек, если материал оболочек разного типа.

Если материал оболочек кабелей с двойной усиленной оболочкой одного типа, то в обозначение марки входит одна буква, соответствующая данному материалу, и буква У.

Допускается в обозначение марки кабеля вводить другие дополнительные буквенные обозначения, характеризующие специфические особенности (свойства) кабелей.

Примеры обозначения марок кабеля:

Кабель управления с изоляцией из полиэтилена в резиновой оболочке, в панцирной оплетке:

КУПР-П

Кабель управления для работы при внутреннем избыточном давлении (Д) с изоляцией из фторопласта, в общем экране, в двойной усиленной резиновой оболочке:

КУДФЭРУ

Кабель управления с изоляцией из полиэтилена в общем экране, в резиновой оболочке, в панцирной оплетке:

КУПЭР-П

Кабель управления с изоляцией из полиэтилена в общем двойном экране, в резиновой оболочке, в панцирной оплетке.

КУПЭЭР-П

1.3. В условное обозначение кабелей должны входить: марка кабеля с добавлением цифр, последовательно указывающих число изолированных жил (через дефис) и их сечение (через знак умножения ´), значение номинального напряжения и обозначение технических условий (ТУ) или стандарта на конкретную марку кабеля (через дефис).

В кабелях с экранированными жилами к цифре, означающей число изолированных жил, добавляется буква «э».

Число изолированных жил для кабелей с частью экранированных жил обозначается дробью, в числителе которой должна быть указана цифра, означающая общее число жил, а в знаменателе - цифра, означающая число экранированных жил с буквой «э».

Число и сечение жил в неоднородных кабелях должны быть обозначены суммой, первое слагаемое которой представляет число жил большего сечения, а второе слагаемое - число жил меньшего сечения.

Примеры условного обозначения при заказе и в конструкторской документации:

кабеля марки КУПР-П, с 37 экранированными жилами, номинальным сечением 0,5 мм2, на номинальное напряжение 250 В:

Кабель КУПР-П-37э ´ 0,5-250 ГОСТ (ТУ) ......

кабеля марки КУПР, с 15 неэкранированными жилами, номинальным сечением 1,0 мм2 и 16 жилами номинальным сечением 0,35 мм2, из которых 9 жил экранированные, на номинальное напряжение 250 В:

Кабель КУПР-15 ´ 1,0 +16/9э ´ 0,35-250 ГОСТ (ТУ)....

2. ТЕХНИЧЕСКИЕ ТРЕБОВАНИЯ

2.1. Общие требования

2.1.1. Кабели должны изготовляться в соответствии с требованиями настоящего стандарта и стандартов или технических условий на кабели конкретных марок по конструкторской и технологической документации, утвержденной в установленном порядке.

Требования к радиочастотным, силовым и другим жилам, входящим в неоднородные кабели, указываются в стандартах или технических условиях на кабели конкретных марок.

(Измененная редакция, Изм. № 1).

2.1.2. Кабели изготовляют в климатическом исполнении УХЛ и В по ГОСТ 15150-69 и ГОСТ 15543-70.

Климатическое исполнение и категория размещения кабелей должны быть указаны в стандартах или технических условиях на кабели конкретных марок.

2.1.3. Требования к кабелям, предназначенным для эксплуатации в районах с холодным и тропическим климатом, должны соответствовать нормативно-технической документации, утвержденной в установленном порядке.

2.1.2, 2.1.3. (Введены дополнительно, Изм. № 1).

2.2. Требования к конструкции

2.2.1. Конструктивные элементы и основные размеры должны быть указаны в стандартах или технических условиях на кабели конкретных марок.

Число изолированных жил однородных кабелей в зависимости от их номинального сечения должно соответствовать указанным в табл. 2.

Таблица 2

Номинальное сечение жил, мм2

Число жил

0,03*; 0,05*; 0,08*

3, 4, 7, 14, 19, 27, 30, 37, 52

0,12; 0,20; 0,35; 0,50

3, 4, 7, 14, 19, 27, 30, 37, 52, 61, 91, 108

0,75; 1,00

3, 4, 7, 14, 19, 27, 30, 37, 52, 61

1,50; 2,50

3, 4, 7, 14, 19, 27, 30, 37

* Перспективные сечения.

Число жил неоднородных кабелей и кабелей с частью экранированных жил должно быть указано в стандартах или технических условиях на кабели конкретных марок.

2.2.2. В неоднородных кабелях жилы большего сечения должны быть расположены во внутренних повивах, а их число должно быть 7, 19 или 37.

В кабелях с частью экранированных жил экранированные жилы должны располагаться во внутренних повивах, а их количество должно быть 7, 19, 37. Количество неэкранированных жил должно составлять 60 - 70% от общего количества жил в кабеле.

2.2.3. Токопроводящие жилы должны соответствовать ГОСТ 22483-77.

Конструкция токопроводящих жил и материал защитного покрытия указываются в стандартах или технических условиях на кабели конкретных марок.

2.2.4. Пайка или сварка отдельных проволок должна производиться вразгон на расстоянии не менее 200 мм друг от друга, а стренг - не менее 3 м друг от друга. Не допускается пайка или сварка жилы в одном сечении.

Не допускаются в местах пайки или сварки заусенцы.

При обрыве одиночных проволок в стренгах пучковой скрутки (предназначенных для общей правильной скрутки) в каждом сечении жилы стренговой скрутки не допускается пропуск более одной проволоки. Длина пропуска не должна превышать 10 м.

2.2.5. Минимальная толщина изоляции жил должна быть указана в стандартах или технических условиях на кабели конкретных марок.

Коэффициент равностенности изоляции должен быть не ниже 70%.

2.2.6. Значение линейной усадки изоляции многопроволочных жил при испытаниях допускается не более 3 мм.

2.2.7. Экран жил или общий экран кабелей должен быть выполнен в виде металлической оплетки.

Допускается выполнять экран в виде обмотки проволокой, обмотки металлизированной лентой или фольгой.

Конструкция экрана и коэффициент поверхностной плотности экрана, выполненного в виде оплетки, должны быть указаны в стандартах или технических условиях на кабели конкретных марок.

Допускается пропуск одиночных проволок и пряди на длине до четырех шагов оплетки при условии сохранения пряди обратного направления.

2.2.8. Изолированные жилы или группы жил (экранированные и неэкранированные) кабелей всех конструкций должны быть скручены в кабель концентрическими повивами. Направление и шаги скрутки повивов должны быть указаны в стандартах или технических условиях на кабели конкретных марок.

2.2.9. В каждом повиве две смежные жилы должны отличаться по цвету друг от друга и от остальных жил данного повива.

2.2.10. В однородных кабелях с экранированными жилами, а также в неоднородных кабелях с частью экранированных жил между повивами должна быть обмотка пленкой с перекрытием.

Значение перекрытия должно быть указано в стандартах или технических условиях на кабели конкретных марок. Наличие обмотки из пленки между повивами в кабелях остальных конструкций и значение перекрытия должны быть указаны в стандартах или технических условиях на кабели конкретных марок.

2.2.11. По сердечнику кабеля должна быть обмотка из пленки с перекрытием. Значение перекрытия должно быть указано в стандартах или технических условиях на кабели конкретных марок.

2.2.12. Поверх обмотки должна быть оболочка. Минимальная толщина оболочки кабеля и диаметр по оболочке должны быть указаны в стандартах или технических условиях на кабели конкретных марок.

Не допускаются на поверхности оболочки наплывы и вмятины, выводящие толщину оболочки и диаметр по оболочке за предельные отклонения, указанные в стандартах или технических условиях на кабели конкретных марок.

Дополнительные требования к оболочке должны быть указаны в стандартах или технических условиях на кабели конкретных марок.

2.2.13. Коэффициент поверхностной плотности панцирной оплетки должен быть не менее 65%. Материал и диаметр проволоки для оплетки должны быть указаны в стандартах или технических условиях на кабели конкретных марок.

Допускается пропуск одиночных проволок и пряди на длине до шести шагов оплетки при условии сохранения пряди обратного направления.

2.2.14. Максимальные и минимальные наружные размеры кабелей должны быть указаны в стандартах или технических условиях на кабели конкретных марок.

2.2.15. Расчетные массы кабелей на единицу длины должны быть указаны в справочных приложениях к стандартам или техническим условиям на кабели конкретных марок.

(Измененная редакция, Изм. № 1).

2.2.16. Строительные длины кабелей и процент маломерных отрезков должны указываться в стандартах или технических условиях на кабели конкретных марок.

2.2.17. Материалы, применяемые для изготовления кабелей, должны быть указаны в стандартах или технических условиях на кабели конкретных марок.

2.3. Требования к электрическим параметрам

2.3.1. Электрическое сопротивление постоянному току токопроводящих жил из медной проволоки при приемке и поставке должно соответствовать указанному в ГОСТ 22483-77.

Электрическое сопротивление постоянному току жил из медной проволоки с защитным покрытием и из других материалов при приемке и поставке, а также электрическое сопротивление жил на период эксплуатации и хранения должны быть указаны в стандартах или технических условиях на кабели конкретных марок.

2.3.2. Изолированные жилы должны выдерживать в течение 1 мин испытание напряжением переменного тока частотой 50 Гц, значение которого указано в табл. 3.

Таблица 3

Номинальное напряжение, В

Испытательное напряжение, В, не менее

при приемке и поставке

на период эксплуатации и хранения

100

1000

500

250

1500

1000

500

2500

1500

1000

3000

2000

(Измененная редакция, Изм. № 1).

2.3.3. Электрическое сопротивление изоляции токопроводящих жил, пересчитанное на 1 м длины, должно быть не менее значений, указанных в табл. 4.

Таблица 4

Материал изоляции

Электрическое сопротивление изоляции, не менее, МОм×м

при приемке и поставке

на период эксплуатации и хранения

в нормальных климатических условиях

при максимальной температуре

при относительной влажности 98% и температуре 40°С

Поливинилхлоридный пластикат

104

103

103

102

Полиэтилен

106

105

106

103

Фторопласт

106

104

105

104

Изоляционная резина

104

103

103

102

Для материалов изоляции, не указанных в табл. 4, значения электрического сопротивления изоляции токопроводящих жил должны быть установлены в стандартах или технических условиях на кабели конкретных марок.

Значения электрического сопротивления изоляции между элементами кабеля, не приведенными в табл. 4 (между экранами жил и общим экраном и др.), должны быть указаны в стандартах или технических условиях на кабели конкретных марок в технически обоснованных случаях.

2.4. Требования к механическим параметрам

2.4.1. Кабели должны быть стойкими к изгибам. Число изгибов, угол и радиус изгиба должны быть указаны в стандартах или технических условиях на кабели конкретных марок.

2.4.2. Кабели, предназначенные для работы в условиях перемоток, должны быть стойкими к многократным перемоткам. Число циклов перемотки и радиус изгиба должны быть указаны в стандартах или технических условиях на кабели конкретных марок.

2.4.3. Кабели, предназначенные для работы в условиях осевого кручения, должны быть стойкими к осевому кручению. Число осевых кручений и угол закручивания на единицу длины должны быть указаны в стандартах или технических условиях на кабели конкретных марок.

2.4.4. Кабели, предназначенные для работы в условиях изгиба с осевым кручением, должны быть стойкими к ним. Число циклов изгиба с осевым кручением и угол закручивания должны быть указаны в стандартах или технических условиях на кабели конкретных марок.

2.4.5. Кабели, предназначенные для работы в условиях подвижной эксплуатации, должны быть геометрически устойчивы. Число циклов на геометрическую устойчивость должно быть указано в стандартах или технических условиях на кабели конкретных марок.

2.4.6. Кабели, предназначенные для работы в условиях растяжения, должны быть стойкими к растяжению.

Конкретные значения величины, числа циклов и условия растяжения должны быть указаны в стандартах или технических условиях на кабели конкретных марок.

2.5. Требования по стойкости к внешним воздействующим факторам.

2.5.1. Кабели должны быть стойкими к внешним воздействующим факторам (ВВФ), указанным в табл. 5.

Таблица 5

Вид ВВФ

Характеристика ВВФ

Значение

1. Синусоидальная вибрация

Диапазон частот, Гц

1 - 5000

Амплитуда ускорения, м×c-2 (g)

400 (40)

Степень жесткости по ГОСТ 20.57.406-81

XIV

2. Акустический шум

Диапазон частот, ГЦ

50 - 10000

Уровень звукового давления (относительно 2×10-5 Па), дБ

170

Степень жесткости по ГОСТ 20.57.406-81

V

3. Механический удар:

одиночного действия

Пиковое ударное ускорение, м×c-2 (g)

10000 (1000)

Длительность действия ударного ускорения, м×c

0,1 - 2

Степень жесткости по ГОСТ 20.57.406-81

VI

многократного действия

Пиковое ударное ускорение, м×c-2 (g)

1500 (150)

Длительность действия ударного ускорения, м×c

1 - 5

Степень жесткости по ГОСТ 20.57.406-81

IV

4. Линейное ускорение (линейные нагрузки)

Значение линейного ускорения, м×c-2 (g)

5000 (500)

Степень жесткости по ГОСТ 20.57.406-81

VI

5. Атмосферное пониженное давление

Пониженное рабочее давление, Па (мм рт. ст.)

5,3×104 (400), 2,0×103 (15), 0,67×103 (5), 1,3×102 (1), 133×10-1 (10-1), 1,33×10-1 (10-3), 1,33×10-4 (10-6)

6. Атмосферное повышенное давление

Повышенное рабочее давление, кПа (кгс/см2)

300 (3,0)

7. Статическое гидравлическое давление

Па (кгс/см2)

H

8. Внутреннее избыточное давление воздуха или инертного газа

Па (кгс/см2)

H

9. Повышенная температура среды

Максимальная рабочая температура при эксплуатации, °С

70, 85, 100, 125, 200, 250

10. Пониженная температура среды

Пониженная рабочая температура среды для условий фиксированного монтажа, °С

минус 50*, 60, 85, 150

Пониженная рабочая температура среды, при которой допускаются монтажные изгибы, °С**

 

Пониженная предельная температура, °С

минус 60

11. Повышенная влажность:

 

 

для исполнения

Относительная влажность при температуре 35 °С, %

98

В

Степень жесткости по ГОСТ 20.57.406-81

X

для исполнения

Относительная влажность при температуре 25 °С, %

98

УХЛ

Степень жесткости по ГОСТ 20.57.406-81

III

12. Атмосферные выпадаемые осадки (дождь)***

-

H

13. Атмосферные конденсируемые осадки (роса, иней)

-

Н

14. Соляной (морской) туман

-

H

15. Статическая пыль (песок)

-

Н

16. Динамическая пыль (песок)***

-

H

17. Солнечное излучение:

 

 

интегральное***

-

H

ультрафиолетовое***

-

H

18. Среда заполнения

-

H

19. Плесневые грибы:

 

 

для исполнения В

-

+

для исполнения УХЛ

-

-

* В новых разработках не применять.

** Минимальную температуру, при которой изгибают кабель и радиус изгиба указывают в стандартах или технических условиях на кабели конкретных марок.

*** Требования предъявляют к кабелям наружного монтажа на открытом воздухе.

Условные обозначения:

«+» - требования предъявляют;

«-» - требования не предъявляют;

«Н» - требование предъявляют, если кабели подвергают данному виду воздействия и оно установлено в техническом задании (для вновь разрабатываемых кабелей), в стандартах или технических условиях на кабели конкретных марок.

2.5, 2.5.1. (Измененная редакция, Изм. № 1).

2.5.2. Кабели должны быть устойчивы к воздействию смены температур от максимальной рабочей температуры при эксплуатации до пониженной температуры среды, установленных в стандартах или технических условиях на кабели конкретных марок.

2.5.3. Кабели предназначенные для кратковременной работы при температуре выше максимальной рабочей температуры при эксплуатации, должны быть устойчивы к этому воздействию. Значение температуры и длительность воздействия должны быть установлены в стандартах или технических условиях на кабели конкретных марок.

2.5.2, 2.5.3. (Введены дополнительно, Изм. № 1).

2.6. - 2.6.14. (Исключены, Изм. № 1).

2.7. Требования к стойкости при специальных воздействиях.

2.7.1. Кабели, предназначенные для эксплуатации при повышенной концентрации озона, должны быть стойки к воздействию озона.

Конкретные значения концентрации озона, скорости потока озонированного воздуха и время его воздействия должны быть указаны в стандартах или технических условиях на кабели конкретных марок.

2.7.2. Кабели не должны распространять горения, если это требование указано в стандартах или технических условиях на кабели конкретных марок.

2.8. Требования к надежности

2.8.1. Минимальная наработка (наработка) кабелей в режимах и условиях, установленных в настоящем стандарте или стандартах и технических условиях на кабели конкретных марок, должна быть равна одному из значений: 10000, 15000, 20000, 25000, 30000, 40000, 50000, 80000, 100000, 150000 ч и более.

В зависимости от назначения кабелей и их физических свойств допускается по согласованию с потребителем устанавливать значение минимальной наработки менее 10000 ч.

Рекомендуется устанавливать несколько значений минимальной наработки в зависимости от условий эксплуатации.

2.8.2. Минимальный срок сохраняемости (срок сохраняемости) кабелей при хранении в условиях отапливаемого хранилища, а также вмонтированных в защищенную аппаратуру или находящихся в защищенном комплекте ЗИП, должен быть равен одному из значений следующего ряда:

15, 20, 25, 30 и 35 лет.

Для кабелей с ограниченным сроком сохраняемости значение минимального срока сохраняемости принимают равным 5, 8, 10 или 12 лет.

При хранении кабелей в условиях отличных от указанных в настоящем стандарте, минимальный срок сохраняемости сокращается в соответствии с коэффициентами сокращения минимального срока:

в упаковке предприятия-изготовителя:

в неотапливаемом хранилище - 1,5;

под навесом (при упаковке на барабаны) - 1,5;

вмонтированных в незащищенную аппаратуру или находящихся в незащищенном комплекте ЗИП:

в неотапливаемом хранилище - 1,5;

под навесом - 2,0;

на открытой площадке - 3,0.

Не допускается хранение кабелей в составе незащищенной аппаратуры при их наружном монтаже, а также кабелей без защитных оболочек в составе незащищенной аппаратуры и ЗИП на открытой площадке.

2.8.3. Минимальный срок службы (срок службы) кабелей при соблюдении требований к условиям эксплуатации устанавливают из ряда: 15, 20, 25, 30, 35 лет.

Для кабелей с ограниченным сроком службы значение минимального срока службы принимают равным 5, 8, 10 или 12 годам.

2.8.4. Значение 95-процентного ресурса кабелей не менее удвоенного значения минимальной наработки в режимах и условиях, указанных в настоящем стандарте или стандартах и технических условиях на кабели конкретных марок, устанавливают в справочном приложении стандартов или технических условиях на кабели конкретных марок.

По согласованию с потребителем допускается устанавливать значение 95-процентного ресурса не менее полуторного значения минимальной наработки.

2.8 - 2.8.4. (Измененная редакция, Изм. № 1).

2.9. Допускается в стандартах или технических условиях на кабели конкретных марок устанавливать дополнительные требования, не указанные в настоящем стандарте, а также более жесткие значения указанных требований.

3. ПРАВИЛА ПРИЕМКИ

3.1. Для проверки соответствия качества кабелей требованиям настоящего стандарта и соответствующего стандарта или технических условий на кабели конкретных марок устанавливаются квалификационные, приемо-сдаточные, периодические, типовые испытания и испытания на надежность.

3.2. Квалификационные испытания

3.2.1. Испытания должны проходить при изготовлении установочной серии кабелей. В программу испытаний включают виды испытаний, обеспечивающие проверку соответствия кабелей требованиям настоящего стандарта и соответствующих стандартов или технических условий на кабели конкретных марок (кроме испытаний на сохраняемость).

3.2.2. Испытания должна проводить комиссия на одной из первых изготовленных партий после приемки опытно-конструкторской работы (ОКР).

При этом испытания не проводят, если:

поставляемые кабели изготовлены предприятием-изготовителем опытных образцов, предъявленных комиссии для приемки ОКР;

комиссией не были даны рекомендации по доработке кабелей и документации;

перерыв в производстве кабелей на данном предприятии не превышает срок, установленный для проведения периодических испытаний.

При перерыве в производстве кабелей, превышающем срок, установленный для проведения периодических испытаний, в случаях, когда технологический процесс и применяемые материалы не менялись, квалификационные испытания проводят в объеме периодических испытаний.

3.2.3. Кабели, отобранные для проведения испытаний, подвергают проверке по программе испытаний. Комиссия, назначенная для приемки установочной серии кабелей, имеет право проводить испытания с зачетом отдельных видов испытаний на основании протоколов испытаний, проведенных предприятием - изготовителем кабелей установочной серии перед предъявлением их комиссии.

Допускается засчитывать результаты испытаний аналогичных (по материалам и конструкциям оболочек или защитных покровов и технологии их изготовления) кабелей по требованиям к воздействию: солнечного излучения; плесневых грибов; динамического воздействия пыли и соляного тумана с согласованием такого решения в программах испытаний.

(Измененная редакция, Изм. № 1).

3.2.4. В начале испытаний проводят проверку кабелей в объеме приемо-сдаточных испытаний. Если при проверке будут обнаружены дефектные кабели, они заменяются годными. Число заменяемых дефектных кабелей устанавливает комиссия по проведению испытаний.

Если дефектных кабелей, обнаруженных при проверке, будет больше установленного числа, то новые испытания проводят с учетом требований пп. 3.2.5 и 3.2.6 на вновь изготовленных или доработанных кабелях.

3.2.5. При получении неудовлетворительных результатов испытаний изготовитель и разработчик проводят анализ причин выявленных недостатков и разрабатывают необходимые мероприятия по приведению качества кабелей в соответствие с требованиями настоящего стандарта и соответствующего стандарта или технических условий на кабели конкретных марок. После внедрения этих мероприятий испытания повторяются в полном объеме. По решению комиссии допускается проводить повторные испытания только по тем пунктам требований, по которым были получены неудовлетворительные результаты.

3.2.6. Если при повторных испытаниях будет также выявлено несоответствие требованиям настоящего стандарта и соответствующего стандарта или технических условий на кабели конкретных марок, то после рассмотрения и анализа результатов испытаний решение о дальнейшем производстве кабелей принимают потребитель и руководство Всесоюзного производственного объединения по виду продукции.

3.2.7. Результаты проведения испытаний оформляют протоколами и актом. Акт подписывает комиссия, проводившая испытания, и утверждает организация, назначившая комиссию.

3.3. Приемо-сдаточные испытания

3.3.1. Готовые кабели предъявляют к приемке партиями вместе с сопроводительной документацией.

За партию принимают число кабелей, предъявляемых для приемки одновременно по одному извещению. Минимальный и максимальный размеры партии устанавливают в стандартах или технических условиях на кабели конкретных марок.

3.3.2. Приемо-сдаточные испытания проводят по плану выборочного одноступенчатого контроля при приемочном числе, равном нулю.

В состав приемо-сдаточных должны входить испытания, указанные в табл. 6.

Таблица 6

Вид испытания или проверки

Пункты

технических требований

методов испытаний

Проверка элементов конструкции, конструктивных размеров и внешнего вида

2.2.1 - 2.2.3; 2.2.5; 2.2.8 - 2.2.11; 2.2.14; 2.2.16

4.2.1

Проверка линейной усадки изоляции

2.2.6

4.2.2

Проверка минимальной толщины оболочки

2.2.12

4.2.3

Определение электрического сопротивления токопроводящей жилы постоянному току

2.3.1*

4.3.1

Испытание напряжением

2.3.2

4.3.2

Определение электрического сопротивления изоляции

2.3.3

4.3.3

Испытание на стойкость к внутреннему избыточному давлению

2.5.1 - 8**

4.6.11

* Измерение электрического сопротивления токопроводящей жилы постоянному току (п. 2.3.1) производится в случае отклонения по диаметру отдельных проволок при проверке по п. 2.2.3.

** Числа, указанные через тире в ссылке 2.5.1 - 8 означают порядковый номер вида ВВФ табл. 5.

Проверку на соответствие требованиям пп. 2.2.1 - 2.2.3; 2.2.5; 2.2.8 - 2.2.11; 2.2.14; 2.3.2 и 2.5.1 - 8 проводят на 10% кабелей сдаваемой партии, но не менее трех барабанов (бухт).

Проверку на соответствие требованиям пп. 2.2.7; 2.2.11 и 2.2.13, 2.2.14 проводят в процессе производства.

Проверку на соответствие требованиям пп. 2.2.6; 2.2.12 и 2.3.3 проводят на двух барабанах (бухтах) от сдаваемой партии по каждому виду испытаний.

При получении неудовлетворительных результатов при выборочном контроле проводят испытания всех строительных длин по тому показателю, по которому получены неудовлетворительные результаты. Строительные длины, не выдержавшие испытания, бракуют.

(Измененная редакция, Изм. № 1).

3.3.3. Порядок проведения испытаний при автоматизированной и частично автоматизированной системах контроля устанавливают в нормативно-технической документации.

(Введен дополнительно, Изм. № 1).

3.4. Периодические испытания

3.4.1. Периодические испытания проводит предприятие-изготовитель один раз в 6 мес.

В технически обоснованных случаях допускается осуществлять переход на увеличенную периодичность испытаний один раз в 12 мес или при выполнении следующих условий:

непрерывность производства;

серийное производство превышает два года;

удовлетворительные результаты на четырех последовательно проведенных периодических испытаниях;

отсутствие в течение последнего года рекламаций, связанных с ухудшением параметров и характеристик;

уровень сдачи кабелей с первого предъявления установлен не менее 0,9.

При нарушении хотя бы одного из этих условий переходят на первоначальную периодичность.

3.4.2. Периодические испытания должны проводиться по тем пунктам требований, которые указаны в стандарте или технических условиях на кабели конкретных марок, на образцах, отобранных из партий за период между испытаниями, выдержавших приемо-сдаточные испытания.

В состав периодических могут входить испытания, указанные в табл. 7.

Таблица 7

Вид испытания или проверки

Пункты

технических требований

методов испытаний

Испытание на воздействие максимальной рабочей температуры при эксплуатации

2.5.1 - 9

4.6.1

Испытание на воздействие пониженной рабочей температуры среды

2.5.1 - 10

4.6.2

Испытание на стойкость к воздействию изменения температуры среды

2.5.2

4.6.3

Испытание на воздействие повышенной влажности воздуха

2.5.1 - 11

4.6.4

Испытание на стойкость к воздействию статического гидравлического давления

2.5.1 - 7

4.6.10

Испытание на стойкость к изгибам

2.4.1

4.4.1

Испытание на стойкость к перемоткам

2.4.2

4.4.2

Испытание на стойкость к осевым кручениям

2.4.3

4.4.3

Испытание на стойкость к изгибу с осевым кручением

2.4.4*

4.4.4

Испытание на геометрическую устойчивость

2.4.5*

4.4.5

* Периодичность испытания должна быть указана в стандартах или технических условиях на кабели конкретных марок.

(Измененная редакция, Изм. № 1).

3.4.3. Испытания проводят по плану двухступенчатого выборочного контроля при выборах n1=5, n2=10 барабанов или бухт по каждой испытательной группе и приемочном числе для суммарной выборки, равному нулю. Для испытаний отбирают по одному образцу от каждого барабана или бухты.

3.4.4. Испытания проводят по испытательным группам. Состав испытательных групп и последовательность испытаний в группе указываются в стандартах или технических условиях на кабели конкретных марок.

Испытания, входящие в состав нескольких групп, допускается проводить на одних и тех же образцах. Результаты испытаний должны оценивать по каждому показателю отдельно.

Образцы кабеля, подвергнутые периодическим испытаниям, в партию не включают, кроме тех случаев, когда испытания проведены на больших длинах без ухудшения их качества.

3.4.5. При получении неопределенных результатов периодических испытаний на выборке n1 проводят повторные испытания на выборке n2.

При получении неудовлетворительных результатов периодических испытаний на выборке n2 приемка и поставка кабелей должна быть приостановлена.

После устранения причин дефектов и получения удовлетворительных результатов повторных периодических испытаний по той группе проверок и испытаний, по которой первоначально были получены неудовлетворительные результаты, приемка и поставка кабелей должна быть возобновлена.

До получения результатов повторных испытаний допускается проводить техническую приемку кабелей, изготовленных после устранения причин дефектов.

Если при анализе дефектов, выявленных при первичных испытаниях, будет установлено, что характер дефектов не связан с технологией изготовления кабелей, а является результатом нарушения режима испытаний, то результаты испытаний считают недействительными. Если срок действия предыдущих периодических испытаний истек, то производится техническая приемка кабелей до окончания новых периодических испытаний.

При получении неудовлетворительных результатов повторных испытаний техническая приемка кабелей прекращается.

Предприятие-изготовитель анализирует результаты и причины неудовлетворительных повторных испытаний и принимает решение о мероприятиях по приведению качества кабелей в соответствие с требованиями стандартов или технических условий на кабели конкретных марок. После проведения мероприятий проводят новые испытания. До окончания этих испытаний приемку и поставку кабелей допускается производить на основании совместного решения руководства Всесоюзного промышленного объединения по виду продукции и заинтересованных организаций.

3.5. Типовые испытания

3.5.1. Типовые испытания проводит предприятие-изготовитель с целью проверки соответствия кабелей требованиям стандарта или технических условий на них при изменении конструкции, технологии или применяемых материалов.

Необходимость проведения испытаний определяется согласованным решением разработчика и изготовителя.

Испытания проводят по программе, составленной с разработчиком.

Состав испытаний должен определяться в зависимости от степени возможного влияния предлагаемых изменений на качество выпускаемых кабелей.

По результатам испытаний принимают решение о возможности и целесообразности внесения изменений в техническую документацию и изготовления кабелей по измененной документации.

Результаты испытаний оформляют протоколом, в котором должны быть даны заключение о результатах испытаний и рекомендации по внедрению проверяющегося изменения. Протокол подписывают лица, проводившие испытания, и утверждает предприятие-изготовитель после согласования его с разработчиком.

3.6. Испытания на надежность

3.6.1. Соответствие кабелей требованиям к надежности проверяют проведением соответствующих испытаний в процессе поставки на производство.

3.6.2. При освоении кабелей проводят испытания по подтверждению наработки прямым и косвенным способами. При производстве кабелей проводят следующие испытания на надежность:

а) при постановке на производство:

испытание по подтверждению наработки прямым или косвенным способами;

б) при производстве:

испытание по подтверждению наработки прямым или косвенным способами;

испытание на сохраняемость.

3.6.3. Испытания по подтверждению наработки прямым способом проводят в следующих случаях:

а) при проведении типовых испытаний при замене материалов, изменении конструкции и технологии изготовления кабелей, которые могут снизить их надежность. Если вновь применяемые материалы или технологическое оборудование не уступают по своим параметрам, применявшимся ранее, то испытания по подтверждению наработки прямым способом могут не проводить. Решение о проведении испытаний по подтверждению наработки прямым способом принимают в установленном порядке;

б) если изготовитель имеет рекламации об отказах кабелей в период эксплуатации, необходимость проведения испытаний в этом случае определяется решением, согласованным в установленном порядке;

в) при отрицательных результатах испытаний по подтверждению наработки косвенным способом;

г) если в стандартах, технических условиях или технологической документации на кабели не предусмотрено подтверждение наработки косвенным способом.

В последнем случае испытания проводят периодически, ускоренным или нормальным методом, по полной и сокращенной программам.

Испытания по сокращенной программе (испытания на безотказность) проводят в составе периодических испытаний в течение времени, достаточного для подтверждения наработки 500 ч.

Испытания по полной программе (испытание на долговечность) проводят один раз в год при наработке до 10000 ч, и один раз в два года при наработке 10000 ч и более.

Испытания по полной программе при наработке более 10000 ч прекращают после подтверждения наработки 10000 ч.

Допускается увеличивать периодичность испытаний по полной программе до одного раза в три года при наработке до 10000 ч и до одного раза в 5 лет при наработке 10000 ч и более при условии, что при двух следующих друг за другом испытаниях (включая квалификационные) не было отказов, а в период между этими испытаниями не было рекламации об отказах кабелей при эксплуатации. Если при проведении испытаний с новой периодичностью будут обнаружены отказы или поступят рекламации, то возвращаются к первоначальной периодичности. Изменение периодичности испытания осуществляется по согласованию между заказчиком и изготовителем.

Если начало испытаний по полной программе совпадает с началом испытаний на безотказность, то последнее совмещают с испытаниями по полной программе (испытание на долговечность).

Если в течение двух лет производства кабелей при испытаниях на безотказность не обнаружено отказов и не поступало рекламаций об отказах кабелей при эксплуатации, то в дальнейшем эти испытания не проводят.

Допускаются испытания на теплостойкость, если они предусмотрены программой периодических испытаний, совмещать с испытаниями на безотказность.

3.6.4. В случаях, не указанных в п. 3.6.3, наработку подтверждают косвенным способом по результатам показателей косвенного способа, указанных в стандартах или технических условиях на кабели конкретных марок.

Контроль показателей косвенного способа проводит изготовитель кабелей непрерывно в ходе контроля качества в процессе производства и приемо-сдаточных испытаний.

3.6.5. Испытания на сохраняемость проводят нормальным методом на образцах, закладываемых на хранение в течение первых двух лет производства.

Испытание на сохраняемость проводят:

в отапливаемом хранилище - предприятие-изготовитель;

под навесом - предприятие-разработчик.

3.6.6. Испытания на сохраняемость и наработку (прямым способом) группы кабелей аналогичных конструкций (идентичные по применяемым материалам и близкие по габаритам, конструктивному исполнению и технологии) могут быть проведены на образцах кабеля одной марки, которая в данном случае будет являться типовой для указанной группы кабелей. При наличии данных испытаний типовой группы кабелей для вновь разрабатываемого и осваиваемого в производстве кабеля отдельной марки испытания могут не проводиться, а сразу устанавливается контроль показателей косвенного способа.

3.6.1 - 3.6.6. (Измененная редакция, Изм. № 1).

3.6.7. Кабели считают выдержавшими испытания, если в течение и после испытаний не обнаружено ни одного отказа.

3.6.8. При обнаружении отказов проводят анализ отказавших образцов и по результатам анализа принимают решение о проведении мероприятий по повышению надежности кабелей.

3.7. При оценке соответствия кабелей требованиям стандартов или технических условий на кабели конкретных марок следует руководствоваться:

а) при входном контроле (в течение 12 мес. со времени приемки) - нормами при приемке и поставке;

б) в процессе эксплуатации и хранения - нормами на период эксплуатации и хранения.

4. МЕТОДЫ КОНТРОЛЯ

4.1. Все испытания должны быть проведены в нормальных климатических условиях по ГОСТ 20.57.406-81, если в настоящем стандарте или в соответствующем стандарте или технических условиях на кабели конкретных марок не указаны другие условия испытания.

Допускается проводить испытания со снятой панцирной оплеткой.

Способ крепления концов или самих образцов кабелей указывается в стандартах или технических условиях на кабели конкретных марок.

4.2. Контроль кабелей на соответствие требованиям к конструкции

(Измененная редакция, Изм. № 1).

4.2.1. Проверка на соответствие требованиям к конструкции пп. 2.2.1 - 2.2.3; 2.2.5; 2.2.8 - 2.2.9; 2.2.11; 2.2.13 - 2.2.14; 2.2.16 должна производиться по ГОСТ 12177-79.

4.2.2. Значение линейной усадки изоляции жилы (п. 2.2.6) должно определяться на 10% жил кабеля, но не менее чем на пяти жилах.

Отрезки изолированных жил с ровно обрезанными концами длиной не менее 0,5 м, свернутые в бухту радиусом 50 - 60 мм, помещают в камеру тепла. Температура в камере указывается в стандартах или технических условиях на кабели конкретных марок.

После пребывания в камере в течение 1 ч образцы вынимают, выдерживают в нормальных климатических условиях 30 мин и измеряют усадку изоляции с каждого конца образца с погрешностью ±0,5 мм.

За результат испытания принимают максимальное значение изо всех измерений.

4.2.3. Минимальную толщину оболочки (п. 2.2.12) должны определять по ГОСТ 12177-79 на образцах кабеля длиной около 10 см, взятых по одному от разных барабанов (бухт).

4.3. Контроль кабелей на соответствие требованиям к электрическим параметрам

4.2.3, 4.3. (Измененная редакция, Изм. № 1).

4.3.1. Определение электрического сопротивления жил постоянному току (п. 2.3.1) должно производиться по ГОСТ 7229-76.

4.3.2. Испытание напряжением (п. 2.3.2) должно проводиться по ГОСТ 2990-78.

4.3.3. Определение электрического сопротивления изоляции токопроводящих жил (п. 2.3.3) должно производиться по ГОСТ 3345-76.

4.4. Контроль кабелей на соответствие требованиям к механическим параметрам

(Измененная редакция, Изм. № 1).

4.4.1. Испытание на стойкость к изгибу (п. 2.4.1) должно проводиться по ГОСТ 12182.8-80. Испытание проводят на образцах кабеля длиной не менее 0,75 м.

Натяжное устройство должно обеспечивать плотное соприкосновение образца при перегибах с поверхностью цилиндров (дисков). Ориентировочные значения грузов указываются в стандартах или технических условиях на кабели конкретных марок. До и после испытаний на поверхности наружной оболочки не должно быть трещин, видимых без применения увеличительного прибора. Затем образцы испытывают напряжением на соответствие требованию п. 2.3.2.

Осмотр оболочки кабеля в панцирной оплетке проводят в конце испытаний после снятия оплетки.

4.4.2. Испытание кабелей на стойкость к перемоткам (п. 2.4.2) должно проводиться по ГОСТ 12182.4-80.

Испытание проводят на образцах кабеля длиной не менее 2 м. После испытаний образцы осматривают, при этом на поверхности наружной оболочки не должно быть трещин, видимых без применения увеличительного прибора. Затем образцы испытывают напряжением на соответствие требованию п. 2.3.2.

Осмотр оболочки кабелей в панцирной оплетке проводят в конце испытаний после снятия оплетки.

4.4.3. Испытание кабелей на стойкость к осевому кручению (п. 2.4.3) должно проводиться по ГОСТ 12182.7-80 вторым способом.

Длину образца кабеля указывают в стандартах или технических условиях на кабели конкретных марок.

Массу груза, подвешенного к свободному концу кабеля, указывают в стандартах или технических условиях на кабели конкретных марок.

После испытаний образцы осматривают, при этом на поверхности наружной оболочки не должно быть трещин, видимых без применения увеличительного прибора. Затем образцы испытывают напряжением на соответствие требованию п. 2.3.2.

Осмотр оболочки кабеля в панцирной оплетке проводят в конце испытаний после снятия оплетки.

4.4.4. Испытание кабелей на стойкость к изгибу с осевым кручением (п. 2.4.4) должно проводиться по ГОСТ 12182.3-80.

Испытание проводят на образцах кабеля длиной не менее 2,0 м. После испытаний образцы осматривают, при этом на поверхности наружной оболочки не должно быть трещин, видимых без применения увеличительного прибора. Затем образцы испытывают напряжением на соответствие требованию п. 2.3.2. Осмотр оболочки кабелей в панцирной оплетке проводят в конце испытаний после снятия оплетки.

4.4.5. Испытание кабелей на геометрическую устойчивость (п. 2.4.5) должно проводиться на установке, принципиальная схема которой указана на черт. 1.

1 - закрепляющие планки; 2 - образец кабеля; 3 - направляющий цилиндр

Черт. 1

Испытания проводят на образцах длиной не менее 4,0 м.

Подготовленные образцы кабелей комплектуют в кабельный ствол 2. Кабельный ствол должен содержать не более четырех образцов кабелей одного макроразмера. Допускается проводить испытания одиночного кабеля.

Кабельный ствол предварительно закручивают на угол не более p рад/м вокруг оси в направлении, совпадающем с направлением скрутки токопроводящих жил внешнего повива и скрепляют жесткими хомутиками. Расстояние между местами скрепления должно быть не более 0,7 м.

Подготовленный кабельный ствол свертывают в бухту, направление укладки которой должно совпадать с направлением скрутки токопроводящих жил внешнего повива (в «закрутку») и укладывают в направляющий цилиндр 3.

Длина образцов, их число в кабельном стволе, угол предварительного закручивания кабельного ствола и диаметр бухты указывают в стандартах или технических условиях на кабели конкретных марок. Между бухтой и направляющим цилиндром должен быть зазор.

Нижний конец кабельного ствола жестко крепят к основанию цилиндра, а другой закрепляют в подвижное устройство, имитирующее разъем.

Подвижное устройство должно плавно перемещаться с частотой не более 6 циклов в минуту из нижнего положения «вверх» и обратно «вниз».

Величина растягивающего усилия в крайнем верхнем положении должна обеспечивать прямолинейность испытываемого кабельного ствола и указывается в стандартах или технических условиях на кабели конкретных марок.

При движении подвижного устройства вниз кабельный ствол должен самопроизвольно укладываться в бухту в направляющем цилиндре.

Количество циклов испытаний указывается в стандартах или технических условиях на кабели конкретных марок.

После испытаний образцы осматривают, при этом на поверхности наружной оболочки не должно быть трещин, видимых без применения увеличительного прибора, вздутий и признаков образования «спирали».

Затем образцы испытывают напряжением в соответствии с требованием п. 2.3.2.

4.4.6. Испытание кабелей на стойкость к растяжению (п. 2.4.6) должно проводиться по ГОСТ 12182.5-80.

Длина образца и усилие растяжения должны соответствовать требованиям стандартов или технических условий на кабели конкретных марок.

После испытаний образцы проверяют напряжением на соответствие требованию п. 2.3.2.

Кабель считают выдержавшим испытание, если образцы, прошедшие испытание, удовлетворяют требованиям, установленным в стандартах или технических условиях на кабели конкретных марок.

4.5. Контроль кабелей на соответствие требованиям по стойкости к внешним воздействующим факторам

(Измененная редакция, Изм. № 1).

4.5.1. Испытание на вибропрочность (п. 2.5.1 - 1) должно проводиться без электрической нагрузки методом 103-1.1 по ГОСТ 20.57.406-81 на образцах кабеля длиной не менее 1 м, свернутых в плоскую спиральную бухту с внутренним диаметром, равным 10 диаметрам кабеля.

Образцы жестко крепят в горизонтальном положении к платформе стенда хомутами либо плоскими пластинками с резиновыми прокладками в месте крепления.

Испытания проводят при воздействии вибрационных нагрузок в направлении, перпендикулярном плоскости спиральной бухты.

Продолжительность испытаний указывается в стандартах или технических условиях на кабели конкретных марок.

После испытаний на поверхности наружной оболочки не должно быть трещин, видимых без применения увеличительного прибора. Затем образцы испытывают напряжением на соответствие требованию п. 2.3.2.

Осмотр оболочки кабелей в панцирной оплетке проводят в конце испытания после снятия оплетки.

4.5.2. Испытание на механический удар многократного действия (п. 2.5.1 - 3) должно проводиться без электрической нагрузки методом 104-1 по ГОСТ 20.57.406-81 на образцах кабелей длиной не менее 1 м.

Подготовку и крепление образцов к платформе ударного стенда производят согласно п. 4.5.1.

Испытание проводят под воздействием ударной нагрузки в направлении, перпендикулярном плоскости спиральной бухты.

После испытаний на поверхности наружной оболочки не должно быть трещин, видимых без применения увеличительного прибора. Затем образцы испытывают напряжением на соответствие п. 2.3.2.

Осмотр оболочки кабелей в панцирной оплетке проводят в конце испытаний после снятия оплетки.

(Измененная редакция, Изм. № 1).

4.5.3. Испытание на воздействие одиночных ударов (п. 2.5.1 - 3) должно, проводиться без электрической нагрузки методом 106-1 по ГОСТ 20.57.406-81 на образцах длиной не менее 1 м. Подготовку и крепление образцов к платформе ударного стенда производят согласно п. 4.5.1.

Испытание проводят при воздействии ударной нагрузки в направлении, перпендикулярном плоскости спиральной бухты. Образцы подвергают воздействию 9 ударов.

После испытаний образцов на поверхности наружной оболочки не должно быть трещин, видимых без применения увеличительного прибора. Затем образцы испытывают напряжением на соответствие требованию п. 2.3.2.

Осмотр оболочки кабелей в панцирной оплетке проводят в конце испытаний после снятия оплетки.

4.5.4. Испытание на воздействие линейных нагрузок (п. 2.5.1 - 4) должно проводиться без электрической нагрузки методом 107-1 по ГОСТ 20.57.406-81 на образцах кабелей длиной не менее 1 м. Подготовку и крепление образцов к платформе центрифуги производят согласно п. 4.5.1.

Общее время испытания - 10 мин, по 5 мин в каждом из двух взаимно перпендикулярных положений платформы центрифуги.

После испытаний на поверхности наружной оболочки не должно быть трещин, видимых без применения увеличительного прибора. Затем образцы испытывают напряжением на соответствие требованию п. 2.3.2.

Осмотр оболочки кабелей в панцирной оплетке проводят в конце испытаний после снятия оплетки.

4.5.5. Испытание на воздействие акустических шумов (п. 2.5.1 - 2) должно проводиться по ГОСТ 20.57.406-81 (метод 108-2) без электрической нагрузки.

Образцы свертывают в бухту. Длину образцов и диаметр бухты указывают в стандартах или технических условиях на кабели конкретных марок. После испытаний на поверхности наружной оболочки не должно быть трещин, видимых без применения увеличительного прибора. Затем образцы испытывают напряжением на соответствие требованию п. 2.3.2.

Осмотр оболочки кабелей в панцирной оплетке проводят в конце испытаний после снятия оплетки.

4.5.1 - 4.5.5. (Измененная редакция, Изм. № 1).

4.5.6. Испытание кабелей на воздействие сред заполнения (п. 2.5.1 - 18) должно проводиться по ГОСТ 20.57.406-81 методом 302-1.

Состав среды заполнения, продолжительность выдержки и контролируемые параметры указывают в стандартах или технических условиях на кабели конкретных марок.

(Введен дополнительно, Изм. № 1).

4.6. (Исключен, Изм. № 1).

4.6.1. Испытание на воздействие максимальной рабочей температуры при эксплуатации

а) испытание на воздействие максимальной рабочей температуры при эксплуатации (п. 2.5.1 - 9) должно проводиться на образцах кабелей длиной не менее 1,5 м методом 201-1 по ГОСТ 20.57.406-81 в течение 10 сут при температуре, равной максимальной температуре эксплуатации, указанной в стандартах или технических условиях на кабели конкретных марок.

Образцы кабелей свертывают в бухты внутренним диаметром, указанным в стандартах или технических условиях на кабели конкретных марок, и помещают в камеру тепла с выведенными наружу концами.

В конце выдержки кабелей при заданной температуре производят измерение электрического сопротивления изоляции в камере тепла по ГОСТ 3345-76. При этом электрическое сопротивление изоляции должно соответствовать указанному в п. 2.3.3 для значения максимальной температуры эксплуатации. После выдержки не менее 1 ч в нормальных климатических условиях образцы осматривают, при этом на поверхности наружной оболочки не должно быть трещин. Внешний осмотр оболочки кабелей в панцирной оплетке проводят в конце испытаний после снятия оплетки;

б) испытание на воздействие максимальной рабочей температуры при эксплуатации кабелей к кратковременному воздействию более высоких температур (п. 2.5.3) должно проводиться аналогично п. 4.6.1а.

Температуру, продолжительность испытания и контролируемые параметры указывают в стандартах или технических условиях на кабели конкретных марок.

4.6.2. Испытание кабелей на воздействие пониженной температуры среды

а) испытание на воздействие пониженной температуры среды в условиях фиксированного монтажа (п. 2.5.1 - 10) должно проводиться методом 203-1 по ГОСТ 20.57.406-81 на образцах длиной не менее 0,6 м.

Образцы кабелей помещают в камеру холода свернутыми в бухты, внутренний диаметр которых указывают в стандартах или технических условиях на кабели конкретных марок.

После выдержки в камере холода в течение 3 ч образцы извлекают из камеры и выдерживают в нормальных климатических условиях в течение 1 ч, затем распрямляют и осматривают.

После испытаний на поверхности наружной оболочки не должно быть трещин, видимых без применения увеличительного прибора.

б) испытание кабелей на воздействие пониженной температуры среды в условиях изгиба (п. 2.6.5) должно проводиться на образцах длиной не менее 1 м в камере холода. Температура в камере указывается в стандартах или технических условиях на кабели конкретных марок. Образцы кабелей помещают в камеру холода в распрямленном состоянии. После выдержки в течение 2 ч в камере холода образцы изгибают при той же температуре на 180° вокруг цилиндра - 5 раз в одном направлении и 5 раз в противоположном.

Диаметр цилиндра указывают в стандартах или технических условиях на кабели конкретных марок.

На поверхности наружной оболочки не должно быть трещин, видимых без применения увеличительного прибора.

Осмотр оболочки кабелей в панцирной оплетке проводят в конце испытаний после снятия оплетки.

4.6.3. Испытание кабелей на стойкость к воздействию изменения температуры среды (п. 2.5.2) должно проводиться методом 205-1 по ГОСТ 20.57.406-81 на образцах кабелей длиной не менее 1 м.

Образцы, свернутые в бухты, помещают в камеру холода, выдерживают 2 ч, затем помещают в камеру тепла на 2 ч. Внутренний диаметр бухт и предельные температуры в камерах холода и тепла указывают в стандартах или технических условиях на кабели конкретных марок. В конце последнего цикла измеряют электрическое сопротивление изоляции при максимальной рабочей температуре по ГОСТ 3345-76. После этого образцы выдерживают не менее 1 ч в нормальных климатических условиях, осматривают и испытывают напряжением на соответствие требованию п. 2.3.2.

После испытаний на поверхности наружной оболочки не должно быть трещин, видимых без применения увеличительного прибора.

Осмотр оболочки кабелей в панцирной оплетке проводят в конце испытаний после снятия оплетки.

4.6.4. Испытание на воздействие повышенной влажности воздуха (п. 2.5.1 - 11) должно проводиться методами 207-2 и 208-2 по ГОСТ 20.57.406-81 на образцах кабелей длиной не менее 1,5 м.

Образцы кабелей свертывают в бухты внутренним диаметром, указанным в стандартах или технических условиях на кабели конкретных марок, и помещают в камеру влажности с выведенными наружу концами. Длина образца в камере должна быть не менее 1 м. Образцы выдерживают при относительной влажности 95 - 98% и температуре (40±2)°С в течение 48 ч при проведении периодических испытаний (метод 208-2) и 56 сут при проведении типовых и квалификационных испытаний (метод 207-2).

Затем образцы проверяют на соответствие требованию п. 2.3.3.

Примечание. В случае, если невозможно вывести концы наружу, то они должны быть герметично заделаны.

4.6.5. Испытание на воздействие пониженного или повышенного атмосферного давления (п. 2.5.1 - 5; 6) проводят соответственно методами 209-1 или 210-1 по ГОСТ 20.57.406-81 на образцах кабелей длиной не менее 1,5 м. Затем образцы проверяют на соответствие требованию п. 2.3.3.

4.6.6. Испытание на стойкость к динамическому воздействию пыли (п. 2.5.1 - 16) должно проводиться без электрической нагрузки методом 212-1 по ГОСТ 20.57.406-81 на образцах длиной не менее 1 м с герметично заделанными концами.

Образцы свертывают в плоские спиральные бухты внутренним диаметром, равным 10 диаметрам кабеля, и устанавливают вертикально в камеру пыли на вращающийся с постоянной скоростью стол. Испытание проводят в течение 2 ч при постоянной температуре воздуха в камере (55±3) °С.

По окончании испытания образцы извлекают из камеры, удаляют пыль с наружной поверхности и осматривают без применения увеличительного прибора. Внешний вид образцов должен удовлетворять требованиям, указанным в стандартах или технических условиях на кабели конкретных марок.

4.6.7. Проверка кабелей на стойкость к поражению плесневыми грибами (п. 2.5.1 - 19) должна проводиться методом 214-1 по ГОСТ 20.57.406-81 на образцах длиной не менее 0,6 м.

Образец считают стойким к воздействию плесневых грибов, если после первого или повторного испытания степень биологического обрастания оценена баллом 0; 1 или 2.

4.6.8. Испытание на стойкость к воздействию солнечного излучения (п. 2.5.17) проводят методом 211-1 по ГОСТ 20.57.406-81 на образцах длиной не менее 1,5 м, свернутых в плоские спиральные бухты, внутренним диаметром, указанным в стандартах или технических условиях на кабели конкретных марок.

Образцы закрепляют вертикально на отвесной стойке вращающегося столика.

Кабели считаются стойкими к воздействию солнечной радиации, если после окончания испытания и выдержки в нормальных условиях в течение 1 ч образцы выдерживают испытания на воздействие пониженной температуры среды в соответствии с п. 4.6.2.

4.6.9. Испытание на стойкость к воздействию соляного тумана (п. 2.5.1 - 14) проводят методом 215-1 по ГОСТ 20.57.406-81 на образцах длиной не менее 0,6 м каждый. Концы образцов должны быть загерметизированы.

Образцы подвешивают в камере соляного тумана в произвольном положении.

Общее время испытания в камере - 2 сут. По окончании испытания электрическое сопротивление изоляции должно быть не менее указанного в п. 2.3.3.

4.6.10. Испытание на стойкость к повышенному статическому гидравлическому давлению (п. 2.5.1 - 7) должно проводиться методом 216-1 по ГОСТ 20.57.406-81 на образцах длиной не менее 2,0 м.

После проведения испытаний электрическое сопротивление изоляции токопроводящих жил образцов должно быть не менее указанного в п. 2.3.3.

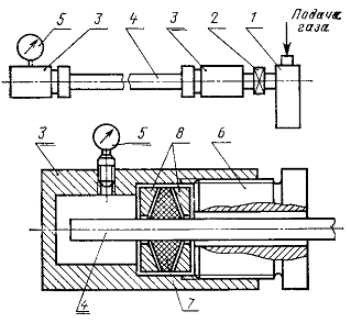
4.6.11. Испытание кабелей на стойкость к внутреннему избыточному давлению (п. 2.5.1 - 8) проводят на установке, принципиальная схема которой указана на черт. 2. Необходимость измерений наружных размеров кабелей при испытаниях на стойкость к внутреннему избыточному давлению указывается в стандартах или технических условиях на кабели конкретных марок.

Образец кабеля с обоих концов должен быть ровно обрезан в плоскости, перпендикулярной оси кабеля. Конец кабеля 4 с помощью гайки 6, металлических колец 8 и резинового кольца 7 уплотняется в корпусе сальника 3. Один сальник с уплотненным концом кабеля через игольчатый вентиль 2 подсоединяется к распределительной гребенке 1, другой сальник на другом конце кабеля, снабженный манометром 5, располагается свободно. Сухой воздух (азот) через распределительную гребенку и игольчатый вентиль подается под внутреннюю оболочку кабеля до тех пор, пока закрепленный на противоположном конце кабеля манометр 5 не покажет требуемое установившееся давление. Длина образца и скорость повышения давления указывают в стандартах или технических условиях на кабели конкретных марок.

Черт. 2

При испытании кабель должен сохранять радиальную герметичность, которая проверяется по отсутствию утечки воздуха (азота) при погружении испытуемого кабеля в воду.

После испытаний электрическое сопротивление изоляции токопроводящих жил образцов должно быть не менее указанного в п. 2.3.3.

4.6.1 - 4.6.11. (Измененная редакция, Изм. № 1).

4.7. Проверка соответствия требованиям к стойкости при специальных воздействиях

4.7.1. Испытание на стойкость к воздействию озона (п. 2.7.1) должно проводиться по методу, указанному в стандартах или технических условиях на кабели конкретных марок.

4.7.2. Испытание на стойкость кабелей к нераспространению горения (п. 2.7.2) должно проводиться на образцах кабелей длиной не менее 400 мм по ГОСТ 12176-76.

4.8. Контроль кабелей на соответствие требованиям к надежности

(Измененная редакция, Изм. № 1).

4.8.1. Испытания по подтверждению наработки прямым способом (п. 2.8.1) должны проводиться по полной и сокращенной программе по нормативно-технической документации на образцах длиной не менее 2,0 м.

а) Испытания по полной программе должны проводиться на образцах, свернутых в бухту. Количество образцов и внутренний диаметр бухт должны быть указаны в стандартах или технических условиях на кабели конкретных марок.

В начале испытаний образцы проверяют в объеме приемо-сдаточных испытаний. Дополнительно измеряют электрическое сопротивление жил. Электрические параметры должны соответствовать нормам, предусмотренным при приемке и поставке.

Образцы подвергают воздействию повторяющихся циклов.

Рекомендуется следующая последовательность воздействия в пределах одного испытательного цикла:

повышенная температура;

механические воздействия;

пониженная температура;

смена температуры;

повышенная влажность.

После каждого воздействия образцы выдерживают в нормальных климатических условиях не менее 3 ч.

Количество циклов выбирают из условия обеспечения общего времени воздействия максимальной температуры при эксплуатации, соответствующего наработке, установленной в стандартах или технических условиях на кабели конкретных марок.

При проведении испытаний ускоренным методом значение испытательной температуры и время ее воздействия в каждом цикле должны быть установлены в стандартах или технических условиях на кабели конкретных марок в соответствии с нормативно-технической документацией.

После каждого цикла и в конце испытаний производят внешний осмотр образцов без применения увеличительного прибора, измерение электрического сопротивления изоляции и электрического сопротивления жил, а также испытание напряжением.

Кабели считают выдержавшими испытания, если после каждого цикла в конце испытаний на поверхности образцов не обнаружены трещины и электрические параметры соответствуют нормам.

б) Испытания по сокращенной программе («испытания на безотказность») проводят в составе периодических испытаний в течение времени, достаточного для подтверждения наработки 500 ч.

При проведении испытаний ускоренным методом значение испытательной температуры и время ее воздействия и число испытываемых образцов должны быть указаны в стандартах или технических условиях на кабели конкретных марок в соответствии с нормативно-технической документацией. Воздействие температуры в камере тепла должно производиться по методу 201-1 ГОСТ 20.57.406-81.

После выдержки в камере тепла и в нормальных климатических условиях в течение 3 ч проводят внешний осмотр образцов без применения увеличительного прибора и испытание напряжением на соответствие требованию п. 2.3.2.

Провода считают выдержавшими испытание, если на поверхности образцов не обнаружены трещины и образцы выдерживают испытание напряжением.

4.8.2. Испытание по подтверждению наработки косвенным способом (п. 2.8.1) должно проводиться по нормативно-технической документации.

Для каждой партии кабелей по результатам испытаний напряжением определяется значение показателя уровня технологии. Кабели считают выдержавшими испытание, если полученное значение показателя уровня технологии меньше или равно его допустимому значению. В тех случаях, когда установлены другие показатели уровня технологии, конкретная методика испытаний по подтверждению наработки косвенным способом должна быть установлена в стандартах или технических условиях на кабели конкретных марок.

4.8.3. Испытания на сохраняемость (п. 2.8.2) должны проводиться по нормативно-технической документации.

От каждой марки кабеля отбирают образцы для двух групп испытаний. Длина образцов и их количество должны быть указаны в стандартах или технических условиях на кабели конкретных марок. Первую группу используют при контроле электрических параметров, вторую - при контроле холодостойкости в фиксированном состоянии (по методике, приведенной в п. 4.6.2 настоящего стандарта). Образцы кабелей второй группы испытывают без оплетки.

Образцы кабелей первой группы свертывают в бухты с внутренним диаметром, указанным в стандартах или технических условиях на кабели конкретных марок.

Контроль параметров и проверку внешнего вида без применения увеличительного прибора производят в исходном состоянии, а периодичность указывается в стандартах или технических условиях на кабели конкретных марок. В исходном состоянии параметры должны соответствовать нормам при приемке и поставке.

Кабели считают выдержавшими испытания, если при периодических контролях и в конце испытаний на поверхности образцов не обнаружены трещины, электрические параметры образцов первой группы соответствуют нормам и образцы второй группы выдерживают испытание на холодостойкость.

4.9. Проверку маркировки проводят по ГОСТ 18690-82.

(Введен дополнительно, Изм. № 1).

5. МАРКИРОВКА, УПАКОВКА, ТРАНСПОРТИРОВАНИЕ И ХРАНЕНИЕ

5.1. Под оболочкой или обмоткой у кабеля должны быть цветные отличительные нити предприятия-изготовителя.

Допускается отличительные признаки кабелей наносить другим способом в соответствии с ГОСТ 18690-82.

5.2. Кабели должны быть намотаны на барабаны или в бухты и упакованы по ГОСТ 18690-82.

Допускается намотка на барабан более трех длин кабеля при условии обеспечения возможности проведения их контроля.

Дополнительные требования к упаковке должны быть указаны в стандартах или технических условиях на кабели конкретных марок.

5.3. На ярлыке, прикрепленном к бухте, или на щеке барабана должны быть указаны:

товарный знак предприятия-изготовителя;

условное обозначение кабеля;

длина в метрах и число отрезков;

дата изготовления (год, месяц);

номер барабана предприятия-изготовителя;

номер партии.

Маркировка кабелей должна производиться по ГОСТ 18690-82.

На ярлыке должно быть проставлено клеймо технического контроля предприятия-изготовителя.

5.4. Транспортирование кабелей - по ГОСТ 18690-82.

Условия транспортирования в части воздействия климатических факторов устанавливают в стандартах или технических условиях на кабели конкретных марок.

5.5. Хранение кабелей должно производиться по ГОСТ 18690-82. Условия хранения кабелей в упаковке предприятия-изготовителя - 1, 2, 3 по ГОСТ 15150-69.

Срок хранения кабелей должен быть выбран из ряда: 5, 8, 10, 12, 15, 20, 25, 30, 35 лет и указан в стандартах или технических условиях на кабели конкретных марок. При этом минимальная температура хранения не должна быть ниже минимальной температуры, установленной в стандартах или технических условиях на кабели конкретных марок для работы в фиксированном состоянии.

5.2 - 5.5. (Измененная редакция, Изм. № 1).

6. УКАЗАНИЯ ПО ЭКСПЛУАТАЦИИ

6.1. Указания по эксплуатации, связанные с особенностями конструкции кабелей и условиями их применения, приводятся в стандартах или технических условиях на кабели конкретных марок.

7. ГАРАНТИИ ИЗГОТОВИТЕЛЯ

7.1. Изготовитель гарантирует соответствие кабелей требованиям настоящего стандарта и стандартов или технических условий на кабели конкретных марок при соблюдении условий хранения, транспортирования, монтажа и эксплуатации.

7.2. Гарантийный срок хранения кабелей выбирают из ряда: 5, 8, 10, 12, 15, 20, 25, 30, 35 лет.

Гарантийную наработку выбирают из ряда: 10000, 15000, 20000, 25000, 30000, 40000, 50000, 80000, 100000, 150000 ч и более.

Гарантийный срок эксплуатации выбирают из ряда: 15, 20, 25, 30 и 35 лет.

Гарантийный срок хранения исчисляется с момента изготовления кабеля; гарантийные наработки и срок эксплуатации - с момента ввода кабеля в эксплуатацию.

Конкретные значения гарантийных сроков должны быть указаны в стандартах или технических условиях на кабели конкретных марок.

Разд. 7 (Измененная редакция, Изм. № 1).

СОДЕРЖАНИЕ

 

 




ГОСТЫ, СТРОИТЕЛЬНЫЕ и ТЕХНИЧЕСКИЕ НОРМАТИВЫ.
Некоммерческая онлайн система, содержащая все Российские Госты, национальные Стандарты и нормативы.
В Системе содержится более 150000 файлов нормативно-технической документации, действующей на территории РФ.
Система предназначена для широкого круга инженерно-технических специалистов.

Рейтинг@Mail.ru Яндекс цитирования

Copyright © www.gostrf.com, 2008 - 2026