Крупнейшая бесплатная информационно-справочная система онлайн доступа к полному собранию технических нормативно-правовых актов РФ. Огромная база технических нормативов (более 150 тысяч документов) и полное собрание национальных стандартов, аутентичное официальной базе Госстандарта. GOSTRF.com - это более 1 Терабайта бесплатной технической информации для всех пользователей интернета. Все электронные копии представленных здесь документов могут распространяться без каких-либо ограничений. Поощряется распространение информации с этого сайта на любых других ресурсах. Каждый человек имеет право на неограниченный доступ к этим документам! Каждый человек имеет право на знание требований, изложенных в данных нормативно-правовых актах!

  


 

МИНИСТЕРСТВО
НЕФТЕПЕРЕРАБАТЫВАЮЩЕЙ И НЕФТЕХИМИЧЕСКОЙ
ПРОМЫШЛЕННОСТИ СССР

ТРЕБОВАНИЯ
К УСТАНОВКЕ
СИГНАЛИЗАТОРОВ И ГАЗОАНАЛИЗАТОРОВ

(ТУ-газ-86)

Москва- 1986

Настоящие Требования к установке сигнализаторов и газоанализаторов (ТУ-газ-86) разработаны Центральной научно-исследовательской лабораторией по газобезопасности совместно с НПО "Нефтехимавтоматика" и утверждены приказом Миннефтехимпрома СССР № 419 от 30.04.86.

При составлении Требований учтен опыт эксплуатации сигнализаторов и газоанализаторов на предприятиях Миннефтехимпрома СССР, а также консультации и предложения проектных институтов. ТУ-газ-86 вводится в действие с 1 января 1987 года. С введением в действие ТУ-газ-86 отменяются аналогичные Требования (ТУ-газ-75).

Составители: Р.М. Мулаков (ЦНИЛ газобезопасности)

Л.М. Рассказова (ЦНИЛ газобезопасности)

Н.Н. Степанова ((НПО "Нефтехимавтоматика")

1. ОБЩИЕ ПОЛОЖЕНИЯ

1.1. Настоящие Требования распространяются на вновь разрабатываемые проекты строительства и реконструкции производств нефтеперабатывающей и нефтехимической промышленности СССР.

1.2. Требования определяют порядок установки автоматических стационарных непрерывно действующих сигнализаторов и системы сигнализации довзрывных концентраций газов и паров в воздухе производственных помещений и наружных установок, а также сигнализаторов и газоанализаторов предельно допустимых концентраций вредных веществ в воздухе рабочей зоны производственных помещений.

1.3. В соответствии с настоящими Требованиями проектные организации определяют тип, количество сигнализаторов и газоанализаторов и места отбора проб газов и паров с учетом местных условий, технологических особенностей производства и т.д.

1.4. При проектировании, монтаже и эксплуатации автоматических стационарных средств контроля и сигнализации вредных и взрыво-пожароопасных газов и паров наряду с настоящими Требованиями следует руководствоваться соответствующими строительными нормами и правилами, Правилами устройства электроустановок (ПУЭ), Указаниями по проектированию электроустановок в системах автоматизации производственных процессов, правилами и нормами по технике безопасности и пожарной безопасности, утвержденными или согласованными Миннефтехимпромом СССР, и инструкциями заводов-изготовителей.

1.5. Датчики сигнализаторов и газоанализаторов, а также сигнальная аппаратура, устанавливаемые во взрывоопасных зонах, должны соответствовать категориям и группам взрывовопасных смесей, которые могут образоваться в этих зонах.

1.6. Сигнализаторы довзрывных концентраций, при их серийном производстве, должны устанавливаться:

- во взрывоопасных зонах класса В-1а, а также в зонах класса В-1б, указанных в подпункте 1 пункта УП-3-2 ПУЭ;

- во взрывоопасных зонах класса В-1г;

- в заглубленных помещениях с нормальной средой, куда возможно затекание горючих газов и паров извне.

1.7. Сигнализаторы и газоанализаторы предельно допустимых концентраций вредных веществ, при их серийном производстве, должны устанавливаться во всех производственных помещениях с наличием вредных веществ, независимо от класса их опасности.

1.0. При установке газоанализаторов или сигнализаторов для контроля предельно допустимых концентраций установка сигнализаторов довзрывных концентраций на данное вещество не требуется.

1.9. Сигнализаторы довзрывных концентраций, при содержании горючих газов и паров 5-50% от нижнего предела воспламенения (НПВ), и также газоанализаторы и сигнализаторы предельно допустимых концентраций, при содержании вредных веществ, превышающих предельно допустимые (ПДК), должны автоматически включать светозвуковую сигнализацию, оповещающую о наличии концентраций взрывоопасных или вредных веществ.

В случае необходимости, определяемой проектной организацией, от импульса датчиков довзрывных концентраций должно предусматриваться автоматическое отключение технологического оборудования или включение систем защиты.

1.10. Световой и звуковой сигналы о наличии опасных концентраций взрывоопасных или вредных веществ должны подаваться для постоянно обслуживаемых помещений - в загазованное помещение, для периодически обслуживаемых помещений - у входа в помещение.

1.11. Сигналы о срабатывании датчика сигнализатора довзрывных концентраций, установленного на открытой площадке, должны подаваться:

- в операторную или пункт управления производственным комплексом - световой и звуковой;

- на открытую площадку - только звуковой.

1.12. Световая сигнализация оформляется в виде светового табло, устанавливаемого в хорошо обозреваемом месте.

Световое табло целесообразно размещать отдельно от сигнализации параметров технологического контроля.

1.13. В производственных помещениях с наличием аварийной и вытяжной вентиляции газоанализаторы и сигнализаторы необходимо блокировать с пуском аварийной вентиляции. Она должна автоматически включаться в работу при срабатывании датчиков газоанализаторов и сигнализаторов.

1.14. Отбор проб контролируемого воздуха к датчикам сигнализаторов и газоанализаторов следует предусматривать в местах наиболее вероятного выделения и скопления газов и паров в зависимости от их свойств, количества, а также конструктивных особенностей оборудования с соблюдением при этом указаний, изложенных в разделах 2 и 3 настоящий Требований.

2. ПОРЯДОК УСТАНОВКИ СИГНАЛИЗАТОРОВ И ГАЗОАНАЛИЗАТОРОВ В ПРОИЗВОДСТВЕННЫХ ПОМЕЩЕНИЯХ

2.1. В помещениях компрессорных датчик сигнализатора довзрывных концентраций горючих газов и паров следует предусматривать у каждого компрессорного агрегата в районе наиболее вероятных источников утечек перекачиваемой среды (сальники, лабиринтные уплотнения и т.д.) на расстоянии не более 1 м (по горизонтали) от них.

2.2. В помещениях насосных сжиженных газов следует устанавливать один датчик сигнализатора довзрывных концентраций на насос или группу насосов при условии, если расстояние от датчика до наиболее удаленного места возможных утечек в этой группе насосов не превышает 3-х метров (по горизонтали).

2.3. В помещениях насосных легковоспламеняющихся жидкостей, а также в других взрывоопасных помещениях следует предусматривать одно пробоотборное устройство сигнализатора довзрывных концентраций на группу насосов, аппаратов или другого оборудования, при этом расстояние от пробоотборного устройства до наиболее удаленной точки возможных утечек в этой группе насосов, аппаратов или другого оборудования не должно превышать 4 метров (по горизонтали).

2.4. В заглубленных помещениях насосных сточных вод, оборотного водоснабжения и др., куда возможно затекание взрывоопасных газов и паров извне, а также складских помещениях при хранении в них ЛВЖ и горючих газов следует предусматривать по одному пробоотборному устройству сигнализатора довзрывных концентраций на канале 100 м2 площади помещения, но не менее одного датчика на помещение.

2.5. Пробоотбрные устройства сигнализаторов довзрывных концентраций следует размещать по высоте помещений в соответствии с плотностями газов и паров (см. приложение 1) с учетом поправки на температуру:

- при выделении легких газов с плотностью по воздуху менее 1 - над источником;

- при выделении газов и паров с плотностью по воздуху от 1 до 1,5 - на высоте источника или ниже его;

- при выделении газов и паров с плотностью по воздуху более 1,5 - не более 0,5 м над полом.

2.6. При наличии в производственном помещении смеси горючих газов и паров с различными плотностям пробоотборные устройства сигнализаторов довзрывных концентраций следует размещать по высоте, исходя из плотности того компонента смеси, для которого величина отношения  - наибольшая, где С - концентрация компонента в смеси. НПВ и С независимо друг от друга могут быть в любых единицах измерения, но одинаковых для всех компонентов смести.

Единицы измерения концентраций газов и их взаимный пересчет приведены в приложении 2.

2.7. Пробоотборные устройства газоанализаторов и сигнализаторов довзрывных концентраций вредных веществ следует размещать в рабочей зоне помещения в местах постоянного или временного пребывания обслуживающего персонала на высоте 1+1,5 м. На каждые 200 м2 площади помещения необходимо устанавливать одно пробоотборное устройство, но не менее 1 датчика на помещение.

2.8. При одновременном выделении в воздух рабочей зоны нескольких вредных веществ должен осуществляться контроль предельно допустимой концентрации того вещества, для которого соотношение  имеет наибольшее значение, где С - концентрация компонента в смеси.

2.9. При установке сигнализаторов и газоанализаторов довзрывных концентраций или предельно допустимых концентраций в производственных помещениях с несплошными и решетчатыми междуэтажными перекрытиями каждый этаж следует рассматривать как самостоятельное помещение.

2.10. Допускается (за исключением помещений компрессорных и насосных сжиженных газов) применять автоматические переключатели (приложение 3), для попеременной подачи проб контролируемого воздуха от нескольких точек отбора к одному датчику. При этом периодичность анализа для каждой точки отбора не должна превышать 10 мин.

2.11. Газоподводящие линии к датчикам сигнализаторов и газоанализаторов следует выполнять из труб с внутренним диаметром от 6 до 12 мм. В месте отбора проб анализируемого воздуха они должны заканчиваться обращенными вниз воронками высотой от 100 до 150 мм и диаметром от 50 до 100 мм.

2.12. Длина газоподводящих линий должна быть по возможности минимальной.

Время запаздывания поступления проб к датчику за счет газоподводящих линий не должно превышать 60 сек.

2.13. Материал пробоотборных устройств и газоподводящих линий должен обладать коррозионной устойчивостью к воздействию анализируемой и окружающей сред.

3. ПОРЯДОК УСТАНОВКИ ДАТЧИКОВ СИГНАЛИЗАТОРОВ ДОВЗРЫВООПАСНЫХ КОНЦЕНТРАЦИЙ НА ОТКРЫТЫХ УСТАНОВКАХ

3.1. Датчики сигнализаторов довзрывных концентраций устанавливаются только на той части площади открытой установки, где возможно оборудование с взрывопожароопасными продуктами.

3.2. Ближайшие датчики не должны удаляться более чем на 6 м от внешнего периметра открытой установки в сторону расположения на ней оборудования, за исключением случаев, когда оборудование не имеет взрывоопасных продуктов, датчики каждого последующего ряда по отношению к предыдущему ряду датчиков должны быть сдвинуты на величину их радиуса обслуживания, т.е. расположены в шахматном порядке.

3.3. Датчики сигнализаторов довзрывных концентраций следует устанавливать в местах наиболее вероятного выделения и скопления горючих паров и газов, но во всех случаях радиус обслуживания одного датчика не должен превышать 10 м.

При графической определении требуемого количества датчиков образующиеся между кругами зон защиты пространства, не обслуживаемые датчиками, учитывать не следует.

3.4. Датчики сигнализаторов следует располагать на высоте 0,5+1 м от нулевой отметки.

3.5. На многоярусных открытых этажерках датчики устанавливаются только на нулевой отметке.

3.6. Примерный порядок расположения датчиков на открытых установках показан в приложениях 4-5.

3.7. По периметру наружной установки, обращенному к печам, должно быть установлено не менее одного датчика на печь, при этом датчики сигнализатора устанавливаются против каждой стороны печи, обращенной к открытой установке.

3.8. Расстояние от места расположения датчиков сигнализаторов до печей должно быть не менее 15 м, но с соблюдением указаний, изложенных в пункте 3.3.

Примерный порядок расположения датчиков показан в приложении 6.

3.9. В открытых* компрессорных горючих газов, насосных сжиженных газов и легковоспламеняющихся жидкостей, а также при расположении насосов, рассредоточенных по установке (секции, в блоке), датчики сигнализаторов довзрывных концентраций устанавливаются с учетом указаний, изложенных в пунктах 2.1, 2.2, 2.3 настоящих требований.

Примерный порядок вложения датчиков показан в приложениях 7 и 8.

* К открытым насосным и компрессорным относятся:

- насосные и компрессорные, расположенные на открытых площадках или под навесами с частичным ограждением боковых сторон;

- насосные с частичным ограждением боковых сторон, расположенные под постаментом открытых этажерок;

- неотапливаемые компрессорные со съемным или раздвигающимся ограждением боковых сторон.

3.10. На сливо-наливных эстакадах следует устанавливать один датчик на две цистерны на нулевой отметке вдоль каждого фронта налива или слива.

При двухстороннем фронте налива или слива датчики располагать в шахматном порядке.


Приложение 1

Физико-химические свойства газов и паров

Наименование веществ

Формула

Молекулярный вес

Плотность, кг/м3

Плотность по воздуху

Предел воспламенения

ПДК мг/м3

Класс опасности

% об.

г/м3

нижний

верхний

нижний

верхний

1

2

3

4

5

6

7

8

9

10

11

Акриловометиловый эфир

C2Н=CHCOOCH3

85,09

955,0

 

1,2

13

43

458

20

4

Акриловоэтиловый эфир

C2Н=CHCOOC2H5

119,18

959,7

 

1,1

5,1

 

 

5

 

Акрилонитрил

СН2=СНСN

53,06

806,0

1,9

3,0

17

65

370

0,5

2

Акролеин

CH2=CHCHC

56,06

841,0

2,0

2,8

31

64

710

0,2

2

Аллиловый спирт

СH2СHСН2ОН

58,08

854,0

2,0

2,5

18

60

427

2

3

Аллил хлористый

CH2=CHCH2Cl

76,53

937,9

2,64

3,0

14,8

94

464

0,3

2

Амилацетат

CH3COOC5H11

130,2

877

 

1,0

7,5

 

 

100

4

a-Амилен

CH3-CH2CH2CH=CH2

70,14

640,5

2,4

1,4

8,7

40

250

 

 

Амиловый спирт

СН3H2)3СН2ОН

83,15

814,4

3,1

1,2

10

44

360

10

3

Амил хлористый

СН3H2)4Сl

106,60

883,0

3,7

1,6

8,6

70

375

 

 

Аммиак

NH3

17,03

681,4ж

0,597

17

28

118

195

20

4

Анилин

C6H5NH2

93,13

1022,0

3,3

1,32

8,3

50

315

0,1

2

Ацетальдегид

CH3CHO

44,05

780,0

1,6

4,12

55

74

990

5

3

Ацетилен

СН≡СН

26,04

1,174

0,9107

2,5

100

27

1063

 

 

Ацетон

3СOCH3

58,08

790,8

2,0

2,9

13

60

309

200

4

Бензин авиационный Б-100/130

 

 

728,2

 

0,98

5,48

 

 

 

4

Бензин авиационный каталитического крекинга

 

 

732,3

3,23

1,27

0,04

 

 

100

4

Бензин автомобильный А-72

 

 

730,0

3,33

1,08

5,03

 

 

100

4

Бензин автомобильный А-66

 

 

728,0

3,35

0,76

5,03

32,8

216

100

4

Бензин авиационный Б-70

 

 

745,0

3,27

0,92

5,16

37,4

216

100

4

Бензин Б-95/130

 

 

736,2

 

0,98

5,48

 

 

 

4

Бензин "Калоша"

 

 

722,0

 

1,1

5,4

 

 

 

4

Бензин прямой гонки

 

 

760,0

3,82

0,85

5,04

42,2

234

100

4

Бензин прямой гонки авиационный (базовый)

 

 

735,0

3,64

0,85

1,71

39,8

220

100

4

Мотобензин каталитического крекинга

 

 

798,0

3,59

0,96

4,96

40

209

100

4

Бензол

С6Н6

78,11

879,0

2,7

1,43

7,1

45,6

227

5

3

Бутан

CH3(CH2)CH3

53,12

2,672

2,0665

1,8

9,1

43

216

300

4

Бутилацетат

СН3СООС4Н9

116,16

870,0

4,0

1,43

14,7

67,8

697

200

4

Бутилен

CH3СH2CН=CН2

56,11

2,5

1,9336

1,81

9,4

41,4

215

 

 

Бутилен-2

CH3CH=CH3

56,11

626,9ж

2,0

1,8

9,7

42

223

 

 

Бутиловый спирт

СН3(СН2)2СН2ОН

74,12

809,8

2,6

1,81

12

55

364

10

3

трет-Бутиловый спирт

(CH3)3COH

74,12

788,7

2,6

1,9

9

58

273

 

 

Бутил хлористый

СН3(СН2)СН2Cl

92,56

892,0

3,2

1,85

10,1

70

382

 

 

Винилацетат

CH3COOCHCH2

86,09

835,0

2,96

2,5

17,5

88

61,6

10

3

Винилиденхлорид

CH2=CCl2

96,94

1250,0

3,35

5,6

11,4

223

353

50

4

Винил хлористый

СН2HСl

62,49

919,0

2,17

4,0

3,3

102

85

30

4

Винилциклогексан

СН2 =СНС6Н11

110,20

830

 

1,8

7,2

 

 

10

 

Водород

H2

2,016

0,0899

0,0695

4,09

75

3,3

62

 

 

Газ каталитического крекинга, жирный

 

 

1,979

1,55

3,43

11, 94

68

186

 

 

Газ каталитического крекинга, сухой

 

 

0,881

0,680

5,93

22,63

56,2

208

 

 

Газ пиролиза

 

 

1,272

0,980

3,62

12,38

12,38

157,5

 

 

Газ термического крекинга, сухой

 

 

1,006

0,780

3,31

11,98

33,1

119,8

 

 

Гексан

CH3(CH2)4CH3

86,18

659,35

3,0

1,242

7,5

44

264

300

4

Гептан

CH3(CH2)5CH3

100,21

683,74

3,5

1,07

6,7

45,7

275

300

4

Дибутилфталат

 

 

 

 

0,10

1,62

 

 

0,5

2

Дивинил

CH2=CHCH=CH2

54,09

2,4353

1,8832

2

11,5

44

254

100

4

Диизопропил

(CH3)2CHCH(CH3)2

86,18

661,62

3,0

1,2

7

43

247

 

 

Диизопропиловый эфир

[CH(CH3)2]2O

102,18

725,3

-

1,4

7,9

59

330

 

 

Диметилдиоксан

C2H12O2

116,16

960,0

4,0

 

 

 

 

10

3

Диметилпентан-2,3

(CH3)2CHCH(CH3)C2H5

100,21

695,08

 

1,1

6,8

45

279

 

 

Диметилформамид

(CH3)2NCHO

73,1

946

 

4,9

13,6

 

 

10

2

1,2-Дихлорпропан

CH3CHClCH2Cl

113,0

1159,0

 

3,4

14,5

157

670

10

3

Дихлорэтан

CH3CHCl2

98,6

1253,0

3,4

4,6

16

184

648

10

2

1,2-Дихлорэтилен

CHCl= CHCl

96,04

1236,9

3,3

9,8

14,3

389

568

 

 

Дициклопентадиен

(C5H6)2

132

977

 

0,46

3,4

 

 

1

2

Диэтиламин

(C2H5)2NH

73,14

712,5

2,53

1,77

14,9

53

446

30

4

Диэтиловый эфир

C2H5OC2H5

74,12

713,5

2,6

1,9

49

57,6

1446

300

4

Изоамиловый спирт

(CH3)2CHCH2CH2OH

80,15

812,9

3,1

1,4

9,0

51

324

 

 

втор-Изоамиловый спирт

(CH3)2CHCHOHCH3

88,15

819,0

3,0

1,2

9,0

43

324

 

 

Изобутан

(CH3)2CHOH3

58,12

2,672

2,0665

1,81

8,4

43

200

 

 

Изобутилен

(CH3)2C=CH2

56,11

2,500

1,9336

1,78

9,6

41

220

100

4

Изобутиловый спирт

(CH3)2CHCH2OH

74,12

800,0

2,56

1,81

7,3

55

221

 

 

Изовалерьяновоэтиловый эфир

(CH3)2CHCH2COO2H5

130,18

867

4,52

0,67

3,6

 

 

 

 

Изогептан

(CH3)2CH(CH2)3CH3

100,2

678,9

3,5

1,0

6,6

41

270

 

 

Изооктан

CH3C(CH3)2CHCH(CH3)2

114,22

691,9

4,0

0,95

6,0

45

280

 

 

Изопентан

(CH3)2CHCH2CH3

72,15

619,67

2,5

1,35

7,6

39,9

224

300

4

Изопрен

CH2=C(CH3) CH= CH2

68,12

680,9

2,4

1,7

11,5

48

320

40

4

Изопропилбензол

C6H5CH(CH3)2

120

861,8

4,4

0,93

6,0

46

320

50

4

Изопропиловый спирт

(CH3)2CHOH

60,09

785,1

2,1

2,23

12

55

295

 

 

Изопропилхлорид

CH3CHCl CH3

78,54

859,0

2,7

2,8

10,7

91

346

 

 

Керосин

 

120,0

792,0

4,15

1,4

7,5

69,2

370

300

4

Ксилол (смесь газомеров)

C6H4(CH3)2

106,16

855,0

3,66

1,0

6,2

43

274

50

3

м-Ксилол

C6H4(CH3)2

106,16

860,0

1,0

1,0

6,2

43

269

50

3

п-Ксилол

C6H4(CH3)2

106,16

861,1

3,66

1,0

5,6

43

243

50

3

Метакриловая кислота

CH2=C(CH3)COOH

86,09

1015,0

 

0,7

 

25

 

10

3

Метан

CH4

16,04

0,7166

0,5543

5,28

15

34,5

98

 

 

Метиламин

CH3NH2

31,06

1342,5

1,1

4,9

20,8

62

264

1

2

Метилацетат

CH3COOCH3

74,08

927,0

2,56

3,6

12,8

109

388

100

4

Метилметакрилат

CH2=C(CH3)COOCH3

100,11

943,0

 

1,5

11,6

61

474

10

3

Метиловый спирт

CH3OH

32,04

795,0

1,1

6,7

34,7

88

454

5

3

Метилпентан

C5H11CH3

86,18

659,9

 

1,2

7,0

42

246

 

 

Метилформиат

HCOOCH3

60,0

974,0

2,07

4,4

23

108

564

 

 

2-Метил-2-хлорбутан

(CH3)2CClС2H5

106,5

871,0

3,7

1,5

7,4

66

324

 

 

Метил хлористый

CH3Cl

50,48

952,0

1,74

7,6

19,0

155

389

5

2

Метилэтиленкетон

CH3COC2H5

72,1

805,0

2,5

1,9

10,0

56

294

200

4

Метиловый эфир

CH3OC2H5

60,09

726,0ж

2,1

2,0

10,0

49

245

 

 

Моновинилацетилен

HC≡C-CH=CH2

86,09

935,0

2,96

2,5

17,5

88

281

20

4

Муравьинобутиловый эфир

НСООС4Н9

102,13

912

3,47

1,6

8,3

 

 

 

 

Муравьинопропиловый эфир

НСОOС3Н7

88,1

901,0

3,04

2,3

7,8

83

281

 

 

Муравьиноизопропиловый эфир

НСОOСH(CH3)2

88,10

873

3,04

3,6

10,7

 

 

 

 

Неогексан

(CH3)3CCH2CH3

86,18

649,14

3,0

1,2

7,0

43

247

 

 

Неопентан

H3)2C(СН2)2

72,15

3,216

2,4879

1,4

7,5

41

221

 

 

Окись пропилена

53,08

358,0

2,0

2,1-2,8

21,5-37,0

50-66

510-878

1

2

Октан

CH3(CH2)6CH3

114,22

702,5

4,0

0,945

6,5

45

303

 

 

Окись углерода

CO

28,01

1,2500

0,967

12,5

74,0

144

877

20

4

Окись этилена

44,05

887,0

1,5

3,66

80,0

66

1440

1

2

Пентан

CH3(CH2)3CH3

72,15

626,17

2,5

1,47

7,8

 

230

300

4

Петролейный эфир

 

685,0

2,5

0,7-1,4

5,9-8,0

 

 

 

 

 

Пиридин

NСНСHHСH=СН

└──────────┘

79,10

978,0

2,7

1,85

12,4

60

390

5

2

Пропан

СН3СН2СН3

44,09

500,5

1,5617

2,3

9,5

41

156

1

 

Пропилен

СH3СН=СH2

42,08

1,8753

1,4504

2,3

10,3

39,5

177

 

 

Пропиловый спирт

CH3CH2CH2OH

60,10

804,4

2,1

2,34

13,5

57

332

10

3

Пропионовая кислота

СН3СН2СOOH

74,08

998,5

2,6

1,7

8,55

56

280

20

4

Пропионовоамиловый эфир

CH3CH2COOC5H11

114,22

876,1

4,97

1

 

 

 

 

 

Пропил хлористый

СН3СH2СН2Сl

78,54

890,0

2,71

2,6

11,6

84

377

 

 

Ртуть металлическая

Hg

200,59

 

 

 

 

 

 

0,01

1

Сернистый ангидрит

SO2

64,07

2,93

2,26

 

 

 

 

10

3

Серный ангидрит

SO3

80,0

1,922

2,77

 

 

 

 

1

2

Сероводород

H2S

34,08

1,539

1,191

4,0

46,0

57

640

10

2

Серооокись углерода

COS

60,08

2,721

2,1

11,9

28,5

292

700

10

3

Сероуглерод

CS2

76,14

11263,0

2,6

1,33

50

33

155

1

2

Скипидар

C10H16

136,23

875,0

4,7

0,8

 

45

 

300

4

Сольвент нефтяной

 

 

880,0

1,3

860

 

 

 

100

4

Сольвент каменноугольный

 

880,0

88060

 

2,0

 

 

 

 

 

Стирол

С6Н5СН=СН2

104,14

902,6

3,58

1,06

5,2

45

221

5

3

Тетрагидрофуран

C4H8O

72,11

885,0

2,48

1,78

 

52

 

100

4

Тетраэтилсвинец

(C2H5)Pb

323,37

 

11,2

 

 

 

 

0,005

1

Толуол

C6H5CH3

92,14

826,92

3,2

1,25

6,7

547

252

50

3

Топливо Т-1

 

 

80060

 

1,4

7,5

 

 

 

 

Триметиламин

(CH3)3N

59,11

679,0

2,1

2

11,6

49,1

280

5

2

Триэтиламин

(C2H5)3N

101,19

726,0

3,5

1,5

6,1

62

252

10

3

Уайт-спирит

 

770,0

770,0

 

 

 

 

 

300

4

Уксусная кислота

СН3СООH

60,05

1049,0

2,08

3,3

22

31

540

5

3

Уксусный ангидрит

(CH3CO)2O

102,09

1082

3,5

1,21

9,9

 

 

 

 

Уксусноамиловый эфир

CH3COOC5H11

130,19

877,4

4,5

1,0

7,5

 

 

 

 

Уксусноизоамиловый эфир

CH3COOC5H11

116,16

871

4

1,4

6,8

 

 

 

 

Уксуснопропиловый эфир

CH3COOC3H7

102,14

817,0

3,5

1,8

8,0

75

334

200

4

Уксусноэтиловый эфир

CH3COOC2H5

88,1

881,0

3,04

3,5

16,8

126

605

200

4

Фенол

C6H5OH

94,11

1054,5

2,98

0,3

2,4

12

93

0,3

2

Формальдегид

HCHO

30,03

815,0ж

1,1

7,0

73,0

86

896

0,5

2

Фурфурол

C4H3OCHO

96,08

1159,8

3,31

1,8

3,4

71

134

10

3

Хлорбензол

C6H5Cl

112,56

1106,0

3,9

1,4

7,1

64

328

50

3

Хлористый водород

HCl

36,46

1,6390

1,27

 

 

 

 

3

2

Хлористый этил

CH3CH2Cl

64,61

921,4

2,21

3,92

67,0

103

1755

50

4

2-Хлоропрен

CH3CCl=CH2

76,52

931,0

2,64

4,5

54,0

141

1600

0,05

1

Циклогексанон

C6H10O

98,14

950,0

3,38

0,82

35,0

37

141

10

3

Циклогексан

C6H12

84,16

778,5

2,9

1,2

10,6

42

365

80

4

Циклопентадиен

66,11

804,75

 

 

 

 

 

5

3

Этан

C2H6

30,07

1,3561

1,0488

3,07

15,0

38

184

 

 

Этилацетат

CH3COOC2H5

88,11

881,1

3,04

2,28

16,8

82

605

200

4

Этилен

CH2=CH2

28,05

1,2594

0,974

3,11

32

36

366

 

 

Этилбензол

C6H5C2H5

108,16

362,0

3,66

1,03

3,9

45,5

173

 

 

Этиленгликоль

62,07

1114

 

3,8

6,4

 

 

реком. 0,1

 

Этиловый спирт

CH3CH2OH

46,07

789,2

1,6

3,61

19 0

68

357

1000

4

Этиловый эфир

C2H5OC2H5

74,12

713,5

2,6

1,7

49

 

 

 

 

Этилформиат

HCOOC2H5

74,08

921,0

2,55

2,7

16,4

82

497

 

 

Этилхлоргидрин

92,52

1180,0

 

 

 

 

 

1

2

Этилцеллозольв

C2H5OCH2CH2OH

90,12

931,0

3,1

2,0

14-15,7

66-74

515-578

 

 

Приложение 2

Единицы измерения концентраций газов

 

Cx

г/м3

мг/м3

моль/дм3

%(об.)

дм33 (частей на тысячу)

ррm (ппм), см33 (частей на миллион)

ррb (ппб), мм33 (частей на миллиард)

Ca

 

1

2

3

4

5

6

7

8

г/м3

1

103 Са

кг/м

10-3 Cа

1

Моль/дм3

103 CаМ

106 CаМ

1

%(об.)

1

10 Са

104 Са

107 Са

дм33 (частей на тысячу)

10-1 Са

1

103 Са

106 Са

ррm (ппм), см33 (частей на миллион)

10-4 Са

10-3 Са

1

103 Са

ррb (ппб), мм33 (частей на миллиард)

10-7 Са

10-6 Са

10-3 Са

1

Примечание: Са - числовое значение концентрации в заданных единицах;

Сх - числовое значение концентрации в искомых единицах;

М - молекулярная масса газа;

Р - общее давление газовой смеси, Па;

Т - температура, °К;

1 г/м3= 1 мг/л;

1 мг/м3 = 1 мкг/дм3 и 1 мкг/л;

1 моль/дм3 = 1 моль/л;

1 см33= 1 мл/м3;

1 м33=1 мкл/м3.


Приложение 3

Переключатели газовые автоматические

№№ пп

Назначение

Краткая техническая характеристика

Изготовитель

1

2

3

4

1.

Переключатель газовый автоматический ПГП/12Д. Предназначен для автоматической поочередной подачи газовоздушной смеси от нескольких точек отбора на один газоанализатор с предварительной продувкой линии отбора перед подключением на анализ и для дистанционной передачи информации о номере точки отбора

Количество точек отбора в зависимости от обвязки 2,3,4,6 и 12 шт. Расход газа от каждой точки отбора не боле - 0,015 м3/час. Продолжительность отбора от одной точки при автоматическом режиме - от 30 до 300 с. Давление газовой смеси вакуумметрическое -2000 Па.

НПО Нефтехимавтоматика" Омское СКБ

2.

Коммутаторы газовых потоков КГП-2, 4, 8. Предназначены для автоматического подключения каждого из входных каналов последовательно к двум выходным каналам, первый из которых может быть использован для предварительной продувки входного канала перед подключением соответствующей точки отбора пробы через второй выходной канал к датчику анализатора концентраций или сигнализатора.

Количество подключаемых точек - 2, 4 или 8. Диапазон настройки времени подключения одной точки - от 10 до 100 с.

НПО Нефтехимавтоматика Башкирское СКБ

Приложение 4

Примерный порядок расположения датчиков сигнализаторов довзрывных концентраций на открытой установке шириной до 30 м:

    - места установки датчиков;

     - пространства ("мертвые" зоны), которые не следует учитывать при расстановке датчиков.

Расстояния даны в метрах

М 1:500

Приложение 5

Примерный порядок расположения датчиков сигнализаторов довзрывных концентраций на открытой установке шириной более 30 м:

       - места установки датчиков;

     - пространства ("мертвые" зоны), которые не следует учитывать при расстановке датчиков.

Расстояния даны в метрах

М 1:500

Приложение 6

Примерный порядок расположения датчиков сигнализаторов довзрывных концентраций у печей:

             - места установки датчиков;

П1, 2, 3         - печи.

Расстояния даны в метрах

Приложение 7

Примерный порядок расположения датчиков сигнализаторов довзрывных концентраций в насосных сжиженных газов и ЛВЖ:

                - места установки датчиков;

      - насосы, перекачивающие сжиженные газы;

      - насосы, перекачивающие ЛВЖ.

Расстояния даны в метрах.

М 1:100

Приложение 8

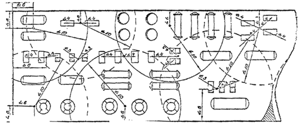
Примерный порядок расположения датчиков сигнализаторов довзрывных концентраций на открытой установке с наличием рассредоточенного расположения насосов:

                - места установки датчиков;

         - насосы, перекачивающие сжиженные газы;

         - насосы, перекачивающие ЛВЖ;

             - реакторы;

         - емкости;

        - теплообменники;

          - пространства ("мертвые" зоны), которые не следует учитывать при расстановке датчиков.

Расстояния даны в метрах.

М 1:200

СОДЕРЖАНИЕ

1. Общие положения. 1

2. Порядок установки сигнализаторов и газоанализаторов в производственных помещениях. 2

3. Порядок установки датчиков сигнализаторов довзрывоопасных концентраций на открытых установках. 3

Приложение 1 Физико-химические свойства газов и паров. 5

Приложение 2 Единицы измерения концентраций газов. 7

Приложение 3 Переключатели газовые автоматические. 9

Приложение 4 Примерный порядок расположения датчиков сигнализаторов довзрывных концентраций на открытой установке шириной до 30 м.. 9

Приложение 5 Примерный порядок расположения датчиков сигнализаторов довзрывных концентраций на открытой установке шириной более 30 м.. 9

Приложение 6 Примерный порядок расположения датчиков сигнализаторов довзрывных концентраций у печей. 10

Приложение 7 Примерный порядок расположения датчиков сигнализаторов довзрывных концентраций в насосных сжиженных газов и ЛВЖ... 10

Приложение 8 Примерный порядок расположения датчиков сигнализаторов довзрывных концентраций на открытой установке с наличием рассредоточенного расположения насосов. 10

 

 




ГОСТЫ, СТРОИТЕЛЬНЫЕ и ТЕХНИЧЕСКИЕ НОРМАТИВЫ.
Некоммерческая онлайн система, содержащая все Российские Госты, национальные Стандарты и нормативы.
В Системе содержится более 150000 файлов нормативно-технической документации, действующей на территории РФ.
Система предназначена для широкого круга инженерно-технических специалистов.

Рейтинг@Mail.ru Яндекс цитирования

Copyright © www.gostrf.com, 2008 - 2026