Крупнейшая бесплатная информационно-справочная система онлайн доступа к полному собранию технических нормативно-правовых актов РФ. Огромная база технических нормативов (более 150 тысяч документов) и полное собрание национальных стандартов, аутентичное официальной базе Госстандарта. GOSTRF.com - это более 1 Терабайта бесплатной технической информации для всех пользователей интернета. Все электронные копии представленных здесь документов могут распространяться без каких-либо ограничений. Поощряется распространение информации с этого сайта на любых других ресурсах. Каждый человек имеет право на неограниченный доступ к этим документам! Каждый человек имеет право на знание требований, изложенных в данных нормативно-правовых актах!

  


 

ОТРАСЛЕВОЙ СТАНДАРТ

УПЛОТНЕНИЯ ТОРЦОВЫЕ ВАЛОВ НАСОСОВ

Типы. Основные параметры и размеры.

ОСТ 26-06-1493-87

ОТРАСЛЕВОЙ СТАНДАРТ

УПЛОТНЕНИЯ ТОРЦОВЫЕ ВАЛОВ НАСОСОВ

Типы. Основные параметры и размеры.

ОСТ 26-06-1493-87

Дата введения 01.07.87

Несоблюдение стандарта преследуется по закону.

Настоящий стандарт распространяется на уплотнения торцовые валов насосов общепромышленного назначения подкласса 36 3000 Общесоюзного классификатора промышленной и сельскохозяйственной продукции (ОКП).

Стандарт не распространяется на торцовые уплотнения специальных насосов и насосов для нефтедобычи.

1. Торцовые уплотнения по типам классифицируются согласно РД 24.206-04-90 "Уплотнения валов насосов. Классификация и условные обозначения".

(Измененная редакция, Изм. № 1).

2. Основные параметры торцовых уплотнений и свойства перекачиваемой насосом жидкости приведены в табл.1.

3. Номенклатура типоразмеров торцовых уплотнений (кроме типов 422 и 562), приведена в табл.2; общий вид, основные и присоединительные размеры этих уплотнений приведены на черт.1 - 28 и в табл. 3.

4. Общий вид, основные и присоединительные размеры торцовых уплотнений типов 422 и 562 приведены на черт. 29, черт.30 и в табл. 4, табл. 5.

5. Чертежи камеры для установки торцовых уплотнений (кроме типов 422 и 562), и предельные отклонения расположения поверхностей деталей насоса, сопрягаемых с деталями торцовых уплотнений, приведены на черт. 31 (для неразгруженных уплотнений) и в табл. 6.

6. Для торцового уплотнения типа 422 неперпендикулярность поверхности Б относительно оси поверхности А не более 0,08 мм (черт. 29).

7. Условные обозначения торцовых уплотнений и материалов деталей торцовых уплотнений должны соответствовать РД 24.206-04-90 "Уплотнения валов насосов. Классификация и условные обозначения".

(Измененная редакция, Изм. № 1).

8. В случае применения одинарных торцовых уплотнений в конструкции насоса должно быть предусмотрено:

а) наличие жидкости в зоне пары трения торцового уплотнения при запуске и работе насоса - во избежание выхода уплотнения из строя из-за сухого трения;

Таблица 1

Тип уплотнения

Характеристика перекачиваемой жидкости

Давление МПа (кгс/см), не более

Температура, °С

Наименование

Максимальная объемная концентрация твердых частиц, %

111

1,0 (10)

от минус 40

до плюс 105

Вода, нефтепродукты и др. жидкости, в которых стойки резино-технические изделия уплотнения

0,1

132

4,0

211 (231,251)

2,0 (20)

1,0

231/231 (251/251)

от минус 40

до плюс 120

1,5

311 (331,351)

5,0 (50)

0,1

562

0,5 (5)

от 0

до плюс 90

15,0

113 (133,153)

1,0 (10)

от минус 40

до плюс 105

Кислоты органические и неорганические, растворители, растворы солей, щелочи и др. жидкости, не действующие разрушительно на металлические детали уплотнений

0,1

133/133 (153/153)

от минус 40

до плюс 200

1,5

313 (333,353)

3,0 (30)

от минус 60

до плюс 200

0,1

422

0,3 (3,0)

от минус 40

до плюс 80

Кислоты неорганические, высокоагрессивные, растворы солей и др. жидкости, в которых не стоек металл

0,1

Примечания:

1. Параметры перекачиваемой жидкости даны для зоны перед уплотнением (для двойных уплотнений - перед внутренним уплотнением).

2. Температурные пределы применения уплотнений определяются термостойкостью вторичных уплотнительных элементов и допустимой температурой жидкости в стыке пары трения. Применение уплотнений при температуре среды свыше указанных пределов допускается (при условии стойкости вторичных уплотнительных элементов) в том случае, если эта температура не менее чем на 20°С ниже температуры парообразования среды при данном давлении. В противном случае должно быть обеспечено охлаждение жидкости перед уплотнением.

3. Допустимая частота вращения вала для всех типов уплотнений - 3600 мин-1.

4. Уплотнение типа 562 предназначено для жидкостей, содержащих абразивные включения с размером не менее 0,1 мм. В жидкостях, содержащих абразивные включения меньших размеров, должны использоваться двойные уплотнения типов 562/562 или 562/132.

Таблица 2

Тип уплотнения

Диаметр вала, d1, мм

20

22

25*

28

30*

33

40

48

50*

55

70

80

90

110

130

111

 

 

+

+

 

+

+

+

 

+

 

 

 

 

 

132

+

+

+

+

 

+

+

+

+

+

+

+

+

+

 

113, 211, 313, 311

 

 

 

 

+

+

+

+

 

+

 

 

 

 

 

133, 153, 231, 251, 333, 353, 331, 351

 

 

 

 

 

 

 

 

 

 

+

 

+

 

 

153.1(2), 251.1(2), 353.1(2), 153.2/153.2, 251.2/251.2

 

 

 

 

 

+

 

+

 

+

+

+

+

+

+

133/133, 153/153, 231/231, 251/251

 

 

 

 

 

+

+

+

 

+

+

 

+

 

 

*В новых разработках не применяется

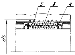
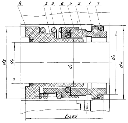
Уплотнение торцовое типа 111.

1 - кольцо неподвижное; 2 - кольцо вращающееся; 3 - пружина; 4 - обойма; 5 - втулка; 6,7,8 - кольца уплотнительные.

Черт. 1

Уплотнение торцовое типа 132

1 - кольцо неподвижное; 2 - кольцо вращающееся; 3 - пружина волнистая; 4 - сильфон; 5 - обойма; 6 - кольцо; 7 - втулка упорная; 8 - винт стопорный; 9 - кольцо уплотнительное.

Черт. 2.

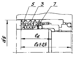
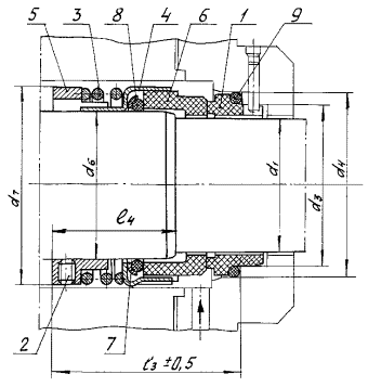
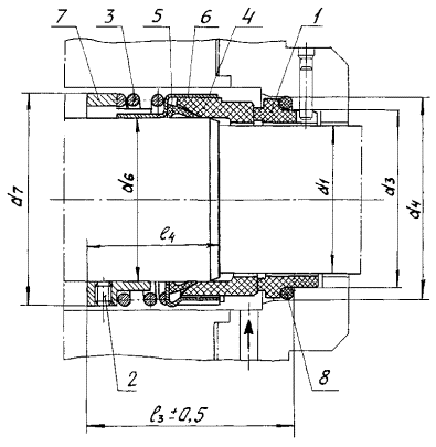
Уплотнение торцовое типа 113

1 - кольцо неподвижное; 2 - винт стопорный; 3 - пружина; 4 - кольцо вращающееся; 5 - кольцо уплотняющее клино-сферическое; 6 - обойма; 7 - втулка упорная; 8 - кольцо уплотнительное.

Черт. 3.

Уплотнение торцовое типа 133

7 - втулка упорная; 3 - пружина волнистая

Остальное см. черт. 3

Черт. 4.

Уплотнение торцовое типа 153

7 - сепаратор; 3 - набор пружин

Остальное см. черт. 3

Черт. 5.

Уплотнение торцовое типа 153.1

7 - сепаратор; 3 - набор пружин; 9 - шайба

Остальное см. черт. 3

Черт. 6.

Уплотнение торцовое типа 153.2

7 - импеллер; 3 - набор пружин; 9 - шайба

Остальное см. черт. 3.

Черт. 7.

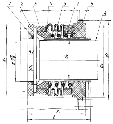
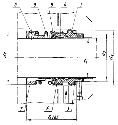
Уплотнение торцовое типа 211

1 - кольцо неподвижное; 2 - винт стопорный; 3 - пружина; 4 - обойма; 5 - втулка упорная; 6 - кольцо вращающееся; 7 - вкладыш; 8,9 - кольца уплотнительные.

Черт. 8.

Уплотнение торцовое типа 231

5 - втулка упорная; 3 - пружина волнистая.

Остальное см. черт. 8.

Черт. 9.

Уплотнение торцовое типа 251

5 - сепаратор; 3 - набор пружин.

Остальное см. черт. 8.

Черт. 10.

Уплотнение торцовое типа 251.1

5 - сепаратор; 3 - набор пружин; 7 - вкладыш.

Остальное см. черт. 8.

Черт. 11.

Уплотнение торцовое типа 251.2

5 - импеллер; 3 - набор пружин; 7 - вкладыш.

Остальное см. черт. 8.

Черт. 12.

Уплотнение торцовое типа 313

1 - кольцо неподвижное; 2 - винт стопорный; 3 - пружина; 4 - кольцо вращающееся; 5 - кольцо уплотняющее клино-сферическое; 6 - обойма; 7 - втулка упорная; 8 - кольцо уплотнительное.

Черт. 13.

Уплотнение торцовое типа 333

7 - втулка упорная; 3 - пружина волнистая.

Остальное см. черт. 13.

Черт. 14.

Уплотнение торцовое типа 353

7 - сепаратор; 3 - набор пружин.

Остальное см. черт. 13.

Черт. 15.

Уплотнение торцовое типа 353.1

7 - сепаратор; 3 - набор пружин; 9 - шайба.

Остальное см. черт. 13.

Черт. 16.

Уплотнение торцевое типа 353.2

7 - импеллер; 3 - набор пружин; 9 - шайба.

Остальное см. черт. 13.

Черт. 17.

Уплотнение торцовое типа 311

1 - кольцо неподвижное; 2 - винт стопорный; 3 - пружина; 4 - обойма; 5 - втулка упорная; 6 - кольцо вращающееся; 7 - вкладыш; 8,9 - кольца уплотнительные.

Черт. 18.

Уплотнение торцовое типа 331

5 - втулка упорная; 3 - пружина волнистая.

Остальное см. черт. 18.

Черт. 19.

Уплотнение торцовое типа 351

5 - сепаратор; 3 - набор пружин.

Остальное см. черт. 18.

Черт. 20

Уплотнение торцовое типа 351.1

5 - сепаратор; 3 - набор пружин; 7 - вкладыш.

Остальное см. черт. 18.

Черт. 21.

Уплотнение торцовое типа 351.2

5 - импеллер; 3 - набор пружин; 7 - вкладыш.

Остальное см. черт. 18

Черт. 22.

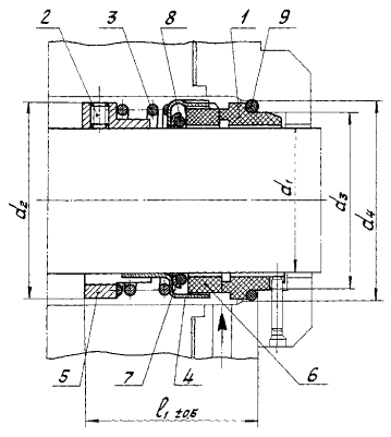
Уплотнение торцовое типа 133/133

1 - кольцо неподвижное; 2 - кольцо вращающееся; 3 - кольцо уплотняющее клино-сферическое; 4 - обойма; 5 - кольцо уплотнительное; 6 - пружина волнистая; 7 - втулка упорная; 8 - винт стопорный.

Черт. 23.

Уплотнение торцовое типа 153/153

7 - сепаратор; 6 - набор пружин.

Остальное см. черт. 23.

Черт. 24.

Уплотнение торцовое типа 153.2/153.2

7 - импеллер; 6 - набор пружин; 9 - шайба.

Остальное см. черт. 23.

Черт. 25.

Уплотнение торцовое типа 231/231

1 - кольцо неподвижное; 2 - кольцо вращающееся; 3 - обойма; 4 - вкладыш; 5 - втулка; 6,7 - кольцо уплотнительное; 8 - пружина волнистая; 9 - винт стопорный.

Черт. 26.

Уплотнение торцовое типа 251/251

5 - сепаратор; 8 - набор пружин.

Остальное см. черт. 26.

Черт. 27.

Уплотнение торцовое типа 251.2/251.2

5 - импеллер; 8 - набор пружин; 4 - вкладыш.

Остальное см. черт. 26.

Черт. 28.

Таблица 3

мм

d1

d2

d3

d4

d5

d6

d7

d8

d0

Не более

l7

l8

l1

l2

l3

l4

l5

l6

20

34

29

35

-

24

38

-

-

-

37,5

-

-

-

-

-

-

22

36

31

37

-

26

40

-

-

25

39

34

40

-

30

44

-

20

50

40

28

42

37

43

-

33

47

-

22

42,5

30

44

39

45

-

35

49

-

-

65

45

50

30

33

47

42

48

50,5

38

54

55,5

28

55

42

30

38

76

40

56

51

58

60,5

45

61

65,5

36

45

75

52

52,5

29,5

42

84

48

64

59

66

68,5

53

69

73,5

38

60

85

62

43

86

50

66

62

70

70,5

55

71

75,5

-

47,5

60

57,5

32,5

55

71

67

75

75,5

60

80

80,5

45

70

44,5

89

70

90

83

92

95

75

99

100

-

-

60

-

-

70

42

50

100

80

104

95

105

109

85

109

114

-

55,5

111

90

114

105

115

119

95

119

124

-

65

75

47

110

134

125

135

140,5

115

139

145,5

-

70

80

50

62

124

130

154

145

155

160,5

135

159

165,5

-

(Измененная редакция, Изм. № 1).

Уплотнение торцовое типа 422

1 - пружина; 2 - кольцо вращающееся; 3 - кольцо неподвижное; 4 - сильфон; 5 - втулка; 6 - фланец; 7 - прокладка.

Черт. 29.

Таблица 4

мм

d0

d

d1

d2

d3

l

l1

l2

33

34

76

88

78

93

74

8

48

49

95

103

97

98

81

55

56

102

112

105

70

71

118

128

120

102

85

10

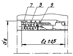
Уплотнение торцовое типа 562

1 - втулка; 2 - сильфон; 3 - обойма неподвижная; 4 - кольцо неподвижное; 5 - хомут; 6 - кольцо вращающееся; 7 - обойма вращающаяся; 8 - отбойник.

Черт. 30.

Таблица 5

мм

d0

d

d1

d2

d3

d4

d5

l

l1

45

40

60

76

75

80

87

7

22

55

50

70

86

85

90

97

70

65

85

101

100

105

112

90

85

105

128

125

132

140

9

27

110

105

125

148

145

152

160

1.* Только для уплотнений с импеллером (типы 153.2, 251.2/251.2 и др.)

2.** Для уплотнений с импеллером - d6 Н9

3.*** Кроме уплотнений типа 111.

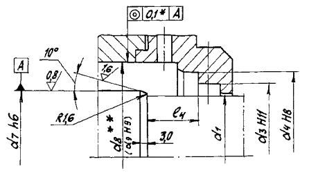
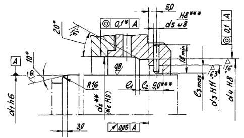
Черт. 31.

1.* Только для уплотнений с импеллером.

2.** Для уплотнений с импеллером - d9 H9.

Остальное см. черт. 31

Черт. 32.

Таблица 6

мм

d1

d2

d3

d4

d5

d6

d7

d8

d9

l1

l2

l3

l4

20

36

29

35

3

-

24

40

-

2,0

5

4

20

22

38

31

37

-

26

42

-

25

41

34

40

-

30

46

-

28

44

37

43

-

33

49

-

30

46

39

45

-

36

51

-

33

49

42

48

51

38

58

56

40

60

51

58

4

61

45

65

66

6

4,5

23

48

68

59

67

69

53

73

74

50

70

62

70

71

55

75

76

2,5

25

55

75

67

75

76

60

85

81

70

95

83

92

96

75

104

101

7

6

28

80

109

95

105

110

85

114

115

90

119

105

115

120

95

124

125

110

139

125

135

5

142

115

144

147

30

130

159

145

155

162

135

164

167

(Измененная редакция, Изм. № 1).

б) подача в камеру торцового уплотнения (за исключением типов 422 и 562) перекачиваемой жидкости под давлением, превышающим не менее чем на 0,05 МПа (0,5 кгс/см2) давление жидкости в камере уплотнения - для устранения застойных зон с повышенной температурой.

Входное отверстие для подачи циркулирующей жидкости рекомендуется располагать в корпусе (крышке) торцового уплотнения напротив стыка пары трения.

Величина входного отверстия должна быть не менее:

для насосов с диаметром вала (втулки) под уплотнением

до 40 мм                     - 6 мм

от 40 до 80 мм            - 8 мм

свыше 80 мм               - 10 мм

9. В случае применения двойных торцовых уплотнений в камеру уплотнения должна быть обеспечена подача нейтральной затворной жидкости напроток под давлением, превышающим на 0,1 - 0,15 МПа (1,0 - 1,5 кгс/см2) давление перекачиваемой жидкости перед уплотнением, с температурой не выше 80°С.

Входное отверстие для подачи затворной жидкости должно располагаться в нижней части корпуса (крышки) торцового уплотнения, выходное - в верхней части корпуса.

ИНФОРМАЦИОННЫЕ ДАННЫЕ

1. УТВЕРЖДЕН Министерством химического и нефтяного машиностроения.

ИСПОЛНИТЕЛИ: В.В. Гордеев, канд. техн. наук (руководитель темы); П.С. Бондаренко

ЗАРЕГИСТРИРОВАН

за № _________________ от ______________ 19__ г.

2. ВЗАМЕН ОСТ 26-06-1493-76

3. В конструкциях торцовых уплотнений, приведенных в стандарте, использованы авторские свидетельства № 36704, 469627, 731152, 813018, 815391.

4. Стандарт соответствует международному стандарту ИСО 3069-74 (кроме типов 111, 422, 562, 153.2, 251.2, 353.2, 351.2, 153.2/153.2, 251.2/251.2).

5. ССЫЛОЧНЫЕ НОРМАТИВНО-ТЕХНИЧЕСКИЕ ДОКУМЕНТЫ

Обозначение НТД, на который дана ссылка

Номер пункта, подпункта перечисления, приложения

ОСТ 26-06-1423-87

п.п. 1, 7

УТВЕРЖДАЮ

Зам. министра химического

и нефтяного машиностроения

________________ Г.Ф. Шеин

22.01.1987г.

ЛИСТ УТВЕРЖДЕНИЯ

Уплотнения торцовые валов динамических насосов.

Типы. Основные параметры и размеры.

ОСТ 26-06-1493- 87

Зам. директора ВНИИгидромаш                                                                   В.Н. Васильев

Зав. базовым отраслевым отделом

стандартизации ВНИИгидромаш                                                                 А.И. Климов

Зав. отделом уплотнений

ВНИИгидромаш, руководитель темы                                                           В.В. Гордеев

Исполнитель, научный сотрудник                                                                П.С. Бондаренко

 




ГОСТЫ, СТРОИТЕЛЬНЫЕ и ТЕХНИЧЕСКИЕ НОРМАТИВЫ.
Некоммерческая онлайн система, содержащая все Российские Госты, национальные Стандарты и нормативы.
В Системе содержится более 150000 файлов нормативно-технической документации, действующей на территории РФ.
Система предназначена для широкого круга инженерно-технических специалистов.

Рейтинг@Mail.ru Яндекс цитирования

Copyright © www.gostrf.com, 2008 - 2026