Крупнейшая бесплатная информационно-справочная система онлайн доступа к полному собранию технических нормативно-правовых актов РФ. Огромная база технических нормативов (более 150 тысяч документов) и полное собрание национальных стандартов, аутентичное официальной базе Госстандарта. GOSTRF.com - это более 1 Терабайта бесплатной технической информации для всех пользователей интернета. Все электронные копии представленных здесь документов могут распространяться без каких-либо ограничений. Поощряется распространение информации с этого сайта на любых других ресурсах. Каждый человек имеет право на неограниченный доступ к этим документам! Каждый человек имеет право на знание требований, изложенных в данных нормативно-правовых актах!

  


 

ОТКРЫТОЕ АКЦИОНЕРНОЕ ОБЩЕСТВО «ГАЗПРОМ»

ВЕДОМСТВЕННЫЕ НОРМЫ

СТРОИТЕЛЬСТВО ПОДВОДНЫХ ПЕРЕХОДОВ ГАЗОПРОВОДОВ
СПОСОБОМ НАПРАВЛЕННОГО БУРЕНИЯ

Утверждены РАО «Газпром»

(Приказ от 24.07.1998 г., № 99)

Москва 1998

ВЕДОМСТВЕННЫЕ НОРМЫ

СТРОИТЕЛЬСТВО ПОДВОДНЫХ ПЕРЕХОДОВ ГАЗОПРОВОДОВ
СПОСОБОМ НАПРАВЛЕННОГО БУРЕНИЯ

SPRECIFICATION DIRECTIONAL DRILLER SUBMARINE PIPELINES

Дата введения 01.08.1998 г

Ведомственные нормы разработаны Всероссийским научно-исследовательским институтом по строительству трубопроводов АО «ВНИИСТ» (канд. техн. наук М.А. Камышев - руководитель темы, кандидаты техн. наук Б.М. Кукушкин, С.И. Левин, В.К. Ким, инж. А.М. Камышев при участии инженеров В.С. Мальцева, П.П. Башаратьяна и И.И. Чернявского).

ПОДГОТОВЛЕНЫ К УТВЕРЖДЕНИЮ - Управлением проектирования и экспертизы Департамента перспективного развития.

СОГЛАСОВАНЫ с Госгортехнадзором России от 20.02.96 № 10-13/47, предприятием «Мострансгаз» (письмо от 01.06.98 № 07-08-91-2628).

ВВЕДЕНИЕ

Настоящие Ведомственные нормы содержат рекомендации по проектированию и строительству переходов через водные препятствия стальных трубопроводов, осуществляемых способом наклонно-направленного бурения.

Отличительной особенностью технологии строительства трубопровода наклонно-направленным бурением является бестраншейный способ прокладки трубопровода в предварительно пробуренную и расширенную скважину при помощи специального бурового оборудования.

Принципиальным отличием метода направленного бурения от обычного является то, что трубопровод при строительстве и при эксплуатации не соприкасается с водной средой, которую он пересекает и может быть заглублен на русловом участке практически на любую глубину, исключающую последующие внешние воздействия на него при любых прогнозируемых деформациях русла и берегов.

Способ наклонно-направленного бурения, рассматриваемый в настоящих ВН применительно к строительству подводных переходов газопроводов через реки, может также применяться на пересечениях газопроводов с другими искусственными и естественными препятствиями.

ПРЕИМУЩЕСТВА И ОГРАНИЧЕНИЯ СПОСОБА НАПРАВЛЕННОГО БУРЕНИЯ

Преимуществами способа направленного бурения при строительстве подводных переходов трубопроводов являются:

· - возможность прокладывать трубопроводы ниже прогнозируемых русловых деформаций, что надежно защищает трубопровод от любых механических повреждений;

· - при строительстве и эксплуатации сохраняется естественный режим водной преграды, что соответствует повышенным экологическим требованиям и имеет особое значение при пересечении трубопроводами рек с развитым рыболовством;

· - способ ННБ исключает необходимость дноуглубительных, подводно-технических, водолазных и берегоукрепительных работ при строительстве переходов через водные препятствия, составляющих более 50 % стоимости перехода;

· - исключается необходимость балластировки трубопроводов (балластных грузов и утяжеляющих покрытий);

· - не требуются взрывные работы по рыхлению плотных грунтов для последующего рытья подводной траншеи;

· - строительство перехода возможно в любое время года и упрощаются согласования с заинтересованными организациями (Рыбнадзором и другими).

Условиями, ограничивающими возможность применения способа направленного бурения, являются:

· - неблагоприятные грунтовые условия: направленное бурение представляет значительную сложность в гравийных грунтах (гравия более 30 %), в грунтах типа плывунов, в грунтах с включением валунов и булыжника. В таких случаях усложняется контроль при бурении пионерной скважины, возможен обвал грунта при расширении пионерной скважины и заклинивание рабочего трубопровода при его протаскивании;

· - другими ограничивающими факторами являются диаметр рабочего трубопровода, превышающий 1220 мм, и длина бурения горизонтальной скважины, превышающая 2 км. Для прокладки направленным бурением трубопроводов диаметром более 1220 мм и протяженностью свыше 2 км требуется более мощное оборудование и совершенная технология.

ОБЛАСТЬ ПРИМЕНЕНИЯ НАКЛОННО-НАПРАВЛЕННОГО БУРЕНИЯ ПРИ СТРОИТЕЛЬСТВЕ ТРУБОПРОВОДОВ

Строительство подводных переходов трубопроводов любых назначений наклонно-направленным бурением при благоприятных геологических условиях, наиболее эффективно и рекомендуется в следующих случаях:

· - строительство переходов через реки со значительными деформациями русла и большими скоростями течения, исключающими возможность предварительного (до укладки трубопровода) рытья траншей (например, Аму-Дарья и другие реки);

· - ограниченное свободное пространство в коридоре, где проложено несколько трубопроводов и невозможно выполнить требование СНиП о минимальном расстоянии проектируемого трубопровода до существующих;

· - когда невозможно выполнить требование СНиП о строительстве подводного перехода обычным способом ниже по течению от мостов и других сооружений;

· - при пересечении водной преграды с интенсивным судоходством и искусственными сооружениями на берегу (набережные, дороги, промпредприятия и другие);

· - когда требуется капитальный ремонт или реконструкция существующего подводного перехода прокладкой новых трубопроводов;

· - строительство прибрежных участков морских трубопроводов при обрывистых берегах, течениях и значительных волновых воздействиях, когда устройство траншеи для заглубления трубопровода представляет большие сложности;

· - в случаях, когда технико-экономическими расчетами установлено сокращение средств и времени при использовании направленного бурения для строительства перехода трубопровода.

Глава 1. ИНЖЕНЕРНЫЕ ИЗЫСКАНИЯ

1.1. Общие требования

1.1.1. Инженерные изыскания для строительства переходов трубопроводов через водные препятствия способом наклонно-направленного бурения (ННБ) должны включать комплексное изучение природных условий района строительства для получения необходимых и достаточных материалов для проектирования и строительства перехода.

1.1.2. Инженерные изыскания следует выполнять в соответствии с требованиями СНиП 1.02.07-87 «Инженерные изыскания для строительства» в объеме, установленном для строительства переходов трубопроводов через водные препятствия с учетом дополнительных рекомендаций, изложенных в настоящих ВН.

1.1.3. Инженерные изыскания должны включать топографические, гидрографические, геологические и гидрогеологические изыскания.

Полученные в результате инженерных изысканий материалы должны быть достаточны для выбора проектной организацией варианта строительства перехода трубопровода бестраншейным способом направленного бурения или обычным открытым способом с устройством траншеи (см. п. 1.2. ВН).

1.1.4. Инженерные изыскания должны выполняться изыскательскими, проектно-изыскательскими и проектными организациями, которым в установленном порядке предоставлено такое право.

1.1.5. Для выполнения инженерных изысканий на проектирование и строительство перехода способом ННБ должны быть составлены техническое задание, программа изысканий и сметно-договорная документация.

1.1.6. Техническое задание на изыскания должно составляться Заказчиком (его проектной организацией) и выдаваться изыскательской организации по согласованию с подрядной организацией, выполняющей строительство перехода наклонно-направленным бурением с привлечением в необходимых случаях изыскательской организации.

Техническое задание на изыскания должно содержать необходимые и достаточные сведения для организации и производства изысканий, проводимых для проектирования, разработки технологии бурения и организации строительства.

1.1.7. Программа инженерных изысканий должна составляться изыскательской организацией на основе технического задания Заказчика с максимальным использованием материалов ранее выполненных инженерных изысканий в районе строительства перехода.

Программа инженерных изысканий составляется с участием проектной организации и субподрядной организации, выполняющей работы по ННБ на переходе, и подлежит согласованию с Заказчиком.

1.1.8. Материалы выполненных инженерных изысканий для проектирования и строительства перехода способом ННБ, оформленные в виде технического отчета, предоставляются:

· заказчику инженерных изысканий (проектной организации Заказчика);

· подрядной организации по строительству перехода;

· субподрядной организации, выполняющей наклонно-направленное бурение.

1.2. Геологические изыскания

1.2.1. В результате геологических изысканий должны быть получены данные для:

· технико-экономических расчетов по выбору метода строительства перехода;

· выбора наиболее эффективного бурового оборудования и состава бурового раствора;

· определения проницаемости грунтов на русловом участке перехода и возможности просачивания бурового раствора и подпорной жидкости при бурении скважины;

· определения коэффициента трения для расчета величины тягового усилия;

· прогнозирования русловых деформаций на участке перехода;

· построения расчетного профиля бурения скважины.

1.2.2. Глубина бурения скважины должна быть на 8-9 м ниже проектируемого заглубления трубопровода.

1.2.3. Для переходов через широкие водные преграды могут быть рекомендованы двухэтапные буровые работы. Вначале на большом расстоянии друг от друга пробуриваются скважины на увеличенную глубину. На втором этапе - скважины с меньшим расстоянием одна от другой на наиболее ответственных участках, например, в местах криволинейной траектории скважины.

1.2.4. Расстояние между буровыми скважинами при изысканиях принимается:

для сравнительно коротких переходов равными 50-120 м и для переходов через широкие реки 120-200 м, если не предполагается каких-либо аномалий (например, валуны, булыжники или галечник), заставляющих уменьшить расстояние между скважинами.

1.2.5. Буровые скважины располагаются попеременно справа и слева от створа перехода на максимальном расстоянии 10 м и минимальном расстоянии 5 м от створа перехода.

1.2.6. Все имеющиеся пустоты и скважины после изысканий должны заполняться цементным раствором для предупреждения возможности утечки буровой жидкости при направленном бурении.

1.2.7. При выполнении буровых работ во время изысканий должен фиксироваться тип бура, условия бурения должны отмечаться в журнале работ для дальнейшей передачи подрядной организации, выполняющей строительство перехода способом ННБ, что должно облегчить выбор необходимого бурового оборудования.

1.3. Лабораторные исследования грунта

1.3.1. В результате лабораторных исследований должны быть получены данные о прочности грунта, его сопротивлении деформации и проницаемости, гранулометрическом составе, плотности частиц грунта, пределах пластичности и текучести, пористости и других свойствах грунта, необходимых для разработки технологии ННБ, указанных в СНиП 1.02.07-87.

Состав лабораторных исследований уточняется проектной организацией и указывается в техническом задании на изыскательские работы.

1.4. Прогнозирование русловых деформаций

1.4.1. Прогнозирование русловых деформаций пересекаемой водной преграды следует выполнять в соответствии с требованиями п. 4.42 СНиП 1.02.07-87.

Для определения характера и величины русловых деформаций следует использовать Рекомендации «Учет деформаций речных русел и берегов водоемов в зоне подводных переходов магистральных трубопроводов (нефтегазопроводов) ВСН 163-83 Миннефтегазстроя, Л., Гидрометеоиздат, 1985.

1.4.2. Результатом прогнозирования русловых деформаций является составление прогнозных профилей размыва дна русла и берегов за расчетный период, равный 3-х кратному периоду эксплуатации переходами определение профиля бурения скважины и проектируемого трубопровода.

1.5. Топографическая съемка

1.5.1. Топографическую съемку следует выполнять в объеме, установленном для проектирования подводных переходов магистральных трубопроводов обычным способом и в соответствии с требованиями СНиП, действующими на этот вид работ и применяемые приборы и оборудование.

При выполнении топографических работ следует учитывать необходимость двух строительных площадок на обоих берегах: одной для размещения буровой установки и оборудования и второй для монтажа и сварки рабочего трубопровода.

Глава 2. ПРОЕКТИРОВАНИЕ ПЕРЕХОДА

2.1. Общие требования

2.1.1. Проектировать переход трубопровода через водную преграду, строительство которого выполняется способом наклонно-направленного бурения, следует по данным инженерных изысканий, учитывающих технологию направленного бурения; условия эксплуатации в районе строительства ранее построенных подводных переходов; существующих и проектируемых гидротехнических сооружений; перспективных дноуглубительных работ в заданном районе пересечения трубопроводом водной преграды и требований по охране рыбных ресурсов.

2.1.2. Место перехода следует согласовывать с соответствующими бассейновыми управлениями речного флота, органами по регулированию использования и охране вод, охраной рыбных запасов местными органами самоуправления и заинтересованными организациями.

Несогласованный проект перехода не может быть передан на экспертизу и Заказчику.

2.1.3. Створ перехода следует выбирать с учетом геологических условий, благоприятных для бурения скважины. Кроме этого, при выборе створа перехода следует учитывать:

· невозможность использовать кривые механического гнутья рабочего трубопровода;

· необходимость при протаскивании рабочего трубопровода соблюдать соосность пробуренной скважины и трубопровода в месте его входа в скважину;

· угол наклона в местах входа и выхода скважины должны быть по возможности в пределах 6-20°.

2.1.4. Длина перехода, строящегося способом ННБ, определяется расстоянием между местом входа буровой скважины и местом её выхода на противоположном берегу.

2.1.5. Проектные отметки верха трубопровода на переходе, запроектированном способом ННБ, следует назначать не менее чем на 2 м ниже предельного профиля по прогнозу деформаций русла и берегов пересекаемой водной преграды. Прогноз деформаций русла и берегов составляется на расчетный 3-х кратный период эксплуатации перехода (100 лет).

Минимальное заглубление трубопровода в дно пересекаемой водной преграды должно быть достаточным для предотвращения выброса бурового раствора при строительстве и для устойчивого положения незабалластированного пустого трубопровода.

2.1.6. Допустимое отклонение места выхода пионерной скважины от проектного створа на противоположном берегу не должно превышать площади, равной 3´3 м.

Допустимое отклонение места выхода скважины не должно превышать 1 % ее длины и должно быть указано в проекте перехода.

2.1.7. Минимальное расстояние между параллельными трубопроводами, прокладываемыми способом ННБ, зависящее от точности системы ориентации в бурильной колонне, определяется проектом и должно быть не менее 10 м.

Такое же минимальное расстояние должно проектироваться между новым трубопроводом, прокладываемым ННБ и существующим трубопроводом.

Заданные проектом минимальные расстояния проверяются после бурения пионерной скважины до её расширения и протаскивания рабочего трубопровода.

2.1.8. Необходимость прокладки резервной нитки на переходе, построенном способом ННБ, в соответствии с приведенными п.п. 2.1.1.-2.1.7, должна быть обоснована проектной организацией.

2.1.9. Размещение запорной арматуры на переходе и проектирование участков, примыкающих к местам входа и выхода трубопровода, следует выполнять в соответствии с требованиями СНиП 2.05.06-85.

2.1.10. При проектировании пересечения водных преград несколькими трубопроводами малого диаметра (100-300 мм) разных назначений, целесообразно предварительно соединить их в один пучок трубопроводов, который протаскивается в одной общей скважине большего диаметра.

2.1.11. При проектировании переходов трубопроводов большого диаметра (1420 мм и больше) следует учесть, что существующие буровые установки до настоящего времени использовались для прокладки способом ННБ трубопроводов диаметром до 1220 мм включительно. Для прокладки трубопроводов большего диаметра потребуется более мощное оборудование и совершенная технология [15].

2.1.12. Проект перехода трубопровода, выполняемый способом ННБ, должен включать:

· план перехода с указанием строительно-монтажных площадок на обоих берегах и размещением оборудования; указанием мест входа и выхода трубопровода и их координаты; пикетаж и его привязку;

· продольный профиль перехода с указанием проектного положения и отметок трубопровода; углов входа и выхода скважины; прогнозируемой линии деформации русла и берегов; геологическое строение и буровые скважины; уровни воды;

· проект организации строительства и календарный график работ; сметную документацию;

· пояснительную записку с подробным описанием, в особенности, геологической структуры русла и выполненные расчеты трубопровода.

2.1.13. Бурение скважины в створе перехода рекомендуется начинать со стороны залегания более плотных грунтов.

2.2. Выбор метода строительства перехода

2.2.1. Проектная организация, которой поручено составление проекта перехода через водную преграду, должна выполнить технико-экономические расчеты вариантов строительства трубопроводов обычным способом с устройством подводных траншей и строительства их способом ННБ.

2.2.2. Для сопоставительных расчетов следует учитывать затраты на выполнение отдельных работ при строительстве перехода обычным способом и способом ННБ. При этом следует учитывать, что для варианта строительства направленным бурением:

· исключаются затраты на земляные работы, обетонирование рабочего трубопровода, берегоукрепительные работы, природоохранные мероприятия во время эксплуатации;

· сокращаются затраты на строительство резервных ниток трубопроводов; эксплуатационные расходы (исключается необходимость периодических осмотров и ремонтов перехода) и накладные расходы (за счет сокращения сроков строительства);

· повышаются затраты на инженерные изыскания, за счет более детальных геологических изысканий;

· потребуются затраты на удаление бурового шлама и стоимость эксплуатации буровой установки, стоимость которую следует определять с учетом расчетного времени на бурение скважины и протаскивание рабочего трубопровода, а также транспорта и прочих расходов.

Глава 3. КОНСТРУКЦИЯ РАБОЧЕГО ТРУБОПРОВОДА

3.1. Выбор материала и допускаемые напряжения трубопровода

3.1.1. Требования к конструкции и контролю качества стального рабочего трубопровода, прокладываемого на переходе способом ННБ, должны быть повышены по сравнению с обычными подводными переходами с учетом более сложных условий строительства и невозможностью ремонта при эксплуатации.

3.1.2. При применении способа направленного бурения наиболее целесообразно использовать стальные трубопроводы, вследствие их большого сопротивления растягивающим усилиям, возникающим при их укладке.

При применении полиэтиленовых труб высокой прочности следует учитывать их недостатки по сравнению со стальными, заключающиеся в малом сопротивлении растягивающим усилиям, деформациям и их плавучести.

3.1.3. Расчет трубопровода следует выполнять с учетом его последующей эксплуатации. При расчетах необходимо учитывать напряжения, возникающие от продольных усилий, изгиба, наружного гидростатического давления и воздействия грунта. Расчет должен устанавливать толщину стенки трубопровода и марку стали.

3.1.4. Трубы для стального рабочего трубопровода, предназначенного для транспортирования газа, следует применять по СНиП 2.05.06-85 «Магистральные трубопроводы». Допускается применение импортных труб, соответствующих требованиям этого стандарта.

3.1.5. Напряжения в трубопроводе следует рассчитывать от действия наружного и внутреннего давлений, изгиба трубопровода, аксиального растяжения или сжатия с учетом возможной овальности трубы.

3.1.6. Расчеты следует выполнять для периодов строительства и эксплуатации трубопроводов при самых неблагоприятных возможных сочетаниях нагрузок.

Напряжения в трубопроводе при эксплуатации определяются с учетом радиуса кривизны, наружного давления и прочих условий.

3.1.7. Минимальный радиус кривизны трубопровода при строительстве следует определять с учетом максимальных суммарных напряжений не более 90 % от предела текучести.

Минимальный радиус кривизны трубопровода при эксплуатации не должен быть менее 1200 Дн, где Дн - наружный диаметр трубопровода.

3.1.8. Расчет подводного веса рабочего трубопровода при протаскивании в скважине следует выполнять с учетом возможного изменения плотности бурового раствора.

3.1.9. Плавучесть трубопровода при его протаскивании в скважине может быть изменена путем изменения его веса внутренней нагрузкой [14].

3.2. Требования к изоляции трубопровода

3.2.1. Требования к качеству антикоррозионного покрытия рабочего трубопровода должны быть повышены с учетом воздействий на него сил трения при протаскивании в скважине и невозможности выполнить ремонт изоляции после прокладки трубопровода.

3.2.2. При строительстве газопроводов способом ННБ рекомендуется применять трехслойное полиэтиленовое покрытие труб, наносимое в заводских условиях:

· праймер на основе эпоксидных или других материалов толщиной слоя не менее 0,01 мм;

· подклеивающий слой (не менее 0,1 мм) из сополимера этилена и винилацетилена типа «Сэвилен», либо другой материал, обеспечивающий адгезию основного слоя;

· полиэтилен низкой плотности высокого давления толщиной слоя не менее 3,4 мм.

3.2.3. Наружное полиэтиленовое покрытие труб должно отвечать следующим требованиям:

· толщина слоя - не менее 3,5 мм;

· сопротивление ударной нагрузке не менее 18 Н×м;

· сопротивление отслаиванию изоляции не менее 35 Н/см.

Покрытие должно обладать сплошностью при проверке искровым дефектоскопом постоянного тока на щупе 17,5 кВ для толщины 3,5 мм.

3.2.4. Трубы стальные с наружным защитным покрытием из экструдированного полиэтилена должны изготовляться и соответствовать требованиям ТУ 400-24-557-88 [16].

3.2.5. Для стыковых сварных швов в полевых условиях рекомендуется трехслойная изоляция (эпоксидная смола, твердоплавкий клеевой слой и армированный стекловолокном слой полеолефина) в виде термоусаживающихся манжет и термоусаживающихся армированных манжет типа фирмы «Райхен», обладающих большой прочностью и следующими свойствами:

· толщина манжеты не менее 3,0 мм;

· толщина клеевого слоя - 1,2 мм;

· сопротивление отслаиванию не менее 60 Н/см (испытания по нормам DIN 30672);

· сопротивление сдвигу не менее 200 Н/см2 (испытания по нормам ISO 4587);

· сопротивление ударной нагрузке не менее 22 Н×м (испытания по нормам DIN 30672);

· прочность на вдавливание не менее 0,4 мм (испытания по нормам DIN 30672, 30 суток).

3.2.6. Изоляция стыков трубопровода в полевых условиях производится с использованием портативных пескоструйных аппаратов и подогрева пламенем горелки трубы и изоляционного материала до температуры 70 °С.

3.3. Катодная защита трубопровода

3.3.1. Электрохимическую защиту рабочего трубопровода от коррозии следует выполнять в соответствии с требованиями ВСН-00988/Миннефтегазстроя «Строительство магистральных и промысловых трубопроводов. Средства и установки электрохимзащиты».

3.3.2. После окончания строительства перехода следует выполнить контрольные измерения для определения необходимой величины защитного тока.

При выполнении контрольных измерений должны соблюдаться следующие условия:

· трубопровод должен быть изолирован от всех токоподводящих объектов;

· неизолированные участки трубопровода не должны иметь контакта с землей;

· подключения к трубопроводу для электропитания и измерения потенциала всегда должны быть раздельны;

· при измерительных работах заземляющий зонд должен находиться на расстоянии не менее 5 м от трубопровода. Для трубопроводов с высоким потреблением тока это расстояние следует увеличить;

· во время проведения измерений, любые другие работы около трубопровода не допускаются.

3.3.3. Данные измерений следует сравнить с проектными. Если в ходе замеров обнаруживаются недопустимые значения, следует путем увеличения интенсивности измерений, установить местонахождение дефектного участка и совместно с Заказчиком определить необходимые меры по устранению дефекта.

Глава 4. ОРГАНИЗАЦИЯ И ТЕХНОЛОГИЯ СТРОИТЕЛЬСТВА

4.1. Общие требования

4.1.1. До начала строительства перехода следует выполнить контрольный промер по створу перехода, проверить фактические отметки на проектном профиле и на трассировочном профиле субподрядчика по буровым работам.

4.1.2. Заглубление трубопровода в самой низкой точке перехода должно быть достаточным для предотвращения прорыва бентонитового раствора и подпорной жидкости в русло. Минимальное заглубление должно быть указано на трассировочном профиле подрядчика.

4.1.3. В договоре на производство буровых работ должны быть точно оговорены объемы, сроки и ответственность всех организаций, участвующих в строительстве перехода - Заказчика, генподрядчика и подрядных организаций.

4.1.4. Анкерные и упорные устройства, закрепляющие буровую установку, должны быть рассчитаны на двойное тяговое усилие, которое способна развить буровая установка.

4.1.5. Подрядчик по ННБ во время буровых работ должен иметь запасной силовой агрегат с двойным запасом буровых труб с 10-ти процентным их увеличением на случай выбраковки.

4.1.6. При отрицательных температурах всё оборудование (буровая установка, насосы, моторы, резервуар с раствором и прочее) должно находиться в обогреваемом помещении.

Работы в зимнее время следует проводить круглосуточно при непрерывной работе всех систем. Не рекомендуется планировать работы на период, когда возможно понижение температуры ниже минус 20 °С.

4.1.7. До начала буровых работ должна быть проверена система ориентации, определяющая местонахождение буровой головки и положение скважины.

4.1.8. При выполнении направленного бурения следует предусмотреть рециркуляцию бурового раствора и мероприятия, предупреждающие возможность его попадания в пересекаемую трубопроводом водную преграду, а также мероприятия по временному хранению неочищенного бурового раствора.

4.2. Организация строительства

4.2.1. Технический проект перехода, рабочие чертежи и проект организации строительства (ПОС) разрабатываются проектной организацией Заказчика, согласовываются с Подрядчиком и Госгортехнадзором и утверждаются Заказчиком.

Проектная организация при разработке ПОС выполняет все необходимые согласования с заинтересованными организациями.

4.2.2. Строительство перехода способом ННБ должно осуществляться специализированной организацией, имеющей необходимое буровое оборудование и специалистов, а также лицензию на проведение работ.

Буровые работы и прокладка трубопровода выполняются, как правило, субподрядной организацией.

4.2.3. До начала работ организация, выполняющая буровые работы, предъявляет Заказчику следующую документацию:

· план производства буровых работ с приложением трассировки трубопровода в вертикальной и горизонтальной плоскостях, в соответствии с проектом перехода;

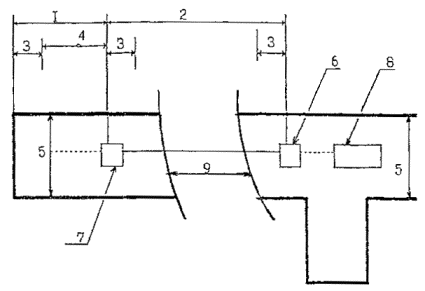
· схему стройплощадки с размещением оборудования (рис. 1);

Рис. 1. Схема монтажной площадки при строительстве перехода трубопровода через водные преграды направленным бурением:

1 - длина монтажной площадки; 2 - длина участка трубопровода, выполняемая наклонно-направленным бурением; 3 - расстояние не менее 30 м (определяется проектом); 4 - длина спусковой дорожки; 5 - ширина монтажной площадки (определяется проектом); 6 - приямок для входа бура; 7 - участок выхода бура; 8 - буровая установка; 9 - ширина водной преграды

· данные о предполагаемых работах по закреплению буровой установки, строительным котлованам и другим временным сооружениям;

· расчеты трубопровода на различных этапах строительства (тяговое усилие, плавучесть, необходимая прочность изоляции и другие);

· календарный план с указанием затрат времени в днях по отдельным этапам работ;

· пояснительную записку с детальным описанием строительных работ и мероприятий, предусмотренных для предупреждений повреждения изоляционного покрытия; заполнения кольцевого пространства между скважиной и трубопроводом; защиты водоёма от загрязнения; расширения скважины и укладки трубопровода; контроля качества строительства на всех этапах.

4.2.4. Документацию, указанную в п. 5.2.3, Заказчик обязан рассмотреть и вернуть Подрядчику в течение 8 дней со дня их подачи.

Работы могут быть начаты только после получения разрешения (п. 5.2.1) Госгортехнадзора и письменного одобрения Заказчиком представленной документации и возвращения её Подрядчику.

4.2.5. Местные власти должны быть уведомлены о предстоящем строительстве перехода до подписания договора о начале его строительства для определения обоснованного и согласованного способа удаления бурового раствора, приемлемого для подрядной строительной организации (см. п. 5.11.4).

4.2.6. Проект производства работ на строительство подводного перехода трубопровода способом ННБ разрабатывается строительной организацией, выполняющей буровые работы.

Проект производства работ должен включать календарный план работ, профиль и план буровой скважины, а также пояснительную записку.

4.3. Состав буровой установки и обслуживающий персонал

4.3.1. Буровые установки состоят из отдельных мобильных блоков, удобных для транспортировки автотранспортом. В Приложении 1 приведен состав бурового комплекса НД-850 и ДД-90 с обслуживающим персоналом и расчетные максимальные осевые давления и тяговые усилия для обратного протаскивания трубопроводов в скважину.

Источником энергии являются дизельные агрегаты различной мощности.

4.3.2. Рекомендации по выбору буровой установки для конкретного перехода определяет проектная организация в результате расчета необходимых параметров, определяющих конструкцию и мощность установки. При этом мощность установки принимается с коэффициентом 1,5.

4.4. Технологическая схема и этапы наклонно-направленного бурения при строительстве переходов трубопроводов

4.4.1. Строительство переходов трубопроводов направленным бурением возможно по различным технологическим схемам [13].

В практике строительства переходов через водные препятствия применяется наиболее часто технологическая схема, включающая бурение пионерной скважины, её расширение и протаскивание в расширенную скважину рабочего трубопровода, сваренного на противоположном берегу.

4.4.2. Технологическая схема ННБ при строительстве переходов трубопроводов через водные преграды включает четыре последовательных этапа, схематически показанных на рис. 2:

Этап 1. Бурение пионерной скважины

Окончание бурения пионерной скважины (буровая головка вышла на противоположном берегу)

Этап 2. Расширение пионерной скважины с одновременной прокладкой второй колонны труб

Этап 3. Протаскивание трубопровода за расширителем к буровой установке

Этап 4. Гидравлическое испытание трубопровода в скважине

Обозначения: 1 - буровая головка с забойным двигателем; 2 - бурильная колонна труб;-3 - вторая бурильная колонна труб; 4 - буровая установка; 5 - вертлюг; 6 - расширитель; 7 - трубопровод; 8 - цилиндрический расширитель

Рис. 2. Технологическая схема строительства перехода трубопровода через преграды способом направленного бурения

Этап I - бурение пионерной скважины с выходом буровой головки на противоположном берегу;

Этап II - расширение пионерной скважины;

Этап III - протаскивание рабочего трубопровода в расширенную скважину;

Этап IV - испытание рабочего трубопровода.

4.4.3. Эффективность работы на всех этапах ННБ зависит от правильного выбора бурового оборудования и инструмента с учётом грунтовых условий, состава бурового раствора, надежной системы ориентации, квалификации и опыта обслуживающего персонала.

4.5. Бурение пионерной скважины

4.5.1. Перед началом бурения пионерной скважины необходимо:

· выполнить монтаж и опробование бурового оборудования, в соответствии с Инструкцией предприятия-изготовителя;

· выполнить закрепление буровой установки с наклоном рамы, в соответствии с заданным углом входа;

· проверить надежность и устойчивость радиосвязи между берегами водной преграды (пунктами входа и выхода скважины);

· проверить и выполнить калибровку прибора ориентации, с целью получения и записи исходных показателей прибора для последующей корректировки направления бурения скважины.

4.5.2. Эффективность бурения пионерной скважины зависит от правильного выбора конструкции буровой головки. В зависимости от грунтовых условий применяют два типа буровых головок:

· для бурения мягких грунтов (как правило, илистых и песчаных) рекомендуется струйная боровая головка. С этой головкой бурение осуществляется высоконапорными струями бурового раствора, выбрасываемого через насадки и разрешающие грунт;

· для бурения твердых глинистых и мягких скальных грунтов рекомендуется бурильная головка с режущими, обычно вольфрамово-карбидными зубьями, приводимая в действие забойным двигателем.

4.5.3. Выбирается и рассчитывается профиль наклонно-направленной скважины. Составляется план-программа на бурение ННС. В план-программе указывается тип забойного двигателя, тип и диаметр долота, компоновка низа бурильной колонны, типоразмер бурильных труб, режим бурения, характеристика бурового раствора, расход промывочной жидкости.

4.5.4. Бурение пионерной скважины ведется ориентированным способом. Перед забуриванием скважины забойный двигатель ориентируется в нужном направлении и после каждого наращивания проводится контроль траектории ствола скважины. При необходимости проводится корректировка параметров искривления.

4.5.5. В зависимости от грунтовых условий при бурении пионерной скважины могут быть использованы трубы (их диаметр определяется расчётом) в качестве направляющей для бурильной колонны. Обсадная колонна при бурении следует за бурильной колонной, предупреждая ее изгиб и удерживая по курсу, создавая устойчивость стенок скважины при бурении, являясь кожухом вокруг бурильной колонны. В этом случае обсадной трубопровод в дальнейшем используется для протаскивания расширителя и рабочего трубопровода через скважину.

4.6. Буровой (бентонитовый) раствор для направленного бурения

4.6.1. При бурении горизонтально-направленных скважин должен применяться бентонитовый раствор, приготовленный из глинопорошка, воды и химических реагентов. Буровой раствор должен выполнять следующие основные функции:

· очищать забой от выбуренной породы и выносить ее на дневную поверхность;

· удерживать частицы разрушенных или осыпавшихся пород во взвешенном состоянии при прекращении промывки и предотвращать осаждение шлама;

· охлаждать и смазывать трущиеся поверхности долот, забойных двигателей, бурильной колонны, трубопроводов;

· препятствовать проявлениям неустойчивости пород стенок скважины;

· передавать мощность от насосного агрегата к забойному двигателю;

· кольматировать поры и трещины в стенках скважины, создавать в них непроницаемую корку;

· сохранять стабильность свойств в процессе бурения и химической обработки.

4.6.2. Требования к бентониту регламентируются данными, приведенными в приложениях 2 и 5.

4.6.3. Для поддержания стабильности свойств бурового раствора на протяжении всего процесса бурения следует применять различные добавки, согласно требованиям Приложения 5.

4.6.4. Перед началом работ необходимо произвести гидравлический расчет промывки скважины с учетом режима бурения.

4.6.5. Для выбора типа бурового раствора и определения его параметров необходимо руководствоваться пособием: «Технология приготовления и очистки буровых растворов, промывки скважин, утилизации отходов при бурении горизонтально-направленных скважин на предприятиях ОАО «Газпром».

4.6.6. Ответственность за попадание бурового раствора в русло реки несет подрядная организация, выполняющая буровые работы.

4.7. Расширение пионерной скважины

4.7.1. Площадь поперечного сечения скважины должна быть больше поперечного сечения рабочего трубопровода. Поэтому перед протаскиванием трубопровода скважина должна быть расширена.

Расширение пионерной скважины возможно в процессе протаскивания рабочего трубопровода при его небольшом диаметре (200-300 мм) или в виде отдельных операций с использованием одного или нескольких расширителей.

4.7.2. Величина расширения скважины зависит от грунтовых условий и диаметра трубопровода. Обычно принимается условие, по которому площадь поперечного сечения скважины должна не менее, чем на 25 % превышать площадь поперечного сечения протаскиваемого в ней трубопровода.

4.7.3. Для расширения скважины, в зависимости от грунтовых условий, используют различные конструкции расширителей. Расширение ствола скважины проводится поэтапно с нарастающим увеличением диаметра расширителей.

Для предотвращения потери пробуренного ствола скважины к расширителю присоединяется посредством вертлюга колонна бурильных труб, которая следует за расширителем на всем пути его движения в скважине.

Скважина считается подготовленной к протаскиванию трубопровода после достижения проектного значения её диаметра и длины.

4.8. Монтаж и прокладка рабочего трубопровода

4.8.1. Монтаж рабочего трубопровода для протаскивания на полную расчётную длину или отдельными плетями осуществляется на берегу, противоположном буровой установке. Чем больше длина плетей, тем меньше потребуется гарантийных стыков и сократятся нежелательные простои в процессе протаскивания трубопровода.

4.8.2. Трубопровод целиком или его плети после сварки испытывают путем гидравлического давления до нанесения изоляции на сварные стыки. Испытания следует выполнять в соответствии с требованиями СНиП III-42-80. После испытаний трубопровода сварные стыки изолируются.

4.8.3. Протаскивание рабочего трубопровода в скважину не должно сопровождаться его скручиванием. Поэтому между трубопроводом и расширителем помещают вертлюжное устройство, исключающее поворот (скручивание) рабочего трубопровода.

К оголовку трубопровода присоединяют последовательно вертлюг, цилиндрический расширитель и конец буровой колонны (или обсадного трубопровода), идущей к буровой установке.

Цилиндрический расширитель способствует укреплению стенок скважины и свободному прохождению трубопровода.

4.8.4. Рабочий трубопровод непрерывно протаскивается в скважину, полностью заполненную буровым раствором, при вращении буровой колонны и расширителя.

Этот процесс прерывается только на время приварки очередной плети рабочего трубопровода, в том случае, когда трубопровод нельзя было смонтировать на полную длину скважины.

4.8.5. Трубопровод на берегу в процессе протаскивания должен, в зависимости от местных условий, поддерживаться кранами или укладываться на роликоопоры. При этом продольная ось трубопровода в месте его входа в скважину должна совпадать с осью разбуренной скважины.

Сложность протаскивания трубопровода возрастает с увеличением угла, под которым трубопровод входит в скважину (угол выхода пионерной скважины).

4.8.6. Трубопроводы диаметром 1220 мм и более рекомендуется прокладывать в скважину отдельными секциями с применением поворотного устройства [15].

4.8.7. В некоторых случаях, в зависимости от рельефа пойменного участка, смонтированный и испытанный трубопровод в процессе протаскивания может частично находиться в траншее, отрытой по направлению продольной оси скважины и заполненной водой.

4.8.8. Перед протаскиванием трубопровода необходимо определить величину тягового усилия и возможность его изменения. Величина тягового усилия принимается с коэффициентом 1,5.

4.8.9. Тяговое усилие для протаскивания трубопровода в скважине к буровой установке зависит от диаметра и веса трубопровода и вида грунта, кривизны скважины и качества бентонитового раствора.

При движении трубопровода в скважине двумя главными составляющими тягового усилия будут: усилие, необходимое для движения расширителя и усилие на преодоление сил трения трубопровода о стенки скважины.

При расчете тягового усилия следует учитывать возможное изменение необходимой тяговой силы на криволинейных участках скважины.

4.8.10. Перед протаскиванием трубопровода производится его балластировка для достижения нулевой плавучести. Способ балластировки принимается с учётом конкретных условий строительства перехода [14].

4.9. Контроль качества строительства

4.9.1. Контроль качества при проектировании и строительстве перехода трубопровода способом ННБ должен соответствовать требованиям норм ВСН 012-88/Миннефтегазстроя «Строительство магистральных и промысловых трубопроводов. Контроль качества и приемка работ».

4.9.2. Контроль качества должен охватывать весь комплекс работ при строительстве перехода с обязательным пооперационным контролем изготовления трубопровода и прокладкой его в скважину.

4.9.3. Всё оборудование, приборы и материалы, используемые на строительстве, должны иметь документацию, подтверждающую соответствие их требованиям стандартов и технических условий.

4.9.4. Перед началом бурения скважины производят проверку и калибровку системы ориентации, углов входа и выхода скважины и их соответствие проекту.

4.9.5. В процессе бурения пионерной скважины буровой мастер (оператор) должен контролировать направление бурение скважины через каждые 9 метров проходки по сигналам системы ориентации.

4.9.6. При бурении оператор непрерывно осуществляет наблюдение за давлением и расходом бурового раствора, которые не должны превышать заданной величины.

4.9.7. Контроль качества сварки стыков трубопроводов и их изоляции в полевых условиях выполняется в соответствии с указаниями проектной организации и нормами.

4.9.8. После окончания протаскивания трубопровода в скважину, состояние изоляционного покрытия следует проверить методом катодной поляризации.

4.10. Требования безопасности ведения работ

4.10.1. Монтаж и эксплуатация бурового оборудования должны выполняться в точном соответствии с правилами безопасности, указанными в Инструкции по эксплуатации завода-изготовителя. При отсутствии Инструкции на участке строительства - работы производить не разрешается.

4.10.2. Все работы по строительству перехода способом ННБ должны проводиться в соответствии с требованиями по безопасности при строительстве подводных переходов магистральных трубопроводов, «Правилами техники безопасности при строительстве магистральных стальных трубопроводов» (1982 г.), а также требованиями нормативных документов на отдельные виды выполняемых работ.

4.10.3. Строительные площадки должны быть ограждены и снабжены вывешенными предупредительными знаками.

4.10.4. Все сварочно-монтажные работы должны проводиться в дневное время, а при необходимости круглосуточной работы освещение должно быть в соответствии с нормами.

4.10.5. К работам при сооружении перехода допускается специально обученный и аттестованный персонал.

4.11. Охрана окружающей среды

4.11.1. Природоохранные мероприятия при проектировании и строительстве переходов трубопроводов должны быть включены в проект перехода и отвечать требованиям ВСН 014-89/Миннефтегазстроя «Строительство магистральных и промысловых трубопроводов. Охрана окружающей среды».

4.11.2. До начала строительства перехода весь личный состав должен пройти инструктаж по соблюдению требований охраны окружающей среды при выполнении строительных, монтажных и буровых работ.

4.11.3. В проекте перехода должны быть предусмотрены мероприятия, предупреждающие попадание бурового шлама в пересекаемую водную преграду. Эти мероприятия должны быть согласованы с местными природоохранными органами и заинтересованными организациями.

4.11.4. Утилизация отходов бурения должна производиться по методике, описанной в пособии «Технология приготовления и очистки буровых растворов, промывки скважин, утилизации отходов при бурении горизонтально-направленных скважин на предприятиях ОАО «Газпром»», которое является неотъемлемой частью настоящего Руководящего документа.

4.11.5. При выполнении работ следует предусматривать рециркуляцию бурового раствора.

4.11.6. В проекте перехода следует предусмотреть мероприятия по предотвращению прорыва бурового раствора и выброса его в пересекаемую водную преграду.

4.11.7. Для контроля за качеством речной воды в процессе бурения выше и ниже по течению реки следует отбирать пробы воды для лабораторного анализа.

Глава 5 СДАЧА ПЕРЕХОДА В ЭКСПЛУАТАЦИЮ

5.1. Испытания рабочего трубопровода

5.1.1. После протаскивания трубопровода необходима очистка внутренней полости очистными устройствами и проверка сечения трубопровода пропуском калибровочного устройства, после чего трубопровод заполняется водой для гидравлического испытания.

5.1.2. Очистку полости трубопровода и его испытание следует выполнить в соответствии с требованиями СНиП III-42-80 и ВСН 011-88 «Строительство магистральных и промысловых трубопроводов. Очистка полости и испытание».

5.1.3. Величина испытательного давления рабочего трубопровода указывается в проекте.

5.1.4. После гидравлического испытания необходимо полное удаление воды и осушка трубопровода путем пропуска поршней-разделителей.

5.1.5. Калибровка трубопровода и его испытание выполняются с обязательным присутствием представителей генподрядной организации и Заказчика с оформлением необходимой документации.

5.2. Исполнительная документация на переход, законченный строительством

5.2.1. Исполнительная документация составляется генподрядчиком и передается Заказчику не позднее 2 недель после завершения работ. Исполнительная документация должна быть подписана подрядчиком и представителями генподрядчика.

5.2.2. Исполнительная документация, подтверждающая выполнение работ по монтажу, сварке, радиографированию и изоляции стыков труб, испытанию рабочего трубопровода (акты на скрытые работы), составляется в соответствии с требованиями и по формам на аналогичные работы, выполняемые при строительстве подводных переходов магистральных трубопроводов, указанные в нормах [6 - 12].

5.2.3. По окончании строительства перехода Заказчику (генподрядчик) передаются:

· продольный профиль перехода трубопровода с указанием: отметок верха трубы, дна водоема, уровнями воды, геологическим строением, буровыми скважинами, мест входа и выхода скважины, отметок трубопровода на входе и выходе. Масштаб профиля должен соответствовать масштабу проектного профиля;

· план перехода с указанием координат входа и выхода трубопровода.

На плане и профиле перехода следует указать, какие отступления сделаны по сравнению с проектом перехода.

5.2.4. Перечень исполнительной документации приведен в Приложении 3.

ЛИТЕРАТУРА

1. СНиП 2.05.06-85 «Магистральные трубопроводы». М. Госстрой СССР, 1985.

2. СНиП III-42-80 «Магистральные трубопроводы. Правила производства и приемки работ». М. Стройиздат, 1981.

3. СНиП 1.02.07-87 «Инженерные изыскания для строительства».

4. ВСН 51-80/Мингазпром «Инструкция по производству строительных работ в охранных зонах магистральных газопроводов».

5. ГОСТ 17.5.3.04-83 «Общие требования к рекультивации земель».

6. ВСН 006-89/Миннефтегазстрой «Строительство магистральных и промысловых трубопроводов. Сварка». М. ВНИИСТ. 1990.

7. ВСН 008-88/Миннефтегазстрой «Строительство магистральных и промысловых трубопроводов. Противокоррозионная и тепловая изоляция». М. ВНИИСТ. 1990.

8. ВСН 009-88/Миннефтегазстрой «Строительство магистральных и промысловых трубопроводов. Средства и установки электрохимзащиты». М. ВНИИСТ. 1990.

9. ВСН 010-88/Миннефтегазстрой «Строительство магистральных трубопроводов. Подводные переходы». М. ВНИИСТ, 1990.

10. ВСН 011-88/Миннефтегазстрой «Строительство магистральных и промысловых трубопроводов. Очистка полости и испытание». М. ВНИИСТ, 1990.

11. ВСН 012-88/Миннефтегазстрой «Строительство магистральных и промысловых трубопроводов. Контроль качества и приемка работ». М. ВНИИСТ. 1990.

12. ВСН 014-89/Миннефтегазстрой «Строительство магистральных и промысловых трубопроводов. Охрана окружающей среды». М. ВНИИСТ, 1990.

13. Авторское свидетельство СССР № 1276769, кл. F 5/18, F 16L S, 1986, Бюл. № 46. Способ бестраншейной прокладки трубопровода.

14. Авторское свидетельство СССР № 1270237, кл. Р 5/18, 1986, Бюл. Мз 42. Оголовок трубопровода.

15. Патент Российской Федерации № 2033567, кл. Р 16L 1/032, 1995, Бюл. № 11. Способ укладки трубопровода в криволинейную скважину и устройство для его осуществления.

16. ТУ 400-24-557-88. Трубы стальные с наружным покрытием из экструдированного полиэтилена. М. Мосинжстрой, 1988.

Приложение 1
(справочное)

ТЕХНИЧЕСКИЕ ДАННЫЕ БУРОВЫХ УСТАНОВОК

№№

Параметры

Ед. изм.

Тип установок

HD-850

DD-90

1

2

3

4

5

1.

Размеры буровой установки

м

12,2´3,65´2,45

12,2´3,05´2,45

2.

Вес

тн

40

40

3.

Привод

 

Гидродвигатели 4 шт.

Зубчатая передача

4.

Максимальная осевая нагрузка (тяговое усилие)

тн

250

40

5.

Максимальный момент вращения

тм

12

5

6.

Угол бурения

град.

8-20

8-20

7.

Якорь для закрепления и буровой установки

шт.

2

1

8.

Блок управления

 

Мобильный

Мобильный

9.

Производительность водяного насоса для водоснабжения

л/мин

3500

3500

10.

Двухкамерный резервуар для бурового раствора:

 

 

 

·

вес

тн

20

 

·

общая емкость

м3

35

 

·

производительность горизонтального шламового насоса

л/сек

45

 

11.

Насос для подачи раствора УНБ 1-400´4:

 

 

 

·

вес

тн

14

 

·

производительность

л/сек

32

 

12.

Стандартный блок очистки бурового раствора

 

 

 

13.

Генераторы, поставляющие энергию для буровой установки (цилиндрические, звуконепроницаемые агрегаты)

 

 

 

·

количество

шт.

2

 

·

размеры

м

5,50´1,60´2,0

 

·

вес (каждого)

тн

5,5

 

·

мощность

квт.

100, 300

 

14.

Стандартный контейнер для инструмента и запасный частей:

 

 

 

·

размеры

м

6,65´2,4´2,59

 

·

вес

тн

8,0

 

15.

Стандартный служебный контейнер для руководства строительством:

 

 

 

·

размеры

м

6,65´2,4´2,59

 

16.

Стандартный контейнер для отдыха обслуживающего персонала:

 

 

 

·

размеры

м

6,65´2,4´2,59

 

·

вес

тн

5,0

 

17.

Обслуживающий персонал (для 12-ти часовой рабочей смены):

 

 

 

·

количество

чел.

8

 

Состав: инженер проекта, начальник буровой установки, буровой мастер, старший рабочий, механик, электрик, мастер по бурению и промывке, инженер-геодезист.

ПРИМЕЧАНИЕ: В настоящем перечне указано оборудование необходимое для буровых работ.

Приложение 2
(рекомендуемое)

РЕЗУЛЬТАТЫ ИСПЫТАНИЙ ОБРАЗЦОВ БУРОВЫХ ГЛИН С ДОБАВКАМИ ЧАСТИЧНО ГИДРОЛИЗОВАННОГО ПОЛИАКРИЛИМИДА

Описание образца

Дозировка РНРА, ppd

Показания вискозиметра при 600 об/мин.

Показания вискозиметра при 300 об/мин.

PV-Пластическая вязкость сПз

YP-Динамич. напряжение сдвига, Ib. 100ft2

Отношение YP/PV

Водоотдача, куб. см.

Прочность геля при 10 сек,

Прочность геля при 10 мин.

Расчетный выход, куб. м/т

средние

Ib. 100fi2

Требования стандарта APL SPEC 13A, Section 4

не менее 30

 

 

 

 

не более 3

не более 15

 

не нормир.

Доп. требования к гл./порошкам при горизонт. направл. бурении

 

 

 

 

 

 

допускается до 30

от 0 до 5

от 5 до 15

 

Калужский палыгорский

0,01

14

10

4

6

1,5

79,6

4

8

11.7

0,1

25

18

7

11

1,6

54,2

5

9

20,8

0,25

32

24

8

16

2.0

21,2

6

10

26,6

Серпуховской палыгоркент

0,01

11

3

5

1,7

81,8

2

4

9,2

 

0,1

19

6

7

1,2

57,2

4

6

15,8

 

0,25

27

8

11

1,4

21,8

5

8

22,5

 

Серпуховской бентонит

0,01

6

4

2

2

1,0

54,4

1

2

5,0

0,1

7

5

2

3

1,5

40,6

1

2

5,8

0,25

16

10

6

4

0.7

16,2

1

2

13,3

Бентонит Кзыл-Тепо

0,01

4

3

1

2

2,0

108,0

1

1

3,3

0,1

5

3

2

1

0,5

74,4

1

2

4,2

0,25

7

4

3

1

0,3

27,8

1

2

5,8

Приложение 3
(обязательное)

ПЕРЕЧЕНЬ ИСПОЛНИТЕЛЬНОЙ ДОКУМЕНТАЦИИ

1. Разрешение на право производства работ по строительству перехода трубопровода способом ННБ.

2. Акт приемки створа перехода трубопровода подрядной организацией.

3. Документация, подтверждающая качество заводской изоляции труб.

4. Сертификаты и технические условия на стальные трубы, использованные для рабочего трубопровода.

5. Акт на сварку стыков рабочего трубопровода.

6. Акт на изоляцию сварных стыков рабочего трубопровода.

7. Акт на проверку качества сварки стыков физическими методами контроля.

8. Акт на гидравлическое испытание рабочего трубопровода и готовность протаскивания его в скважину.

9. Журнал и ежедневные сводки производства буровых работ.

10. Исполнительный профиль бурения пионерной скважины.

11. Акт на расширение скважины и готовность её к протаскиванию трубопровода.

12. Акт на протаскивание рабочего трубопровода в скважину.

13. Акт проверки качества изоляции трубопровода после его протаскивания методом поляризации.

14. Акт проверки качества изоляции искровым дефектоскопом.

15. Акт на очистку внутренней полости трубопровода после протаскивания.

16. Акт на гидравлическое испытание трубопровода в скважине.

17. Акт на восстановление местности после окончания работ.

18. Исполнительный паспорт перехода (см. Приложение 4).

19. Акт комиссии на приёмку перехода в эксплуатацию с приложением исполнительной документации.

Приложение 4
(рекомендуемое)

ПАСПОРТ
НА ПЕРЕХОД ТРУБОПРОВОДА, ПОСТРОЕННОГО СПОСОБОМ НАКЛОННО-НАПРАВЛЕННОГО БУРЕНИЯ

Наименование

Техническая характеристика

1

2

1. Общие данные

1.1. Наименование перехода (наименование трассы, трубопровода, реки)

1.2. Владелец перехода

1.3. Начало перехода (пикетаж по трассе)

1.4. Конец перехода (пикетаж по трассе)

1.5. №№ рабочих чертежей перехода

1.6. Транспортируемый продукт

1.7. Генеральная проектная организация

1.8. Субподрядные проектные организации

 

2. Проектные данные

2.1. Кем и когда утвержден проект перехода

2.2. Протяженность перехода

2.3. Наружный диаметр трубопровода

2.4. Толщина стенки трубопровода

2.5. Марка стали труб, ТУ

2.6. Испытательное давление

2.7. Расчетная производительность

2.8. Расчетная температура - макс./мин.

 

3. Строительство

3.1. Рабочий трубопровод

- сварка трубопровода (дата, № акта)

- марка электродов (ГОСТ, №)

- радиографирование стыков (дата, № акта)

- первичное гидравлическое испытание (дата, № акта)

- испытания на прочность (величина давления, температура испытаний)

- очистка стыков труб

- изоляция стыков труб (дата, № акта)

- способ контроля качества

 

3.2. Буровые работы

- координаты входа и выхода скважины (проектные и фактические)

- углы входа и выхода скважины

- диаметр бурильной колонны

- тип системы ориентации

- диаметр обсадной колонны

- время бурения пионерной скважины (дата начала и окончания)

- способ удаления бурового раствора

- тип и диаметр первого расширителя

- тип и диаметр второго расширителя

 

3.3. Протаскивание трубопровода (дата, № акта)

- способ и время протаскивания

- максимальное тяговое усилие

- контроль состояния изоляции методом катодной поляризации (дата, № акта)

 

3.4. Испытание и сдача в эксплуатацию (дата, № акта)

- испытание на прочность

- испытания на плотность

- очистка внутренней полости и калибровка (дата, № акта)

- контроль положения трубопровода (дата, № акта)

 

4. Эксплуатация

4.1. Местонахождение эксплуатирующей организации

4.2. Частота обследований

4.3. Периодичность обследования катодной защиты

 

________________________________________________________________________

Подписи: _____________________

Приложение 5
(обязательное)

Пособие к Ведомственным нормам
«Технология приготовления и очистки буровых растворов, промывки скважин и утилизации отходов» при бурении горизонтально-направленных скважин на предприятиях ОАО «Газпром»

Пособие включает два раздела:

1. Технология приготовления и очистки буровых растворов, промывки скважин и утилизации отходов при бурении горизонтально-направленных скважин.

2. Охрана окружающей среды при строительстве подводных газопроводов методом направленного бурения.

Раздел 1: включает состав и свойства буровых растворов, используемых для бурения горизонтально-направленных скважин для прокладки трубопроводов под руслами рек и других препятствий. Приведены методики расчета показателей свойств и состава буровых растворов, определение требуемого объема бурового раствора и материалов (глин химреагентов) и определение содержания и состава бурового раствора. Приводится технология очистки буровых растворов от выбуренной породы, описание технических средств и методов их управления.

Раздел 2: регламентирует правила и порядок составления раздела «Охрана окружающей среды» рабочего проекта на строительство горизонтально-направленных скважин для прокладки трубопроводов. Он содержит основные положения и требования по разработке проектных решений по охране атмосферы, земель, поверхностных и подземных вод в процессе ведения буровых работ. В нем учитываются современные требования природоохранного законодательства, действующих нормативных актов, общегосударственных положений и руководящих документов по охране окружающей среды, а также последние достижения науки и техники в области экологии строительства скважин.

Пособие разработано АООТ НПО «Бурение» (В.И. Мишенко, И.Н. Резниченко, А.А. Добик, В.И. Матыцын, Н.А. Кушнаренко, М.В. Петросьян).

СОДЕРЖАНИЕ

Пособие к Ведомственным нормам «Технология приготовления и очистки буровых растворов, промывки скважин и утилизации отходов» при бурении горизонтально-направленных скважин на предприятиях ОАО «Газпром». 18

Раздел 1. Технология приготовления и очистки буровых растворов, промывки скважин и утилизации отходов при бурении горизонтально-направленных скважин. 19

1. Введение. 19

2. Технологические схемы приготовления, обработки и очистки буровых растворов. 19

3. Разработка состава (рецептуры) и свойств буровых растворов. 20

3.1. Выбор глинопорошка. 20

3.2. Методика расчета показателей свойств и состава бурового раствора. 21

4. Технология приготовления бурового раствора. 23

5. Технология очистки буровых растворов. 25

Приложение 1. Показатели свойств бурового раствора, приготовленного из различных глинопорошков. 26

Приложение 2. Методика определения качества глинопорошков, химреагентов и буровых растворов............................................................................... 26

Приложение 3. Принцип действия, технические характеристики и правила эксплуатации средств очистки (вибросито, песко- и илоотделитель, центрифуга, блок коагулянтов и флокулянтов и манифольд) 29

Приложение 4. Таблица натуральных логарифмов. 37

Раздел 2. Охрана окружающей среды при строительстве подводных переходов газопроводов методом направленного бурения. 37

1. Введение. 37

2. Пояснительная записка. 38

3. Охрана почв и водных объектов при подготовительных, строительно-монтажных работах и в процессе бурения. 39

4. Очистка, обезвреживание и утилизация отходов бурения. 39

5. Охрана атмосферного воздуха от загрязнения. 40

6. Ликвидация шламовых амбаров и рекультивация земель. 41

7. Контроль за состоянием и охраной окружающей природной среды.. 42

Приложение 1. Перечень основных нормативно-методических материалов, рекомендуемых при разработке рабочего проекта «Охрана окружающей природной среды». 43

Приложение 2. Перечень исходных материалов, используемых при разработке природоохранных мероприятий. 47

Раздел 1. ТЕХНОЛОГИЯ ПРИГОТОВЛЕНИЯ И ОЧИСТКИ БУРОВЫХ РАСТВОРОВ, ПРОМЫВКИ СКВАЖИН И УТИЛИЗАЦИИ ОТХОДОВ ПРИ БУРЕНИИ ГОРИЗОНТАЛЬНО-НАПРАВЛЕННЫХ СКВАЖИН

1. ВВЕДЕНИЕ

При бурении горизонтально-направленных скважин важным является определение состава и показателей свойств буровых растворов, которые обеспечили бы нормальное транспортирование выбуренной породы на дневную поверхность и удаление ее из бурового раствора механическими средствами очистки.

Так как выносящая способность бурового раствора зависит от его реологических показателей, плотности, скорости потока, в РД приводится методика расчета показателей свойств и состава раствора с учетом диаметра скважины и бурильных труб, подачи буровых насосов и плотности раствора. Пользуясь данной методикой, можно определить вязкость и другие показатели свойств и состав раствора для бурения скважин в конкретных геолого-технических условий.

Приведена методика расчета требуемого объема бурового раствора для бурения скважины и материалов для его приготовления.

Приведены технологические схемы и технология приготовления и очистки буровых растворов механическими средствами.

Руководящий документ предназначен для составления проектов на бурение горизонтально-направленных скважин предприятием «Мострансгаз» ОАО «Газпром».

2. ТЕХНОЛОГИЧЕСКИЕ СХЕМЫ ПРИГОТОВЛЕНИЯ, ОБРАБОТКИ И ОЧИСТКИ БУРОВЫХ РАСТВОРОВ

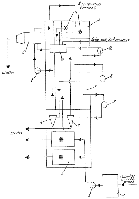
2.1. Технологическая схема блока приготовления и обработки бурового раствора (рис. 1) включает: резервуар 1 объемом около 30 м3, имеющий перегородку 2, два центробежных шламовых насоса 3, типа ГРА 170/40, приемную гидравлическую воронку 4 для загрузки глиноматериалов и реагентов, деаэратор-диспергатор 5, механические перемешиватели 6, гидравлический диспергатор ДГ-2-7.

Центробежные насосы обвязаны трубопроводами 8 с отсеками емкости, гидравлической воронкой 4, диаэротором-диспергатором 5 в единый блок - блок приготовления и обработки бурового раствора.

2.2. Технологическая схема блока очистки бурового раствора от выбуренной породы (рис. 2) включает: резервуар 1, предназначенный для приема бурового раствора, выходящего из скважины; центробежный насос 2, подающий буровой раствор из резервуара 1 в блок очистки; два линейных вибросита 3 СВ1Л; пескоотделитель 4 ГЦК-360; илоотделитель ИГ 45/75 5; центрифугу 6, резервуары 7 для размещения оборудования для очистки раствора и запаса бурового раствора. Буровой раствор в пескоотделитель, илоотделитель и центрифугу подается центробежными насосами 8.

Блок очистки имеет также в своем составе блок коагулянтов и флокулянтов 9, манифольд 10. Емкость блока коагулянтов и флокулянтов разделена на два отсека, в каждом из которых установлен погружной насос 11. К манифольду 10 подводится вода под давлением не менее 0,1 МПа и подлежащий очистке буровой раствор, отбираемый из циркуляции насосом 12.

Нагнетательные трубопроводы насосов 11 также подведены к манифольду 10. Шлам собирается в шламосборниках или выводится в амбар.

Рис. 1. Технологическая схема блока приготовления и обработки бурового раствора

Рис. 2. Технологическая схема блока очистки бурового раствора

3. РАЗРАБОТКА СОСТАВА (РЕЦЕПТУРЫ) И СВОЙСТВ БУРОВЫХ РАСТВОРОВ

3.1. Выбор глинопорошка

Буровой раствор приготавливается из бентонитового глинопорошка, воды и химических реагентов.

В качестве бентонитового глинопорошка может быть использован глинопорошок Константиновского завода или другой бентонитовый порошок, близкий по составу и качеству.

Ниже (табл. 1) приводится химический состав Черкасского и Иджеванского бентонита в сопоставлении с составом бентонита ОКМА.

Таблица 1

Компонентный состав

Содержание, %

Черкасский бентонит

Иджеванский бентонит

Бентонит ОКМА

SiO2

58,9

53,52

57,1

Аl2О3

17,1

15,52

20,6

Fe2O3

7,9

7,40

4,78

TiO2

0,61

-

0,82

K2O

1,27

3,29

1,42

Na2O

0,20

3,29

3,22

СаО

1,53

1,41

3,22

MgO

1,18

3,83

-

Другие свойства: плотность, г/см3

2,5

2,5

2,5

рН суспензии

8-9

8-9

8-9

Содержание монтмориллонита, %

80,0

80-85

75-85

Коэффициент коллоидальности, Кб

0,8

0,7-0,9

0,75-0,85

Как видно из приведенных в таблице 1 данных, Черкасский и Иджеванский бентониты по химическому составу и другим показателям близки к бентониту ОКМА (применяемом в зарубежной практике для приготовления растворов при бурении горизонтально-направленных скважин) и могут быть рекомендованы для использования в качестве основы для приготовления бурового раствора. В приложении 1 приведены показатели свойств бурового раствора, приготовленного из различных глинопорошков.

3.2. Методика расчета показателей свойств и состава бурового раствора

Состав и свойства бурового раствора определяются из условия обеспечения нормального выноса выбуренной породы на дневную поверхность при бурении горизонтально-направленных скважин.

3.2.1. Определим пластическую вязкость бурового раствора:

,                                                (1)

где б - размер удаляемых частиц, м;

rn, rр - плотность выбуренной породы и бурового раствора, кг/м3;

Дскв - диаметр скважины, м;

dt -диаметр бурильной трубы, м;

l - длина горизонтальной скважины, м;

Q - подача буровых насосов, м3/с;

0,29 - размерный коэффициент.

3.2.2. Определим условную вязкость:

Т = h + 15, С                                                               (2)

где h - пластическая вязкость, мПас.

3.2.3. Определим динамическое напряжение сдвига:

tо = (2¸3) h, дПа,                                                        (3)

3.2.4. Определим предельное статическое напряжение сдвига за 1 минуту:

СНС = tо/3, дПа,                                                          (4)

3.2.5. Определим показатель фильтрации:

Ф = 80/h + 4, см3/30 мин.                                                   (5)

3.2.6. Определим содержание коллоидной глинистой составляющей в буровом растворе:

Ск = lnhrb/rp,                                                               (6)

где Ск - объемное содержание коллоидной глинистой составляющей, %:

lnh - натуральный логарифм пластической вязкости (приложение 4);

rb, rp - соответственно, плотность воды и бурового раствора, кг/м3.

3.2.7. Определим содержание глины в буровом растворе на стадии его приготовления:

                                                                       (7)

или

,                                                                   (8)

где Кг - коэффициент коллоидальности используемого глинопорошка, Кг = 0,7-0,8;

rг - плотность глины, кг/м3.

Содержание твердой фазы в буровом растворе в процессе бурения:

                                                                     (9)

где Кт - коэффициент твердой фазы, Кт = 0,3¸0,4.

3.2.8. Содержание органического коллоида

SCpKp = (0,3¸0,5) Ск.                                                   (10)

3.2.9. Содержание реагента-стабилизатора (фактическое содержание SCpKp определяется по методике, приведенной в приложении 2):

Ср + (0,3¸0,5) Скр                                                      (11)

или

,                                                    (12)

где Ср - содержание реагента-стабилизатора в %;

С¢р - содержание реагента-стабилизатора, кг/м3;

Кр - коэффициент активности реагента стабилизатора (см. табл. 1) (определяется по методике, приведенной в приложении 2).

Пример: определить показатели свойств и состав бурового раствора для бурения скважины при следующих условиях: диаметр скважины Дскв = 1,5 м, диаметр бурильных труб - dт = 0,15 м, размер удаляемых частиц - d = 0,005 м; плотность разбуриваемых пород rn = 2000 кг/м3, плотность бурового раствора rр = 1100 кт/м3; подача буровых насосов - Q = 0,06 м3/с; длина скважины - l = 1000 м.

Поставив исходные данные в формулу (1), определим пластическую вязкость раствора:

 мПас.

Определим условную вязкость по формуле (2):

Т = 20,0 + 15 =35,0 с.

Определим динамическое напряжение сдвига по формуле (3):

tо = 20,0 (2¸3) = 40¸60 дПа.

Определим предельное статическое напряжение сдвига через 1 минуту по формуле (4):

СНС = 40¸60/3= 13¸20 дПа.

Определим показатель фильтрации по формуле (5):

Ф = 80/20,0 + 4 = 8,0 см3/30 мин.

Определим содержание коллоидной глинистой составляющей по формуле (6):

Ск = lh20,0×1000/1100 = 2,64 %.

Определим по формуле (7) и (8) содержание глины в буровом растворе:

 %

или

 г/м3.

Определим требуемое содержание органического коллоида по формуле (10):

SCpKp = (0,4×2,64) = 1,06 %.

Определим требуемое содержание реагента-стабилизатора, например, при обработке раствора КМЦ-600:

 %

или

С¢р = 2,9 кг/м3.

Состав и свойства бурового раствора обеспечиваются использованием бурового концентрата, содержащего глинопорошок и химреагент в сочетании с очисткой раствора и разбавлением водой.

3.2.10. Для обеспечения нормального выноса выбуренной породы на дневную поверхность вязкость бурового раствора и другие параметры согласно формуле (1), должны увеличиваться по мере увеличения длины («глубины») горизонтальной скважины. Поэтому параметры и состав бурового раствора должен рассчитываться для разных «глубин» скважины, например, для «глубин» - 200, 400, 600, 800, 1000 и т.д. метров.

Результаты расчета заносятся в таблицу 2.

Таблица 2

Показатели свойств бурового раствора

№ п/п

Наименование показателей

Ед. измер.

Интервал бурения, м

До 200

200-400

400-600

600-800

800-1000

1.

Плотность, rр

г/см3

 

 

 

 

 

2.

Пластическая вязкость, h

мПас

 

 

 

 

 

3.

Условная вязкость, т

с

 

 

 

 

 

4.

Динамическое напряжение сдвига, tо

дПа

 

 

 

 

 

5.

Статическое напряжение сдвига, СНС

дПа

 

 

 

 

 

6.

Показатель фильтрации, Ф

см3/30 м

 

 

 

 

 

7.

Содержание коллоидной глинистой составляющей, Ск

%

 

 

 

 

 

8.

Общее содержание твердой фазы, Ст

%

 

 

 

 

 

9.

Содержание органического коллоида СрКр

%

 

 

 

 

 

4. ТЕХНОЛОГИЯ ПРИГОТОВЛЕНИЯ БУРОВОГО РАСТВОРА

4.1. Объем приготавливаемого бурового раствора

Объем бурового раствора, который будет приготовлен в процессе бурения скважины, складывается из объема бурового раствора в скважине, плюс потери раствора на очистных устройствах, на фильтрацию в трещиноватые и пористые пласты и минус объем раствора, который нарабатывается из разбуриваемых глинистых пород в процессе бурения. Таким образом, объем приготавливаемого раствора можно определить по формуле:

,                         (13)

где Vp - объем раствора, который потребуется для бурения скважины, м3;

Vuc - объем циркуляционной системы, м3;

Vcкв - объем скважины, м3;

Vcкв = 0,785 Д2 × l b                                                      (14)

потери раствора на очистных устройствах;

Vnom = Vcкв×Se×1,66                                                           (15)

Д - диаметр скважины, м;

l - длина скважины, м;

b - коэффициент кавернозности, = 1,2¸1,5;

a - коэффициент, характеризующий потери раствора в результате его фильтрации (поглощения). Так как на этапе проектирования неизвестна характеристика разбуриваемых пород, значение коэффициента принимаем равным a = 1,5;

Se - суммарная степень удаления выбуренной породы очистными устройствами, при использовании 4-х ступенчатой очистки Se =0,6¸0,7;

Kп -   коэффициент коллоидальности разбуриваемых пород, Кп осадочных пород четвертичных отложений равен - Кп = 0,3¸0,4;

rр - плотность бурового раствора, используемого при бурении, г/см3 (т/м3);

hn - коэффициент глинистости, характеризующий содержание глин в разрезе (h = 0,0¸1,0);

lnh - натуральный логарифм вязкости бурового раствора.

Пример 2: объем циркуляционной системы ЦС + 120 м3, диаметр скважины Д = 1,2 м, длина скважины l = 1200 м, степень очистки раствора равна Se = 0,6; коэффициент коллоидальности разбуриваемых пород Кп = 0,2; коэффициент глинистости h = 0,3; плотность бурового раствора согласно регламенту rр = 1,10 г/см3; пластическая вязкость бурового раствора h = 15 мПас.

Определим объем скважины:

Vскв. = 0,785¸1,22¸1200¸1,3 = 1763,4 м3.

Определим потери раствора на очистных устройствах (с учетом, что шлам пескоотделителя и илоотделителя сгущается в центрифуге до плотности 1,7¸1,9 г/см3):

Vnom = Vcкв. Se×1,66 = 1763,4×0,6×1,66 = 1756,3 м3.

Подставляя полученные и исходные данные в формулу (13), получим:

Vp = 120 + 1763,4×1,5 + 1756,3 - 1763,4 (1 - 0,6) = 4521,0 - 1718,0 = 280,30 м3.

4.2. Определим массу требуемого глинопорошка для приготовления бурового раствора:

Массу глинопорошка определим по формуле

,                                                         (16)

где Vp - объем приготавливаемого раствора, м3;

Кг - коэффициент коллоидальности бентонитовой глины, Кг = 0,7;

rг - плотность глины, г/см3, (т/м3)

rг = 2,6 г/см3;

 тонн.

4.3. Определим расход бентонита на 1 метр проходки скважины:

 тонн или 210 кг, т.е.                                  (17)

на каждый метр проходки скважины следует вводить в раствор через гидромешалку четыре-пять мешков бентонитовой глины.

4.4. Расход воды на бурение скважины:

Vb = (Vuc + Vcкв.×a + Vnom)(l - CT),                                                (18)

где Ст - содержание твердой фазы в буровом растворе в долях единицы, Ст = 0,07:

Vb = (120 + 1763,4×1,5 + 1756,3)×(1 - 0,07) = 4521,4×0,93 = 4204,9 м3.

4.5. Технология приготовления исходного бурового раствора.

Емкость 1 (см. рис. 1) блока приготовления на 80 % заполняется водой. Открывается задвижка на приемной линии одного из центробежных насосов 3. Включается в работу центробежный насос, который забирает из емкости воду и подает в приемную воронку 4. Одновременно в приемную воронку загружается глинопорошок, который смешивается с водой и образовавшаяся смесь по трубопроводу возвращается в емкость блока приготовления, образуя замкнутый цикл циркуляции. Количество введенной глины зависит от объема приготавливаемого раствора и ориентировочно определяется как:

Aг =V¢p (64¸103),                                                           (19)

где V¢p - объем воды в емкости блока, м3 (64¸103) - требуемое содержание глины в 1 м3 бурового раствора, кг.

В процессе ввода и дальнейшего процесса приготовления раствора раствор в емкостях перемешивается механическими перемешивателями 6.

После ввода расчетного количества глинопорошка приготовленный буровой раствор центробежным насосом откачивается из блока приготовления в приемные емкости циркуляционной системы и буровыми насосами подается в скважину.

Для ускорения процесса диспергирования глины в суспензии в работу может быть включен гидравлический диспергатор ДГ-2, который работает автономно с использованием цементировочного агрегата ЦА-320. Эффективная работа диспергатора ДГ-2 происходит при давлении на насосе 10,0-11,0 МПа.

При этом насадки диспергатора должны иметь размер 5-7 мм, диспергирование с помощью ДГ-2 осуществляется в течение нескольких циклов в зависимости от режима откачки.

Так как требуемые химические реагенты-стабилизаторы введены в глинопорошок на стадии его приготовления, то дополнительная химическая обработка бурового раствора не предусматривается. В случае необходимости расчетное количество химреагентов вводится в воронку.

Буровой раствор после его приготовления должен отвечать рекомендуемым значениям показателей свойств.

При необходимости приготовления бурового раствора в процессе бурения центробежный насос работает на гидроворонку, а второй - на откачку приготовленного раствора в приемные емкости ЦС. При этом перемешивание раствора осуществляется также механическими перемешивателями ПЛ-2, а диспергирование глины - диспергатором ДГ-2.

5. ТЕХНОЛОГИЯ ОЧИСТКИ БУРОВЫХ РАСТВОРОВ

Применяемое оборудование:

- два вибросита с линейными колебаниями СВ1Л;

- пескоотделитель ГКЦ-360;

- илотделитель ИГ-45/75;

- центрифуга типа ОГШ-50;

- блок коагулянтов и флокулянтов с манифольдом и насосами.

Буровой раствор, выходящий из скважины, поступает в резервуар 1 (см. рис. 2) и оттуда вертикальным шламовым насосом 2 подается на вибросита 3, где очищается от крупных частиц шлама. Шлам сбрасывается в шламосборник, а очищенный раствор поступает в отсек резервуара 7 и центробежным насосом 8 подается в пескоотделитель 4 под давлением 0,2-0,3 МПа. В пескоотделителе осуществляется вторая ступень очистки, при которой частицы размером до 0,07 мм удаляются из раствора через песковую насадку гидроциклона в виде пульпы плотностью rш = 1,4-1,6 г/см3 и поступает в шламосборник, а очищенный раствор через верхний слив гидроциклонов поступает в следующий отсек резервуара 7 и центробежным насосом 8 подается в илоотделитель 5 под давлением 0,3-0,35 МПа. В илоотделителе осуществляется очистка бурового раствора от частиц размером более 0,04-0,05 мм, которые разгружаются из песковых насадок из гидроциклонов в виде пульпы плотностью rш = 1,35-1,4 г/см3 и поступают в шламосборник.

Очищенный в илоотделителе раствор поступает в приемную емкость ЦС и буровыми насосами подается в скважину.

При необходимости буровой раствор может подвергаться более тонкой очистке с помощью центрифуги 6. При этом буровой раствор центробежным насосом 8 подается в центрифугу с производительностью 2,0¸5,0 л/с. В центрифуге в результате наличия интенсивного поля центробежных сил происходит удаление из раствора частиц размером более 5-10 мкм. Выделенные из раствора частицы в виде пульпы плотностью rш = 1,8-1,9 г/см3 разгружаются в шламосборник, а очищенный раствор с плотностью на 0,02-0,04 г/см3 меньше исходного раствора возвращается в систему циркуляции.

Центрифуга также используется совместно с блоком коагулянтов и флокулянтов и манифольдом 10. В этом случае подлежащий очистке буровой раствор насосом 12 подается с производительностью 1-3 л/с в манифольд 10. Здесь он смешивается с водой и растворами коагулянта и флокулянта, подаваемыми в манифольд насосами 11. Растворы коагулянта и флокулянта готовятся заранее в блоке коагулянтов и флокулянтов 9. Из манифольда 10 раствор, смешанный с водой, коагулянтом и флокулянтом, поступает в центрифугу 6. Благодаря химической обработке в центрифуге 6 происходит разделение бурового раствора на воду и шлам. Шлам сбрасывается в шламосборник, а вода используется на технические нужды.

Более подробное описание конструкции технических средств для очистки буровых растворов, их технические характеристики, принцип работы и другая информация приведены в приложении 3.

Показатели свойств бурового раствора, приготовленного из различных глинопорошков

Приложение 1

Показатели свойств бурового раствора, приготовленного из различных глинопорошков

Таблица 3

Состав раствора

h, мПас

h, эф

СНС, дПа

tо, дПа

рН

г/см3

b, см3/30 мин

Ск, % об.

Кг, активн.

В.Р., м3

Стоимость 1 т

№ 1 черкасский бентонит 25 г порошка + 400 см3 горячей воды

2

25,5

12

141

9,4

1,019

8,4

1,65

0,56/0,68

16

452,0 тыс/т без упаковки 0994

25 г порошка + 400 см3 холодной воды

3

11,5

12/18

81

9,4

1,02

11,4

1,815

 

 

 

34 г порошка + 400 см3 горячей воды

2

75,5

6

438

9,4

1,019

9

 

 

11,76

 

№ 2 (Ильский з-д) 25 г + 400 см3 Н2О

5

6

0

6

9,0

1,04

6,8

0,825

0,16/0,27

16

 

51,7 г + 400 cм3 H2О

12

20

6/15

48

9

1,08

5,8

 

 

7,74

 

Болгарский глинопорошок 25 г + 400 см3 Н2О

8

19

42/60

66

10

1,03

8,4

2,64

0,7/1,08

16

 

Иджеванский бентонит (без обработки) 51,7 + 400 см3 Н2О

4,0

12,5

18/45

51

9,2

1,07

12,4

2,97

0,68

7,8 + 8,8

 

51,7 + 450 см3 Н2О + 0,2 % соды + 0,05 % метаса

9

14,5

3/36

33

10,1

1,065

9

2,64

 

10

 

Приложение 2

МЕТОДИКА ОПРЕДЕЛЕНИЯ КАЧЕСТВА ГЛИНОПОРОШКОВ, ХИМРЕАГЕНТОВ И БУРОВЫХ РАСТВОРОВ
(ПАТЕНТ РФ ПО ЗАЯВКЕ № 50299622 ОТ 02.01.1992 г.)

Качество бурового раствора, его реологические и фильтрационные показатели в основном определяются содержанием коллоидной глинистой составляющей, носителем которой является бентонит, используемый для приготовления бурового раствора и разбуриваемые глины, и органических коллоидов, к которым относятся все реагенты-стабилизаторы, применяемые для приготовления и обработки бурового раствора.

Содержание коллоидных глинистых частиц в глине и, следовательно, его качество оценивается коэффициентом коллоидальности Кг, который изменяется от Кг = 1,0 до 0,0.

Коэффициент активности (коллоидальности) реагентов-стабилизаторов изменяется от Кр = 1,2 до (12-14).

Для определения качества материалов при их закупке и применении, а также для контроля содержания неорганических и органических коллоидов в буровом растворе разработан на уровне изобретения экспресс-метод, который в соответствии с договором передается Мострансгазу для практического использования.

1. МЕТОДИКА ОПРЕДЕЛЕНИЯ СОДЕРЖАНИЯ ПОЛИМЕРНОГО РЕАГЕНТА-СТАБИЛИЗАТОРА В БУРОВОМ РАСТВОРЕ

1.1. Назначение и цель применения

Предназначена для определения содержания ионогенных реагентов-стабилизаторов в буровом растворе с целью контроля его компонентного состава и оперативного управления свойствами.

1.2. Содержание и сущность метода

Методика определения содержания реагента-стабилизатора в буровом растворе включает:

- методику определения относительной активности реагентов-стабилизаторов, применяемых для обработки буровых растворов;

- методику определения содержания коллоидных глинистых частиц в буровом растворе;

- методику определения содержания реагента-стабилизатора в фильтрате бурового раствора;

- расчетный метод определения количества реагента-стабилизатора, адсорбированного на твердой фазе бурового раствора, и общего содержания в буровом растворе.

1.3. Необходимые приборы, реактивы, посуда

- водный раствор катионактивного красителя (К): растворитель 13,5 г «К» в 300 мл теплой (t = 30-40 °C) дистиллированной воды. На водяной бане выдержать раствор в течение 1 часа при температуре 40-50 °С, охладить и разбавить до 1000 мл, отфильтровать и хранить в закрытой посуде;

- перекись водорода 3 %-ная «аптечная»;

- дистиллированная вода;

- конические колбы вместимостью 250 мл;

- цилиндры мерные на 25 и 50 мл;

- шприц аптечный на 2 мл с большим размером отверстия (или пипетка с обрезанным носиком);

- стеклянная палочка;

- фильтровальная бумага средней плотности (белая лента);

- бюретка 1,2 класса;

- штатив;

- микрокалькулятор.

1.4. Методика определения коэффициента активности реагентов-стабилизаторов

Последовательность операций следующая.

Приготовить определенной концентрации раствор химического реагента с рН = 9¸10. Шприцем (или пипеткой) отобрать такое количество раствора химического реагента, чтобы в нем содержалось 0,1 г сухого реагента.

Отобранный объем реагента перелить в чистую коническую колбу объемом 250 см3 и добавить дистиллированную воду до 50 мл. Приготовленный раствор титровать водным раствором красителя «К» концентрацией 1,35 %, добавляя его по 1,0 мл. После каждого добавления «К» раствор тщательно перемешивать короткое время (встряхиванием) и стеклянной палочкой из колбы отбирать каплю, нанося на фильтровальною бумагу. При титровании вначале на фильтровальной бумаге появляются расплывчатые пятна. Титрование ведется до тех пор, пока не появится резко очерченный желтый ореол вокруг темного пятна, что указывает на полную нейтрализацию отрицательно заряженных молекул реагента положительно заряженной «К».

Коэффициент активности реагента-стабилизатора определяется из соотношения:

Кр = А/59,

где Кр - коэффициент активности реагента;

А - адсорбция «К» 1 г исследуемого реагента;

59 - адсорбция «К» 1 г эталонного материала в дистиллированной воде.

В таблице 4 приведены значения коэффициентов активности некоторых реагентов-стабилизаторов, применяемых для обработки буровых растворов.

Таблица 4

Реагенты

Кр

М-14

12,5¸14,0

Метас

11,0

Полиакриломид 40 % ст. гидролиза

9,5

КМЦ-500

3,72

КМЦ-600

4,23

Окзил

1,25

ФХЛС

1,18

КССБ-4

1,4

УЩР

1,5-2,0

1.5. Методика определения коллоидных глинистых частиц в буровом растворе

Порядок работы:

Отобрать шприцем 2 мл предварительно перемешенного бурового раствора и перенести его в чистую коническую колбу вместимостью 250 мл;

- добавить 15 мл 3 %-ного раствора перекиси водорода, тщательно размешать и кипятить ровно 4 минуты в колбе (250 мл) с обратным холодильником (стеклянной воронкой). Добавка перекиси водорода позволит исключить влияние на результат определения таких реагентов как гуматы, КМЦ, акриловые и лигносульфонаты;

- после охлаждения измерить объем, разбавить дистиллированной водой до 50 мл и титровать «К»;

- после каждой добавки «К» раствор тщательно перемешивать короткое время (встряхиванием), затем стеклянной палочкой из колбы отобрать каплю и нанести ее на фильтровальную бумагу. При полном сорбировании «К» глиной данной пробы раствора от капли будет оставаться темный круг с четко очерченной границей и прозрачной водой;

- титрование ведется до тех пор, пока от капли на фильтровальной бумаге не появится ореол желто-оранжевого цвета, после этого через 2 мин легкого встряхивания необходимо отобрать повторную каплю, если ореол не исчезнет, то следует считать, что достигнут предел поглощения и титрование закончено, если же ореол исчезнет, следует продолжать титрование добавкой по 0,5-1 мл «К».

Необходимо иметь в виду, что с начала титрования следует добавлять по 0,5-1,0 мл раствора «К», иначе результат может быть искажен.

В некоторых случаях, например, в буровых растворах большой плотности или с малым содержанием твердой фазы, когда концентрация коллоидных частиц, добавка «К» по 1 мл может быть большой, в этом случае конец титрования можно определить только добавками части миллилитра «К», используя микробюретку.

Объемное содержание коллоидных глинистых частиц Ск в боровом растворе определяется из уравнения:

Ск = аV,                                                                       (19)

где V - объем «К», израсходованный на титрование 2 мл исследуемого раствора, мл;

а - расчетный коэффициент, равный - 0,33.

1.6. Методика определения количества реагента-стабилизатора в фильтрате бурового раствора.

Отобрать шприцем (или пипеткой) 2 мл фильтра бурового раствора и перенести его в чистую коническую колбу вместимостью 250 мл, добавить дистиллированную воду до 50 мл. Затем титровать водным раствором красителя «К» (концентрация 1,35 %), добавляя его по 0,1 мл. После каждого добавления «К» раствор тщательно перемешивают короткое время (встряхиванием) и стеклянной палочкой из колбы отбирают каплю и наносят на фильтровальную бумагу. При титровании вначале на фильтровальной бумаге появляется расплывчатое темное пятно. Титрование ведется до тех пор, пока не появится резко очерченный желтый ореол вокруг темного пятна.

Количество органического коллоида в фильтрате бурового раствора определяется по формуле:

SСрКр(ф) = V×100/59 = V×1,69,                                               (20)

где Ср - содержание реагента-стабилизатора в фильтрате бурового раствора, %;

Кр - коэффициент активности определяемого реагента (табл. 4);

V - объем красителя, пошедшего на титрование 1 мл фильтрата бурового раствора, мл;

59 -  объем красителя, идущего на титрование эталонного материала с коэффициентом активности, равным единице, мл.

Приложение 3

ПРИНЦИП ДЕЙСТВИЯ, ТЕХНИЧЕСКИЕ ХАРАКТЕРИСТИКИ И ПРАВИЛА ЭКСПЛУАТАЦИИ СРЕДСТВ ОЧИСТКИ

1. Вибросито

1.1. Принцип действия вибросита.

Вибросито (рис. 3) состоит из виброрамы 1, станины 2, распределителя раствора 3. Виброрама 1 установлена на станине 2 на упражинах 4. Виброграмма 1 совершает линейное колебательное движение под воздействием установленного на ней центробежного вибратора 5, представляющего собой два вращающиеся в подшипниках вала с эксцентричными массами m и эксцентриситетом ч на каждом валу. Валы вибратора приводятся во вращение с помощью электродвигателей 6. Передние пружины размещены на подвижной опоре 7, благодаря этому виброрама может устанавливаться под разным углом наклона с помощью винтов 8.

Работает вибросито следующим образом. Раствор от устья скважины самотеком поступает в распределитель 3 и далее на сетку 9. Распределитель 3 обеспечивает равномерное поступление раствора на виброраму по всей ширине. Частицы породы, размер которых больше размера ячеек сетки, перемещаются к краю виброрамы благодаря колебательному движению сетки, совершаемому вместе с виброрамой, и выбрасываются в амбар. Раствор проходит сквозь сетку и поступает на дальнейшую очистку.

1.2. Рациональный режим вибрации сита

Вибрационное движение рамы 1 решает четыре взаимосвязанные задачи: разрушение структуры раствора и, тем самым, улучшение условий для прохождения его через сетку; преодоление сил поверхностного натяжения раствора, препятствующих его быстрому протеканию через ситовое полотно, предотвращение закупоривания ячеек сетки частицами, размеры которых близки к размерам ячеек; обеспечивание быстрого транспортирования шлама на выброс.

Величина виброускорения в 50 м/с2 при размахе колебаний 3 ... 4 мм обеспечивает как хорошее прохождение раствора через сетку, так и надежное транспортирование шлама. При снижении величины ускорения (например, при замене груза на меньший, или снижения частоты колебаний) наблюдается ухудшение, или даже полное прекращение транспорта шлама, снижение пропускной способности сита. Увеличение виброускорения выше 50 м/с2 снижает долговечность как ситового полотна, так и всей виброрамы в целом.

Рис. 3. Вибросито

1.3. Подбор размеров ячейки сетки

При использовании вибросит на нефтеэмульсионных растворах размеры ячеек сеток подбирают по графику, приведенному на рис. 4, при известной подаче буровых насосов, плотности раствора, количестве вибросит на буровой.

Пример 1. Пусть подача насосов 28 л/с, плотность раствора по ГТН-1 - 1,8 г/см3, на буровой имеется 2 вибросита. По графику на рис. 4 определяем, что пропускную способность по 14 л/с на каждое вибросито (в сумме 28 л/с) вибросита обеспечат на сетках с размером ячейки более 0,32 мм.

График на рис. 4 является приближенным. Поэтому на буровой необходима корректировка размеров ячеек сетки по визуальным наблюдениям за работой вибросит. Считается, что вибросито работает с достаточной нагрузкой, если раствор на ситовом полотне достигает примерно середины нижней кассеты. Если пропускная способность сита недостаточна и раствор прорывается вместе со шламом до края нижней кассеты, то нижнюю кассету заменяют на более крупноячеистую. Если и это не помогает, нужно заменить и верхнюю. И так далее, пока не будет достигнуто нормальное заполнение ситового полотна. Если, наоборот, пропускная способность сита слишком велика, и весь раствор легко проходит уже через сетку верхней кассеты, желательно заменить ее на кассету с сеткой с меньшим размером ячеек. Размер ячейки сетки указывается на оправках кассет или упаковке. Регулирование пропускной способности сита может производиться также изменением угла наклона виброрамы с помощью винтов 8.

1.4. Порядок пуска, остановки и обслуживание вибросит

1.4.1. Пуск.

Перед подачей раствора на сито смочить поверхность сетки водой. Включить двигатели. Подавать раствор на сито.

1.4.2. Остановка.

После прекращения подачи раствора на сито, промыть поверхность сетки водой, отключить двигатели. Проверить целостность сетки. При порывах размером более 100 мм, допускающих проход шлама через сетки, заменить кассету.

1.4.3. Обслуживание.

Смазка подшипников - ежемесячно. Для смазки применять Литол-2. В зимнее время перед пуском после длительной остановки необходимо прогревать подшипниковый узел. Ежедневно проверять крепление двигателя к виброраме. При смене кассет натяжение производить, начиная со средних болтов. Следить за наличием резиновых подкладок на всех продольных и поперечных ребрах.

Рис. 4. График для определения размера сетки вибросит

1 - плотность раствора 1,10 г/см3

2 - 1,4 г/см3

3 - 1,6 г/см3

4 - 1,8 г/см3

5 - 2 г/см3

1.5. Контроль за работой вибросит

Осуществляется визуальный контроль за расположением границы раствора на ситовом полотне и транспортированием шлама. Иногда при поступлении на сито рыхлого глинистого шлама может нарушиться его транспортирование. В этом случае необходимо время от времени промывать шлам струёй воды, не останавливая вибросито. Так же поступают, если раствор периодически прорывается до конца нижней кассеты. Для обеспечения надежной работы двигателей вибросит, необходимо тщательно выполнять указания инструкции по эксплуатации по соединению кабеля с двигателем. Регулярно контролировать состояние кабеля, особенно на клеммах двигателя. Характерные неисправности вибросит и методы их устранения приведены в таблице 5.

Таблица 5

Характерные неисправности вибросит и методы их устранения

Наименование неисправностей

Вероятная причина

Методы устранения

1. Подшипниковый узел вибратора перегревается

Отсутствие или излишек смазки

Добавить смазку или удалить излишнюю смазку

2. Шум в подшипниковом узле

Износ подшипника

Заменить подшипник

3. Шум при вибрации со стороны деталей виброрамы

Касание деталей виброрамы станины. Ослаблены болты. Перекошены пружины

Устранить касание деталей виброрамы и станины. Подтянуть болты. Выставить пружины

4. Вибросито не выходит на режим линейных колебаний; неустойчивая вибрация

Повышенное сопротивление вращению одного из валов вибратора из-за некачественной смазки, сильного износа подшипников, касания вала и крышки подшипникового узла, смещения оси двигателя относительно оси вала

Обеспечить свободное вращение вала

5. Быстрый износ упругих элементов муфты вибратора

Перекос двигателя относительно вала

Устранить перекос, устанавливать упругие элементы диаметром 14 мм

6. Мал срок службы сеток

Слабое натяжение кассет. Изношены или отсутствуют резиновые накладки на опорных ребрах виброрамы. Некачественная кассета

Натянуть кассеты. Заменить накладки. Заменить кассету

7. Медленно транспортируется шлам

Липкий глинистый шлам

Увеличить угол наклона виброрамы в сторону выгрузки

2. Песко- и илотделитель

2.1. Принцип действия

Песко- и илотделитель состоит из гидроциклонов, размещенных на едином коллекторе, и насоса, подающего раствор из емкости ЦС в коллектор и затем в каждый гидроциклон. Количество гидроциклонов в установке - от 2 до 16.

Гидроциклон (рис. 5) состоит из цилиндрического 1 и конического 2 корпусов, тангенциального патрубка 3, сливного патрубка 4. Нижняя часть конического корпуса 2 часто делается съемной и называется насадком 5.

2.2. Режим работы песко- и илоотделителя

Давление на входе в пескоотделитель должно быть не менее 2,4 атм, а в илоотделитель - не менее 3 атм (для илоотделителей ИГ-45 М допускается снижение давления до 2,2 атм). При этом давлении обеспечивается необходимая пропускная способность гидроциклонов. При меньшем давлении резко падает очистная способность установок и возрастают потери раствора. Давление более 3,5 атм также недопустимо, так как при этом возрастает расход раствора через гидроциклоны, ухудшается очистка и увеличивается абразивный износ гидроциклонов.

Как следует из описания принципа действия гидроциклонов, наиболее характерными признаками нормальной работы гидроциклонов являются подсос воздуха через песковые насадки и выброс шлама из песковых насадков в радиальном направлении в виде «зонтика».

В постоянно очищаемом растворе содержится, как правило, весьма небольшое количество частиц, подлежащих отделению в гидроциклонах.

Пример 2. Предположим, что бурение осуществляется долотом диаметром D = 393,7 мм, механическая скорость Vмех = 10 м/ч. Секундное поступление выбуренной породы в раствор:

 м3/с = 0,41 л/с.

Секундный объем породы, удаляемой илоотделением при степени очистки его, e = 0,4 : qu = 0,4×0,41 = 0,164 л/с. При использовании илоотделителя с 12 гидроциклонами получаем на 1 гидроциклон нагрузку 0,0137 л/с или около 14 мл/с.

Как видим, нагрузка илоотделителя по шламу невелика даже при столь большой механической скорости, принятой в примере. Это ведет к тому, что в нормальных условиях эксплуатации илоотделителя шлам из песковых насадков идет зачастую не сплошным потоком, а периодическими выбросами, «зонтик» не имеет сплошного и четко очерченного контура.

Плотность пульпы, выходящей из песковых насадков пескоотделителя, не должна быть ниже 1,50 г/см3, илоотделителя - 1,5 г/см3. При малых скоростях бурения (менее 5 м/ч) допускается снижение минимальной плотности пульпы соответственно до 1,40 и 1,30 г/см3.

Некоторые гидроциклоны имеют песковые насадки с регулируемым диаметром отверстия. Увеличение диаметра ведет к увеличению потерь раствора, но повышает очистную способность гидроциклона, уменьшение диаметра имеет обратное действие и, к тому же, возрастает вероятность закупоривания насадки частицами породы.

Рис. 5. Схема гидроциклона

Таблица 6

Нарушение режима работы песко- и илоотделителя и пути их устранения

Признак нарушения режима

Сопутствующие признаки

Возможная причина

Способы устранения нарушений

1. He поступает пульпа из пускового насадка

Нет подсоса воздуха через насадок. Вибрация корпуса гидроциклона

Забит песковой насадок

Прочистить песковой насадок

2. Пульта из пескового насадка идет сплошной струей с большим напором

Плотность пульпы близка к плотности раствора. Нет подсоса воздуха через насадок.

Полностью или частично забит сливной патрубок

Прочистить сливной патрубок

3. Пульпа из пескового насадка идет сплошной струей с небольшим напором

Плотность пульпы близка к плотности раствора

Частично забит нагнетательный патрубок. Повышенное сопротивление сливной линии

Прочистить нагнетательный патрубок. Устранить на виброситах сетки с минимальными ячейками

Пульпа с большим содержанием твердой фазы из пескового насадка илоотделителя идет сплошной струёй с небольшим напором. Большой расход пульпы высокой плотности, частая закупорка насадков

Плотность пульпы более 1,5 г/см3. Возможно снижение давления на входе в коллекторе

Илоотделитель перегружен по твердой фазе

Включить пескоотделитель. Установить на виброситах сетки с минимальными ячейками

5. Плотность пульпы ниже нормы

Давление по манометру ниже нормы

Недостаточное давление на входе в коллекторе

Прочистить всасывающую и нагнетательную линии насоса. Устранить подсос воздуха через сальники насоса. Отремонтировать или заменить насос

6. Плотность пульпы ниже нормы при нормальном давлении

 

Большой диаметр насадков

Уменьшить диаметр песковых насадков

Таблица 7

Технические характеристики песко- и илоотделителей

Характеристика

Ед. из мер.

Тип установки

Пескоотделитель ПГ-45

Илоотделитель ИГ-45/75

Пескоотделитель ГКЦ-360

Пропускная способность

л/с

45

45

45

Давление на входе

МПа

0,24 ... 0,3

0,24 ... 0,3

0,24 ... 0,3

Размер удаляемых частиц

мм

0,08

0,04

0,08

Внутренний диаметр гидроциклонов

мм

150

75

360

Количество гидроциклонов

шт.

4

12

1

Габариты:

 

 

 

 

длина

мм

1350

2460

2000

ширина

мм

700

950

1000

высота

мм

1250

1500

900

Масса

кг

260

333

400

2.3. Порядок пуска, остановки и обслуживание песко- и илоотделителей

2.3.1. Пуск и остановка.

Запустить насос. Проверить давление на нагнетательной линии. Остановка: выключить насос, промыть водой отвод пульпы. При длительной остановке насосов в зимнее время закрыть задвижку на всасывающей линии насоса и слить остатки раствора из насоса и трубопроводов.

2.3.2. Обслуживание.

При значительной течи через сальник насоса подтянуть грундбуксу. При полной затяжке грундбуксы заменить сальниковую набивку.

2.4. Контроль за работой песко- и илоотделителей

Контроль осуществляется как визуально, так и путем измерений. Для измерений необходимы манометр на входе в коллектор и ареометр. Признаки наиболее часто встречающихся нарушений режима работы песко- и илоотделителей, возможные причины нарушений и пути их устранения приведены в табл. 6.

Из перечисленных в табл. 6 признаков наиболее часто встречается указанный в п. 1. Забивка насадков происходит в основном из-за попадания в гидроциклоны крупных кусков породы или мусора. Прочистка гидроциклонов в этом случае часто возможна только путем разборки корпуса. Во избежание частой забивки песковых насадков, на всасывающем патрубке насосов необходимо устанавливать легкосъемные быстроочищаемые фильтры.

Регулирование работы песко- и илоотделителя не предусмотрено, за исключением изменения диаметра песковых насадков (см. выше).

Под песковыми насадками песко- и илоотделителей иногда устанавливают вибросита с мелкоячеистыми сетками. Опыт эксплуатации таких установок показывает их высокую эффективность.

2.5. Технические характеристики некоторых типов песко- и илоотделителей

Технические характеристики ряда установок приведены в табл. 7.

3. Центрифуга

3.1. Назначение и устройство

Центрифуга предназначена для очистки буровых растворов от выбуренной породы.

При поступлении бурового раствора в центрифугу под действием центробежных сил происходит разделение его на сгущенную твердую фазу (шлам) и очищенный раствор.

Разделение бурового раствора в центрифуге происходит непрерывно, при этом очищенный раствор возвращается в циркуляционную систему, а шлам выводится в шламосборник.

Центрифуга включает в себя ротор 1 (рис. 6) цилиндроконической формы, расположенной горизонтально. Опорами ротора служат коренные подшипники 2, корпуса которых укреплены на станине 3. Вращение ротора осуществляется от электродвигателя посредством клиноременной передачи.

Внутри ротора соосно расположен шнек 4, предназначенный для транспортирования осадка твердой фазы к выгрузочным окнам ротора. Шнек вращается в ту же сторону, что и ротор, но с меньшей скоростью. Разность в скорости вращения необходима для принудительного перемещения осадка внутренней поверхности ротора. Вращение шнеку сообщается ротором через планетарный редуктор 5.

Рис. 6. Центрифуга

Через полые цапфы ротора и шнека проходит питающая труба 6, по которой буровой раствор подводится во внутреннюю полость барабана шнека и далее через отверстия в обечайке шнека в ротор.

Твердая фаза осаждается на стенке ротора и транспортируется к выгрузочным окнам, расположенным у меньшего диаметра ротора, а фугат движется к большому диаметру ротора и через сливные окна сбрасывается в приемный отсек кожуха центрифуги.

Радиус слива регулируется поворотом кольца на цапфе ротора, частично закрывающим сливные отверстия.

Для отключения электродвигателя при перегрузке редуктора в центрифуге предусмотрен механизм блокировки редуктора.

3.2. Техническая характеристика центрифуги

Подача бурового раствора, м3/ч, не более                                                             18

Диаметр ротора, мм                                                                                                 500

Частота вращения ротора, об/мин                                                                          2300

Установленная мощность, кВт                                                                               30

Масса, кг, не более                                                                                                   3000

3.3. Подготовка к работе

Перед пуском центрифуги необходимо:

- проверить наличие масла в редукторе центрифуги, отвернув пробку редуктора. Уровень масла должен быть на 20 ... 30 мм ниже внутренней поверхности заливного отверстия;

- проверить исправность механизма блокировки редуктора, для чего необходимо поворотом рычага редуктора опрокинуть рычаг механизма блокировки, при этом рычаг последнего должен повернуться на 90°, и нажать на ролик конечного выключателя до его срабатывания;

- убедиться в отсутствии осадка в роторе, для чего необходимо вручную провернуть ротор;

- убедиться, что 2 винта дренажных отверстий на большой цапфе ротора завинчены до упора.

3.4. Порядок работы

Произвести пуск электродвигателя привода центрифуги.

Подать воду в центрифугу. Через 5-10 мин. подачу воды прекратить, включить насос и подать раствор на разделение.

При остановке глиноотделителя прекращают подачу раствора и подают воду в ротор для промывки. После промывки ротора в течение 5-10 мин. отключают электродвигатель привода центрифуги.

Упрощенная картина работы гидроциклона следующая. Подлежащий очистке раствор насосом из ЦС подается под давлением в общий коллектор гидроциклонов, откуда с большой скоростью (до 20 м/с) через патрубок 3 - в корпус 1 каждого гидроциклона. Так как патрубок 3 выполнен тангенциальным, то раствор в корпусах 1 и 2 приобретает вращательное движение и под действием центробежной силы занимает положение, близкое к указанному на рис. 5. По оси гидроциклона образуется свободное пространство (так называемые воздушный столб). Свободная поверхность раствора, вращающегося в неподвижном корпусе гидроциклона, имеет приблизительно цилиндрическую форму и ограничивает воздушный столб. Так как диаметр отверстия насадка 5 меньше диаметра патрубка 4, то раствор сливается через патрубок 4 в коллектор и выбрасывается в ЦС. Поскольку раствор в гидроциклоне вращается, то на каждую частицу породы, находящуюся в нем, действует центробежная сила, которая заставляет частицы оседать на стенки корпусов 1 и 2. Под напором раствора, непрерывно поступающего в гидроциклон через патрубок 3, и под действием силы тяжести частицы движутся по стенкам не по окружности, а по спирали, постепенно опускаясь вниз к насадку 5, достигнув которого, они, сохраняя еще вращательное движение, вместе с небольшой частью раствора выбрасываются из насадка в пульпоприемник. Так как раствор все время уходит из гидроциклона через патрубок 4, то он уносит с собой и часть воздуха, поэтому воздух все время засасывается через насадок 5 внутрь гидроциклона.

Пескоотделитель отличается от илоотделителя тем, что имеет гидроциклоны большего диаметра (150-400). Линейная скорость раствора на входе в гидроциклоны песко- и илоотделителя примерно одинакова. При равной линейной скорости вращательного движения центробежная сила обратно пропорциональна радиусу вращения. Поэтому в гидроциклонах илоотделителя центробежная сила больше, чем в гидроциклонах пескоотделителя и илоотделитель может отделять более мелкие частицы и его очистная способность существенно выше. Хотя эффективность пескоотделителя ниже эффективности илоотделителя, он применяется для предотвращения перегрузки илоотделителя при больших скоростях бурения, когда в раствор поступает в единицы времени большое количество выбуренной породы.

Характерные неисправности центрифуги и методы их устранения приведены в табл. 8.

Таблица 8

Характерные неисправности центрифуги и методы их устранения

Наименование неисправностей

Вероятная причина

Метод устранения

1. Неудовлетворительное качество очистки

Малая зона осушки

Поворотом кольца на роторе центрифуги установить оптимальный радиус слива

2. Частое срабатывание механизма блокировки редуктора

Происходит перегрузка редуктора вследствие:

 

чрезмерной концентрации твердой фазы;

уменьшить подачу раствора

большой подачи раствора, неисправен механизм блокировки редуктора

уменьшить подачу раствора, проверить исправность механизма блокировки редуктора и срабатывания механизма при усилии на рычаг 70 кгс

3. Повышенная вибрация блока центрифуги

Попадание в центрифугу посторонних предметов

Забивание витков шнека осадком

Удалить посторонние предметы из центрифуги

Промыть центрифугу

4. Периодически появляющийся при работе скрежет

Задевание шнека о сухой осадок на стенках ротора

Промыть центрифугу

5. Чрезмерный нагрев редуктора

Неправильная смазка

Проверить качество и количество масла в редукторе.

В случае необходимости долить или заменить масло МС-20

6. Ухудшение или прекращение подачи раствора насосом

Повышенное газосодержание раствора

Ввести в раствор пеногаситель

7. Прорыв раствора в шламовый патрубок

Забивание витков шнека осадком

Промыть центрифугу при ручном проворачивании ротора. Уменьшить подачу раствора

4. Блок коагулянтов и флокулянтов и манифольд

4.1. Устройство и принцип действия

Блок коагулянтов и флокулянтов представляет собой емкость 1 (рис. 7), разделенную на два отсека объемом 2,25 м3. В обоих отсеках установлены погружные насосы 2 и перемешиватели 3. Насосы 2 гибкими рукавами соединены с манифольдом 4. Манифольд 4 представляет собой змеевик, выполненный из трубы диаметром 76 мм на входе, в которой установлен насос 5, а выход соединен с центрифугой 6. На нагнетательной линии насоса 5 смонтирован диафрагменный расходомер, включающий диафрагму 7 и два манометра 8. Регулирование подачи раствора в манифольд осуществляется задвижкой 9. В змеевик манифольда врезаны три штуцера. К первому по ходу раствора штуцеру подводится под давлением вода, расход ее регулируется вентилем 10. Расход воды определяется с помощью расходомера, включавшего диафрагму 11, и манометра 12. Ко второму по ходу раствора штуцеру подводится раствор коагулянта из соответствующего отсека емкости 1. Нагнетательная линия погружного насоса 2 соединена с указанным штуцером с помощью крана 13. К третьему по ходу раствора штуцеру подводится раствор флокулянта из соответствующего отсека емкости 1, а нагнетательная линия насоса 2 соединена с указанным штуцером с помощью крана 14.

Работает система следующим образом. В одном отсеке емкости 1 готовится водный раствор коагулянта, во втором отсеке - водный раствор флокулянта. Производится тарировка диафрагм 7 и 11. Для этого задвижку 9 и вентиль 10 временно отсоединяют от манифольда и подают на диафрагму 7 буровой раствор, а на диафрагму 11 - воду. Регулируя величину расхода раствора и воды с помощью задвижки 9 и вентиля 10 с помощью мерной емкости и секундомера определяют, какой разности показаний манометров 8 и 12 соответствует данный расход раствора и воды соответственно. По результатам измерений строится график зависимости расхода от разности показаний манометров, установленных на входе в диафрагму и на выходе из нее.

Затем снова соединяют задвижку 9 и вентиль 10 с манифольдом и подают насосом 5 подлежащий очистке буровой раствор в манифольд 4. Расход раствора должен быть в пределах 1-2 л/с.

Рис. 7. Блок коагулянтов и флокулянтов и манифольд

Затем открывается вентиль 10 так, чтобы расход воды на входе в манифольд равнялся расходу раствора. Затем включают насосы 2 и открывают краны 13 и 14, и в манифольд начинают поступать растворы коагулянта и флокулянта. В процессе движения в трубе манифольда буровой раствор смешивается последовательно вначале с водой, затем с коагулянтом, затем с флокулянтом, происходит разрушение структуры раствора, его твердая фаза коагулирует. Далее обработанный коагулянтом и флокулянтом раствор попадает в центрифугу 6, где под действием центробежной силы происходит разделение раствора на шлам и светлую воду. Вода затем используется для технических нужд буровой, а шлам выводится в шламосборник.

4.2. Регулирование качества разделения раствора в центрифуге

Регулирование осуществляется главным образом путем изменения величины расхода раствора через задвижку 9 и воды через вентиль 10. Чем сильнее разбавление водой и меньше расход раствора, тем легче отделяется твердая фаза в центрифуге. Подача насосов 2 постоянна, поэтому содержание коагулянта и флокулянта в растворе на выходе из манифольда может регулироваться также, в основном, изменением расхода раствора или воды. Возможно такое регулирование путем изменения концентрации коагулянта и флокулянта в емкости 1. Следует учитывать, что количество коагулянта и флокулянта должно быть достаточным для разрушения структуры раствора, но не должно быть слишком большим, так как полученная в центрифуге вода может оказаться перенасыщенной этими реагентами и будет непригодна для обработки бурового раствора в циркуляции.

4.3. Техническая характеристика блока коагулянтов и флокулянтов и манифольда:

- рабочая емкость блока, м3                                                         4,5

- подача погружных насосов, л/с                                                0,2

- подача раствора, л/с                                                                   1-3

- давление воды на входе в манифольд, МПа, не менее          0,1

- масса, кг                                                                                      1500.

Приложение 4

Таблица натуральных логарифмов

единицы десятки

0

1

2

3

4

5

6

7

8

9

0

-

0,000

0,693

1,098

1,386

1,609

1,792

1,946

2,080

2,197

1

2,303

2,398

2,485

2,565

2,639

2,708

2,773

2,833

2,890

2,944

2

2,996

3,044

3,091

3,135

3,178

3,219

3,258

3,296

3,332

3,367

3

3,401

3,434

3,466

3,496

3,526

3,555

3,583

3,611

3,638

3,664

4

3,689

3,714

3,738

3,761

3,784

3,807

3,829

3,850

3,871

3,892

5

3,912

3,932

3,951

3,970

3,989

4,007

4,025

4,043

4,060

4,077

6

4,094

4,111

4,127

4,143

4,159

4,174

4,190

4,205

4,219

4,234

7

4,248

4,263

4,277

4,290

4,304

4,317

4,331

4,344

4,357

4,369

8

4,382

4,394

4,407

4,419

4,431

4,443

4,454

4,466

4,477

4,488

9

4,500

4,511

4,522

4,532

4,543

4,554

4,564

4,575

4,585

4,595

10

4,605

4,615

4,625

4,635

4,644

4,654

4,663

4,673

4,682

4,691

Раздел 2. ОХРАНА ОКРУЖАЮЩЕЙ СРЕДЫ ПРИ СТРОИТЕЛЬСТВЕ ПОДВОДНЫХ ПЕРЕХОДОВ ГАЗОПРОВОДОВ МЕТОДОМ НАПРАВЛЕННОГО БУРЕНИЯ

1. ВВЕДЕНИЕ

1.1. Раздел «охрана» окружающей среды» является самостоятельным разделом рабочего проекта на строительство горизонтально-направленных скважин. Он состоит из краткой пояснительной записки и подразделов, охватывающих весь комплекс организационных и инженерных решений по основным этапам строительства скважин. Такими подразделами являются:

- «Охрана почв и водных объектов при подготовительных, строительно-монтажных работах и в процессе бурения»;

- «Очистка, обезвоживание и утилизация отходов бурения»;

- «Охрана атмосферного воздуха от загрязнения»;

- «Ликвидация шламовых амбаров и рекультивация земель»;

- «Контроль за состоянием и охраной окружающей природной среды».

1.2. При составлении указанного раздела рабочего проекта следует руководствоваться требованиями «Инструкции по охране окружающей среды при строительстве скважин» и действующими нормативно-техническими и руководящими документами по охране окружающей среды и рациональному природопользованию при строительстве скважин на суше, список которых приведен в приложении 1. Разработка подразделов должна вестись в тесной взаимосвязи друг с другом.

1.3. Комплекс средозащитных мероприятий выбирается в учетом особенностей природно-климатических и почвенно-ландшафтных условий строительства скважин и проектируемой технологии бурения и должен обеспечивать исключение или уменьшение возможных негативных последствий в объектах природной среды в процессе и после окончания буровых работ.

1.4. Все природоохранные мероприятия подлежат осмечиванию в установленном порядке. Если для решения природоохранных задач проводятся работы, не указанные в нормативных документах или используется нестандартное оборудование или материалы, то для них разрабатываются местные нормы и расценки, утверждаемые производственной организацией.

Содержание раздела - «Охрана окружающей среды».

2. ПОЯСНИТЕЛЬНАЯ ЗАПИСКА

2.1. Пояснительная записка является основным документом, характеризующим природно-климатические, почвенно-ландшафтные особенности района ведения буровых работ и природоохранный уровень проектируемой технологии строительства скважин.

2.2. В пояснительной записке должны быть приведены исходные данные и обоснование принятия решений по объему, сроку и характеру работ для охраны окружающей среды, используемые для этой цели материалы, технические средства и организационные меры.

Перечень исходных материалов приведен в приложении 2.

2.3. Пояснительная записка должна содержать.

2.3.1. Расположение участка строительства скважины относительно охранных зон и заповедных территорий, а также хозяйственное назначение земель, определяемое по топографическому или ситуационному плану района строительства скважин и на основе анализа данных органов землеустроительной службы местной администрации.

2.3.2. Фон загрязнения объектов природной среды с характерными для района загрязнителями, в т.ч. углеводорода и сероводорода, определяемый до начала разработки проекта на строительство скважин. Такие сведения получают по данным местных метеостанций, бюро расчета и справок Госкомгидромета (для воздуха), региональных гидрохимлабораторий (для водных объектов) и агрохимлабораторий основного землепользователя (для почвы, грунтов и почвенно-растительного покрова), а также по данным местных санэпидемстанций (санитарно-гигиеническая обстановка в районах бурения).

2.3.3. Применяемые технико-технологические решения по конструкции скважин, буровым и тампонажным растворам, материалам и проводки скважин, которые направлены на предотвращение загрязнения окружающей среды.

2.3.4. Объемы образующихся отходов бурения по их видам, определяют расчетным путем в соответствии с РД 39-3-819-32, СТО 00-000-055-86 и другими региональными методическими документами.

2.3.5. Система сбора и хранения отходов бурения должна исключить поступление отходов бурения в объекты природной среды и проектируется исходя из конкретных условий бурения.

2.3.6. Методы и системы очистки, обезвоживания и утилизации отходов бурения выбираются на основе прогнозных данных об уровне их токсичности, степени опасности для объектов окружающей среды.

2.3.7. Места захоронения отходов бурения выбираются в установленном порядке по согласованию с местной администрацией, природоохранными и санитарными органами.

2.3.8. Сроки и методы рекультивации земель после окончания строительства скважин определяются в соответствии с действующими нормативно-техническими документами, приведенными в приложении 1.

2.3.9. Организационные мероприятия по предупреждению загрязнения объектов природной среды выбираются на основе существующих в отрасли нормативно-технических и руководящих документов.

2.4. Пояснительная записка должна быть краткой, содержать полный комплекс необходимых сведений и отражать современный уровень работ по защите окружающей среды.

3. ОХРАНА ПОЧВ И ВОДНЫХ ОБЪЕКТОВ ПРИ ПОДГОТОВИТЕЛЬНЫХ, СТРОИТЕЛЬНО-МОНТАЖНЫХ РАБОТАХ И В ПРОЦЕССЕ БУРЕНИЯ

3.1. Комплекс природоохранных мероприятий по защите почв и водных объектов при подготовительных строительно-монтажных работах разрабатывается с использованием материалов, приведенных в приложении 2. Комплекс включает:

снятие почвенного покрова с территории земельного участка, отведенного под буровую;

перемещение почвенного слоя и минерального грунта в места временного складирования;

формирование искусственной насыпной площадки под буровую (при строительстве скважин на затопляемых территориях и болотистой местности);

сооружение систем накопления и хранения отходов бурения и систем инженерной канализации стоков буровой в места их организованного сбора;

обустройство мест локального сбора и хранения отходов;

обустройство земельного участка защитными каналами или обваловкой.

3.2. При проектировании работ по снятию, складированию и. хранению почв руководствуются нормативными актами и отраслевыми руководящими документами.

3.3. Объем и виды работ по защите почв и водных объектов, а также используемые при этом материалы и технические средства представляются в виде таблиц (3.1 и 3.2).

Таблица 3.1

Работа по охране почв и водных объектов при подготовительных работах и в процессе бурения

№ п/п

Наименование и характеристика работ

Единица измерения

Объем работ

Шифр источника расценок

Организация, выполняющая работы (буровое предприятие, специализированная организация и т.п.)

1

2

3

4

5

6

1.

Снятие плодородного слоя почвы на глубину с перемещением в места складирования и хранения

100 м3

 

 

 

2.

Укрепление поверхности откосов кагатов (складированной почвы)

га

 

 

 

3.

Формирование искусственной площадки под буровую

100 м3

 

 

 

4.

Строительство амбара для накопления отходов бурения

100 м3

 

 

 

Таблица 3.2

Материалы и технические средства, используемые при проведении работ по охране почв и водных объектов при подготовительных работах и в процессе бурения

№ работ по табл.

Наименование материалов и технических средств

ГОСТ, ОСТ, ТУ и др.

Единица измерения

Кол-во

Шифр источника расценок

1.1.

Бульдозер (марка)

 

шт.

 

 

1.2.

Экскаватор (марка)

 

шт.

 

 

2.1.

Бульдозер (марка)

 

шт.

 

 

2.2.

Автогрейдер (марка)

 

шт.

 

 

3.1.

Автосамосвал (марка)

 

шт.

 

 

3.2.

Бульдозер (марка)

 

шт.

 

 

4.1.

Экскаватор (марка)

 

шт.

 

 

4.2.

Бульдозер (марка)

 

шт.

 

 

4. ОЧИСТКА, ОБЕЗВРЕЖИВАНИЕ И УТИЛИЗАЦИЯ ОТХОДОВ БУРЕНИЯ

4.1. В настоящем подразделе приводятся материалы по очистке, обезвреживанию и утилизации отходов в процессе бурения и при окончании строительства скважин.

4.2. В подразделе приводится краткое описание технологической схемы очистки буровых сточных вод (БСВ) с указанием необходимых для этой цели материалов и технических средств. Объемы работ по очистке и утилизации БСВ, применяемые технические средства и материалы приводятся отдельными таблицами (4.1. и 4.2.).

4.3. Подраздел должен предусматривать меры по сбору и утилизации отработанного бурового раствора (ОБР) и бурового шлама (БШ), согласованные с местными природоохранными органами на захоронение малотоксичных шламов на территории буровой.

4.4. Объемы работ, перечень используемых материалов и технических средств для обработки ОБР и утилизации БШ приведены в виде таблиц 4.3. и 4.4.

Таблица 4.1

Объем и виды работ по очистке и утилизации буровых сточных вод (БСВ)

№ п/п

Наименование и характеристика

Единица измерения

Объем работ

Шифр источника расценок

Организация, выполняющая работу (буровое предприятие, специализированная организация и т.п.)

1.

Очистка буровых сточных вод

м3

 

 

 

2.

Утилизация очищенных буровых сточных вод

м3

 

 

 

2.1.

Использование БСВ в системе оборотного водоснабжения буровой

м3

 

 

 

2.2.

Безопасный сброс на рельеф местности

м3

 

 

 

2.3.

Безопасный сброс в водные объекты

м3

 

 

 

Таблица 4.2

Материалы и технические средства, используемые для очистки и утилизации буровых сточных вод

№ работ по табл.

Наименование материалов и технических средств

ГОСТ, ОСТ, ТУ и т.д.

Единица измерения

Количество

Шифр источника расценок

1.1

Коагулянт (наименование)

 

т

 

 

1.2.

Флокулянт (наименование)

 

кг

 

 

1.3.

Установка для очистки БСВ

 

шт.

 

 

1.4.

Водяной насос (привод)

 

шт.

 

 

1.5.

Емкости для растворов коагулянта и флокулянта (объем)

 

шт.

 

 

1.6.

Краны и задвижки

 

шт.

 

 

Таблица 4.3

Объем и виды работ по обработке ОБР и утилизации (захоронению) БШ

№ п/п

Наименование характеристика работ

Ед. изм.

Объем работ

Шифр источника расценок

Организация, выполняющая работы (бур. предприятия, специализ. организация)

1.

Обезвоживание ОБР с последующей очисткой жидкой фазы и захоронением твердой

м3

т

 

 

 

2.

Захоронение БШ

т

 

 

 

Таблица 4.4

Материалы и технические средства, используемые при обработке (обезвоживание) ОБР и утилизации БШ

№ вида работ по т. 4.3

Наименование материалов и технических средств

ГОСТ, ОСТ, ТУ и т.д.

Ед. изм.

Кол-во

Шифр источника расценок"

1.1.

Центрифуга

 

шт.

 

 

1.2.

Блок хим. усиления

 

шт.

 

 

1.3.

Коагулянт

 

т

 

 

1.4.

Флокулянт

 

т

 

 

2.1.

Транспортер

 

шт.

 

 

5. ОХРАНА АТМОСФЕРНОГО ВОЗДУХА ОТ ЗАГРЯЗНЕНИЯ

5.1. В подразделе должна быть приведена краткая характеристика источников поступления загрязняющих веществ в атмосферу в виде табл. 5.1.

5.2. Объемы работ по охране атмосферного воздуха и применяемые при этом материалы и технические средства приводятся в табл. 5.2. и 5.3.

Таблица 5.1

Характеристика источников выбросов загрязняющих веществ в атмосферу

№ п/п

Источник выделения вредных веществ

Число источников

Выделяемые вредные вещества

Единица измерения

Кол-во выбрасываемых веществ в атмосферу

1.

Двигатели внутреннего сгорания (тип буровой установки, передвижной электростанции)

 

Окись углерода

Двуокись азота

Углеводороды

Сернистый ангидрид Сажа

Бенз(а) пирен

т/год

-

-

-

-

 

2.

Котельная установка (марка)

 

Твердые частицы

Двуокись серы

Двуокись азота

Окись углерода

Оксиды ванадия

т/год

г

Таблица 5.2

Объемы и виды работ по охране атмосферного воздуха от загрязнений

№ п/п

Наименование и характеристика работ

Единица измерения

Объем работ

Шифр источника расценок

Организация, выполняющая работы (буровые или др. предприятия)

1.

Нейтрализация токсичных соединений, выделяемых ДВС

т/год

 

 

 

Таблица 5.3

Материалы и технические средства, используемые для выполнения работ по охране атмосферного воздуха

№ работ по табл.

Наименование материалов и технических средств

ГОСТ, ОСТ, ТУ и т.д.

Ед. измерения

Кол-во

Шифр источника расценок

1.1.

Известь негашеная, комковая

 

т

 

 

1.2.

Емкость для известкового раствора (12 м3)

 

шт.

 

 

1.3.

Коллектор выхлопных газов (труба б/у Д)

 

100 м

 

 

1.4.

Дополнительные выхлопные линии от дизелей, фильтра коллектора и электростанции

 

м

 

 

6. ЛИКВИДАЦИЯ ШЛАМОВЫХ АМБАРОВ И РЕКУЛЬТИВАЦИЯ ЗЕМЕЛЬ

6.1. Работы по ликвидации шламовых амбаров должны включать засыпку их грунтом из обваловки и планировку площадки.

6.2. Виды и объемы работ по технической рекультивации земель представляются в виде таблиц 6.1. и 6.2.

Таблица 6.1

Объемы и виды работ по технической рекультивации земель

№ п/п

Наименование и характеристика работ

Ед. измерения

Объем работ

Шифр источника расценок

Организация, выполняющая работы (буровые или др. предприятия)

1.

Вывоз загрязненного грунта, мусора

т

 

 

 

2.

Засыпка амбаров грунтом из обваловки

м3

 

 

 

3.

Планировка площадки

100 м2

 

 

 

Таблица 6.2

Материалы и технические средства, используемые при выполнении работ по технической рекультивации земель

№ работ по табл.

Наименование материалов и технических средств

ГОСТ, ОСТ, ТУ и т.д.

Ед. измерения

Кол-во

Шифр источника расценок

1.1.

Бульдозер

 

шт.

 

 

1.2.

Грейдер

 

шт.

 

 

2.1.

Грейдер

 

шт.

 

 

2.2.

Бульдозер

 

шт.

 

 

6.3. При разработке комплекса мер по горно-технической рекультивации земель, нарушенных бурением, используются действующие нормативно-технические и методические документы, в том числе технологические схемы рекультивации земель, разработанные отраслевыми территориальными проектными институтами и специализированными организациями сельскохозяйственного и лесного профиля.

7. КОНТРОЛЬ ЗА СОСТОЯНИЕМ И ОХРАНОЙ ОКРУЖАЮЩЕЙ ПРИРОДНОЙ СРЕДЫ

7.1. В рабочем проекте должен быть предусмотрен контроль за состоянием и охраной окружающей природной среды в процессе ведения буровых работ.

7.2. Виды и объемы работ по контролю за состоянием, охраной и рациональным использованием окружающей среды, а также применяемые при этом материалы представляются в табл. 7.1. и 7.2.

Таблица 7.1

Объемы и виды работ по контролю за состоянием и охраной окружающей природной среды

№ п/п

Наименование и характеристика работ

Ед. изм.

Объем работ

Шифр источника расценок

Организация, выполняющая работы

1.

Оборудование пункта наблюдения измерит. аппаратурой

1 пункт

 

 

 

2.

Проведено наблюдений на пунктах контрольной сети

пункт

месяц

 

 

 

3.

Отбор проб на анализ (атмосферного воздуха, поверхностных и подземных вод, почв, отходов бурения)

проба

 

 

 

4.

Транспортирование проб в лабораторию на расстояние

км

 

 

 

5.

Проведение химических проб

1 анализ

 

 

 

6.

Камеральная обработки результатов анализов проб

-

 

 

 

Таблица 7.2

Материалы и технические средства, используемые при выполнении работ по контролю за состоянием и охраной окружающей природной среды

№ вида работ по табл. 7.1.

Наименование материалов и технических средств

ГОСТ, ОСТ, ТУ и т.п. на изготовление

Единица измерения

Кол-во

1.

Расходомеры, уровнемеры, манометры, приборы, рейки

 

 

 

2.

Гидрогеологическая рулетка, рейка водомерная переносная, термометр гидрогеологический, пробоотборник

 

 

 

3.

Консерванты, лабораторное оборудование, приборы

 

 

 

4.

Автотранспорт

 

 

 

5.

Химреактивы, лабораторное оборудование, приборы

 

 

 

7.3. Контроль осуществляется на временных пунктах наблюдения за поверхностными водами, атмосферным воздухом, оценкой степени загрязнения почвы.

7.4. При строительстве скважин должен осуществляться контроль за объемом и рациональным использованием природных вод, степени очистки сточных вод.

7.5. Проведение работ по контролю за состоянием и охраной окружающей природной среды организует либо заказчик, либо передает средства на проведение этих работ специализированным организациям.

Приложение 1

ПЕРЕЧЕНЬ
основных нормативно-методических материалов, рекомендуемых при разработке рабочего проекта «Охрана окружающей природной среды»

1. ОХРАНА АТМОСФЕРНОГО ВОЗДУХА ОТ ЗАГРЯЗНЕНИЯ

1.1. ГОСТ 17.2.1.01-76. Охрана природы. Атмосфера. Классификация выбросов по составу.

1.2. ГОСТ 17.2.1.03-84. Охрана природы. Атмосфера. Термины и определения контроля загрязнения.

1.3. ГОСТ 17.2.1.04-77. Охрана природы. Атмосфера. Метеорологические аспекты загрязнения и промышленные выбросы. Основные термины и определения.

1.4. ГОСТ 17.2.3.02-81. Охрана природы. Атмосфера. Правила установления допустимых выбросов вредных веществ промышленными предприятиями.

1.5. ГОСТ 17.2.4.02-81. Охрана природы. Атмосфера. Общие требования и методы определения загрязняющих веществ.

1.6. ГОСТ 17.2.1.01-76 + (изм. № 1 от 01.01.81). Охрана природы. Атмосфера. Классификация выбросов по составу.

1.7. ГОСТ 17.2.2.03-87. Охрана природы. Атмосфера. Нормы и методы содержания окиси углерода и углеводородов в отработанных газах автомобилей с бензиновыми двигателями.

1.8. ОНД-86. Методика расчета в атмосферном воздухе вредных веществ, содержащихся в выбросах предприятий. - К: Гидрометеоиздат, 1987.

1.9. Временная методика нормирования промышленных выбросов в атмосферу (расчет и порядок разработки нормативов предельно допустимых выбросов). - М: ГТО им. А.И. Воейкова, 1981.

1.10. ОНД. № 1-84. Инструкция о порядке рассмотрения, согласования и экспертизы воздухоохранных мероприятий и выдачи разрешений на выброс загрязняющих веществ в атмосферу по проектным решениям. - М: Гидрометеоиздат, 1984.

1.11. РД 50-210-80. Методические указания по внедрению ГОСТ 17.2.3.02-78. Охрана природы. Атмосфера. Правила установления ПДВ вредных веществ промышленными предприятиями. М: Изд-во Стандартов, 1981.

1.12. Временные указания по определению фондовых концентраций вредных веществ в атмосферном воздухе для нормирования выбросов и установления предельно допустимых выбросов. - М: Гидрометеоиздат, 1981.

1.13. РД 52.02.52-85. Методические указания. Регулирование выбросов при неблагоприятных метеорологических условиях, - Новосибирск: ЗапСибНИИ Госкомгидромета СССР, 1986.

1.14. Сборник законодательных, нормативных и методических документов для экспертизы воздухоохранных мероприятий. - Л: Гидрометеоиздат, 1986.

1.15. Сборник методик по расчету выбросов загрязняющих веществ различными производствами. - Л: Гидрометеоиздат, 1986.

1.16. Руководство по проектированию санитарно-защитных зон промышленных предприятий. М: Стройиздат, 1984.

1.17. СН 245-71. Санитарные нормы проектирования промышленных предприятий. - М: Стройиздат, 1972.

1.18. Типовая инструкция по организации системы контроля промышленных выбросов в атмосферу в отрасли промышленности. - Л: Изд-во им. А.И. Воейкова. 1986.

1.19. Сборник методик по определению концентраций загрязняющих веществ в промышленных выбросах. - М: Гидрометеоиздат, 1984, ч. 1.

1.20. Сборник отраслевых методик измерений концентраций загрязняющих веществ в промышленных выбросах. - М: Гидрометеоиздат, 1985, ч. 2.

1.21. Список предельно допустимых концентраций (ПДК) загрязняющих веществ в атмосферном воздухе населенных мест № 3086-84 (от 27.08.84). - М: Минздрав СССР, 1984.

1.22. Ориентировочные безопасные уровни воздействия (ОБУВ) загрязняющих веществ в атмосферном воздухе населенных мест (список № 2847-83 от 24.12.83). - М. Минздрав СССР, 1984.

Примечание: Списки ПДК и ОБУВ регулярно дополняются и уточняются Минздравом СССР.

1.23. Пособие к СНиП 1.02.01-85 по составлению раздела проекта (рабочего проекта) «Охрана окружающей природной среды» - М: 1988.

1.24. Санитарная охрана атмосферного воздуха населенных мест. СанПиН № 4946. - М: Минздрав СССР, 1989.

2. ОХРАНА ПОВЕРХНОСТНЫХ И ПОДЗЕМНЫХ ВОД ОТ ЗАГРЯЗНЕНИЯ И ИСТОЩЕНИЯ

2.1. ГОСТ 17.1.1.01-77. Охрана природы. Гидросфера. Использование и охрана вод. Основные термины и определения.

2.2. ГОСТ 17.1.1.02-77. Охрана природы. Гидросфера. Классификация водных объектов.

2.3. ГОСТ 17.1.1.03-78. Охрана природы. Гидросфера. Классификация водопользования.

2.4. ГОСТ 17.1.1.04-80. Охрана природы. Гидросфера. Классификация подземных вод по целям водопользования.

2.5. ГОСТ 17.1.3.05-82 (СТ СЭВ 3078-81). Охрана природы. Общие требования к охране поверхностных и подземных вод от загрязнения нефтью и нефтепродуктами.

2.6. ГОСТ 17.1.3.06-82 (СТ СЭВ 3079-81). Охрана природы. Гидросфера. Общие требования к охране подземных вод.

2.7. ГОСТ 2874-82. Вода питьевая. Гигиенические требования и контроль за качеством.

2.8. ГОСТ 25151-82 (СТ СЭВ 2084-80). Водоснабжение. Термины и определения.

2.9. ГОСТ 17.1.3.12-86. Охрана природы. Гидросфера. Общие правила охраны вод от загрязнения при бурении и добыче нефти и газа на суше.

2.10. ГОСТ 17.1.3.13-86. Охрана природы. Гидросфера. Общие требования к охране поверхностных вод от загрязнения.

2.11. ГОСТ 17.4.3.05-86. Охрана природы. Почвы. Требования к сточным водам и их осадкам для орошения и удобрения.

2.12. ГОСТ 17.1.3.09-82. Охрана природы. Гидросфера. Требования к -хозяйственно питьевому водообеспечению судов.

2.13. ГОСТ 17.1.3.02-77. Охрана природы. Гидросфера. Правила охраны вод от загрязнения при бурении и освоении морских скважин на нефть и газ.

2.14. ОСТ 51-01-03-84. Охрана природы. Гидросфера. Очистка сточных вод в морской нефтегазодобыче. Основные требования к качеству очистки.

2.15. ОСТ 51-01-06-85. Охрана природы. Гидросфера. Правила утилизации отходов бурения и нефтедобычи в море.

2.16. Инструкция о порядке выдачи разрешений на производство буровых, геологоразведочных и других работ на акватории и в пределах береговой охранной полосы Каспийского моря. Утверждена: Минводхозом СССР, Рыбхозом СССР. Минздравом СССР. - М: 1978.

2.17. СНиП 2.04.02-84. Водоснабжение. Наружные сети и сооружения.

2.18. СНиП 3.05.04-85. Наружные сети и сооружения водоснабжения и канализации.

2.19. СН 496-77. Временная инструкция по проектированию сооружений для очистки поверхностных сточных вод.

2.20. Санитарные правила и нормы охраны поверхностных вод от загрязнения. СанПиН 4630-88. - М: Минздрав СССР, 1988.

2.21. Методические указания по применению правил охраны поверхностных вод от загрязнения сточными водами. - Москва-Харьков: Минводхоз СССР, Минздрав СССР, Минрыбхоз СССР, ВНИИВО, 1982.

2.22. Методические указания по установлению (ПДС) предельно допустимых сбросов веществ, поступающих в водные объекты со сточными водами. - М.: Минводхоз СССР, 1982.

2.23. ИВН 33-5.1.07-87. Методические указания о составе, содержании, порядке разработки, согласований, утверждения и уточнения схем комплексного использования и охраны водных ресурсов. - М.: Минводхоз СССР, 1987.

2.24. ИВН 33-5.1.02-83. Инструкция о порядке согласования и выдачи разрешений на специальное водопользование. - М.: Минводхоз СССР, 1984.

2.25. Укрупненные нормы водопотребления и водоотведения для различных отраслей промышленности. - М.: Стройиздат, 1982.

2.26. ИВЫ 23-5.03-85. Инструкция. Классификация источников загрязнения водных объектов. - М.: Минводхоз СССР, 1985.

2.27. Рекомендации по установлению водоохранных зон малых рек. - Харьков: Минводхоз СССР. ВНИИВО, 1982.

2.28. Временные рекомендации по проектированию сооружений для очистки поверхностного стока с территории предприятия и расчету условий выпуска его в вводные объекты. - М.: ВНИИВОДГЕО Госстроя СССР, ВНИИВО Минводхоза СССР, 1983.

2.29. Положение об охране подземных вод. - М.: Мингео СССР, 1985.

2.30. Рекомендации по проведению гидрохимического опробования и физико-химических исследований для оценки загрязненных подземных вод. - М.: Стройиздат 1986.

2.31. Рекомендации по размещению и проектированию выпусков сточных вод. - М.: Госкомгидромет СССР, 1981.

2.32. Правила приема производственных сточных вод в системе канализации населенных пунктов. - М.: АКХ, 1985.

2.33. Рекомендации по прогнозированию качества поверхностных вод с учетом изменений антропогенной нагрузки и режима водопользования. - М.: Минтрансстрой СССР, 1984.

2.34. ОНД-1-86. Указания о порядке рассмотрения и согласования органами рыбоохраны намечаемых решений и проектной документации на строительство предприятий, зданий и сооружений. - М.: Минрыбхоз СССР. 1986.

2.35. Правила охраны от загрязнения прибрежных вод морей. - М.: Минводхоз СССР, 1987.

2.36. Предельно допустимые концентрации (ПДК) и ориентировочные безопасные уровни воздействия (ОБУВ) вредных веществ в воде водных объектов хозяйственно-питьевого и культурно-бытового водопользования (№ 2932-93 от 24.10.83). - М.: Минздрав СССР, 1986.

2.37. Обобщенные перечни предельно допустимых концентраций вредных веществ в воде водных объектов, используемых для рыбохозяйственных целей (от 30.12.86). - М.: Минводхоз СССР, Центральная гидрохимическая лаборатория, 1986.

Примечание. Списки ПДК и ОКУВ регулярно дополняются и уточняются Минздравом СССР.

2.38. Постановление Совета Министров СССР от 15 сентября 1958 г. с изменениями согласно постановлению Совета Министров СССР от 10 декабря 1965 г. и 10 декабря 1969 г. «Об утверждении положения об охране рыбных запасов и о регулировании рыболовства в водоемах СССР». Решения партии и правительства по хозяйственным вопросам. Сборник документов (т. 7). - М.: Политиздат, 1979.

2.39. СНиП 2.06.15-85. Инженерная защита территории от затопления и подтопления.

2.40. СНиП 1.02.07-87. Инженерные изыскания для строительства. Госстрой СССР, ГУТК СССР. - М.: ЦИТП Госстроя СССР, 1987.

2.41. РД 39-2-688-82. Комплект типовой документации, оформленный при выдаче точек и отчуждения земельных участков для размещения буровых. - М.: ВНИИОЭНГ, 1982.

2.42. Санитарные правила и нормы охраны прибрежных вод морей от загрязнения в местах водопользования населения. СанПиН, № 46 1-88. - М.: Минздрав СССР, 1988.

2.43. Методические указания по гигиенической оценке малых рек и санитарному контролю за мероприятиями по их охране в местах водопользования (№ 3180-84). - М.: Минздрав СССР, 1985.

2.44. Методические указания по рассмотрению предельно допустимых сбросов (ПДС) веществ, поступающих в водные объекты со сточными водами. (№ 2775-83). - М.: Минздрав СССР, 1983.

2.45. Санитарные правила проектирования, строительства и эксплуатации водохранилищ. (СанПиН № 3907-85). - М.: Минздрав СССР, 1987.

3. ВОССТАНОВЛЕНИЕ (РЕКУЛЬТИВАЦИЯ) ЗЕМЕЛЬНОГО УЧАСТКА, ИСПОЛЬЗОВАНИЕ ПЛОДОРОДНОГО СЛОЯ ПОЧВЫ, ОХРАНА НЕДР И ЖИВОТНОГО МИРА

3.1. СНиП 2.01.28-85. Полигоны по обезвреживанию и захоронению токсичных промышленных отходов. Основные положения по проектированию.

3.2. ГОСТ 17.4.1.03-84. Охрана природы. Почвы. Термины и определения химического загрязнения.

3.3. СТ СЭВ 4.4.70-84. Охрана природы. Почвы. Номенклатура показателей санитарного состояния.

3.4. ГОСТ 17.4.2.02-83. Охрана природы. Почвы. Номенклатура показателей пригодности нарушенного плодородного слоя почв для землевания.

3.5. ГОСТ 17.4.3.02-85. Охрана природы. Почвы. Требования к охране плодородного слоя почвы при производстве земельных работ.

3.6. ГОСТ 17.4.3.04-85. Охрана природы. Почвы. Общие требования к контролю и охране от загрязнения.

3.7. ГОСТ 17.5.1.01-83. Охрана природы. Земли. Рекультивация земель. Термины и определения.

3.8. ГОСТ 17.5.1.02-85. Охрана природы. Земли. Классификация нарушенных земель для рекультивации.

3.9. ГОСТ 17.5.1.04-80. Охрана природы. Земли. Классификация землепользования.

3.10. ГОСТ 17.5.1.06.-84. Охрана природы. Земли. Классификация малопродуктивных угодий для землевания.

3.11. ГОСТ 17.5.3.04-83. Охрана природы. Земли. Общие требования и рекультивация земель.

3.12. ГОСТ 17.5.3.05-84. Охрана природы. Рекультивация земель. Общие требования к землеванию.

3.13. ГОСТ 17.5.3.06-85. Охрана природы. Земли. Требования к определению норм снятия плодородного слоя почв при производстве земляных работ.

3.14. ГОСТ 17.4.2.03-86. Охрана природы. Почвы. Паспорт почв.

3.15. ГОСТ 17.4.3.06-86. Охрана природы. Почвы. Общие требования к классификации почв по влиянию на них химических загрязняющих веществ.

3.16. ГОСТ 27593-88. Почвы. Термины и определения.

3.17. СТО 08-000-056-86. Рекультивация земель после окончания строительства нефтяных и газовых скважин на буровых предприятиях. УкрГИПРОНИИнефть, Киев, 1986.

3.18. РД 39-3-319-82. Методические указания по определению объема отработанных буровых растворов и шлама при строительстве скважин.

3.19. Инструкция о порядке возмещения землепользователем убытков, причиненных изъятием или временным занятием земельных участков, а также потерь сельскохозяйственного производства, связанных с изъятием земель, для несельскохозяйственных нужд. - М.: Минсельхоз СССР, Минфин СССР, Минюст СССР, 1976.

3.20. Методические указания по составлению проектов рекультивации земель, нарушенных горными работами. - М.: Гидроруда, 1986.

3.21. Рекомендации по снятию плодородного слоя почвы при производстве горных, строительных и других работ. - М.: Колос, 1983.

3.22. Положение о порядке передачи рекультивированных земель землепользователям, предприятиям, организациям, учреждениям, разрабатывающим месторождения полезных ископаемых и торфа, проводящими геологоразведочные, изыскательские, строительные и иные работы, связанные с нарушением почвенного покроя, - М.: Колос, 1978.

3.23. Типовые технологические схемы рекультивации нарушенных земель на разрезах. - Пермь: Минуглепром СССР, 1984.

3.24. Сборник укрупненных нормативов затрат на рекультивацию нарушенных земель. - М.: ГИЗР Госагропрома СССР, 1987.

3.25. Единые правила охраны недр при разработке месторождений твердых полезных ископаемых. - М.: Госгортехнадзор СССР, 1985.

3.26. ГОСТ 17.5.1.03-86. Охрана природы. Земли. Классификация вскрышных и вмещающихся пород для биологической рекультивации земель.

3.27. Методические указания по осуществлению государственного надзора за использованием и охраной недр. - М.: Госгортехнадзор СССР, 1976.

3.28. Сборник руководящих материалов по охране природы. - М.: Недра, 1973.

3.29. Положение о порядке выдачи разрешений на застройку площадей залегания полезных ископаемых. - М.: Госгортехнадзор СССР, 1985.

3.30. Временный классификатор токсичных промышленных отходов и методические рекомендации по определению класса токсичности промышленных отходов. - М.: Минздрав СССР, ГКНТ СССР, 1987.

3.31. Санитарные правила проектирования, строительства и эксплуатации полигонов захоронения неутилизированных промышленных отходов. - М.: Минздрав СССР, 1986.

3.32. РД 39-3-819-82. Методические указания по определению объемов отработанных буровых растворов и шлама при строительстве скважин. - Краснодар: ВНИИКРнефть, 1983.

3.33. Положение о порядке ликвидации нефтяных, газовых и других скважин и списания затрат на их сооружение, утвержденное Госгортехнадзором СССР 08.02.83. № 2.

3.34. РД 39-2-1182-84. Инструкция по оборудованию устьев и стволов опорных, параметрических, поисковых, разведочных, эксплуатационных, наблюдательных, нагнетательных, структурных, структурно-неохимических и специальных скважин при их ликвидации или консервации. - М. ВНИИБТ, 1985.

4. ЭКОНОМИЧЕСКАЯ ЭФФЕКТИВНОСТЬ ПРИРОДООХРАННЫХ МЕРОПРИЯТИЙ

4.1. СН 423-71. Инструкция по определению экономической эффективности капитальных вложений в строительство.

4.2. Временная типовая методика определения экономической эффективности осуществления природоохранных мероприятий и оценки экономического ущерба, причиняемого народному хозяйству загрязнением окружающей среды. - М.: Госстрой СССР. Госплан СССР. АН СССР. 1983.

4.3. Методика определения экономической эффективности использования в народном хозяйстве новой техники, изобретений и рационализаторских предложений. - М.: Экономика, 1977.

4.4. Методика определения экономической эффективности рекультивации нарушенных земель. - М.: Госплан СССР, Госагропром СССР, 1986.

4.5. Временная методика оценки экономического ущерба от загрязнения атмосферы выбросами предприятий черной металлургии. Сумской филиал ХПИ им. В.И. Ленина (проект). - Сумы, 1988.

4.6. Методические рекомендации по гигиеническому обоснованию размещения и развития производительных сил на территории нового освоения в промышленно развитых районах. - М.: Минздрав СССР, АМН СССР, 1983.

Приложение 2

ПЕРЕЧЕНЬ
исходных материалов, используемых при разработке природоохранных мероприятий

Исходные данные

Источник информации

Примечание

1

2

3

1. Материалы об отводе земельных участков, требование землепользователей

Органы землеустроительной службы

 

2. Общая характеристика района

 

 

2.1. Топографический или ситуационный план района рекультивации в масштабе 1:5000 (1:10000; 1:25000) с указанием объекта рекультивации, существующих строений, дорог, электрических сетей, систем водоснабжения, канализации и т.д.

 

 

2.2. Природные условия района: рельеф местности, среднемноголетняя и среднемесячная температура, продолжительность периода с положительным значением температур, осадки среднемесячные, сведения о снеговом покрове и глубине промерзания грунтов, преобладающие направления и скорости ветра, влажность воздуха, естественная растительность района и пр.

Местные метеостанции. Бюро расчетов и справок Госкомгидромета СССР (БРИС) СН и П 2.01.01-02

Строительная климатология и геофизика, агроклиматические справочники

 

2.3. Гидрологическая характеристика поверхности вод (рек, озер, водоемов)

 

 

2.4. Инженерно-геологическая характеристика участка (трассы) строительства или рекультивации, данные о строении и мощности грунтов и пород, их физико-механические характеристики (крепость, механический состав, объемный вес, углы естественного откоса, коэффициенты фильтрации в естественном и нарушенном состоянии, химический состав и т.д.)

Заказчик, результаты проведенных изысканий в районе строительства, органы Мингео СССР

 

2.5. Гидрогеологические условия (характеристика водоносных горизонтов и грунтовых вод; химический состав и уровни грунтовых вод; связь водоносных горизонтов друг с другом и поверхностными водами, роль водоносных горизонтов в обводнении территории и влияние их на условия рекультивации земель)

Заказчик, органы Мингео СССР, данные режимных геологических наблюдений, проведенных ранее

 

2.6. Почвенная характеристика участка (трассы) строительства или рекультивации; основные типы почв, их мощность, содержание гумуса, агрохимическая и агропроизводственная характеристика почв, характер их распределения по поверхности участка

Органы и организация Госагропрома СССР, институты системы Гипрозема

 

2.7. Материалы других ранее проведенных изысканий

Заказчик

 

3. Характеристика объекта рекультивации

 

 

3.1 Площадь нарушаемых земель при строительстве скважин (м)

Технологические отделы генерального проектировщика

 

3.2 Виды и параметры ожидаемого нарушения земель (котлован, трасса и т.п.)

Проектный институт

 

3.3. Требования биологического этапа рекультивации к технологическому (мощность рекультивационного слоя, допускаемые уклоны поверхности и т.п.)

Заказчик, землепользователи

 

СОДЕРЖАНИЕ

Введение. 1

Преимущества и ограничения способа направленного бурения. 1

Область применения наклонно-направленного бурения при строительстве трубопроводов. 2

Глава 1. Инженерные изыскания. 2

1.1. Общие требования. 2

1.2. Геологические изыскания. 3

1.3. Лабораторные исследования грунта. 4

1.4. Прогнозирование русловых деформаций. 4

1.5. Топографическая съемка. 4

Глава 2. Проектирование перехода. 4

2.1. Общие требования. 4

2.2. Выбор метода строительства перехода. 5

Глава 3. Конструкция рабочего трубопровода. 6

3.1. Выбор материала и допускаемые напряжения трубопровода. 6

3.2. Требования к изоляции трубопровода. 6

3.3. Катодная защита трубопровода. 7

Глава 4. Организация и технология строительства. 8

4.1. Общие требования. 8

4.2. Организация строительства. 8

4.3. Состав буровой установки и обслуживающий персонал. 9

4.4. Технологическая схема и этапы наклонно-направленного бурения при строительстве переходов трубопроводов. 9

4.5. Бурение пионерной скважины.. 11

4.6. Буровой (бентонитовый) раствор для направленного бурения. 11

4.7. Расширение пионерной скважины.. 12

4.8. Монтаж и прокладка рабочего трубопровода. 12

4.9. Контроль качества строительства. 13

4.10. Требования безопасности ведения работ. 13

4.11. Охрана окружающей среды.. 13

Глава 5 сдача перехода в эксплуатацию.. 14

5.1. Испытания рабочего трубопровода. 14

5.2. Исполнительная документация на переход, законченный строительством.. 14

Литература. Ошибка! Закладка не определена.

Приложение 1. Технические данные буровой установки на тяговое усилие 250 тс и с оборудованием для бурения. 15

Приложение 2. Результаты испытаний образцов буровых глин с добавками частично гидролизованного полиакрилимида. 16

Приложение 3. Перечень исполнительной документации. 16

Приложение 4. Паспорт на переход трубопровода, построенного способом наклонно-направленного бурения. 17

Приложение 5. Пособие к Ведомственным нормам «Технология приготовления и очистки буровых растворов, промывки скважин и утилизации отходов» при бурении горизонтально-направленных скважин на предприятиях ОАО «Газпром». 18

 

 




ГОСТЫ, СТРОИТЕЛЬНЫЕ и ТЕХНИЧЕСКИЕ НОРМАТИВЫ.
Некоммерческая онлайн система, содержащая все Российские Госты, национальные Стандарты и нормативы.
В Системе содержится более 150000 файлов нормативно-технической документации, действующей на территории РФ.
Система предназначена для широкого круга инженерно-технических специалистов.

Рейтинг@Mail.ru Яндекс цитирования

Copyright © www.gostrf.com, 2008 - 2026