Крупнейшая бесплатная информационно-справочная система онлайн доступа к полному собранию технических нормативно-правовых актов РФ. Огромная база технических нормативов (более 150 тысяч документов) и полное собрание национальных стандартов, аутентичное официальной базе Госстандарта. GOSTRF.com - это более 1 Терабайта бесплатной технической информации для всех пользователей интернета. Все электронные копии представленных здесь документов могут распространяться без каких-либо ограничений. Поощряется распространение информации с этого сайта на любых других ресурсах. Каждый человек имеет право на неограниченный доступ к этим документам! Каждый человек имеет право на знание требований, изложенных в данных нормативно-правовых актах!

  


 

Федеральная служба морского флота России

ИНСТРУКЦИЯ ПО ПРОЕКТИРОВАНИЮ
МОРСКИХ ПРИЧАЛЬНЫХ
И БЕРЕГОУКРЕПИТЕЛЬНЫХ СООРУЖЕНИЙ

РД 31.31.55-93

Москва

1996

Требования настоящей Инструкции распространяются на проектирование причальных и берегоукрепительных сооружений морских портов и судоремонтных заводов.

Инструкция содержит общие требования по проектированию стационарных причальных и берегоукрепительных сооружений, специальные требования по проектированию гравитационных сооружений уголкового профиля и из массивовой кладки, причалов типа "больверк" с анкеровкой на одном уровне, экранированный больверк, эстакад, палов, причальных сооружений для особых условий (Арктика), на слабых грунтах и в сейсмических районах.

РАЗРАБОТАНА Государственным проектно-изыскательским и научно-исследовательским институтом морского транспорта "Союзморниипроект" при участии институтов "Ленморниипроект", "Черноморниипроект" и Дальневосточного научно-исследовательского проектно-изыскательского и конструкторско-технологического института морского флота (ДНИИМФ)

ВВЕДЕНА В ДЕЙСТВИЕ с 01.06.93 Заместителем Директора Департамента морского транспорта Министерства транспорта Российской Федерации Гришиным Б.С., письмо от 16.04.93 № СМ-35/759.

1. ОБЩИЕ ПОЛОЖЕНИЯ

1.1. При проектировании морских причальных и берегоукрепительных сооружений надлежит с учетом указаний Инструкции соблюдать требования, предусмотренные СНиП 2.06.01-86 и требования других соответствующих нормативных документов, приведенных в справочном приложении 1.

1.2. Проектирование причальных и берегоукрепительных сооружений, возводимых в сейсмических районах, в зонах распространения просадочных, набухающих, торфяных грунтов, на подрабатываемых и подверженных оползням и карстам территориях и в других особых условиях, должно производиться с учетом дополнительных требований соответствующих нормативных документов, а при отсутствии таковых - на основе специально проводимых исследований.

1.3. Порядок выдачи заданий на проектирование, стадийность, объем, содержание и оформление проектной документации должны соответствовать указаниям СНиП 1.02.01-85.

1.4. При разработке проекта причального или берегоукрепительного сооружения необходимо иметь исходные данные, определяемые в соответствии с генеральным планом и технологической частью проекта, с учетом создания необходимой ширины территории и площади акватории порта, удобных водных, железнодорожных и автодорожных подходов, минимальных объемов земляных работ по созданию территории и акватории портов, оптимального баланса объемов выемки и насыпи, перспективы развития порта (причального фронта) в увязке с планировкой городской застройки.

1.5. Технологическая часть проекта определяет следующие исходные данные:

длину причалов;

отметку дна у причала;

отметку кордона причала;

категорию эксплуатационных нагрузок;

типы и размерения расчетных судов;

специальные требования к причалу;

состав и размещение инженерных сетей и перегрузочного оборудования.

1.6. Исходными данными являются также следующие сведения о естественных условиях и застройке участка строительства:

а) топографические (план участка строительства с горизонталями и привязкой существующих зданий и сооружений);

б) гидрографические (план промеров глубин акватории с построением изобат, сведения о морских свалках грунта и кладбищах судов);

в) гидро- и метеорологические (режимные характеристики ветра, волнения, течения и уровней воды, сведения о ледовом режиме, заносимости или размыве в районе расположения проектируемого сооружения и примыкающих водных бассейнов, степень агрессивности среды, климатические данные);

г) биологические, характеризующие отсутствие или наличие древоточцев различных видов, степень интенсивности их деятельности сохранность и гниение древесины на различных уровнях, наличие биологических объектов, подлежащих охране;

д) геологические и гидрогеологические (геологические профили, физико-механические характеристики грунтов основания и засыпки, сведения о грунтовых водах и их агрессивности);

е) данные о сейсмичности (с учетом микрорайонирования), а также о карстовых, оползневых и просадочных явлениях на участке строительства.

1.7. Данные об условиях производства работ должны включать следующие сведения:

а) производственные возможности строительной организации (производственные базы, их расположение и характеристика, краны и иное строительное оборудование, трудовые ресурсы);

б) размещение предприятий, изготовляющих сборные железобетонные элементы, их производственная мощность, степень загрузки, технологические возможности;

в) транспортные связи района строительства с базами, заводами-поставщиками, пунктами заготовки местных строительных материалов;

г) местные строительные материалы (номенклатура, количественная и качественная характеристики, условия разработки и транспортировки).

1.8. Морские причальные сооружения подразделяются на постоянные и временные.

Постоянные сооружения предназначены для длительной эксплуатации.

К временным относятся сооружения со сроком службы не более 5 лет: причалы для сезонных или временных погрузо-разгрузочных операций, временные убежища для стоянки судов, а также сооружения, используемые в период строительства или ремонта постоянных сооружений.

1.9. Причальные сооружения подразделяются в зависимости от:

а) расположения по отношению к берегу на набережные, пирсы (узкие и широкие), рейдовые (островные и плавучие);

б) возможности перемещения - на стационарные и передвижные;

в) конструктивных особенностей и принципа работы - на гравитационные, тонкие стенки типа "больверк", эстакады, мостового типа, смешанного типа, плавучие причалы;

г) применяемых строительных материалов - на бетонные, железобетонные, стальные, деревянные и смешанные;

д) восприятия бокового давления грунта - на распорные и безраспорные;

е) назначения (специализации) - на причалы: грузовые (для генеральных тарно-штучных, лесных, навалочных и насыпных грузов, для контейнеров, тяжеловесов, лихтеров и наливных грузов);

пассажирские;

паромных переправ;

судоремонтные;

отстойные;

портофлота.

1.10. Класс портовых сооружений следует назначать в соответствии с требованиями СНиП 2.06.01-86.

1.11. В составе комплексного объекта строительства могут устанавливаться разные классы для отдельных сооружений в зависимости от их значения в общем комплексе. При этом к повышенному классу следует относить сооружения, прекращение работы которых в случае ремонта или аварии существенно нарушает работу комплексного объекта или связанного с ним территориального промышленного предприятия.

1.12. В качестве строительных материалов для строительства причальных сооружений применяются бетон, железобетон, сталь, полимерные синтетические материалы, дерево и камень в соответствии с требованиями, установленными разделами настоящей Инструкции.

1.13. Для бетонных и железобетонных конструкций морских причальных сооружений и покрытий территорий следует применять тяжелый гидротехнический бетон согласно ГОСТ 26633-85 и указаниями СНиП 2.03.01-84. Требования к бетону, которые должны быть приведены в проекте, в зависимости от конструкции сооружения и условий службы бетона назначаются в соответствии с указаниями СНиП 3.07.02-87, пособия к нему и указаниями настоящей Инструкции и характеризуются классами по прочности, марками по водонепроницаемости и морозостойкости.

Допускается также применение легких бетонов в соответствии с указаниями СНиП 2.06.08-87.

1.14. Для основных несущих бетонных и железобетонных конструкций морских причальных сооружений, эксплуатируемых в условиях агрессивного воздействия внешней среды, рекомендуются тяжелые бетоны повышенной плотности с прочностью, установленной СНиП 2.06.08-87 до класса В45.

1.15. Класс бетона по прочности определяется расчетом, а также требованиями долговечности.

В зависимости от конструктивных особенностей и условий работы в сооружении для бетонных и железобетонных конструкций рекомендуются классы бетона, приведенные в табл. 1.1.

Таблица 1.1

Конструкция или элемент

Рекомендуемый класс бетона по прочности при сжатии

1. Сваи и сваи-оболочки, сборные элементы верхнего строения, плиты уголковых стенок из предварительно-напряженного железобетона

В 22,5 - В 45

2. То же, из ненапряженного железобетона

В 15 - В 30

3. Бетонные и железобетонные элементы и конструкции, подверженные истиранию (дорожные покрытия, защитные пояса, оболочки, козырьки и т.д.)

В 22,5 - В 45

4 Массивы бетонные, бетонные и армированные элементы надводных строений (подпорные стенки, оголовки)

В 10 - В 22,5

5. Бетон для заполнения анкерных стаканов арматурных пучков, железобетонных анкеров, торцевых прокладок, распределительных поясов

В 30 - В 45

6 Бетон омоноличивания рабочих стыков и узлов

Равен классу бетона омоноличиваемых элементов

Примечание. По требованиям расчета прочности и трещиностойкости. а также водонепроницаемости и морозостойкости по поз. 2 и 4 могут применяться классы бетона выше приведенных в табл. 1.1.

1.16. Выбор класса бетона для конструктивных элементов следует производить путем технико-экономического сопоставления вариантов сечений, отличающихся классом бетона и габаритами.

1.17. В зависимости от района строительства причального сооружения требования к бетону по долговечности устанавливаются по климатическим условиям, которые определяются в соответствии с требованиями СНиП 3.07.02-87 и пособия к нему.

1.18. Материалы, принимаемые для изготовления гидротехнического бетона (цементы, поверхностно-активные органические добавки, песок, щебень, гравий, вода для затвердения бетона и промывки заполнителей), должны отвечать требованиям ГОСТ 10268-80, ГОСТ 22266-76, ГОСТ 23732-79, а также в зависимости от района строительства, агрессивности среды и зоны расположения конструкции - требованиям СНиП 3.07.02-87, пособия к нему и СНиП 2.03.11-85.

В случае применения напрягающего цемента он должен удовлетворять требованиям ТУ 21-20-18-80 "Цемент напрягающий, Технические условия" Ассоциации стройматериалов.

1.19. Арматура для железобетонных конструкций в причальных сооружениях должна удовлетворять требованиям СНиП 2.03.01-84, СНиП 2.03.11-85, действующих ГОСТ и настоящей Инструкции.

1.20. Для ненапрягаемой арматуры железобетонных конструкций следует преимущественно применять:

а) горячекатаную арматурную сталь класса A-III;

б) горячекатаную арматурную сталь класса A-II в тех случаях, когда арматурная сталь класса A-III не может быть использована эффективно по условиям трещинообразования.

Допускается также применять:

а) горячекатаную арматурную сталь класса A-I - в основном для поперечной арматуры линейных элементов, для конструктивной и монтажной арматуры;

б) обыкновенную арматурную проволоку класса Вр-I диаметром 5 мм - в качестве поперечной арматуры в сварных и вязаных арматурных изделиях;

в) горячекатаную арматурную сталь классов A-IV и A-V - только для продольной рабочей арматуры вязаных каркасов и сеток обычных и предварительно напряженных конструкций.

Ненапрягаемую арматуру из горячекатаной стали классов A-I, A-II и A-III, как правило, следует применять в виде сварных каркасов и сеток.

1.21. В качестве напрягаемой арматуры предварительно напряженных элементов следует преимущественно применять горячекатаную арматурную сталь класса A-IV:

Допускается также применять:

а) горячекатаную арматурную сталь класса A-V;

б) арматурную сталь класса А-III, упрочненную вытяжкой с контролем напряжений и удлинений;

в) арматурную сталь повышенной коррозионной стойкости классов Aт-V и Ат-VI по ГОСТ 10884-81;

г) арматурные пучки из проволоки классов В-II и Вр-II диаметром не менее 5 мм.

Применение ненапрягаемой продольной рабочей арматуры классов А-IV и A-V совместно с напрягаемой арматурой тех же классов производится в случаях:

а) когда в сборно-монолитных неразрезных конструкциях с предварительно напряженными элементами обычная арматура классов А-I, А-II и А-III не может воспринять значительные изгибающие моменты в опорных сечениях, не имеющих предварительного напряжения;

б) когда необходимо создать наиболее эффективное распределение материала по сечению железобетонных элементов конструкции.

Для железобетонных элементов, находящихся в агрессивной среде, следует применять арматуру класса A-IV марки Ст20ХГ2Ц.

1.22. При выборе вида и марок арматурной стали, которая устанавливается по расчету, должны учитываться температурные условия эксплуатации конструкций и характер их нагружения согласно требованиям СНиП 2.03.04-84 и СНиП 2.05.03-84.

1.23. Для закладных деталей и соединительных накладок применяется, как правило, прокатная углеродистая сталь обыкновенного качества; марка стали устанавливается в зависимости от характера нагрузок на закладную деталь и температурных воздействий согласно СНиП 2.03.01-84.

1.24. Для монтажных (подъемных) петель элементов сборных железобетонных и бетонных конструкций следует применять только горячекатаную арматурную сталь класса Ас-II марки 10 ГТ и класса А-I марок Ст3сп и Ст3пс. В случае монтажа конструкций при температуре минус 40°С и ниже, не допускается применять сталь марки Ст3пс.

1.25. Сталь, применяемая для металлических конструкций причальных сооружений, должна удовлетворять требованиям СНиП II-23-81*, соответствующих ГОСТ и настоящей Инструкции.

1.26. Для несущих стальных конструкций причальных сооружений следует применять прокатную сталь марок Ст3Гсп, Ст3сп и Ст3пс по ГОСТ 380-88 и марки 16Д по ГОСТ 6713-75.

В особо тяжелых условиях службы, в районах с температурой ниже минус 40°С, следует применять низколегированную сталь по ГОСТ 19281.73* и ГОСТ 19282-73 с ударной вязкостью не менее 29 Дж/см2.

1.27. Для изготовления анкерных тяг и деталей их соединений следует применять сталь марок Ст3сп и Ст3Гпс для сварных конструкций согласно ГОСТ 380-88, марки 09Г2С ГОСТ 19281-73*, а также ГОСТ 2590-88.

Допускается для изготовления анкерных тяг применение стали Ст3пс при условии их транспортировки и монтажа при температуре не ниже минус 20°С, а также сталей других марок с характеристиками на холодный изгиб, относительное удлинение и свариваемость не ниже, чем для сталей, указанных в настоящем пункте.

1.28. Для металлических стенок больверков следует применять шпунт из углеродистой стали марки Ст3сп для сварных конструкций согласно ГОСТ 380-88, низколегированной стали марки 15ХСНД ГОСТ 19281-73* и марки 16ХГ-ТУ 14-2-879-89 "Прокат стальной горячекатаный шпунтовых свай типа Ларсен. Технические условия" Министерства металлургии СССР.

Допускается применение шпунтов, прокатанных из других видов сталей с обеспечением требуемых механических характеристик и химического состава при соответствующем технико-экономическом обосновании.

1.29. Для металлических свай следует применять трубы стальные электросварные прямошовные согласно ГОСТ 10704-76 и ГОСТ 10706-76.

1.30. Стальные оболочки диаметром 15 и 20 м изготовляются по ВСН 311-81/Минмонтажспецстрой СССР.

1.31. Для верхних строений конструкций мостового типа следует применять углеродистую сталь марки 16Д и низколегированную - марки 15ХСНД согласно ГОСТ 6713-75*.

Допускается для верхних строений конструкций мостового типа применение проката из сталей марок с механическими характеристиками и химическим составом, соответствующими маркам стали, указанным в настоящем пункте.

1.32. Для болтов крепления связных балок и швартовных тумб следует применять сталь марки Ст3сп согласно требованиям ГОСТ 2590-88 и ГОСТ 380-88.

1.33. Для конструктивных элементов, не подлежащих расчету, рекомендуется применять сталь марки Ст3кп согласно ГОСТ 380-88.

1.34. Отливки для стальных конструкций рекомендуется проектировать из углеродистой стали, удовлетворяющей требованиям ГОСТ 977-88 и серого чугуна, удовлетворяющего требованиям ГОСТ 1412-85.

1.35. Сварные соединения стальных конструкций следует выполнять из сварочных материалов в соответствии с указаниями СНиП II-23-81*.

1.36. Камень для устройства разгрузочных призм, постелей под причальными сооружениями и образования подпричальных откосов должен удовлетворять требованиям ВСН-5-84/Минморфлот.

1.37. Щебень и гравий для устройства обратных фильтров, укрепления дна перед стенкой и т.п. должны удовлетворять требованиям ГОСТ 8267-82, ГОСТ 8268-82 и ГОСТ 10260-82, а также требованиям специальных нормативных документов и условию неразмокаемости.

1.38. Для обратной засыпки пазух причальных стенок следует применять скальный грунт, природный песчаный грунт, содержащий по весу более 90% фракций крупнее 0,1 мм, в том числе не ниже 50% фракций крупностью 0,25 мм и более.

Допускается применять, другие песчаные грунты, включая пылеватые пески, если содержание глинистых частиц с размером фракций менее 0,1 мм не превышает 5%.

Не допускается применять для засыпки грунты, содержащие растворимые в воде сернокислые соли и органические частицы в количестве более 5% сухой минеральной части грунта. Для использования в качестве обратной засыпки заиленных пылеватых песков следует отмывать мелкую фракцию с помощью средств гидромеханизации.

Возможность применения для засыпки глинистых грунтов или доменных шлаков должна быть обоснована опытом эксплуатации в местных условиях или специальными исследованиями.

1.39. Для изготовления деревянных конструкций причальных сооружений (отбойных рам, свай, брусьев, кранцев, палов и др.) применяются пиломатериалы и круглый лес хвойных пород, преимущественно сосновых, отвечающие требованиям ГОСТ 9463-88 и ГОСТ 8486-86*. Кроме указанных материалов, можно использовать также клееную древесину.

Для несущих конструкций и отбойных устройств следует применять лес первого и второго сортов, для нерасчетных и неответственных элементов - второго и третьего сортов.

1.40. В проектах необходимо предусматривать мероприятия, обеспечивающие долговечность конструкций причальных сооружений, их ремонтопригодность и стойкость при агрессивных воздействиях:

а) многократного попеременного замораживания и оттаивания, а также увлажнения и высыхания, вызывающих интенсивное разрушение бетона в зоне переменного уровня воды;

б) химического действия морской воды и других агрессивных минерализованных или пресных вод, атмосферы, насыщенных влагой химических грузов и блуждающих токов, вызывающих коррозию бетона и стали;

в) истирания и механического повреждения конструкций в результате воздействия швартующихся судов, волн, движущихся наносов, льда и иных плавающих предметов;

г) разрушения лесоматериалов в результате гниения или действия древоточцев.

1.41. В качестве термо- и гидроизоляционных материалов и материалов для защиты от коррозии конструкции рекомендуется применять:

а) для бетонных и железобетонных конструкций - защитные материалы в соответствии с требованиями СНиП 3.07.02-87 и пособия к нему; в районах с тяжелыми гидрометеорологическими условиями необходимо предусматривать дополнительно теплоизоляцию свай с помощью битумно-шлаковой смеси, заключенной в металлические кожухи и вводить при изготовлении свай добавки, повышающие морозостойкость бетона;

б) для металлических конструкций и их элементов, подверженных агрессивному воздействию среды, - водоустойчивые антикоррозионные покрытия - битумные, наклеечные покрытия и мастики на бумажной и тканевой основе, лакокрасочные покрытия, а также катодная или протекторная защита по указаниям СНиП 2.03.11-85 и Рекомендаций по антикоррозионной защите морских портовых сооружений, предназначенных для перегрузки химических грузов; для металлических закладных частей железобетонных конструкций - защитные покрытия в соответствии с указаниями СНиП 3.07.02-87 и пособия к нему; в случаях интенсивной коррозии в зоне переменного уровня воды стальной шпунт может быть защищен железобетонной надстройкой, а стальные трубчатые сваи, не находящиеся в грунтовой засыпке, - железобетонными обоймами;

в) для деревянных конструкций и элементов, поверженных гниению и разрушению древоточцами - пропитку водным раствором аммиаката меди (по технологии ЦНИИМФа) или креозотирование;

г) для облицовочной деревоплиты - пропитку синтетической, фенол-формальдегидной смолой согласно указаниям СНиП 3.07.02-87 и пособия к нему.

1.42. Долговечность конструкций при различных сочетаниях неблагоприятных воздействий, перечисленных в п. 1.40, обеспечивается путем:

а) выбора рационального конструктивного решения;

б) зонального распределения строительных материалов в составе конструкции (например, дерево в подводной зоне и железобетон в зоне переменного уровня воды и выше);

в) выбора строительных материалов применительно к специфике агрессивных воздействий, характерных для района строительства;

г) выбора материалов, обеспечивающих получение параметров бетона, соответствующих условиям его службы;

д) изготовления железобетонных элементов конструкций с применением специальных способов повышения качества бетона (вибропрессования, вибропроката, центрифугирования и т.д.), а также выдерживания бетона в благоприятных условиях твердения;

е) применения специальных мер защиты - облицовки, покрытий; пропитки, катодной или протекторной защиты металла.

1.43. Причальные сооружения следует оборудовать отбойными и швартовными устройствами, которые должны гарантировать безаварийную эксплуатацию судов, причальных сооружений и устройств на них. Если нагрузки от крупнотоннажных судов нецелесообразно передавать на причальные сооружения, отбойные и швартовные приспособления должны располагаться на отдельно стоящих палах.

1.44. В рабочих чертежах на строительство сооружений должны быть даны ссылки на действующие нормативные документы, которыми следует руководствоваться при производстве и приемке работ. В случае необходимости приведены дополнительные указания, учитывающие специфические особенности строительства конструкций, а для конструкций, по которым нормативные документы на производство и приемку работ еще не разработаны, даны основные требования к изготовлению элементов и монтажу конструкций, а также допуски отклонений от проекта в размерах и положении отдельных элементов сооружения.

2. ВЫБОР КОНСТРУКЦИИ СООРУЖЕНИЯ

2.1. Выбор типа конструкции причального сооружения следует производить с учетом естественных условий района строительства, назначения причалам технологических требований, размеров территории и акватории порта, возможных способов производства работ, геологических условий, требований по охране окружающей среды и др.

2.2. Конструкцию сооружения следует выбирать, исходя из технико-экономической целесообразности ее применения в конкретных условиях строительства на основе сопоставления вариантов.

2.3. Экономическую целесообразность сравниваемых вариантов следует определять на основе сопоставления стоимостей возведения сооружения, а в случаях, когда сроки строительства по вариантам резко различны, учитывать экономический эффект, получаемый в результате более раннего ввода в эксплуатацию проектируемого объекта.

2.4. При выборе варианта конструкции следует учитывать:

а) расход основных строительных материалов (металла, цемента, лесоматериалов);

б) наличие местных строительных материалов;

в) трудоемкость производства работ;

г) степень сложности строительства;

д) наличие оборудования и механизмов, необходимых для строительства;

е) наличие трудовых ресурсов;

ж) требования к долговечности сооружений;

з) эксплуатационные показатели.

2.5. Конструкции причальных сооружений и основные условия их применения приведены в табл. 2.1.

Таблица 2.1

Тип сооружения

Основные условия применения

Причальные сооружения гравитационного типа

Наличие в основании скальных, плотных или средней плотности грунтов, а также на слабых грунтах с мероприятиями, предотвращающими неравномерную осадку сооружения

1. Причальные сооружения

 

а) из обыкновенных бетонных массивов (черт 2.1, а),

Высота стенки до 18,0 м, для любых климатических условий, в районах с сейсмичностью до 7 баллов

б) из пустотелых бетонных массивов (черт 2.1, б)

2. Уголковые набережные (черт 2.1, в, г)

Высота стенки до 18,0 м, в районах с сейсмичностью до 7 баллов, для любых условии, кроме акваторий с толщиной льда более 0,6 м

3. Из железобетонных оболочек большого диаметра (черт 2.1, д)

Высота стенки до 25,0 м, для любых климатических условий, также в сейсмических районах

4 Причальные сооружения ячеистой конструкции из металлического шпунта

Высота стенки до 20,0 м, для любых климатических условий, а также в сейсмических районах

Причальные сооружения типа больверк:

Грунты основания, допускающие погружение шпунта и свай, любых климатических условий, а также в сейсмических районах

1. Незаанкеренный больверк (черт. 2, с)

Высота стенки до 6,0 м

2. Заанкеренный больверк (черт. 2.1, ж, з)

Высота стенки до 18,0 м

3. Экранированный больверк (черт. 2.1, и)

Высота стенки до 25 м

Причальные сооружения эстакадного типа:

Грунты основания, допускающие погружение свай

1. Набережные и пирсы эстакадного типа

 

а) на призматических железобетонных сваях (черт. 2.2, а, в, г, с, черт. 2.3, в),

Высота сооружения до 15,0 м, для любых климатических условий, кроме акваторий с толщиной льда более 0,25м, 8 несейсмических районах

б) на трубчатых железобетонных сваях (черт. 2.2, б, д)

Высота сооружения до 18,0 м, для любых климатических условий, кроме акваторий с толщиной льда более 0,4 м, а также в сейсмических районах

в) на трубчатых металлических сваях (черт. 2.2, б)

Высота сооружения до 30,0 м, для любых климатических условий, а также в сейсмических районах

2. Пирсы мостового типа с опорами

 

а) гравитационного типа (черт. 2.3, в), в том числе:

Наличие в основании скальных, плотных или средней плотности грунтов

 из кладки массивов

Высота стенки до 18,0 м, для любых климатических условий, в районах с сейсмичностью до 7 баллов

- из железобетонных оболочек большого диаметра (черт. 2.3, в),

Высота стенки до 25,0 м, для любых климатических условий, а также в сейсмических районах

б) из трубчатых металлических свай (черт. 2.3, б)

Высот» сооружения до 30,0 м, для любых грунтов, допускающих погружение свай, а также в сейсмических районах

Палы:

Грунты основания, допускающие погружение свай

1. Швартовные

 

а) на железобетонных сваях-оболочках (черт. 2.4, в)

Высота сооружения до 18,0 м для любых климатических условий, кроме акваторий с толщиной льда более 0,6 м, в районах с сейсмичностью до 8 баллов

б) на металлических сваях (черт. 2.4, г)

Высота сооружения до 30,0 м, для любых климатических условий, кроме акваторий с толщиной льда более 0,6 м, а также в сейсмических районах

2. Отбойные (черт. 2.4, б)

Плавучие причалы (черт. 2.4, а)

Для любых гидрогеологических и климатических условий, для любых глубин, а также в сейсмических районах


Черт. 2.1. Типы причальных сооружений

а - из обыкновенных массивов; б - из пустотелых массивов; в - уголкового типа с внешней анкеровкой; г - уголкового типа, контрфорсное; д - из оболочек большого диаметра; е - незаанкерованный больверк; ж -заанкерованный больверк из свай-оболочек; з - то же, из шпунта; и - экранированный больверк; 1 - обыкновенный бетонный массив; 2 - каменная постель; 3 - разгрузочная каменная призма; 4 - песчаная засыпка; 5 - надстройка; 6 - пустотелый массив; 7 - засыпка камнем; 8 - лицевая стенка; 9 - фундаментальная плита; 10 - анкерная тяга; 11 - анкерная плита (стенка); 12 - контрфорс; 13 - оболочка большого диаметра; 14 - шпунт; 15 - колонна-оболочка; 16 - разгрузочная платформа


Черт. 2.2. Типы причальных сооружений

а - эстакадного типа с высоким свайным ростверком на железобетонных сваях, б - то же, на сваях-оболочках диаметром не менее 1,2 м или металлических трубах, в - то же, на опорах в виде свайных кустов с защитой их металлическими или железобетонными оболочками; г - то же, с задним шпунтом; д - с передним шпунтом, несущим шпунтом; е - оторочка; 1 - свая; 2 - верхнее строение; 3 - тыловое сопряжение; 4 - подпричальный откос; 5 - свая-оболочка; 6 - защитная оболочка или короб; 7 - шпунт; 8 - несущий шпунт; 9 - анкерная тяга; 10 - анкерная плита; 11 - существующее сооружение

Черт. 2.3. Типы причальных сооружений

а - узкий пирс на свайном основании; б - пирс мостового типа на опорах из свайных кустов; в - то же, на гравитационных опорах; 1 - свая; 2 - верхнее строение; 3 - свайный куст; 4 - гравитационная опора; 5 - каменная постель; 6 - пролетное строение

Черт. 2.4. Типы причальных сооружений

а - плавучее; б - односвайный гибкий пал; в - пал с вертикальными опорами и железобетонных свай-оболочек; г - пал с жестким верхним строением и наклонными опорами из металлических труб; 1 - понтон; 2 - якорная цепь; 3 - подвесной массив; 4 - якорь; 5 - свая; 4 - отбойное устройство; 7 - швартовное устройство; 8 - верхнее строение

2.6. При выборе конструкций причальных сооружений должны учитываться следующие дополнительные требования:

а) в акваториях с неблагоприятным волновым режимом при отсутствии ледовых воздействий следует рассматривать в первую очередь конструкции эстакадного типа с подпричальным откосом и, в необходимых случаях, с волногасящими устройствами;

б) в условиях придонных течений, размывающих дно, следует проектировать свайные конструкции причальных сооружений (больверк, эстакады). При этом необходимо выполнять расчет прогнозируемой величины размыва дна с целью учета этого явления при проектировании, либо путем укрепления дна, предотвращающего его размыв у причального сооружения;

в) при неблагоприятных ледовых условиях и истирающих воздействий ледовых полей следует применять сооружения распорного типа в виде больверков, или гравитационных конструкций. Для узких пирсов, предназначенных для приема крупнотоннажных судов, следует применять эстакадные и мостовые конструкции на трубчатых стальных сваях;

г) следует отдавать предпочтение конструкциям, предусматривающим наименьший объем трудоемких подводно-технических работ.

2.7. При проектировании причальных сооружений целесообразно использовать наиболее удачные типовые, либо применявшиеся ранее проектные решения с высокими технико-экономическими показателями. При разработке принципиально новых конструкций следует ориентироваться на передовые методы технологии производства строительных работ.

2.8. Допускается предусматривать установку на причале контрольно-измерительной аппаратуры.

3. ОБЩИЕ КОНСТРУКТИВНЫЕ ТРЕБОВАНИЯ

3.1. Длина причалов, причальных частей пирсов, глубина у причальных сооружений и возвышение отметки кордона определяются по Нормам технологического проектирования морских портов.

3.2. Конструкцию причальных сооружений (подводную часть, надстройку или верхнее строение) следует разделять по длине на отдельные секции сквозными вертикальными осадочными и температурными швами. Длина секций причальных сооружений должна приниматься в зависимости от действующих нагрузок и температурных воздействий, свойств грунтов основания и типа конструкции.

При этом, в отдельных обоснованных случаях, длина секции определяется расчетом на температурно-влажностные воздействия в соответствии с требованиями СНиП 2.06.08-87.

3.3. Узлы соединения сборных элементов следует проектировать с учетом допускаемых нормами отклонений в размерах и положении устанавливаемых элементов.

3.4. Расположение вдоль причального фронта швартовных тумб и нагрузки на них следует определять с учетом указаний СНиП 2.06.04-82*.

Швартовные тумбы следует размещать по осям секции причального сооружения, нормальным к линии кордона, или симметрично этим осям. Конструкцию швартовных тумб следует принимать по ГОСТ 17424-72. Тыловые швартовные устройства, не связанные с конструкцией причального сооружения, допускается принимать специальной конструкции, не предусмотренной ГОСТ 17424-72.

В причальных сооружениях мостового типа швартовные тумбы следует располагать на опорах.

По эксплуатационным соображениям в крайних секциях причальных сооружений рекомендуется устанавливать дополнительные швартовные тумбы, по возможности, ближе к оконечности причального сооружения.

Тумбовые массивы следует бетонировать на месте. Допускается закрепление тумб на сборных элементах верхнего строения. Для заанкерованных шпунтовых и уголковых стенок следует проектировать тумбовые узлы с усиленной или дополнительной анкеровкой.

3.5. Причальные сооружения должны быть оборудованы отбойными устройствами, амортизирующими ударные воздействия от судов. Вынос отбойных устройств относительно лицевой грани верхнего строения должен обеспечивать нормальную стоянку судна у причала при минимальном зазоре не менее 20 см между подводной частью корпуса судна и выступающими частями сооружения или подпричального откоса. При этом следует учитывать возможность обжатия отбойных устройств и крена судна, допускаемого указаниями Норм технологического проектирования морских портов.

3.6. Закладные детали для крепления отбойных устройств следует располагать заподлицо с лицевой гранью причала.

3.7. Анкерные тяги следует крепить к лицевым панелям или стенкам выше строительного уровня воды для проведения монтажных работ насухо. Понижение отметки крепления тяг допускается при специальном обосновании в каждом конкретном случае.

Примечание. В качестве расчетного строительного уровня воды принимается:

в неприливных (безливных) морях - средний многолетний (за период не менее 10 лет) уровень;

в приливных (ливных) морях - средний многолетний (за период не менее 10 лет) приливный уровень.

3.8. Анкерные тяги тумбовых массивов во всех случаях, когда это допустимо по условию прочности или трещиностойкости конструкции лицевой панели или стенки, рекомендуется закреплять на одном уровне с рядовой анкеровкой. При этом диаметр тумбовых тяг следует принимать равным диаметру рядовых тяг, допуская уменьшение шага анкеров в местах расположения тумбовых массивов.

Допускается закреплять анкерные тяги в тумбовом массиве выше уровня крепления рядовых тяг.

Допускается в местах тумбовых массивов вместо постановки дополнительных тумбовых тяг увеличивать диаметр тяг по сравнению с диаметром рядовых анкерных тяг.

3.9. Анкерные тяги следует выполнять, как правило, из стали круглого сечения, составляя их из звеньев. Звенья между собой следует соединять одним из следующих способов:

а) контактной сваркой в заводских условиях;

б) ванной сваркой;

в) сваркой с накладками цилиндрической формы;

г) муфтами.

Нарезные концы звеньев (шпильки) под гаечное крепление или на муфтах следует выполнять из круглой стали большого диаметра, чем диаметр основных звеньев, и приваривать их к последним одним из указанных выше способов.

Определяя диаметр шпильки, следует исходить из условия, чтобы диаметр по внутренней резьбе шпильки был не менее диаметра основного ствола тяги.

Допускается применять анкерные тяги из тросов с диаметром проволоки не менее 5 мм при условии их предварительного напряжения до 50% от расчетного усилия в анкерной тяге и соответствующей гидроизоляции.

3.10. В конструкциях с тягами, закрепленными за анкерные опоры, следует предусматривать во всех случаях, когда это практически возможно, подмосточные сваи с насадками или привязку насадок к существующим опорам под анкерные тяги для предотвращения их чрезмерного провисания и облегчения монтажных работ, обеспечивая при этом обратный прогиб тяги, с последующим удалением их.

3.11. Для предотвращения размыва дна перед сооружением от действия волнения, течений и движетелей судов необходимо предусматривать на полосе вдоль сооружения защиту основания. Крупность частиц камня защитной одежды определяется расчетом по указаниям СНиП 2.06.04-82* и пособия к нему.

3.12. Конструкция неомоноличенных швов между элементами лицевой стенки причального сооружения должна обеспечивать грунтонепроницаемость и не должна создавать подпора грунтовых вод.

В тех случаях, когда конструкция сооружения создает препятствие для движения грунтовых вод в сторону акватории, следует устраивать дренажи по всей длине причального фронта, сходящиеся к водопропускным отверстиям в лицевых стенках, в соответствии с приложением 2.

3.13. Обратные фильтры следует устраивать для разгрузочных каменных призм, грунтопроницаемых швов уплотнения, дренажей, каменных постелей, креплений подпричальных откосов и при отсыпке песчаного грунта поверх засыпки из крупнообломочного материала:

а) из щебня, гравия и песка - многослойные или однослойные из смесей с подбором фракций и толщины слоя. При этом необходимо учитывать механический состав грунта засыпки, волновой режим акватории, наличие приливо-отливных колебаний, их амплитуду;

б) из нетканых синтетических материалов (фильтрующих полотнищ).

Примечания:

1. При наличии в основании постели крупнозернистых грунтов обратные фильтры можно не устраивать, за исключением случаев, когда из-за волновых воздействий возможен вымыв грунта из-под постели.

2. Обритые фильтры из нетканых материалов под каменными постелями допускается применять при условии обеспечения заданного расчетом коэффициента трения между полотнищем и грунтом основания.

3.14. При обратной засыпке пазух причальных сооружений в пределах глубины заложения подземных коммуникаций следует применять песок, песчаный грунт, дресву, гравий, щебень из скального грунта, а также камень (при соответствующем обосновании в проекте).

При наличии в составе конструкции причала анкерных тяг указанные требования к материалам, за исключением камня, распространяются на верхний слой обратной засыпки, начиная с отметки заложения тяг.

Ниже глубины заложения подземных коммуникаций или анкерных тяг засыпку пазух следует производить грунтами, отвечающими требованиям п. 1.38.

3.15. В случае применения конструкций с замкнутыми полостями в зоне возможного льдообразования последние должны заполнятся бетоном, асфальтобетоном, водоотталкивающим или другим материалом, эффективность применения которого проверена опытом эксплуатации.

Примечания:

1. Требования настоящего пункта не распространяются на ячеистые конструкции из стального шпунта.

2. В необходимых случаях следует предусматривать теплогидроизоляционную защиту бетона-наполнителя согласно указаниям СНиП 3.07.02-87 и пособия к нему.

3.16. Толщина железобетонных элементов конструкций сооружения определяется расчетом и в целях обеспечения долговечности для основных конструктивных элементов должна быть не менее величин, указанных в табл. 3.1.

Таблица 3.1

Элемент конструкции

Минимальная толщина, мм

1. Железобетонные предварительно напряженные элементы верхнего строения эстакад, лицевые панели уголковых стенок, сваи шпунтовые плоские

150

2. То же, без предварительного напряжения и напряженные в особых условиях (воздействие агрессивных сред или ледовых нагрузок)

200

3. Сваи-оболочки диаметром 1000 мм и более из предварительно напряженного железобетона

120

4. То же, без предварительного напряжения и напряженные в особых условиях (воздействие агрессивных сред или ледовых нагрузок)

150

3.17. Толщину защитного слоя бетона в железобетонных элементах необходимо принимать:

для рабочей арматуры стержневой - не менее 50 мм;

для распределительной арматуры и хомутов - не менее 30 мм.

Для рабочей арматуры стержневой, расположенной у поверхностей железобетонных элементов, соприкасающихся с грунтовой засыпкой, а также для рабочей арматуры стержневой центрифугированных железобетонных элементов наименьшая толщина защитного слоя может быть снижена до 40 мм.

3.18. Для повышения долговечности бетонных и железобетонных конструкций и их элементов, следует применять:

а) преимущественно предварительно напряженные конструкции;

б) в особых условиях эксплуатации - напряженно армированные конструкции с обжатием бетона, не допускающим возникновения в нем растягивающих напряжений при воздействии постоянных и длительно действующих временных нагрузок;

в) бетонные и железобетонные конструкции с ограниченными сжимающими напряжениями в бетоне в соответствии с указаниями СНиП 3.07.02-87 и пособия к нему;

г) конструктивные элементы с наименьшим отношением поверхности, подвергающейся агрессивным воздействиям, к объему;

д) стационарные или съемные защитные пояса или обоймы из материалов повышенной коррозиостойкости или устойчивых против истирания;

е) защитные козырьки - для эстакадных конструкций, ледозащитные пояса - для ячеек.

3.19. Элементы сборных железобетонных конструкций следует укрупнять, исходя из условий технико-экономической целесообразности, в пределах, допускаемых условиями изготовления, транспортировки и монтажа.

При транспортировке элементов конструкций по железной дороге габариты элемента должны соответствовать требованиям ГОСТ 9238-83.

При транспортировке элементов автотранспортом габариты элемента не должны превышать размеров, регламентированных Правилами дорожного движения, утвержденных Министерством внутренних дел СССР. В проекте следует рассматривать возможность перевозки сборных железобетонных элементов в вертикальном положении с использованием специальных кассет.

В случаях, когда это допускается условиями подъема и транспортировки, следует предусматривать укрупнение элементов, изготавливаемых заводским способом, путем предварительной сборки и омоноличиваиия на припостроечных площадках до установки в сооружение.

При экономической целесообразности следует выполнять перевозку сборных элементов морским транспортом.

3.20. Габаритные размеры сборных элементов следует назначать из условия сокращения их типоразмеров до оптимального количества, определяемого технико-экономическими расчетами и сопоставлениями, с учетом требований унификаций как самих элементов, так и оборудования для их изготовления.

3.21. В сборных железобетонных элементах в соответствии с конструктивно-компоновочной и монтажной схемами сооружения следует предусматривать установку закладных деталей или арматурных выпусков, обеспечивающих надежное крепление:

а) стационарного технологического оборудования, подкрановых рельсов и т.п.;

б) элементов между собой при монтаже и эксплуатации;

в) металлических анкерных тяг;

г) отбойных и швартовных устройств, стремянок;

д) конструкций перекрытия стыков, не связанных между собой элементов вертикальной стенки;

е) вибропогружателя;

ж) захватных устройств для подъема элементов при транспортировке и монтаже.

3.22. Закладные детали и их расположение в сборных элементах следует унифицировать, не допуская перерасхода стали.

3.23. Для устройства в сборных элементах монтажных отверстий для пропуска болтов, рымов, анкерных тяг и т.п. необходимо предусматривать установку закладных деталей в виде трубок и коробок.

3.24. Положение закладных деталей при бетонировании должно обеспечивать возможность качественного уплотнения прилегающего к этим деталям бетона.

3.25. Для подъема сборных элементов конструкций в них следует предусматривать захватные устройства в виде стационарных петель из арматурных стержней (п. 1.24), а также отверстий и закладных частей для ключей.

Схему расположения захватных устройств следует назначать таким образом, чтобы усилия в сечениях рабочих элементов в процессе транспортировки и монтажа были, как правило, меньше, чем при эксплуатации.

3.26. Омоноличивание стыков железобетонных элементов сборных конструкций следует выполнять в соответствии с указаниями СНиП 2.03.01-34.

3.27. Петлевые стыки рекомендуется выполнять из гладких круглых стальных стержней класса A-I с диаметром петель не менее 5d (d - диаметр стержня). В пределах стыка поперек петлевых стержней следует укладывать не менее шести стержней. В петлевых стыках, работающих на изгиб, в пределах ядра на петле должен быть прямой участок длиной, равной диаметру закругления.

Допускается изготовлять петлевые стыки из арматуры периодического профиля с диаметром перегиба стержней не менее 8d.

3.28. Сварные соединения арматуры следует принимать в соответствии с требованиями ГОСТ 14098-85, а также с указаниями СНиП 2.03.01-84.

В проектах необходимо отметить, что технология сварки должна соответствовать требованиям СНиП 3.03.01-87, а качество сварных арматурных изделий и соединений - ГОСТ 10922-75.

3.29. При изготовлении предварительно напряженных свай-оболочек с применением арматуры класса A-IIIв звенья свай-оболочек следует армировать цельными стержнями с приваренными по концам контактной сваркой наконечниками большего диаметра. В проекте необходимо отмечать, что арматуру следует упрочнять вытяжкой до натяжения после приварки наконечников и что длина и диаметр наконечников, а также режим сварки при креплении в натянутом состоянии арматуры (наконечников) к обечайке свай-оболочек должны исключать перегрев стали, снимающий в теле основного стержня упрочнения вытяжкой.

3.30. Для предотвращения повреждения верхнего торца свай при вибропогружении или забивке следует предусматривать косвенное армирование поперечными сварными арматурными сетками, установленными с шагом не менее 50 мм от торца элемента и друг от друга. Число сеток определяется расчетом и должно быть не менее пяти.

Поперечное армирование на концевых участкам длиной 1,0 м железобетонных свай следует выполнять в соответствии с требованиями СНиП 2.03.01-84 к элементам с косвенным армированием, работающим на внецентренное сжатие. В средней части свай шаг поперечной арматуры принимать из расчета по прочности или конструктивно, но не более 200 мм.

3.31. Основание крановых и железнодорожных путей, располагаемых на причальном сооружении, принимается в зависимости от конструкции последнего.

Крановые и железнодорожные рельсы при размещении на верхнем строении причальных сооружений эстакадного безбалластного типа следует крепить к верхнему строению ростверка.

Краповые пути, размещаемые на засылке, следует, как правило, устраивать на свайном основании во всех случаях, когда это практически возможно, а железнодорожные - на шпальном основании.

Рекомендуется конструкция кранового пути, в котором рельс с закрепленными шпалами (балочного или плиточного типа) устанавливается в железобетонное корыто на слой щебня мелких фракций из изверженных пород с высокой маркой по прочности, что позволяет производить в короткое время рихтовку пути за счет подсыпки и выравнивания балластного щебня в корыте под секцией рельса, поднятой портальным краном данного пути.

3.32. Возвышение головки рельсов над поверхностью территории в соответствии с указаниями Норм технологического проектирования морских портов следует принимать равным не более 30 мм.

Рельсы крановых путей следует укладывать в соответствии с требованиями Правил технической эксплуатации подъемно-транспортного оборудования морских портов в приложении 1.

3.33. При устройстве крановых путей на железобетонных балках следует предусматривать мероприятия, обеспечивающие несмещаемость балок в период эксплуатации.

На слабых грунтовых основаниях допускается предусматривать жесткие поперечные связи между балками крановых путей.

3.34. Прикордонная полоса территории должна иметь цементобетонное, асфальтобетонное или железобетонное покрытие. При устройстве покрытия на насыпи, как правило, следует до стабилизации осадки грунта засыпки применять временные типы покрытий.

3.35. Причальные сооружения следует оборудовать вдоль кордона охранными съемными или стационарными колесоотбойными брусьями высотой не менее 25 см. Последние необходимо выделять, оклеивая цветной пленкой или окрашивая.

3.36. Стремянки на причальных сооружениях обычно выполняют из стального проката - уголков и стержней круглого сечения. Ширина стремянки принимается не менее 400 мм расстояние между ступенями - 250-300 мм, расстояние от стенки - не менее 150 мм. Стремянки, как правило, устанавливаются в углублениях заподлицо с лицевой поверхностью стенки.

Обустройство причалов следует выполнять в соответствии с Требованиями безопасности труда, которые должны учитываться при проектировании морских портов. (Приложение 1.)

4. ОБЩИЕ ПОЛОЖЕНИЯ РАСЧЕТА ПРИЧАЛЬНЫХ СООРУЖЕНИЙ

4.1. Расчет морских причальных сооружений, а также их конструктивных элементов и оснований следует выполнять в соответствии с требованиями СНиП 2.06.01-86 и СТ СЭВ 384-87 по методу предельных состояний.

В соответствии с Действующими общесоюзными нормами установлены две группы предельных состояний.

Первая группа предельных состояний (по потере несущей способности или полной непригодности к эксплуатации конструкций или оснований) - расчеты прочности, устойчивости и выносливости; вторая группа предельных, состоянии (затрудняющих нормальную эксплуатацию конструкций или оснований) - расчеты деформаций в результате осадок, прогибов, кренов, горизонтальных перемещений, расчеты по образованию или раскрытию трещин.

Примечание.

Под нормальной эксплуатацией подразумевается эксплуатация (без ограничений) в соответствии с предусмотренными в нормах или заданиями на проектирование технологическими или иными условиями.

4.2. При проектировании морских причальных сооружений должны быть выполнены следующие расчеты.

По первой группе предельных состояний (по несущей способности) рассчитываются:

а) общая устойчивость сооружений и подпричальных откосов по глубинному сдвигу в соответствии с требованиями СНиП 2.02.02-85 и указаниями настоящей Инструкции;

б) устойчивость по схеме плоского сдвига, по швам массивовой кладки, по постели и совместно с ней, а также на сдвиг надстройки, если последняя не замоноличена с основной конструкцией стенки, и на опрокидывание (поворот) вокруг ребра вращения для причальных сооружений гравитационного типа - в соответствии с указаниями и требованиями настоящей Инструкции.

В случаях, когда по основанию гравитационной стенки или по швам массивовой кладки обеспечено приложение равнодействующей нагрузок в пределах ядра сечения, расчет на опрокидывание вокруг ребра вращения не производится;

в) устойчивость на поворот лицевой стенки больверков относительно точки крепления анкера при свободном опирании низа стенки или частичном ее защемлении - в соответствии с указаниями настоящей Инструкции;

г) устойчивость массива грунта, находящегося перед анкерными стенками или анкерными плитами и обеспечивающего анкерное крепление конструкции - в соответствии с указаниями и требованиями настоящей Инструкции;

д) несущая способность (прочность) конструктивных элементов причальных сооружений и их оснований - в соответствии с указаниями и требованиями настоящей Инструкции, а также с указаниями СНиП 2.06.08-877, СНиП 2.03.01-84, СНиП II-23-81*, СНиП 11-25-80, СНиП 2.02.01-83 и СНиП 2.02.02-85;

е) несущая способность спай и свай-оболочек на воздействие вертикальных и горизонтальных нагрузок - в соответствии с указаниями и требованиями настоящей Инструкции и СНиП 2.02.03-85;

ж) конструкции на температурные и влажностные воздействия (на влияние внешней среды) - в соответствии с указаниями СНиП 2.06.08-87;

з) устойчивость формы конструкции - в соответствии с указаниями СНиП 2.06.08-87;

и) элементы конструкций на выносливость при многократно повторных загружениях - в соответствии с указаниями СНиП 2.06.08-87.

По второй группе предельных состояний (по деформациям и трещиностойкости) рассчитываются:

к) вертикальные осадки, горизонтальные перемещения и углы поворота - в соответствии с указаниями СНиП 2.02.02-85; допускаемые прогибы пролетных строений железобетонных конструкций - в соответствии с указаниями СНиП 2.06.08-87, а стальных конструкций - по указаниям СНиП 2.05.03-84;

л) железобетонные конструкции по образованию трещин - в соответствии с указаниями СНиП 2.03.01-84;

м) железобетонные конструкции по раскрытию и закрытию (зажатию) нормальных и наклонных трещин - в соответствии с указаниями СНиП 2.06.08-87 СНиП 2.03,01-84.

Примечание.

Кроме указанных расчетов, в необходимых случаях должны быть выполнены гидравлические, фильтрационные, термические и динамические расчеты, предусмотренные соответствующими нормами проектирования конструкции и сооружений.

Расчеты конструкций морских причальных сооружений и их оснований по второй группе предельных состояний по деформациям (перемещениям) могут не производиться в тех случаях, когда практикой длительной эксплуатации сооружений в сходных условиях установлено, что возникающие деформации не являются опасными для условий нормальной эксплуатации сооружений (например, расчет навигационных причальных сооружений по осадкам может не выполняться, а требуется проверка положения равнодействующей нагрузок относительно ядра сечения основания).

4.3. Расчет несущих конструкций морских причальных сооружений должен производиться на нагрузки, действующие в период строительства, эксплуатации и ремонта сооружений.

При расчетах гидротехнических сооружений, их конструкций и оснований надлежит соблюдать следующее условие, обеспечивающее недопущение наступления предельных состояний:

                                                                           (4.1)

где g- коэффициент сочетаний нагрузок, принимаемый равным: при расчетах по предельным состояниям первой группы - для основного сочетания нагрузок и воздействий в

период нормальной эксплуатации...................................................... 1,0

то же, для периода строительства и ремонта.................................... 0,95

для особого сочетания нагрузок и воздействий................................ 0,90

при расчетах по предельным состояниям второй группы................ 1,0

F - расчетное значение обобщенного силового воздействия (сила, момент, напряжение), деформации или другого параметра, по которому производится оценка предельного состояния;

R - расчетное значение обобщенной несущей способности, деформации или другого параметра, устанавливаемого нормами проектирования;

gс - коэффициент условий работы, учитывающий тип сооружения, конструкции или основания, вид материала, приближенность расчетных схем, вид предельного состояния и другие факторы, принимаемый:

для причальных и берегоукрепительных сооружений...................... 1,15;

для анкерных тяг................................................................................... 1,0;

для откосов............................................................................................ 1,0.

gп - коэффициент надежности по ответственности (назначению) сооружения, учитывающий капитальность и значимость последствий при наступлении тех или иных предельных состояний; при расчетах по предельным состояниям первой группы принимается для класса сооружений:

I класс..................................................................................................... 1,25

II класс.................................................................................................... 1,20

III класс.................................................................................................. 1,15

IV класс.................................................................................................. 1,10

при расчетах по предельным состояниям второй группы gп следует принимать равным 1,0;

при расчете устойчивости естественных склонов gп следует принимать как для класса рядом расположенного проектируемого сооружения.

4.4. При расчете морских причальных сооружений следует принимать расчетные значения действующих эксплуатационных нагрузок, которые определяются умножением нормативного значения нагрузки на соответствующий коэффициент надежности по нагрузке gf.

Значения нагрузок следует определять в соответствии с указаниями СНиП 2.06.01-86, СНиП 2.06.04-82*, СНиП 2.01.07-85, Норм технологического проектирования морских портов и раздела 5 настоящей Инструкции.

4.5. Расчеты гидротехнических сооружений, их конструкций и оснований по предельным состояниям второй группы следует производить с коэффициентом надежности по нагрузке gf, а также с коэффициентами надежности по материалам gт и грунтам gg, равными 1,0, за исключением случаев, которые установлены в СНиП на проектирование отдельных видов гидротехнических сооружений, их конструкций и оснований.

4.6. При расчете морских причальных сооружений в соответствии с указаниями СНиП 2.02.02-85 следует принимать расчетные значения характеристик грунтов j и С; по первой группе предельных состояний - j1 и С1 по второй группе предельных состояний - jи и Си (j - угол внутреннего трения грунта; С - сцепление). Указанные характеристики принимаются по данным инженерно-геологических изысканий и исследований грунтов, выполненных в соответствии с требованиями СНиП 2.02.02-85, а также ГОСТ 20522-75.

4.7. Расчет сечений стальных элементов конструкций причальных сооружений следует выполнять в соответствии с требованиями СНиП II-23-81*.

4.8. Бетонные и железобетонные конструкции и элементы причальных сооружений следует рассчитывать в соответствии с табл. 4.1.

Таблица 4.1

Элемент конструкции

Напряженное состояние элемента

Нормативный документ, по которому выполняется расчет

Характер выполняемого расчета

1. Все элементы конструкции при отсутствии предварительного напряжения за исключением указанных в поз. 2.

Изгиб, внецентренное сжатие и растяжение, центральное растяжение

СНиП 2.06.08-87

Расчеты прочности ширины раскрытия нормальных трещин деформаций, температурно-влажностных воздействий на выносливость

2. Элементы предварительно напряженной конструкции, а также тавровые, ребристые и кольцевые сечения, как предварительно напряженные, так и без предварительного напряжения

Изгиб, внецентренное сжатие и растяжение, центральное растяжение, кручение с изгибом

СНиП 2.03.01-84

Расчеты прочности, по образованию трещин, по закрытию (зажатию) нормальных и наклонных трещин, на продавливание, на отрыв

4.9. Проектирование оснований крановых путей на железобетонных плитах необходимо выполнять в соответствии с Руководством по проектированию оснований под рельсовые пути кранов и перегружателей из сборных балок, уложенных на грунт.

5. НАГРУЗКИ И ВОЗДЕЙСТВИЯ

ОБЩИЕ ПОЛОЖЕНИЯ

5.1. Нагрузки и воздействия на морские причальные сооружения подразделяются на постоянные и временные (длительные, кратковременные и особые).

К постоянным нагрузкам относятся:

вес элементов сооружения;

вес постоянного технологического оборудования (складов, эстакад и др.), месторасположение которого на сооружении не меняется в процессе эксплуатации;

вес грунта;

боковое; давление грунта с учетом постоянных нагрузок, расположенных на его поверхности;

нагрузки от предварительного напряжения конструкции.

К временным длительным нагрузкам и воздействиям относятся:

нагрузки от перегрузочных и транспортных средств и складируемых грузов, а также другие нагрузки, связанные с эксплуатацией сооружения:

боковое давление грунта от временных нагрузок на территории причала;

фильтрационное давление воды (в том числе и гидростатическое) при нормальной работе дренажных устройств;

воздействия неравномерных деформаций основания, не сопровождающихся изменением структуры грунта;

воздействия усадки и ползучести материалов и грунтов основания.

К кратковременным нагрузкам и воздействиям относятся:

волновые нагрузки;

ледовые нагрузки;

нагрузки от судов;

нагрузки, действующие в строительный период;

температурно-климатические воздействия.

К особым нагрузкам и воздействиям относятся:

дополнительное фильтрационное давление воды при нарушении нормальной работы противофильтрационных и дренажных устройств;

сейсмические нагрузки;

динамические нагрузки от взрывов;

воздействия неравномерных деформаций основания, сопровождающихся изменением структуры грунта;

гидродинамическое и взвешивающее воздействия, обусловленные цунами и тайфунами.

Нагрузки и воздействия, подлежащие учету при расчетах отдельных видов причальных сооружений, их конструкций и оснований, следует принимать по соответствующим СНиП и требованиям настоящей Инструкции.

5.2. Причальные сооружения следует рассчитывать на основные и особые сочетания нагрузок:

основное сочетание включает постоянные, временные длительные нагрузки и воздействия и возможные кратковременные нагрузки;

особое сочетание включает постоянные, временные длительные нагрузки и воздействия, возможные кратковременные и одну из возможных особых нагрузок и воздействий.

При расчете на основные сочетания, включающие одну кратковременную нагрузку, значение последней учитывается без снижения, включающие две или три кратковременные нагрузки, нормативное значение этих нагрузок умножаются на коэффициент сочетания 0,9. При учете более трех кратковременных нагрузок, действующих одновременно, коэффициент сочетания принимается равным 0,8.

Нагрузки и воздействия должны приниматься в наиболее неблагоприятных, но реальных для рассматриваемого случая сочетаниях отдельно для строительного и эксплуатационного периодов и расчетного ремонтного случая.

Сочетания нагрузок в период строительства и ремонта следует назначать с учетом принятого порядка производства работ.

При расчете конструкций причальных сооружений и их оснований на особое сочетание нагрузок необходимо учитывав требования СНиП II-7-81 и других нормативных документов по сейсмостойкому строительству.

Любая временная нагрузка не вводится в сочетание, если она улучшает рассматриваемое предельное состояние.

5.3. Вес элементов сооружения определяется их геометрическими размерами и удельным весом материалов с учетом влажности.

5.4 Вес грунта определяется толщиной слоя и удельным весом грунта с учетом влажности.

Удельный вес грунта в зависимости от зоны его расположения и влажности определяется:

выше расчетного уровня воды для состояния естественной влажности по данным инженерно-геологических изысканий; под водой с учетом полного взвешивания по формуле

,                                                           (5.1)

где gs - удельный вес частиц грунта, кН/м3;

gw - удельный вес воды, кН/м3;

е - коэффициент пористости в естественном состоянии.

При наличии обоснованных данных допускается вводить частичное взвешивание в зоне ниже уровня дна для глинистых грунтов ограниченной влажности при отсутствии в них фильтрующих прослоек и линз.

Вес грунта засыпки пазух, каменной, щебеночной или гравийной постели определяется в зависимости от заданной плотности и влажности.

5.5. Давление грунта принимается действующим на расчетную плоскость.

Рекомендации по определению положения расчетной плоскости проводятся в разделах по расчету отдельных типов причальных сооружений настоящей Инструкции.

5.6. Нагрузки от предварительного напряжения железобетонных элементов определяются в соответствии с требованиями СНиП 2 06 08-87.

5.7. Нагрузки на территории причала or перегрузочных и транспортных средств, а также складируемых грузов определяются проектом технологии производства погрузочно-разгрузочных работ с учетом требований Норм технологического проектирования морских портов.

Нагрузки от кранов и железнодорожных составов следует принимать равномерно распределенными как вдоль пути, так и по ширине подкрановых балок или длине шпал.

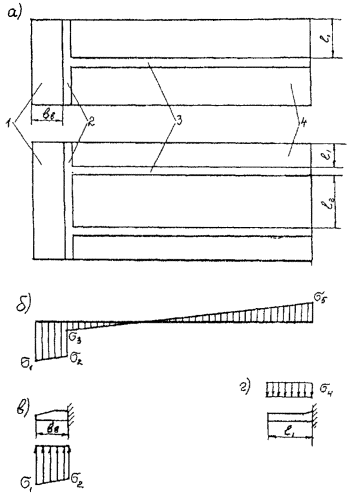
Для распорных конструкций сосредоточенную нагрузку fк и от кранов допускается заменять эквивалентной равномерно распределенной погрузкой qэ (черт. 5.1, а).

При этом рекомендуется учитывать нагрузку только от прикордонной опоры крана, принимая нагрузку от тыловой опоры равной равномерно распределенной от складирования грузов в этой зоне.

Эквивалентную равномерно распределенную нагрузку qэ по ширине подкрановых балок или длине шпалы допускается определять по формуле

,                                                             (5.2)


Черт. 5.1


где Fк - максимальная нагрузка от группы сосредоточенных сил при эксплуатации одиночных или сближенных кранов, возможная по технологическим условиям их работы (Fк=S Fкi), кН;

b - ширина подкрановой балки или длина шпалы, м;

l - длина полосы распределения нагрузки Fк вдоль линии кордона причала, м; определяемая в соответствии со схемами, приведенными на черт. 5.1 б, в.

Для одиночной опоры крана (см. черт. 5.1 б)

l=lк+2htgj+1                                                                    (5.3)

где lк - база тележки, м;

j - угол внутреннего трения грунта засыпки, град;

h- зона распределения нагрузки Fк м;

h=actg(45°-0,5j),                                                                  (5.4)

где a - расстояние от линии кордона до оси подкранового пути, м;

Для сближенных опор кранов (см. черт. 5.1, в), когда aк < 2htgj+1,

l=lK1+lK2+2htgj+aK+1,                                                          (5.5)

где aK - расстояние между тележками, м.

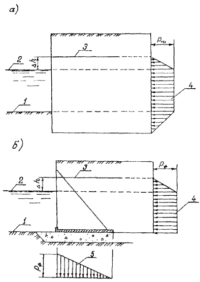
5.8. Эпюра нагрузок от фильтрационного давления воды определяется построением в зависимости от типа сооружения (черт. 5.2 а, б).

Максимальная ордината рф эпюры нагрузок определяется по формуле

рф=gwDh,                                                                                (5.6)

где gw - удельный вес воды, кН/м3;

Dh - разность уровней за сооружением и перед сооружением, м.

Нулевая ордината эпюры нагрузок принимается для шпунтовых стенок на уровне подошвы стенки, для сплошного свайного ряда - на уровне подошвы уплотняющих (омоноличивающих) швы устройств.

Черт. 5.2

Фильтрационное давление воды не учитывается при устройстве дренажных устройств, исключающих образование подпора, или в сооружениях, имеющих в основании каменную или щебеночную постель.

При значительном и интенсивном понижении уровня воды в акватории и малой проницаемости основания, при определении веса грунта в зоне понижения следует принимать удельный вес грунта, как для грунта с учетом заполнения пор водой.

5.9. Влияние воздействия неравномерных деформаций следует учитывать при выборе расчетных схем согласно указаниям по расчету отдельных видов причальных сооружений.

5.10. Усадку и ползучесть бетона следует учитывать в соответствии с требованиями СНиП 2.06.08-87.

5.11. Волновые нагрузки следует определять в соответствии с требованиями СНиП 2.06.04-82*.

Нагрузку от волнового воздействия следует учитывать при высоте исходной волны у сооружения более 1 м.

При этом интенсивность волнового давления (интерферированной, скользящей, косоподходящей волны) при подходе ложбины волны к стенке, учитывая скорость колебания уровня за сооружением, допускается определять с коэффициентом уменьшения 0,5.

5.12. При расчете причальных сооружений необходимо учитывать следующие ледовые нагрузки:

от ледяных полей;

от сплошного ледяного покрова при его температурном расширении;

от примерзшего к сооружению ледяного покрова при изменении уровня воды.

Ледовые нагрузки следует определять с учетом требований СНиП 2.06.04-82* и приложения 8 настоящей Инструкции.

Нагрузки от примерзшего к сооружению ледового покрова при изменении уровня воды допускается учитывать при расчете сооружений со сплошной лицевой поверхностью только в особо суровых природно-климатических условиях при специальном обосновании.

5.13. Нагрузки от судов следует определять в соответствии с требованиями СНиП 2.06.04-82* и приложения 3 настоящей Инструкции.

При этом следует учитывать:

нагрузки от навала судна при подходе к сооружению;

нагрузки от навала пришвартованного судна;

нагрузки от натяжения швартовов.

5.14. Нагрузки, действующие в строительный период, определяются в каждом конкретном случае отдельно в зависимости от методов и последовательности производства работ, типов подъемно-транспортного оборудования и т.д.

5.15. Нагрузки, вызванные изменением температуры, учитываются при расчете отдельных элементов конструкций причальных сооружений, возводимых в особо суровых природно-климатических условиях.

Изменение средних температур и перепады в теплое и холодное время года для элементов конструкций должны определяться на основе теплотехнических расчетов по соответствующим нормативным документам.

5.16. Сейсмические нагрузки следует определять в соответствии с требованиями СНиП II-7-81, а также раздела 14 настоящей Инструкции.

5.17. Гидродинамическое и взвешивающее действие воды, обусловленные цунами, необходимо учитывать при расчете причальных сооружений, возводимых на цунами опасных побережьях, в соответствии с требованиями Руководства по расчету воздействий волн цунами на портовые сооружения, акватории и территории.

5.18. Расчетное значение нагрузки определяйся умножением нормативного значения нагрузки на соответствующий коэффициент надежности по нагрузке gf.

При расчетах по первой группе предельных состояний значения коэффициентов надежности по нагрузке gf следует принимать по табл. 5.1.

При расчетах во второй группе предельных состояний значения коэффициентов надежности по нагрузке gf принимаются равными единице.

Коэффициенты надежности по нагрузкеgf следует принимать одинаковыми как для действующий нагрузки, так и для ее проекций (составляющих), независимо от того, что одна из проекций входит в обобщенное силовое воздействие, а другая в предельную силу сопротивления.

При расчете общей устойчивости по глубинному сдвигу и предположении круглоцилиндрических и плоских (ломаных) поверхностей скольжения коэффициенты надежности по нагрузке допускается принимать равными 1,0.

5.19. Собственный вес элементов бетонных и железобетонных конструкций при определении усилий, возникающих при их подъеме, транспортировке и монтаже, следует умножать на коэффициент динамичности определяемому по СНиП 2.03.01-84, СНиП 2.02.03-86, принимая при этом коэффициент надежности по нагрузке равным 1,0.

Таблица 5.1

Коэффициенты надежности по нагрузке при расчетах сооружений по первой группе предельных состояний

Нагрузки и воздействия

Значения коэффициента надежности по нагрузке

Собственный вес элементов сооружения

1,05 (0,95)

Вес грунта (вертикальное давление от веса грунта)

1,1 (1,9)

Нагрузки от перегрузочных и транспортных средств

1,2

Нагрузки от складируемых грузов (кроме навалочных) на территории грузовых причалов в пределах крановых путей, пассажирских служебных и др. причалов

1,2

То же, за пределами крановых путей

1,3

Нагрузка от навалочных грузов

1,3(1,0)

Фильтрационное (гидростатическое) давление воды

1,0

Ледовые нагрузки

1,1

Волновые нагрузки

1,0

Нагрузки от судов

1,2

Нагрузки, вызванные изменением температуры

1,1

Сейсмические нагрузки

1,0

Нагрузки от стационарного технологического оборудования

1,2

Нагрузки от предварительного напряжения конструкции

1,0

Нагрузки oт людей

1,3

Нагрузки, нормативные значения которых устанавливаются на основе статистической обработки многолетнего ряда наблюдений экспериментальных исследований, фактического измерения и определяемые с учетом коэффициента динамичности

1,1

Примечания:

1 Указанные в скобках значения коэффициентов надежности по нагрузке относятся к случаям, когда применение минимального значения коэффициента приводит к невыгодному загружению сооружения.

2. В случаях, когда вес грунта вычисляется при расчетном значении удельного веса грунта, коэффициент надежности по нагрузке для веса iгрунта не вводится.

ОПРЕДЕЛЕНИЕ БОКОВОГО ДАВЛЕНИЯ ГРУНТА НА СТЕНКУ

5.20. Интенсивность горизонтальной составляющей активного давления грунта ра при плоской поверхности грунта определяется по формуле

ра=ра,гр+ра,q,                                                                           (5.7)

где ра,гр - интенсивность горизонтальной составляющей активного давления от веса грунта, кПа, определяемая по п. 5.21;

ра,q - интенсивность горизонтальной составляющей активного давления от равномерно распределенных нагрузок, расположенных на территории причала, кПа, определяемая по п. 5.24.

5.21. Интенсивность горизонтальной составляющей активного давления ра,гр, от веса грунта определяется по формуле

ра,гр=qzl-clac                                                                         (5.8)

где qz - интенсивность вертикального давления грунта, кПа, определяемая по п. 5.22;

la - коэффициент горизонтальной составляющей активного давления грунта, определяемый по п. 5.23;

с - удельное сцепление грунта, кПа;

lac - коэффициент горизонтальной составляющей активного давления грунта от сил сцепления, определяемый по п. 5.23.

Примечание.

В случаях, когда clac больше qzlа, величина ра,гр на данном участке принимается равной нулю.

5.22. Интенсивность вертикального давления грунта qz определяется по формуле

,                                                       (5.9)

где - i порядковый номер слоя грунта с одинаковыми физико-механическими характеристиками в пределах высоты стенки;

gi - удельный вес i-того слоя грунта, кН/м3;

z - текущая координата по высоте стенки, м;

hi - высота i-того слоя, м;

qzi - интенсивность вертикального давления грунта вышележащих слоев, кПа.

5.23. Коэффициенты горизонтальной составляющей активного давления грунта lа и lас рекомендуется определять в соответствии с требованиями СНиП 2.06.07-87 по формулам:

;                                                             (5.10)

,                                           (5.11)

где

;                                                     (5.12)

;                                                 (5.13)

,                                                 (5.14)

где j - угол внутреннего трения грунта, град;

a - угол наклона расчетной плоскости стенки к вертикали, град., принимаемый со знаком минус при наклоне стенки на грунт;

r - угол наклона поверхности грунта к горизонтали, град., принимаемый со знаком плюс при повышении отметки территории;

d - угол трения грунта по расчетной плоскости, град., принимаемый не более 0,667j для расчетной плоскости, проходящей на контакте грунта с сооружением, или d=j при плоскости, проходящей в грунте, но не более 30°.

При горизонтальной поверхности грунта (r=0) и вертикальной расчетной плоскости (a=0) коэффициенты горизонтальной составляющей активного давления грунта lа и lас следует принимать по табл. 5.2.

Таблица 5.2.

Коэффициенты горизонтальной составляющей активного давления грунта

j°

lа

lас

d=0

d=0,5j

d=0,667j

d=j

d=0

d=0,5j

d=0,667j

d=j

1

0,97

0,96

0,96

0,95

1,97

2,39

2,51

2,74

2

0,93

0,92

0,91

0,91

1,93

2,33

2,45

2,66

3

0,90

0,88

0,88

0,86

1,90

2,28

2,38

2,58

4

0,87

0,84

0,84

0,82

1,87

2,22

2,32

2,51

5

0,84

0,81

0,80

0,79

1,83

2,17

2,26

2,44

6

0,81

0,78

0,77

0,75

1,80

2,12

2,21

2,37

7

0,78

0,75

0,74

0,72

1,77

2,07

2,15

2,31

8

0,76

0,72

0,70

0,68

1,74

2,02

2,10

2,24

9

0,73

0,69

0,68

0,65

1,71

1,97

2,05

2,18

10

0,70

0,66

0,65

0,63

1,68

1,93

2,00

2,13

11

0,68

0,63

0,62

0,60

1,65

1,89

1,95

2,07

12

0,66

0,61

0,60

0,57

1,62

1,84

1,91

2,02

13

0,63

0,58

0,57

0,55

1,59

1,80

1,86

1,96

14

0,61

0,56

0,55

0,52

1,56

1,76

1,82

1,91

15

0,59

0,54

0,52

0,50

1,53

1,72

1,77

1,87

16

0,57

0,52

0,50

0,48

1,51

1,68

1,73

1,82

17

0,55

0,50

0,48

0,46

1,48

1,65

1,69

1,77

18

0,53

0,48

0,46

0,44

1,45

1,61

1,65

1,73

19

0,51

0,46

0,44

0,42

1,43

1,57

1,61

1,69

20

0,49

0,44

0,43

0,40

1,40

1,54

1,58

1,65

21

0,47

0,42

0,41

0,38

1,37

1,50

1,54

1,61

22

0,45

0,41

0,39

0,37

1,35

1,47

1,50

1,57

23

0,44

0,39

0,38

0,35

1,32

1,44

1,47

1,53

24

0,42

0,37

0,36

0,34

1,30

1,41

1,44

1,49

25

0,41

0,36

0,35

0,32

1,27

1,38

1,40

1,45

26

0,39

0,34

0,33

0,31

1,25

1,34

1,37

1,42

27

0,38

0,33

0,32

0,29

1,23

1,31

1,34

1,38

28

0,36

0,32

0,30

0,28

1,20

1,29

1,31

1,35

29

0,35

0,30

0,29

0,27

1,18

1,26

1,28

1,32

30

0,33

0,29

0,28

0,26

1,15

1,23

1,25

1,29

31

0,32

0,28

0,27

0,25

1,13

1,20

1,22

1,25

32

0,31

0,27

0,26

0,24

1,11

1,17

1,19

1,22

33

0,29

0,26

0,25

0,23

1,09

1,15

1,16

1,19

34

0,28

0,25

0,23

0,22

1,06

1,12

1,13

1,15

35

0,27

0,23

0,22

0,21

1,04

1,09

1,1,1

1,12

36

0,26

0,22

0,21

0,20

1,02

1,07

1,08

1,09

37

0,25

0,21

0,21

0,20

1,00

1,04

1,05

1,07

38

0,24

0,21

0,20

0,19

0,98

1,02

1,03

1,04

39

0,23

0,20

0,19

0,18

0,95

0,99

1,00

1,01

40

0,22

0,19

0,18

0,17

0,93

0,97

0,98

0,98

5.24. Интенсивность горизонтальной составляющей активного давления рaq от равномерно распределенных нагрузок интенсивностью qj, расположенных на территории причала, определяются:

при бесконечной по ширине причала полосе нагрузке (bq=¥), размещаемой непосредственно за расчетной плоскостью,

рa,q=mqla,                                                           (5.20)

где

;                                                       (5.21)

при бесконечной по ширине причала полосе нагрузки (bq=¥), размещаемой на расстоянии aq от расчетной плоскости,

рa,q=mqla(1-kq,1),                                                    (5.22)

где

,                                               (5.23)

, (рад)                                              (5.24)

z - текущая координата по высоте стенки, м;

при полосе нагрузки шириной bq, размещаемой непосредственно за расчетной плоскостью,

рa,q=mqlakq,2                                                       (5.25)

где

,                                            (5.26)

, (рад);                                               (5.27)

при полосе нагрузки шириной bq, размещаемой на расстоянии aq от расчетной плоскости,

рa,q=mqla(kq,2-kq,1),                                               (5.28)

где kq,2, kq,1 - определены выше.

Значения kq,i принимаются по табл. 5.3 в зависимости от величины ctgbi

,                                                         (5.29)

.                                                    (5.30)

5.25. При наличии разгрузочной каменной призмы активное давление грунта, определяемое в предположении бесконечного простирания слоев грунта, в том числе и камня (см. п. 5.20), дополняется давлением от пригрузки грунта, расположенного в призме обрушения на откосе каменной призмы (черт. 5.4).

Интенсивность горизонтальной составляющей дополнительного давления Dра от пригрузки грунта следует определять по формулам:

в пределах каменной призмы на высоте Dhк

;                                            (5.31)

ниже каменной призмы на глубине Dd,

                                              (5.32)

где qр - интенсивность вертикального давления грунта (с учетом равномерно распределенных нагрузок по территории причала) на уровне пересечения откоса каменной призмы плоскостью обрушения, проведенной из точки на расчетной плоскости, в которой определяется давление грунта Dра, кПа (п. 5.22);

Черт 5.4

Таблица 5.3.

Коэффициенты для вычисления ординат эпюры горизонтальной составляющей давления грунта от равномерно распределенной нагрузки

ctgbi

ki

ctgbi

ki

ctgbi

ki

ctgbi

ki

19,080

0,000

1,804

0,180

1,049

0,470

0,638

0,760

и более

 

 

 

 

 

 

 

11,430

0,000

1,759

0,190

1,032

0,480

0,625

0,770

7,120

0,005

1,716

0,200

1,016

0,490

0,611

0,780

5,480

0,010

1,676

0,210

1,000

0,500

0,597

0,790

4,700

0,015

1,637

0,220

0,984

0,510

0,583

0,800

4,270

0,020

1,600

0,230

0,968

0,520

0,568

0,810

3,960

0,025

1,567

0,240

0,953

0,530

0,554

0,820

3,690

0,030

1,534

0,250

0,938

0,540

0,540

0,830

3,490

0,035

1,504

0,260

0,923

0,550

0,526

0,840

3,300

0,040

1,475

0,270

0,909

0,560

0,512

0,850

3,170

0,045

1,447

0,280

0,895

0,570

0,197

0,860

3,050

0,050

1,420

0,290

0,881

0,580

0,481

0,870

2,950

0,055

1,394

0,300

0,867

0,590

0,464

0,880

2,850

0,060

1,359

0,310

0,853

0,600

0,448

0,890

2,750

0,065

1,344

0,320

0,839

0,610

0,431

0,900

2,670

0,070

1,320

0,330

0,825

0,620

0,413

0,910

2,600

0,075

1,296

0,340

0,812

0,630

0,394

0,920

2,540

0,080

1,273

0,350

0,799

0,640

0,373

0,930

2,480

0,085

1,252

0,360

0,786

0,650

0,351

0,940

2,420

0,090

1,232

0,370

0,772

0,660

0,328

0,950

2,370

0,095

1,212

0,380

0,758

0,670

0,303

0,960

2,320

0,100

1,192

0,390

0,744

0,680

0,271

0,970

2,230

0,110

1,172

0,400

0,730

0,690

0,233

0,980

2,150

0,120

1,154

0,410

0,717

0,700

0,182

0,990

2,080

0,130

1,136

0,420

0,704

0,710

0,140

0,995

2,013

0,140

1,118

0,430

0,691

0,720

0,088

0,999

1,959

0,150

1,100

0,440

0,678

0,730

0,052

1,000

1,902

0,160

1,083

0,450

0,665

0,740

менее

 

1,852

0,170

1,066

0,460

0,651

0,750

 

 

1,804

0,180

1,049

0,470

0,638

0,760

 

 

la - коэффициент горизонтальной составляющей активного давления грунта, расположенного на откосе каменной призмы;

lа,к - коэффициент горизонтальной составляющей активного давления каменной отсыпки;

аh,1, ah - проекции на вертикаль отрезков линии откоса каменной призмы, заключенных между плоскостями обрушения, проходящими соответственно через концы участков Dhк и Dd расчетной плоскости стенки, м, определяемые по формулам (5.33, 5.34);

Dhк, Dd - высота (глубина) участков зоны распределения дополнительного давления грунта, м.

Проекции аh,1 и ah на вертикаль определяются по формулам:

;                                                   (5.33)

,                                    (5.34)

где hк - высота каменной призмы, м;

bк - угол обрушения каменной отсыпки, град;

bк- ширина каменной призмы поверху, м;

m0 - заложение откоса грунта над призмой;

bп - ширина подошвы каменной призмы, м.

5.26. При наличии откоса на поверхности грунта (черт. 5.5 а, б, в) эпюра интенсивности горизонтальной составляющей активного давления грунта определяется по двум эпюрам:

эпюре 1, построенной отточки пересечения линии, являющейся продолжением откоса, с расчетной плоскостью, как для неограниченного откоса;

эпюре 2, построенной от точки пересечения линии, являющейся продолжением горизонтальной поверхности полуоткоса или бермы, с расчетной плоскостью, как для горизонтальной поверхности грунта.

Эпюра 3 принимается в зависимости от схемы очертания поверхности грунта:

для схемы на черт. 5.5а от верха расчетной плоскости до точки 0 (точка пересечения эпюр 1 и 2) - по эпюре 1, ниже - по эпюре 2;

для схемы на черт. 5.5б, в от верха расчетной плоскости до точки 0 - по эпюре 2, ниже - по эпюре 1.


Черт. 5.5


5.27. Интенсивность вертикальной составляющей активного давления грунта рa,v определяется по формуле

                                                    (5.35)

где pa - интенсивность горизонтальной составляющей активного давления грунта, кПа.

5.28. Горизонтальная Еa и вертикальная Еav составляющие активного давления грунта определяются площадью эпюр интенсивности давления грунта.

5.29. Интенсивность горизонтальной составляющей силосного давления грунта между стенками определяется по формуле

,                               (5.36)

где qz,сил - интенсивность вертикального давления грунта между стенками, кПа, определяемая по п. 5.30;

lа - коэффициент горизонтальной составляющей активного давления грунта, принимаемый по п. 5.23;

,                                                   (5.37)

где z - текущая координата по высоте стенки, м;

hi - высота i-того слоя грунта, м;

h0 - величина, м, определяемая для каждого i-того слоя грунта по формуле (5.38 или 5.39).

Для плоской задачи

,                                                        (5.38)

где а - расстояние между расчетными плоскостями стенок, м;

d - угол трения грунта о стенку, град (см. п. 5.23);

для ячеистых конструкций (оболочек)

,                                                         (5.39)

где А - площадь ячейки, м2;

u - периметр ячейки, м.

Примечание.

В случаях, когда больше qzi-1 сил величина ра, сил на данном участке принимается равной нулю.

5.30. Интенсивность вертикального давления грунта между стенками определяется по формуле

,                                     (5.40)

где qzi-1, сил - интенсивность вертикального давления грунта между стенками на поверхности i-того слоя с учетом равномерно распределенной нагрузки на поверхности грунта между стенками интенсивностью q0, кПа,

,                                                    (5.41)

где qj - интенсивность равномерно распределенной нагрузки, расположенной в пределах а, кПа;

bj - полоса нагрузки интенсивностью qj, м;

Fj - сосредоточенные нагрузки, расположенные в пределах а, кН/м.

5.31. Интенсивность вертикальной составляющей силосного давления грунта между стенками определяется по формуле

ра,v,сил=ра,силtgd,                                                       (5.42)

где ра,сил - интенсивность горизонтальной составляющей силосного давления грунта между стенками, кПа.

5.32. Интенсивность горизонтальной составляющей пассивного давления грунта рр при плоской поверхности грунта определяется по формуле

рр=рр.гр+ррн,                                                                                                     (5.43)

где рр.гр - интенсивность горизонтальной составляющей пассивного давления от веса грунта, кПа, определяемая по п. 5.33;

ррн - интенсивность горизонтальной составляющей пассивного давления грунта от нагрузки на призме выпора, кПа, определяемая по п. 5.35.

5.33. Интенсивность горизонтальной составляющей пассивного давления от веса грунта рр.гр определяется по формуле

рр=qz.lр+clpc,                                                         (5.44)

где qz - интенсивность вертикального давления грунта, кПа, (п. 5.22);

lр - коэффициент горизонтальной составляющей пассивного давления грунта, определяемый по п. 5.34;

с - удельное сцепление грунта, кПа;

lpc - коэффициент горизонтальной составляющей пассивного давления грунта от сил сцепления, определяемый по п. 5.34.

Для поверхностного слоя, где возможно нарушение структуры грунта, удельное сцепление грунта С=0, полная величина сцепления принимается на глубине 1,0 м. Изменение удельного сцепления до полной его величины принимается линейным.

5.34. Коэффициент горизонтальной составляющей пассивного давления грунта lр определяется в соответствии с требованиями СНиП 2.06.07-87 по формулам:

при r=0

,                (5.45)

где r - угол наклона поверхности грунта к горизонтали, град, принимаемый со знаком плюс при повышении отметки территории;

d - угол трения грунта по расчетной плоскости, град, принимаемый от 0 до j, но не более 30°;

a - угол наклона расчетной плоскости к вертикали, град, принимаемый со знаком минус при наклоне от грунта;

при r£j и a£7

,                                                (5.46)

где

,                                          (5.47)

где b - угол, град, принимаемый при d£0,33j равным d, при d>0,33j равным 0,677j.

Коэффициент горизонтальной составляющей пассивного давления грунта от сил сцепления lрс определяется по формуле

.                                          (5.48)

При горизонтальной поверхности грунта (r=0) и вертикальной расчетной плоскости (a=0) коэффициенты горизонтальной составляющей пассивного давления грунта lр и lрс, следует принимать по табл. 5.4.

5.35. Интенсивность горизонтальной составляющей пассивного давления грунта рp,qn от нагрузки на призме выпора

рp,qп=0,9qпlр,                                                   (5.49)

где qп - интенсивность нагрузки на призме выпора, кПа, принимаемая бесконечной по ширине причала.

Таблица 5.4.

Коэффициенты горизонтальной составляющей пассивного давления грунта

j°

lр

lрс

d=0

d=0,33j

d=0,667j

d=j

d=0

d=0,33j

d=0,667j

d=j

1

1,04

1,04

1,04

1,05

0,00

0,00

0,00

0,00

2

1,07

1,08

1,09

1,10

0,00

0,00

0,00

0,00

3

1,11

1,13

1,14

1,15

0,00

0,29

0,51

0,62

4

1,15

1,17

1,19

1,20

0,50

0,82

1,05

1,18

5

1,19

1,22

1,25

1,26

0,82

1,16

1,41

1,55

6

1,23

1,28

1,31

1,32

1,05

1,41

1,67

1,83

7

1,28

1,33

1,37

1,39

1,22

1,60

1,88

2,05

8

1,32

1,39

1,43

1,46

1,36

1,76

2,07

2,25

9

1,37

1,45

1,50

1,54

1,48

1,90

2,23

2,43

10

1,42

1,51

1,58

1,62

1,58

2,03

2,38

2,60

11

1,47

1,57

1,66

1,71

1,67

2,15

2,52

2,77

12

1,52

1,64

1,74

1,80

1,75

2,26

2,66

2,93

13

1,58

1,72

1,83

1,90

1,83

2,37

2,80

3,09

14

1,64

1,80

1,92

2,01

1,90

2,47

2,94

3,25

15

1,70

1,88

2,03

2,13

1,97

2,57

3,07

3,42

16

1,76

1,96

2,13

2,26

2,04

2,68

3,21

3,59

17

1,83

2,06

2,25

2,39

2,11

2,78

3,36

3,77

18

1,89

2,15

2,38

2,54

2,17

2,88

3,50

3,96

19

1,97

2,26

2,51

2,70

2,23

2,99

3,66

4,15

20

2,04

2,36

2,65

2,87

2,30

3,10

3,82

4,36

21

2,12

2,48

2,81

3,06

2,36

3,21

3,98

4,57

22

2,20

2,60

2,98

3,27

2,42

3,33

4,15

4,80

23

2,28

2,74

3,16

3,47

2,48

3,44

4,34

5,04

24

2,37

2,88

3,35

3,73

2,55

3,57

4,53

5,30

25

2,46

3,02

3,56

4,00

2,61

3,69

4,73

5,58

26

2,56

3,18

3,79

4,30

2,68

3,83

4,59

5,88

27

2,66

3,36

4,04

4,62

2,74

3,96

5,13

6,20

28

2,77

3,54

4,31

4,98

2,81

4,11

5,42

6,54

29

2,88

3,73

4,61

5,37

2,88

4,26

5,68

6,91

30

3,00

3,95

4,93

5,80

2,94

4,42

5,95

7,32

31

3,12

4,17

5,28

6,21

3,02

4,59

6,25

7,64

32

3,25

4,42

5,67

6,64

3,09

4,76

6,57

7,97

33

3,39

4,68

6,10

7,11

3,16

4,95

6,91

8,31

34

3,54

4,97

6,57

7,60

3,24

5,14

7,29

8,66

35

3,69

5,28

7,09

8,15

3,31

5,35

7,69

9,04

36

3,85

5,61

7,67

8,73

3,40

5,57

8,12

9,44

.37

4,02

5,98

8,31

9,37

3,48

5,81

8,60

9,86

38

4,20

6,37

9,02

10,06

3,56

6,06

9,11

10,31

39

4,40

6,81

9,82

10,82

3,65

6,33

9,68

10,79

40

460

7,28

10,72

11,65

3,74

6,62

10,30

11,31

5.36. При наличии откоса на поверхности грунта перед сооружением (черт. 5.6 а, б) эпюра интенсивности горизонтальной составляющей пассивного давления грунта определяется по двум эпюрам:

эпюре 1, построенной от точки пересечения линии, являющейся продолжением откоса, с расчетной плоскостью как для неограниченного откоса;

эпюре 2, построенной от точки пересечения линии, являющейся продолжением горизонтальной поверхности полуоткоса или бермы, с расчетной плоскостью как для горизонтальной поверхности грунта; при этом для схемы на черт. 5.6, а эпюра 2 строится от точки 0, интенсивность пассивного давления грунта в которой определяется как для неограниченного откоса.

Эпюра 3 принимается в зависимости от схемы очертания поверхности грунта перед сооружением:

для схемы на черт. 5.6а от верха расчетной плоскости до точки 0, расположенной на глубине Dd - по эпюре 1, ниже - по эпюре 2;

для схемы на черт. 5.6б от верха расчетной плоскости до точки 0 (точка пересечения эпюр 1 и 2) - по эпюре 2; ниже по эпюре 1.

5.37. Интенсивность вертикальной составляющей пассивного давления грунта рp,v определяется по формуле

рp,v=pptg(a+d),                                                      (5.50)

где pp - интенсивность горизонтальной составляющей пассивного давления грунта, кПа.

5.38. Горизонтальная Ер и вертикальная Еp,v - составляющие равнодействующей пассивного давления грунта определяются площадью эпюр интенсивности давления грунта.

Черт. 5.6

5.39. Интенсивность давления грунта в состоянии покоя при горизонтальной поверхности грунта на вертикальную расчетную плоскость определяется как активное давление в соответствии с указаниями п.п. 5.20, 5.27 при коэффициенте горизонтальной составляющей активного давления грунта равном коэффициенту l0.

5.40. Коэффициент бокового давления грунта в состоянии покоя l0 определяется по формуле

,                                                       (5.51)

где n - коэффициент поперечной деформации грунта, принимаемый при отсутствии опытных данных по СНиП 2.02.02-85.

5.41. При определении реактивного давления грунта, вызванного смещением сооружения, грунт рассматривается как линейно деформируемое основание, характеризуемое модулем деформации Еп и коэффициентом поперечной деформации грунта n или коэффициентом постели сz.

5.42. Модуль деформации грунта Еп следует принимать на основании данных лабораторных или полевых исследований в соответствии с требованиями СНиП 2.02.02-85.

Коэффициент постели сz принимается линейно возрастающим с глубиной

сz=k×z,                                                               (5.52)

где k - коэффициент пропорциональности упругих свойств грунта, кН/м4, принимаемый по табл. 5.5;

z - текущая координат по высоте стенки, м.

Таблица 5.5

Коэффициенты пропорциональности упругих свойств грунта

Наименование, вид грунта и его характеристика

K, кН/м4

Текучепластичные глины и суглинки (0,75<JL£1,00)

500-2000

Мягкопластичные глины и суглинки (0,50<JL£0,75), пластичные супеси (0<JL£1,00), пылеватые пески (0,60<e<0,80)

2000-4000

Тугопластичные и полутвердые глины и суглинки (0<JL£0,50), твердые супеси (JL<0) и пески мелкие (0,60<е£0,75) и средней крупности (0,55<е£0,70)

4000-6000

Твердые глины и суглинки (JL<0), пески крупные (0,55<е£0,70)

6000-10000

Пески гравелистые (0,55<е£0,70), гравий и галька с песчаным заполнением

10000-20000

Примечания:

1. Меньшие значения коэффициента k соответствуют более высоким значениям показателя текучести JL глинистых и коэффициентов пористости песчаных грунтов, указанных в скобках, а большие значения коэффициента k - соответственно более низким значениям JL и е.

Для грунта с промежуточными значениями характеристик JL и е значения коэффициента k определяются интерполяцией.

2. Коэффициенты k для плотных песков (е£0,55) принимаются на 30% выше, чем наибольшие значения, указанные для данного вида грунта.

3. Коэффициенты k для насыпных грунтов принимаются на 30% ниже, чем указанные в таблице значения для данного вида грунта.

5.43. При расчетах прочности, устойчивости, деформации интенсивность реактивного давления грунта не должна превышать интенсивности пассивного давления грунта, определяемой по п. 5.32.

6. РАСЧЕТ ОБЩЕЙ УСТОЙЧИВОСТИ

ОСНОВНЫЕ ПОЛОЖЕНИЯ РАСЧЕТА

6.1. При проектировании причальных сооружений следует выполнять расчеты общей устойчивости:

на плоский сдвиг по каменной постели или вместе с постелью;

на опрокидывание вокруг переднего ребра;

на поворот лицевой стенки больверка вокруг точки крепления анкера;

на сдвиг грунта засыпки ячеистых сооружений по вертикальной плоскости;

на анкерующую способность массива грунта перед анкерными плитами или стенками;

на глубинный сдвиг по круглоцилиндрическим или ломаным (фиксированным) поверхностям скольжения, а также по схеме смешанного сдвига.

6.2. Расчеты общей устойчивости причальных сооружений следует производить с учетом конкретных характеристик конструкции, грунтов основания и эксплуатационных нагрузок для условий плоской или пространственной задачи.

В условиях плоской задачи расчеты проводятся на 1 м длины сооружения, в условиях пространственной задачи - на всю длину сооружения или ограниченного участка.

6.3. Расчеты общей устойчивости в условиях пространственной задачи следует выполнять в случаях, когда длина сдвигаемого участка сооружения l меньше 5h (где h - высота сооружения от дна до верха стенки).

При решении пространственной задачи к удерживающим силам необходимо добавить силы трения и сцепления, реализованные по торцевым сечениям сдвигаемого объема грунта основания. Значения равнодействующих сил трения при этом допускается определять как произведение равнодействующих горизонтальных составляющих активного давления грунта по указанным сечениям на коэффициент трения tgj, а сил сцепления - как произведение удельного сцепления на соответствующие площади участков торцевого сечения.

6.4. Расчеты устойчивости причальных сооружений на плоский сдвиг, опрокидывание, поворот лицевой стенки больверка вокруг точки крепления анкера, анкерующую способность массива грунта перед анкерными опорами следует выполнять в соответствии с требованиями СНиП 2.02.02-85 и раздела 8 настоящей Инструкции.

Расчеты устойчивости грунта засыпки ячеистых сооружений на сдвиг по вертикальной плоскости выполняются по указаниям раздела 11 настоящей Инструкции.

6.5. Расчет общей устойчивости на глубинный сдвиг по круглоцилиндрическим или ломаным (фиксированным) поверхностям скольжения, а также по схеме смешанного сдвига, следует выполнять в соответствии с требованиями СНиП 2.02.02-85 по формуле

,                                                     (6.1)

где g, gc, gп - то же, что в п. 4.3.

Мt - сумма моментов сил, вызывающих сдвиг сооружения относительно выбранного центра круглоцилиндрической поверхности, кНм;

Мr - сумма моментов сил, удерживающих сооружение от сдвига относительно выбранного центра круглоцилиндрической поверхности, кНм;

gdc - дополнительный коэффициент условий работы, независимый от класса сооружения и работы, принимаемый для причальных сооружений;

gdc=1,05 (что соответствует запасу устойчивости 0,95 по методу Крея-Терцаги для сооружений III класса);

для откосов gdc=1,1 (что соответствует запасу устойчивости 1,05 по методу Крея-Терцаги для сооружений III класса).

Расчет следует проводить по программе KRMAJN, или PURS, или другим опробированным программам.

6.6. Расчет общей устойчивости причальных сооружений сложной конструкции, сооружений на слабых или слоистых грунтах основания допускается выполнять по методу предельных значений сдвигающих и удерживающих сил.

РАСЧЕТ ОБЩЕЙ УСТОЙЧИВОСТИ ПО МЕТОДУ ПРЕДЕЛЬНЫХ ЗНАЧЕНИЙ СДВИГАЮЩИХ И УДЕРЖИВАЮЩИХ СИЛ

6.7. Расчет обшей устойчивости по методу предельных значений сдвигающих и удерживающих сил выполняется по формуле

,                                                   (6.2)

где glc, gc, gп - то же, что в п. 4.3;

gdc - дополнительный коэффициент условий работы, принимаемый для узких пирсов gdc=0,9; для палов gdc=85;

для других типов конструкций и откосов gdc=1,0;

Fсдв,1 - расчетные значения равнодействующей сдвигающих сил кН определяемые по п. 6.12 с учетом проектных расчетных нагрузок, интенсивностью q1, на территории причала (черт. 6.1, 6.2);

Fсдв,пр - расчетное значение равнодействующей предельных сдвигающих сил, кН, соответствующее несущей способности основания сооружения, определяемое по п. 6.8.

6.8. Расчетное значение равнодействующей предельных сдвигающих сил Fсдв,пр определяется по формуле

,                           (6.3)

где DFпр - приращение равнодействующей сдвигающих сил, кН, при увеличении эксплуатационных нагрузок от q1 до qпр (qпр - интенсивность предельного значения равномерно распределенной нагрузки на причале), определяемое по п. 6.9;

a1 - угол пересечения равнодействующих сдвигающих Fсдв,l и удерживающих сил Fуд, град, определяемый по п. 6.10;

y - угол отклонения линии действия силы DFпр от направления равнодействующей удерживающих сил Fyд,1, град, определяемый по п. 6.11.

Черт. 6.1. Графическое выполнение расчета

а - расчетная схема; б - силовые многоугольники

Черт. 6.2. Графоаналитический расчет по ломаным (фиксированным) поверхностям скольжения

а - расчетная схема; б - силовые многоугольники.

6.9. Величина приращения равнодействующей сдвигающих сил определяется по формуле

                                          (6.4)

где Fуд,1 - равнодействующая удерживающих сил, кН, определяемая с учетом нагрузок интенсивностью q1;

jpcd - средневзвешенное значение углов внутреннего трения грунтов, расположенных по поверхности скольжения, град;

DFсдв, DFуд - приращение равнодействующих соответственно сдвигающих Fсдв,1 и удерживающих сил Fуд,1 при увеличении нагрузок от q1 дo q2, кH, (q2=1,5+2,0 q1),

DFсдв=Fсдв,2-Fсдв,1;                                                     (6.5)

DFуд=Fуд,2-Fуд,1,                                                     (6.6)

где Fсдв,2, Fуд,2 равнодействующие соответственно сдвигающих и удерживающих сил, кН, определяемые с учетом нагрузок интенсивностью q2.

6.10. Угол a'1 пересечения равнодействующих сдвигающих Fсдв,1 и удерживающих Fуд,1 определяется по формуле

a'1=bсдв,1-bуд,1,                                                       (6.7)

где bсдв,1, bуд,1 - соответственно углы наклона равнодействующих Fсдв и DFуд, град, относительно горизонта.

6.11. Угол отклонения y определяется по формуле

,                                      (6.8)

где - определено в п. 6.12.

6.12. Равнодействующей сдвигающих Fсдв,i и удерживающих сил Fуд,,i определяются в следующей последовательности:

сдвигаемая часть грунта расчленяется на отдельные вертикальные элементы (блоки) и определяется вес каждою из них gi c учетом нагрузок на территории причала;

определяются сдвигающие и удерживающие силы, расположенные по поверхности скольжения каждого элемента (блока) аналогично с расчетом общей устойчивости по круглоцилиндрическим поверхностям скольжения по СНиП 2.02.02-85, производится векторное суммирование сдвигающих и удерживающих сил и определяются равнодействующие Fсдв,1, Fсдв,2, Fуд,,1, Fуд,,2 и углы их наклона к горизонту bсдв,1, bсдв,2, bуд,,1, bуд,,2, соответствующие нагрузкам q1 и q2.

6.13. При расчете устойчивости по ломаным (фиксированным) поверхностям скольжения следует учитывать дополнительные удерживающие силы DF1 и Т1, связанные с реализацией пригружающего эффекта и сил трения в пассивной зоне перед лицевой стенкой.

6.14. После решения задачи по указанным формулам определяется интенсивность предельного значения равномерно распределенной нагрузки qпр, воспринимаемой сооружением до нарушения его общей устойчивости:

.                                                  (6.9)

6.15. При выполнении расчетов на глубинный сдвиг по круглоцилиндрическим и ломаным (фиксированным) поверхностям необходимо учитывать следующее:

если поверхность скольжения проходит по контакту двух слоев грунта, в расчете следует принять характеристики более слабого слоя;

в случае расположения в основании рассчитываемого вертикального элемента разнородных грунтов расчет следует выполнять с учетом средневзвешенных характеристик;

при расположении в пределах сдвигаемой части основания временных нагрузок в виде штабеля навалочного груза поверхность скольжения выше отметки территории причала следует принять по плоскости обрушения штабеля.

6.16. Расчеты общей устойчивости на глубинный сдвиг могут быть выполнены методом графоаналитики (черт. 6.1, 6.2) или с использованием аналитических решений.

Расчет общей устойчивости по круглоцилиндрическим поверхностям скольжения следует выполнять по программе BRMAJN, а по ломаным (фиксированным) поверхностям скольжения - по программе SLJDE.

6.17. При выполнении расчета устойчивости по круглоцилиндрическим поверхностям скольжения графоаналитическим способом ширину вертикальных элементов следует принимать не более 0,1r (где r - радиус поверхности скольжения).

ОПРЕДЕЛЕНИЕ РАСПОЛОЖЕНИЯ ПОВЕРХНОСТЕЙ СКОЛЬЖЕНИЯ ПРИ ГЛУБИННОМ СДВИГЕ

6.18. При расчете общей устойчивости на глубинный сдвиг по круглоцилиндрическим поверхностям необходимо рассматривать следующие поверхности скольжения:

для сооружений типа больверк - проходящие через нижнюю точку лицевой стенки шпунта (черт 6.3 а);

для гравитационных сооружений - проходящие через тыловую грань подошвы стенки или через точку пересечения подошвы постели с линией, проведенной из тыловой грани подошвы стенки под углом 45° от вертикали в сторону берега;

Черт. 6.3. Расположение поверхностей скольжения:

а, б, в - сооружение типа больверк, г - гравитационная стенка, д - опоры гравитационного типа и ячеистые

для сооружений эстакадного типа на оболочках большого диаметра при однородном основании - проходящие по подошве оболочек или в зависимости от конструкции элемента сопряжения эстакады с берегом при гравитационной стенке - через тыловую грань стенки при заднем шпунте - через нижнюю точку шпунта, при уголковой стенке - через нижнюю тыловую грань стенки или по подошве оболочек, для сооружений с высоким свайным ростверком - проходящие по нижним точкам заднего или переднего шпунтов, а в отдельных случаях - точке скопления наибольшего количества свай.

6.19. При расчете устойчивости сооружений по круглоцилиндрическим поверхностям скольжения временная равномерно распределенная нагрузка на территории причала принимается отодвинутой от линии кордона на расстояние аq (см. черт 6.3 а):

аq=rsinj - a,                                                     (6.10)

где r - радиус поверхности скольжения, м;

j - угол внутреннего трения грунта по поверхности скольжения подприкордонным участком, град;

а - расстояние от вертикали, проведенной от центра поверхности скольжения, до лицевой стенки причала, м.

В случае расположения в основании причалов слабого грунта, временная нагрузка на территории причала учитывается полностью т.е. аq=0.

6.20. При пересечении поверхностью скольжения элементов конструкции сооружения (свайных или других жестких связей) следует учитывать в расчете силу сопротивления разрушению этих элементов.

6.21. Расчет устойчивости причальных сооружений по ломаным (фиксированным) поверхностям скольжения следует выполнять, как правило, при наличии в основании слабых прослоек грунта.

6.22. Следует рассмотреть следующие поверхности скольжения:

в случае расположения в нижней части основания больверка и свайных сооружений слабых грунтов - поверхности АБК, АБВГ, АБДВГ (черт 6.3в); в этом случае необходима также проверка по поверхностям АБСВГ или АБСДВГ (черт 6.3в);

для сооружений гравитационного типа в зависимости от расположения слабой прослойки у подошвы стенки - проходящие через точки АБВДЕ с выходом к территории причала пo слабому слою (черт 6.3г) и АБВГ, включающий призму обрушения КВГ;

для опор гравитационного типа и ячеистых палов - проходящие через точки АБВГ (черт 6.3д).

6.23. При построении ломанных поверхностей скольжения следует принимать следующие углы наклона плоскостей:

перед сооружением типа подпорных стенок - под углом отпора грунта (см. черт. 6.3б, в, г);

в тыловой части со стороны берега - под углом распора грунта (см. черт. 6.3б, в, г);

для опор гравитационного типа и ячеистых палов в сторону приложения горизонтальной сосредоточенной нагрузки - под углом отпора грунта, а в противоположную сторону - под углом распора грунта (см. черт. 6.3б, д);

углы наклона остальных плоскостей, расположенные между призмами отпора и распора, определяются по отметкам нижних точек лицевой стенки больверка и анкерных опор, а в случае гравитационных стенок - по наклону слабых прослоек.

6.24. При расчетах устойчивости по ломаным поверхностям скольжения временную равномерно распределенную нагрузку на территории причалов следует принимать от линии кордона.

В случае если угол наклона участка ломаной поверхности скольжения меньше угла внутреннего трения грунта, то временная равномерно распределенная нагрузка на этом участке принимается равной нулю.

6.25. Сдвигаемый объем грунта, ограниченный возможными поверхностями скольжения, расчленяется на отдельные вертикальные элементы (блоки) таким образом, чтобы в основании каждого элемента был однородный грунт (см. черт. 6.2). Если в основании одного элемента располагаются грунты с различными характеристиками, следует принимать средневзвешенное значение характеристик в основании таких элементов.

7. ПРОЕКТИРОВАНИЕ ПРИЧАЛЬНЫХ СООРУЖЕНИЙ ГРАВИТАЦИОННОГО ТИПА

ОСНОВНЫЕ КОНСТРУКТИВНЫЕ ТРЕБОВАНИЯ

7.1. Требования, изложенные в настоящем разделе, распространяются на следующие конструкции гравитационных причальных сооружений:

уголковые стенки контрфорсного типа;

уголковые стенки с внешней анкеровкой, имеющие в вертикальной плоскости две опоры: верхнюю - в точке крепления анкера и нижнюю - на пороге фундаментной плиты;

стенки из массивовой кладки в поперечном сечении без вертикальных швов и с массивами верхнего курса, имеющими разгружающий консольный свес;

стенки из массивов столбовой кладки массой до 300 т;

стенки из пустотелых бетонных массивов столбовой кладки;

стенки из массивовой кладки равной массы;

стенки из оболочек большого диаметра.

7.2. Причальные сооружения гравитационного типа, особенно из массивовой кладки, не следует применять при неблагоприятных геологических условиях, когда можно ожидать значительной и неравномерной осадки основания сооружения.

Возрастание нагрузок на основание в процессе возведения причальных сооружений не должно вызывать неравномерных осадок, раскрытия швов кладки и разрушения конструкции.

Примечание.

Под неблагоприятными геологическими условиями, особенно для сооружений из массивовой кладки, следует понимать наличие в основании сооружения: водонасыщенных глинистых грунтов пластичной и тугопластичной консистенции при степени влажности Sr 0,80 с расчетным сопротивлением R<300 кПа и модулем деформации Е£15 МПа.

Дополнительными характеристиками для указанных грунтов являются: малая плотность (коэффициент пористости е£0,75), значительная сжимаемость (коэффициент сжимаемости а>0,05 см/кгс); малый и неодинаковый во всех направлениях коэффициент фильтрации kф<0,001м/сут; относительно малая прочность (показатель сопротивления сдвигу t<56 кПа при расчетных сдвиговых показателях по трению j<20° и сцеплению С<20кПа).

При возведении сооружения на глинистых грунтах, подверженных реологическим изменениям, следует учитывать длительную прочность этих грунтов.

7.3. Конструкцию набережных гравитационного типа следует разделять по длине на секции сквозными вертикальными температурно-осадочными швами.

Длина секции определяется в зависимости от геологического строения основания, типа конструкции, высоты стенки и толщины постели по табл. 7.1.

Таблица 7.1

Тип гравитационного сооружения

Уголковая стенка

Стенка из массивовой кладки

Стенка из пустотелых массивов

Рациональная длина секции, м

20-25

25-40

20-35

Примечание.

Для скальных оснований при толщине постели до 1,5 м длина секции принимается по верхнему пределу, при большей толщине постели - сокращается на 5 м.

На нескальных основаниях при высоте стенки до 13 м длина секции принимается по нижнему пределу, при большей высоте - увеличивается на 5 м от нижнего предела.

Длина секции должна быть кратной расстоянию между тумбовыми массивами.

Увеличение длины секции допускается при специальном обосновании в проекте.

Разбивка стенки на секции должна производиться с учетом обязательного устройства швов в местах возможной резкой разницы в осадках отдельных частей сооружения.

7.4. Причальные сооружения гравитационного типа, возводимые на нескальных грунтах, должны располагаться на постели из каменной наброски, заглубленной в грунт основания или отсыпанной на поверхность дна. При этом на грунты основания следует укладывать обратный фильтр из щебня или гравия толщиной не менее 0,3 м, за исключением случая, когда основание сложено из крупнозернистых грунтов.

Если основание сооружения сложено из скальных грунтов, каменная постель не устраивается, а в основании сооружения укладывается выравнивающий слой из каменной наброски толщиной не менее 0,5 м.

Примечания:

1. Для уголковых стенок с внешней анкеровкой допускается устраивать постель из гравия или щебня при условии ее устойчивости на размывающие воздействия.

2. При скальных основаниях в обоснованных случаях вместо каменной наброски допускается применение выравнивающей щебеночно-гравийной подушки или выравнивающего слоя бетона в мешках толщиной не менее 0,25 м.

7.5. По верху постели, по обе стороны основания стенки следует устраивать бермы, ширина которых должна быть с морской стороны не менее 2 м, а со стороны берега - не менее 1 м.

7.6. Толщину постели из каменной наброски, включая обратный фильтр, следует определять расчетом, принимая ее не более 5 м и не менее 1 м.

Постели большей толщины допускаются при условии технико-экономического обоснования.

При толщине постели более 1,5 м в конструкциях из пустотелых бетонных массивов следует уплотнять постель подводным вибрированием.

7.7. Для отсыпки постелей и разгрузочных призм следует использовать камень, удовлетворяющий требованиям специальных нормативных документов.

Штрабы между пустотелыми массивами следует заполнять щебнем. Засыпка внутренних полостей пустотелых массивов должна производиться щебнем или камнем массой от 15 до 60 кг; допускается применение песчаного грунта при условии обеспечения грунтонепроницаемости горизонтальных швов и устройства над каменной постелью контрфильтра из щебня.

Требования к качеству материала каменной отсыпки устанавливаются в соответствии с п. 1.36. При волновых воздействиях массу камня для отсыпки постели следует определять с учетом этих воздействий.

7.8. Обратный фильтр каменной постели и разгрузочных призм следует выполнять, руководствуясь требованиями п. 3.13.

Обратный фильтр каменных постелей на глинистых грунтах основания должен отсыпаться из крупного щебня размером 7-10 см.

Требования к качеству материала обратных фильтров устанавливаются в соответствии с указаниями п. 1.37.

7.9. Отметка верха подводной части причальных сооружений гравитационного типа должна назначаться не менее, чем на 0,3 м выше расчетного строительного уровня воды, чтобы обеспечивалась возможность устройства надстроек насухо.

Расчетный строительный уровень принимается в соответствии с примечанием п. 3.7.

7.10. Секции сборных уголковых железобетонных стенок следует составлять из контрфорсных блоков или из лицевых и фундаментных панелей.

В пределах секций контрфорсные блоки и лицевые панели следует омоноличивать железобетонной надстройкой.

7.11. Ширину лицевых и фундаментных панелей уголковых стенок рекомендуется делать наибольшей с учетом ограничений по условиям изготовления на заводах, транспортировки и монтажа.

7.12. Уголковые контрфорсные конструкции рекомендуется выполнять сборными из ненапряженных железобетонных элементов.

Все элементы, составляющие блок конструкции, в местах стыков должны иметь выпуски арматуры и закладные детали. Стыки элементов омоноличиваются.

7.13. Лицевую панель уголковых стенок с внешней анкеровкой, как правило, следует изготовлять из предварительно напряженного железобетона.

Допускается применять лицевые панели из стального шпунта.

7.14. Для обеспечения грунтонепроницаемости вертикальных швов уголковых стенок следует предусматривать грунтонепроницаемые завесы.

Конструкцию завес допускается выполнять по рабочим чертежам типовых проектов или нормативным документам, регламентирующим указанные уплотнительные устройства.

Следует также применять навеску по швам фильтрующих полотнищ из нетканых синтетических материалов.

7.15. В уголковых стенках с внешней анкеровкой на пороге фундаментной плиты, как правило, устраиваются выступающие из бетона стальные закладные опоры, а против них, на лицевой панели, - стальные опоры заподлицо с бетонной поверхностью.

Высота порога и отметка расположения шарнирных опор должны обеспечивать надежное опирание при возможной разности осадок лицевой и фундаментной плит в результате деформации постели.

7.16. В фундаментных плитах уголковых стенок с внешней анкеровкой для обеспечения устойчивости лицевых плит во время монтажа конструкции, до засыпки пазухи, следует устраивать местные поддерживающие упоры, предотвращающие опрокидывание вертикальной плиты в сторону берега.

7.17. Установка сборного блока или элемента гравитационной стенки причального сооружения должна быть произведена на весьма тщательно выровненную постель.

7.18. Лицевую панель уголковых стенок с внешней анкеровкой следует крепить двумя тягами, расположенными на одном уровне (п.п. 3.7 - 3.8).

7.19. Уровень крепления анкерных тяг к лицевой панели, как правило, должен быть выше строительного уровня воды.

7.20. Анкерные тяги в уголковых стенках с внешней анкеровкой следует выполнять из стали круглого сечения (п.п. 3.9 - 3.10).

7.21. Анкерные опоры для уголковых стенок с внешней анкеровкой следует выполнять в виде анкерных железобетонных плит. Допускается устройство анкерных шпунтовых стенок, обеспечивающих возможность осуществления тылового закрепления насухо.

7.22. Секции причальных сооружений из правильной кладки обыкновенных массивов следует выполнять горизонтальными курсами с перевязкой швов или столбами без перевязки швов (столбовая кладка). Пустотелые бетонные массивы применяются только в столбовой кладке.

Монолитность секций в первом случае обеспечивается перевязкой швов и железобетонной надстройкой, во втором - устройством железобетонной надстройки.

Примечание.

Под обыкновенными массивами понимаются бетонные монолиты, имеющие форму прямоугольного параллелепипеда, в том числе со скошенными гранями и срезанными ребрами, под пустотелыми массивами - бетонные ящики без днища с толщиной стен не менее 500 мм.

7.23. Изменение глубины заложения подошвы подводных стен причальных сооружений из правильной кладки бетонных массивов должно предусматриваться ступенями высотой в один курс.

7.24. Массу основных массивов рекомендуется принимать максимально возможной с учетом условий транспортировки и укладки их имеющимся подъемно-транспортным оборудованием.

Для причальных сооружений с глубиной у кордона до 11,5 м рекомендуется применение массивов массой до 100 т, а при больших глубинах - массой более 100 т.

Массивы меньшей массы следует применять для замыкания курсов при обеспечении правильной перевязки швов.

7.25. В подводной зоне причального сооружения из правильной кладки обыкновенных массивов минимальный класс бетона по прочности должен быть: для сооружений с глубиной у причала до 13,0 м - В 12.5, с глубиной 13 м и более - В 15. Класс бетона пустотелых массивов должен быть не менее В 25.

Для массивов верхнего курса, с консольным свесом, устанавливаемых в зоне переменных уровней воды, марка бетона должна удовлетворять требованиям обеспечения прочности и морозостойкости в соответствии с указаниями СНиП 2.06.08-87.

7.26. Число типов обыкновенных массивов должно быть минимальным, обоснованным технико-экономическими данными.

Отношение наибольшего размера массива в плане к его высоте должно быть:

в кладке по курсам с перевязкой швов - не более 3 для глубины у причала менее 13 м и не более 2,5 - для глубин у причала 13,0 м и более;

в столбовой кладке без перевязки швов - не более 4 для глубин у причала менее 13 м.

Отношение наименьшего размера массива в плане к его высоте должно быть в кладке по курсам с перевязкой швов - не менее 1,0 и для массивов, замыкающих курсы, - не менее 0,75

Требования настоящего пункта не распространяются на массивы верхнего курса, если они используются в качестве разгрузочных консолей стенки. В этом случае возможное применение массивов относительно меньшей высоты компенсируется повышением класса бетона (п. 7.25). При надлежащем обосновании допускается конструктивное армирование массивов нижнего курса.

Рекомендуется в конструкции причального сооружения из пустотелых бетонных массивов применять один тип массива. Рекомендуемые типы пустотелых массивов приведены на черт. 7.1

Отношение наибольшего размера массива в плане к его высоте в столбовой кладке пустотелых массивов должно быть не более 2.

Минимальная толщина стенки пустотелого бетонного массива принимается не менее 500 мм и устанавливается в соответствии с условиями его изготовления и требованиями долговечности. Окончательно значение толщины устанавливается расчетом прочности массива.

Для фиксирования мест концентрации напряжений по горизонтальным поверхностям пустотелых массивов следует предусматривать установку упругих прокладок из антисептированных досок.

При обосновании допускается конструктивное армирование пустотелых бетонных массивов.

Черт. 7.1. Типы пустотелых массивов

Монтажные отверстия не менее трех рекомендуется устраивать в боковых стенках пустотелых массивов, осуществляя их подъем тросами, и том числе с применением траверсы.

7.27. Перекрытие швов между массивами при правильной кладке с перевязкой швов должно быть: не менее 0,9 м - в поперечном разрезе кладки стенки; 0,7 м - в продольном разрезе и в плане каждого курса кладки и 0,9 м - в вертикальных сечениях отдельно стоящих опор причальных сооружений.

Перекрытие швов допускается уменьшить до 0,5 м, но количество таких перекрытий швов не должно превышать 10 % их общего числа или в продольном разрезе, или в плане каждого курса.

7.28. Ширина вертикальных швов в проектной разрезке в пределах секции между массивами правильной кладки должна приниматься:

а) в кладке с перевязкой швов - 2 см;

б) в столбовой кладке - 4 см.

Ширина вертикальных осадочных швов между секциями в проектной разрезке должна приниматься равной 5 см.

7.29. Для обеспечения грунтонепроницаемости швов массивовой кладки, а также для уменьшения активного давления на сооружение необходимо устраивать за стенкой разгрузочную призму из камня. Грунтонепроницаемость стенки из пустотелых бетонных массивов обеспечивается заполнением штраб между столбами массивов щебнем. Грунтонепроницаемость стенок также может быть обеспечена применением нетканых материалов.

7.30. Секции гидротехнических сооружений допускается компоновать из минимального числа типов массивов одинаковой массы. В каждом курсе кладки рекомендуется устанавливать массивы одного типа в соответствии с рекомендуемым приложением 4.

7.31. Для набережной стенки из массивовой кладки следует выполнять огрузку постели с целью ее обжатия и образования заданного проектом уклона стенки в соответствии с обязательным приложением.

7.32 Надстройка должна, как правило, выполнятся уголкового типа из сборно-монолитного или монолитного железобетона с четом условий прокладки инженерных коммуникаций. Тумбовые массивы следует омоноличивать с надстройкой.

7.33. К стенкам из оболочек большого диаметра относятся гравитационные конструкции из заполненных грунтом тонкостенных железобетонных элементов цилиндрического или полигонального очертания, устанавливаемых на каменную постель или непосредственно на грунт основания.

7.34. Оболочки следует выполнять монолитной или сборной конструкции. Сборные оболочки образуются из вертикальных цилиндрических или плоских панелей, соединенных друг с другом сплошными гибкими или жесткими связями, или из монолитных колец, устанавливаемых друг на друга свободно или с последующим омоноличиванием стыка.

В зоне переменного уровня воды и на участках интенсивного истирающего воздействия наносов толщину оболочки следует увеличивать на 10 см.

7.35. При применении железобетонных оболочек большого диаметра на нескальных основаниях их допускается погружать в грунт основания на величину, определенную расчетом, без устройства постелей или устанавливать в предварительно отрытый котлован или траншею. Минимальная глубина заложения подошвы оболочки должна приниматься не менее 1,5 м для плотных грунтов в основании и не менее 2,0 - для песчаных грунтов. При этом нужно принимать меры по защите дна перед сооружением от размыва.

Конструктивные требования к сооружениям из оболочек большого диаметра следует выполнять по указаниям Руководства по расчету морских гидротехнических сооружений из оболочек большого диаметра и по Методическим рекомендациям по расчету и проектированию причальных сооружений из оболочек большого диаметра.

ОБЩИЕ ПОЛОЖЕНИЯ РАСЧЕТА

7.36. Расчет причальных сооружений гравитационного типа должен выполняться в соответствии с требованиями СНиП 2.06.01-86 и раздела 4 настоящей Инструкции.

7.37. Причальные сооружения гравитационного типа следует проектировать с таким расчетом, чтобы равнодействующая нагрузок не выхолила за пределы ядра сечения основания, что определяется условием

                                                             (7.1)

или

,                                                            (7.2)

где а - расстояние от передней грани сооружения до точки приложения равнодействующей нагрузок, м:

;                                                       (7.3)

b - ширина основания сооружения, м;

е - эксцентриситет приложения равнодействующей нагрузок, м, определяется по формуле:

е=0,5b-a;                                                            (7.4)

Мr - суммарным момент от удерживающих сил относительно переднего ребра вращения, кНм;

Мt - суммарный момент от опрокидывающих сил относительно переднего ребра вращения кН м;

G - сумма вертикальных сил, действующих на подошву сооружения, кН.

Допускается выход равнодействующей нагрузок за пределы ядра сечения (за исключением конструкций из кладки пустотелых бетонных массивов) при увеличенном эксцентриситете для сооружений на скальном основании до е£0,25b, на основаниях из твердых и плотных грунтов только в случае расчета на особые сочетания нагрузок и воздействий до е£0,2b.

Примечание.

К удерживающим следует относить вертикальные (кассовые силы и вертикальную составляющую активного давления грунта, определенную с учетом временных нагрузок.

7.38. Расчет нескальных оснований гравитационных причальных сооружений по второй группе предельных состояний (по деформациям) производится в соответствии с требованиями СНиП 2.02.02-85 и п. 4.3 из условия

,                                                      (7.5)

где glc, gc, gп - тоже, что в п. 4.3;

S - совместная деформация основания и сооружения (осадка Sr, горизонтальное перемещение Sh крен i, поворот вокруг вертикальной оси и др.), определяемая расчетом согласно требованиям СНиП 2.02.02-85, м;

Su - предельное значение совместной деформации основания и сооружения, устанавливаемое по указаниям CHиП 2.02.02-85 и проекта, м.

Расчет оснований причальных сооружений по второй группе предельных состояний (по деформациям) должен выполняться на основные сочетания действующих нагрузок и воздействий.

Черт. 7.2. Эпюры краевых напряжений по контакту основания сооружения и каменной постели

В отдельных случаях допускается не производить проверку деформаций по формуле (7.5), если средние значения давления под подошвой не превышают расчетного сопротивления грунта основания R, определенного в соответствии со СНиП 2.02.01-83.

7.39. При определении нормальных краевых напряжений под подошвами гравитационных сооружений или каменными постелями в расчете прочности оснований должно выполняться условие

,                                                            (7.6)

где glc, gc, gп - тоже, что в п. 4.3;

smax - максимальное краевое напряжение на контакте каменной постели и подошвы сооружения или на контакте грунта основания и подошвы каменной постели, определяемое в соответствии с п.п. 7.40 и 7.41, кПа;

R - расчетное сопротивление каменной постели или грунта, определяемое по указаниям СНиП 2.02.01-83 с учетом данных инженерно-геологических изысканий, КПа.

7.40. Краевые напряжения по контакту основания сооружения и каменной постели при соблюдении условий (7.1) и (7.2) (черт. 7.2, а) определяются по формуле

.                                                       (7.7)

При несоблюдении в пределах указаний п. 7.37 условий (7.1) и (7.2) (черт. 7.2, б) краевые напряжения определяются по формуле 2

                                                            (7.8)

В формулах (7.7) и (7.8):

smax и smin - расчетные максимальные и минимальные краевые нормальные напряжения в каменной постели на контакте с основанием сооружения, кПа.

Проверка прочности каменной постели производится по формуле (7.6), где R - расчетное сопротивление каменной постели, принимаемое в зависимости от марочной прочности камня с учетом его водонасыщенности. При расчете прочности каменной постели допускается пользоваться рекомендациями СНиП 2.02.01-83, кПа.

Остальные обозначения - по п. 7.37.

Примечание.

При отсутствии инженерно-геологических данных допускается принимать расчетное сопротивление постели R:

для основного сочетания силовых воздействий 0,4-0,6 МПа,

для особого 0,55-0,85 МПа.

Краевые напряжения по контакту подошвы сооружения из пустотелых бетонных массивов и каменной постели должны определяться по формуле

,                                                       (7.9)

где А - площадь подошвы массива или площадь подошвы сооружения (при условии уплотнения камня в полости массивов или устройства набетонки в полости массива нижнего курса), м;

W1,2 - момент сопротивления столба массива по подошве сооружения для кордонной и тыловой грани относительно оси, проходящей через центр тяжести сечения, м3.

7.41. Краевые напряжения по контакту каменной постели с грунтом основания следует определять из условия передачи нагрузок через постель под углом 45° по формуле

,                                         (7.10)

где smax и smin - максимальные и минимальные краевые нормальные напряжения в грунте основания на контакте с каменной постелью, кПа;

smax и smin - то же, что в п. 7.40;

b1 - ширина, по которой передается давление от сооружения на постель, м. При соблюдении условий (7.1) и (7.2) b1=b, при несоблюдении указанных условий b1=3а;

tп - толщина каменной постели, м;

gк - удельный вес камня постели под водой, определяется в соответствии с п. 5.4.

Проверка прочности грунта основания производится по формуле 7.6, где R - расчетное сопротивление грунта основания, принимаемое по данным инженерно-геологических изысканий, с учетом указаний СНиП 2.02.01-83, при отсутствии инженерно-геологических данных допускается принимать по рекомендациям СНиП 2.02.01-33, кПа.

Если максимальные напряжения на контакте сооружения с каменной постелью действуют со стороны тыловой грани (как правило, в конструкциях из пустотелых массивов), то рекомендуется определять эпюру напряжения от "навала" стенки на грунт на основе модели линейновозрастающего с глубиной засыпки коэффициента постели расчетами по программам, реализующим метод конечных элементов ("LIRA", "PORT" либо другие).

7.42. Толщина каменной постели tп определяется из условия

.                                 (7.11)

Обозначения в формуле приняты в соответствии с п. 7.41. При отрицательной величине подкоренного выражения толщину постели следует принимать по конструктивным требованиям в соответствии с п. 7.6.

7.43. Расчет устойчивости гравитационных причальных сооружений из условия опрокидывания (поворота) вокруг переднего ребра вращения следует выполнять только в случае выхода равнодействующей от всех нагрузок за пределы ядра сечения, т.е. при несоблюдении условий (7.1) и (7.2), по формуле

,                                                     (7.12)

где glc, gc, gп - тоже, что в п. 4.3;

Мt, Мr соответственно расчетные моменты от опрокидывающих и от удерживающих сил относительно рассматриваемого ребра вращения, кН×л.

Примечание.

Для уголковых стенок с внешней анкеровкой устойчивости на опрокидывание не проверяется.

7.44. При расчете устойчивости гравитационных причальных сооружений на сдвиг по контакту сооружения (стенки) с каменной постелью должно быть выполнено условие

,                                                        (7.1.3)

где glc, gc, gп - тоже, что в п. 4.3;

fсдв. - сумма расчётных сдвигающих горизонтальных сил, действующих на сооружение, кН;

G - сумма расчетных вертикальных сил, действующих на подошву сооружения; для сооружения из пустотелых бетонных массивов

G=Gм+G31+G32+Gн+Eav,                                                (7.14)

где Gм - собственный вес столба массивов, кН;

G31 - то же, заполнителя, кН;

G32 - то же, засыпки в пределах консольного выступа, кН;

Gн - то же, надстройки и слоя засыпки под ней, кН;

Еav - вертикальная составляющая бокового давления грунта;

f - коэффициент трения подошвы сооружения по контакту с каменной постелью; допускается принимать равным 0,5. В обоснованных случаях следует уточнять величину f экспериментальным путем.

Примечание.

Временные нагрузки, улучшающие условия устойчивости, из расчета исключаются.

7.15. Устойчивость гравитационных причальных сооружений на сдвиг вместе с постелью следует определять:

а) для случая постели, заглубленной в грунт основания (черт. 7.3, а), скольжение по системе плоскостей МК, КЕ и ЕА - из условия

,                                     (7.15)

где glc, gc, gп - тоже, что в п. 4.3;

Fсдв. - то же, что в п. 7.44;

G1 - часть расчетного веса сооружения, передающая давление на грунт в плоскости подошвы застели на участке FK, определяемая по формуле

;                                    (7.16)

G2 - расчетный вес каменной постели в контуре ЕСДК, определяемый по формуле

G2=(b1+b0-0,5tп)tпgк;                                                    (7.17)

G3 - расчетный вес засыпки в контуре ВСЕ, равный

G3=0,5t2пg3;                                                              (7.18)

fr - коэффициент трения каменной постели по грунту основания, принимается равным tgjr. В обоснованных случаях следует уточнять значение экспериментальным путем;

Еp - удерживающая горизонтальная сила от грунта засыпки, определяемая по одной из формул:

сопротивление грунта засыпки в контуре ABE

                                                (7.19)

или пассивного давления грунта

.                                                    (7.20)

В расчет по формуле (7.15) вводится меньшее из полученных значений;

b1 и tп - то же, что в п. 7.41;

s'max и s'min - максимальные и минимальные краевые нормальные напряжения в грунте основания на контакте с каменной постелью соответственно с передней и тыловой сторон от собственного веса сооружения, включая вес грунта, вертикальную составляющую активного давления грунта и временных нагрузок, определяемые по формуле (7.10) при tпgк=0;

b0 - отрезок ширины постели, м;

gк и g3 - удельные веса соответственно каменной наброски и засыпки с учетом взвешивания, кН/м3;

m0 - заложение откоса котлована;

lр - коэффициент горизонтальной составляющей пассивного давления грунта, принимаемый в соответствии с п. 5.34;

Черт. 7.3. Эпюры краевых напряжений по контакту каменной постели и основания

а - при постели, заглубленной в грунт основания, б - при постели, расположенной на поверхности грунта основания.

б) для случая постели на поверхности грунта основания (черт. 7.3,б):

скольжение по плоскостям МК и КЕ - по формуле (7.15) при Gз=0 и Ер=0;

скольжение по наклонной плоскости ME - по формуле

,                                                       (7.21)

где Fп - сумма проекций на плоскость сдвига ЕМ расчетных сил, действующих выше этой плоскости, определяемая по формуле

Fп=(G+G1)sinj+Fсдв.cosj;                                                  (7.22)

Gп - сумма проекций расчетных сил, действующих выше плоскости сдвига ME, на нормаль к этой плоскости, определяемая по формуле

Gп=(G+Gн)соsj+Fсдв.sinj;                                                 (7.23)

fк - коэффициент внутреннего трения каменной наброски, который допускается принимать равным

tgjк=tg45°=1,0;

G и Fсдв. - то же, что в п. 7.44;

Gн - расчетный вес части постели в контуре ЕСМ, определяемый по формуле

Gн=0,5(b1+b0)tпgк;                                                                                         (7.24)

j - угол между подошвой стенки и плоскостью сдвига ME, град.

7.46. При расчете общей устойчивости гравитационных причальных сооружений по схеме глубинного сдвига в предположении скольжения по круглоцилиндрическим поверхностям следует руководствоваться разделом 6 настоящей Инструкции.

7.47. Расчет причальных сооружений из оболочек большого диаметра (п.п. 7.33 - 7.35) следует выполнять по указаниям Руководства по расчету морских гидротехнических сооружений из оболочек большого диаметра, по Методическим рекомендациям по расчету и проектированию причальных сооружений из оболочек большого диаметра и с учетом требований раздела 4 настоящей Инструкции.

Статический расчет оболочек большого диаметра должен учитывать условия работы конструкции сооружения в стадии эксплуатации и строительный период.

Расчет причальных сооружений из оболочек большого диаметра по первой группе предельных состояний следует выполнять для обеспечения прочности конструкции оболочки (стенок и узлов соединения), элементов верхнего строения, основания сооружения и устойчивости сооружения на сдвиг и опрокидывание.

Расчет по второй группе предельных состояний производится с целью ограничения деформаций сооружения - осадок, кренов, горизонтальных смещений, а также раскрытия трещин в железобетонных сечениях.

РАСЧЕТ ПРИЧАЛЬНЫХ СООРУЖЕНИЙ ИЗ МАССИВОВОЙ КЛАДКИ

7.48. Указания настоящего раздела распространяются на гравитационные причальные сооружения из правильной кладки бетонных монолитных массивов с перевязкой швов или столбами без перевязки швов и на причальные сооружения из столбовой кладки пустотелых бетонных массивов.

7.49. При расчете причальных сооружений из массивовой кладки следует рассматривать пять схем загружения территории (черт. 7.4,а):

I схема - временная нагрузка располагается за пределами стенки, начиная от тылового обреза разгрузочной платформы или разгрузочной консоли стенки из пустотелых массивов. При таком расположении нагрузки выполняются расчеты на устойчивость по схеме плоского сдвига по контакту стенки с постелью, совместно с постелью и по швам кладки, проверяется положение равнодействующей нагрузок (эксцентриситет) по подошве стенки и в швах кладки, а также в необходимых случаях - устойчивость на опрокидывание (на поворот вокруг переднего ребра);

II схема - временная нагрузка располагается над тыловой частью сооружения и распределяется на 1/3 ширины массива предпоследнего курса кладки.

Указанный случай является определяющим при проверке растягивающих нормальных напряжений со стороны акватории в шве основания верхнего курса массива;

III схема - временная нагрузка располагается над стенкой до линии кордона или линии возможного загружения по технологическим условиям. В указанном расчетном случае определяются максимальные нормальные контактные напряжения в каменной постели на контакте с основанием стенки и в грунте основания на контакте с каменной постелью. Кроме того, определяются толщина постели, а также усилия в лицевой стенке надстройки при расчете ее по прочности и раскрытию трещин;

IV схема - временная нагрузка располагается за пределами надстройки, над тыловой частью сооружения. Указанный расчетный случай является определяющим для расчета устойчивости надстройки;

V схема - по разделу 6 при расчете на общую устойчивость по круглоцилиндрическим поверхностям скольжения (сдвига) (черт. 7.5).

Черт. 7.4 Расчетные схемы загружения причала для конструкции из кладки массивов

а - для конструкции из обыкновенных массивов; б - то же, из пустотелых массивов; 1 - отметка кордона; 2 - линия кордона; 3 - колея портала; 4 - обратный фильтр; 5 каменная разгрузочная призма; 6 - каменная постель; 7 - отметка дна; I-IV - схемы загружения; а - величина, принимаемая по Нормам технологического проектирования морских портов

7.50. Предварительные размеры сооружений из массивовой кладки рекомендуется назначать:

ширину сооружения на контакте с постелью, равной 0,4-0,5 глубины у причала, причем большие значения принимать для конструкций из пустотелых массивов;

ширину консольного выступа пустотелого массива не более 0,4 его высоты.

Высота пустотелых массивов назначается из условия

,                                                            (7.25)

где b - ширина массива, м;

l - длина массива (наибольший размер массива в плане), м;

t - толщина стен, м;

h - высота массива, м;

Rbt1 и Rbt2 - расчетные сопротивления бетона на растяжение при бетоне соответственно класса В 10 и проектируемого класса бетона пустотелого массива, кПа.

Черт. 7.5. Схема расположения эксплуатационных нагрузок

7.51. Распорное давление на стенку из кладки массивов от собственного веса грунта и временных нагрузок определяется в соответствии с указаниями раздела 5 настоящей Инструкции с учетом трения материала засыпки по тыловой плоскости стенки (по плоскости восприятия распора). При этом следует иметь в виду, что:

а) угол трения d материала засыпки по грунту в пределах высоты надстройки принимается равным углу внутреннего трения материала засыпки jз;

б) угол трения d каменной наброски по тыловой поверхности бетонных массивов в пределах высоты разгрузочной призмы принимается равным 0,667jк (jк - угол внутреннего трения каменной наброски);

в) угол трения d материала засыпки по тыловой поверхности бетонных массивов принимается равным 0,667jз;

г) в стенке из пустотелых бетонных массивов расчетными плоскостями восприятия бокового давления грунта принимать условную вертикальную плоскость ab (черт. 7.4, б), проходящую через тыловую кромку консоли массива (в пределах верхних курсов массивов), наклонную грань консольного выступа сооружения и тыловую вертикальную грань cd нижних курсов массивов; при этом коэффициенты горизонтальной составляющей бокового давления грунта рекомендуется определять по формулам (5.10)-(5.14).

7.52. В пределах высоты надстройки при расчете ее на устойчивость угол наклона a плоскости восприятия распора в грунте засыпки и соответствующий ему угол обрушения b определяются в соответствии с указаниями п. 5.23.

Примечание.

При надстройках высотой до 3 м и временной нормативной нагрузке q£40 кПа плоскость восприятия распора вертикальна и угол обрушения b вычисляется при a=0 и Sb=0.

7.53. В пределах каменной разгрузочной призмы эпюра активного давления строится по указаниям п. 5.25. Ординаты Dpai дополнительного давления от пригрузки грунта рассчитываются по формуле (5.31).

В указанном случае ординаты Dpai равны:

в точке А

,                                              (7.26)

в точке Б

,                                   (7.27)

в точке А

,                                    (7.28)

в точке Б

,                         (7.29)

Здесь

,                                              (7.30)

,                                   (7.31)

lа и lак - коэффициенты активного давления соответственно грунта засыпки и камня разгрузочной призмы.

Остальные обозначения принимаются по черт. 7.6.

7.54. При расчете сооружения на устойчивость по основанию и швам кладки горизонтальную составляющую швартовного усилия, нормальную к линии кордона, следует переносить в основание надстройки, учитывая возникающий при этом момент от пары сил.

Силу и момент oт пары сил следует распределять равномерно по всей длине секции, учитывая, что на 1 м длины причала действуют

сила

,                                                          (7.32)

момент от пары сил

,                                                        (7.33)

Здесь Sq - поперечная горизонтальная составляющая швартовного усилия, определяемая по указаниям СНиП 2 06 04-82*, кН;

lс - длина секции, м;

zм - плечо пары сил, равное расстоянию, на которое переносится сила, м.

Черт. 7.6. Расчетная схема определения дополнительного давления при наличии каменной разгрузочной призмы

1 - отметка дна; 2 - отметка расчетного уровня воды; 3 - отметка кордона

7.55. При расчете устойчивости надстройки на сдвиг (скольжение) равнодействующая горизонтальных составляющих нагрузок определяется по формуле

,                                                   (7.34)

где Sп - продольная горизонтальная составляющая швартовного усилия, определяемая в соответствии с указаниями СНиП 2 06 04-82*, кН,

Еа - горизонтальная составляющая активного давления грунта с учетом временных нагрузок, кН.

7.56. Расчет устойчивости сооружения и отдельных его частей по швам кладки, определение толщины постели и контакты нормальных напряжений в основании и швах следует выполнять в соответствии с указаниями п.п. 7.39-7.45, 7.49, 7.51-7.55.

Примечания:

1. Коэффициент трения бетона по бетону допускается принимать для надводной части сооружения, равным 0,6 для подводной - 0,5.

2. Следует выполнять поверочный расчет сооружения по первой группе предельных состояний на устойчивость по схеме плоского сдвига при максимальном уровне воды.

3. При определении нормальных краевых напряжений в шве основания верхнего курса массивов швартовую нагрузку учитывать не следует.

4. Устойчивость сооружения из пустотелых бетонных массивов и отдельных его частей рекомендуется проверять для одного столба кладки массивов.

При расчетах на плоский сдвиг сооружения допускается при определении удерживающих сил трения принимать коэффициент трения равный 0,5 для бетона по постели и бетона по бетону.

5. При расчете устойчивости на сдвиг по швам кладки пустотелых массивов необходимо отдельно учитывать силы трения бетона и заполнения полости массива верхнего курса по бетону и заполнению полости массивов нижнего курса соответственно, определяя величину и распределение вертикального давления, нормальную и касательную составляющие бокового давления от заполнителя внутренней полости массивов аналогично давлению в силосах в соответствии с п.п. 5.29 - 5.31.

7.57. При расчете несущей способности и прочности консольного свеса верхнего курса массивов рекомендуется принимать плечо консоли bк=bс+0,33b (b - ширина нижележащего опорного массива, черт. 7.7). Прочность консольного свеса массива должна рассчитываться по ослабленному ключевыми отверстиями сечению с учетом распорного давления от собственного веса грунта.

При расчете консольного свеса на изгиб сила распорного давления принимается приложенной с эксцентриситетом в соответствии с трапецеидальной эпюрой распора. Расчет выполняется на внецентренное сжатие с относительно малым эксцентриситетом в соответствии с указаниями СНиП 2.06.08-87 и п.п. 4.3 и 4.8 настоящей Инструкции.

7.58. Расчет лицевой плиты железобетонной надстройки на прочность и трещиностойкость следует выполнять в соответствии с указаниями СНиП 2.06.08-87 и п.п. 4.3 и 4.8 настоящей Инструкции.

При расчете прочности монтажных устройств массивов нагрузку от собственного веса следует вводить в расчет с коэффициентом динамичности 1,4 в соответствии с указаниями СНиП 2.03.01-84.

Черт. 7.7. Схема расчета прочности консольного свеса массива

1 - отметка кордона; 2 - консольный свес; 3 - расчетный уровень воды

РАСЧЕТ УГОЛКОВЫХ ПРИЧАЛЬНЫХ СООРУЖЕНИЙ КОНТРФОРСНОГО ТИПА

7.59. Причальные сооружения контрфорсного типа рассчитываются при двух схемах загружения территории причала (черт. 7.8):

I схема - временная нагрузка располагается над сооружением от линии кордона или линии возможного загружения по технологическим условиям. При таком расположении нагрузки рассчитываются контактные напряжения в постели и грунте основания, толщина постели а также усилия для расчета прочности и трещиностойкости элементов конструкций;

II схема - временная нагрузка располагается за сооружением. В этом случае проверяется устойчивость сооружения на плоский сдвиг по постели и вместе с постелью;

III схема - в соответствии с указаниями п. 6.19.

7.60. Активное давление грунта с учетом временных нагрузок, расположенных на территории причала, определяется в соответствии с указаниями раздела 5 настоящей Инструкции.

Черт. 7.8. Расчетные схемы загружения причала для конструкции контрфорсного типа

1 - отметка кордона; 2 - плоскость восприятия распора; 3 - плоскость обрушения; 4 - отметка дна; I, II, III - схемы загружения

При этом угол трения d материала засыпки по расчетной тыловой плоскости стенки принимается равным:

0,667j - по железобетонной тыловой поверхности лицевой плиты или тыловой поверхности контрфорса;

j - по условной наклонной тыловой плоскости стенки, в грунте засыпки (по плоскости восприятия распорного давления).

7.61. Горизонтальную составляющую швартовного усилия Sq следует распределять по длине вдоль линии кордона, равной сумме длин панелей, омоноличенных с тумбовым массивом.

7.62. Расчеты уголковых стенок контрфорсного типа на плоский сдвиг, а также определение нормальных контактных напряжений и толщины постели выполняются по указаниям п.п. 7.39-7.45; 7.59-7.61.

7.63. При расчете лицевой плиты в горизонтальном направлении расчетной плоскостью восприятия распора является ее тыловая поверхность. При определении распора засыпки на плиту следует учитывать разгружающее влияние боковых поверхностей контрфорсов в результате трения о них призмы обрушения, поэтому расчетную эпюру активного давления следует определять как разность эпюры активного давления, построенной по указаниям раздела 5 и п. 7.30, и эпюры трения грунта о контрфорсы, принимаемой треугольной формы с вершиной у верха конструкции.

При расстоянии между контрфорсами 4 м основание эпюры трения принимается равным 0,2 нижней ординаты эпюры активного давления, при расстоянии между контрфорсами 2м - 0,3 нижней ординаты эпюры активного давления.

Расчет лицевой стенки при одном контрфорсе выполняется по схеме консольной балки, при двух контрфорсах - по схеме однопролетной балки с консолями. По высоте сооружения рекомендуется выделять сечения лицевой плиты шириной 1м с равномерной нагрузкой, равной средней интенсивности по расчетной эпюре распора для выделенного сечения.

7.64. Лицевая плита контрфорсной стенки в вертикальном направлении рассчитывается по схеме тавровой консольной балки на нагрузку от горизонтальной составляющей швартовного усилия, перпендикулярной кордону, учитывая указания п. 7.61, и на нагрузку от распора с учетом указаний п. 7.60. Сбор нагрузок на контрфорс производится с ширины, равной сумме прилегающих полупролетов.

7.65. Фундаментная плита рассчитывается с учетом неполноты контакта поверхности плиты с постелью на суммарную нагрузку от реактивного давления постели снизу а (нормальные контактные напряжения) и от пригрузки сверху от собственного веса конструкции и грунта засыпки, а также временных нагрузок.

Неполнота контакта компенсируется увеличением реактивных контактных напряжений от постели за счет условного исключения из расчета части площади фундаментной плиты (черт. 7.9 и черт. 7.10), равной 0,5lbbb,

где bb - ширина переднего выступа плиты, м;

lb - длина фундаментной плиты вдоль кордона, м.

При этом краевые контактные напряжения определяются по формуле

,                                                   (7.35)

где G - вертикальная составляющая равнодействующей всех нагрузок действующих по ширине b, кН;

А - площадь плиты в контуре А В С Д Е F (черт. 7.9), по которой осуществляется контакт с постелью, м2;

Мx и My - моменты от вертикальной составляющей равнодействующей всех нагрузок относительно соответствующих осей, проходящих через центр тяжести сечения контакта фундаментной плиты с постелью в контуре А В С Д Е F, определяемые по формулам:

Мx=Gy0,                                                                (7.36)

My=Gx0,                                                                (7.37)

где Мx и My - моменты сопротивления площади подошвы фундаментной плиты в контуре А В С Д Е F относительно соответствующих осей, определяемые по формулам:

Мx=Jx/yк,                                                               (7.38)

My=Jy/xк,                                                              (7.39)

где Jx и Jy - моменты инерции площади подошвы фундаментной плиты в контуре А В С Д Е F относительно соответствующих осей, м4;

хк и ук - расстояния от края фундаментной плиты, в которой определяется контактное напряжение, до соответствующих осей, м. При проведении статических расчетов фундаментной плиты (черт. 7.10) передний выступ следует рассчитывать в направлении, перпендикулярном линии кордона, по схеме консольной балки.

Расчет тыловой части фундаментной плиты в направлении, параллельном линии кордона, при одном контрфорсе производится по схеме консольной балки, а при двух контрфорсах - по схеме однопролетной балки (балки на двух опорах) с консолями.

При этом следует выделять сечения плиты шириной 1 м и загружать нагрузкой средней интенсивности суммарной эпюры давления (черт. 7.10, б, и, г).

Черт. 7.9. Схема расчета фундаментной плиты с учетом неполноты контакта с основанием

0 - центр тяжести площади контакта плиты с постелью; 01 - центр тяжести основания фундаментной плиты; 02 - точка приложения силы

Черт. 7.10. Схемы расчета фундаментной плиты сборной уголковой контрфорсной стенки

а - план сборного блока контрфорсной стенки; б - результирующая эпюра нагрузок на фундаментальную плиту; в - схема работы переднего выступа фундаментной плиты; г - схема работы тыловой консоли фундаментной плиты; 1 - передний выступ фундаментной плиты; 2 - лицевая плита; 3 - контрфорс; 4 - тыловая консоль фундаментной плиты

7.66. Расчеты лицевой плиты, контрфорса и фундаментной плиты на прочность и трещиностойкость следует выполнять в соответствии с указаниями СНиП 2.06.08-87, СНиП 2.03.01-84.

7.67. Для фундаментной плиты следует принимать двойное армирование, так как она рассчитывается по двузначной эпюре давления (черт. 7.10, б).

РАСЧЕТ ПРИЧАЛЬНЫХ СООРУЖЕНИЙ УГОЛКОВОГО ТИПА С ВНЕШНЕЙ АНКЕРОВКОЙ

7.68. Причальные сооружения уголкового типа с внешней анкеровкой рассчитываются при четырех схемах загружения территории причала (черт. 7.11):

I схема - временная нагрузка располагается над сооружением до линии кордона или линии возможного загружения по технологическим условиям. При таком расположении нагрузки определяются усилия для расчета лицевой плиты и анкерной тяги, положение равнодействующей нагрузок в основании, контактные напряжения в постели и грунте основания, толщина постели;

II схема - временная нагрузка располагается за сооружением. В этом случае проверяется его устойчивость на плоский сдвиг по постели и вместе с постелью;

III схема - временная нагрузка располагается за анкерной плитой. При таком положении нагрузки рассчитываются анкерные устройства;

IV схема - в соответствии с указаниями п. 6.19.

7.69. При определении нагрузок и воздействий, а также их сочетаний при расчете причальных сооружений уголкового типа с внешней анкеровкой необходимо учитывать следующее положение:

нагрузки от судов со стороны акватории (динамический навал при подходе судна и статический навал пришвартованного судна) в основную расчетную схему не вводятся, а учитываются в расчете прочности надстройки, ее связей с элементами причального сооружения отбойной амортизирующей системы и узлов ее крепления.

Черт. 7.11. Расчетные схемы загружения причала для конструкции уголкового типа с внешней анкеровкой

1 - отметка кордона; 2 - плоскость восприятия распора; 3 - плоскость обрушения; 4 отметка дна; I-IV - схемы нагружения

7.70. Активное давление грунта с учетом временных нагрузок, расположенных на территории причала, определяется в соответствии с указаниями раздела 5 и п. 7.60.

7.71. Горизонтальная составляющая швартовного усилия определяется в соответствии с указаниями п. 7.61.

7.72. Устойчивость уголковых стенок с внешней анкеровкой по схеме плоского сдвига, а также нормальные контактные напряжения и толщина каменной постели рассчитываются в соответствии с требованиями п.п. 7.37; 7.39-7.42; 7.44; 7.45, 7.60; 7.61 с учетом следующих дополнительных указаний:

при определении положения равнодействующей нагрузок по формуле (7.3) удерживающий момент М определяется по формуле

Мr=МG+МRa,                                                       (7.40)

где МG - момент от вертикальных сил, кН×м;

МRa - момент от горизонтальной составляющей усилия в анкере относительно переднего ребра вращения, кН×м.

При определении устойчивости сооружения на плоский сдвиг формулы (7.13), (7.15), (7.22) и (7.23) с учетом действия горизонтальной составляющей анкерного усилия Ra, приобретают соответственно вид:

;                                              (7.41)

;                               (7.42)

;                                  (7.43)

.                                 (7.44)

7.73. Лицевая плита рассчитывается в двух направлениях как балка на двух опорах с консолями на загрузку от активного давления собственного веса грунта с учетом временных нагрузок. В вертикальном направлении опорами служат анкер и упор на пороге фундаментной плиты, в горизонтальном - ребра плит.

При расчете плиты в вертикальном направлении в качестве расчетной плоскости следует принимать условную плоскость восприятия распора, положение которого определяется расстоянием cпл от тыловой грани ребра (черт. 7.12)

,                                                   (7.45)

где j3 - средневзвешенный угол внутреннего трения грунта засыпки, град;

ар - расстояние между осями ребер, м;

tp - толщина ребра, м,

bа - ширина ребра, м.

Черт. 7.12. Схема определения расчетной плоскости

При расчете плиты в вертикальном направлении горизонтальную составляющую швартовного усилия, нормальную к линии кордона, следует учитывать при определении усилий в наданкерной консоли и не учитывать при определении изгибающего момента в пролете.

В связи с перераспределением давления грунта на стенку в результате ее деформации и перемещения, величину изгибающего момента в пролете лицевой панели допускается уменьшать на 10%.

При расчете плиты в горизонтальном направлении рекомендуется по высоте сооружения в соответствии с эпюрой распора выделять характерные расчетные сечения шириной 1 м и принимать для горизонтальных балок равномерную нагрузку, равную средней интенсивности эпюры распора для выделенного сечения.

7.74. Для определения изгибающего момента в фундаментной плите рекомендуется метод, основанный на использовании эквивалентного массива с кладкой из обыкновенных бетонных массивов. В качестве эквивалентного принимается массив из бетона класса В 10. При этом соотношения наибольшего размера bф массива в плане к его высоте hм принимается равным 4:1.

Изгибающий момент, действующий на 1 м сечения фундаментной плиты,

,                                                 (7.46)

где mэ - коэффициент, принимаемый равным 0,45;

glc, gc, gп - то же, что в п. 4.3;

gh - коэффициент, учитывающий влияние на прочность изгибаемого элемента градиента деформаций по сечению и зависящий от класса бетона и высоты растянутой зоны сечения, принимаемый равным 2 в соответствии с указаниями СНиП 2.06.08-87;

gsh - коэффициент, учитывающий влияние на прочность изгибаемого элемента формы его поперечного сечения и зависящий от соотношения размеров сечения, принимаемый равным 1 в соответствии с указаниями СНиП 2.06.08-87;

gb - коэффициент условий работы бетона, принимаемый равным 0,9 в соответствии с указаниями СНиП 2.06.08-87;

Rbtn - нормативное значение осевого растяжения бетона, принимаемое по указаниям СНиП 2.03.01-84;

Wt - момент сопротивления для растянутой грани сечения, определяемый в предположении упругой работы бетона,

;                                                        (7.47)

ам - размер массива вдоль причала, равный 1 м;

hм=bф/4 - высота эквивалентного массива, м;

bф - ширина фундаментной плиты, м.

7.75. Армирование нижней и верхней зон фундаментной плиты в двух направлениях производится по изгибающим моментам, определенным по формуле (7.46) с учетом указаний п. 4.8.

7.76. Анкерная реакция на 1 м плиты определяется как опорная реакция из расчета лицевой плиты в вертикальном направлении с учетом указаний пп. 7.64 и 7.68.

7.77. Расчет элементов железобетонных конструкций на прочность и трещиностойкость лицевой и фундаментной панелей выполняется в соответствии с указаниями СНиП 2.06.08-87 и СНиП 2.03.01-84.

7.76. Расчет анкерных устройств и деталей их крепления на устойчивость следует выполнять в соответствии с указаниями раздела 8 настоящей Инструкции, по прочности - по требованиям СНиП II-23-81*, СНиП 2.06.08-87, СНиП 2.03.01-84 и п.п. 4.3-4.7 настоящей Инструкции.

7.79. Расстояние между лицевой стенкой и тыловой анкерной опорой длину анкера допускается определять по формуле

lа=bф+hсtg(45°-0,5j1)+апtg(45°+0,5j1),                                    (7.48)

где hс - высота стенки сооружения м;

ап - расстояние от поверхности территории до подошвы анкерной плиты или до точки, отстоящей на 2Dd вверх от подошвы анкерной стенки (Dd - дополнительная глубина на защемление), м.

Длина анкера lа определяется по программе BOMAIN.

8. ПРОЕКТИРОВАНИЕ ПРИЧАЛЬНЫХ СООРУЖЕНИЙ ТИПА БОЛЬВЕРК

8.1. Настоящие указания распространяются на проектирование безанкерных, заанкеренных обычных и экранированных больверков с анкеровкой на одном уровне (черт. 8.1).

ОСНОВНЫЕ КОНСТРУКТИВНЫЕ ТРЕБОВАНИЯ

8.2. Конструкция и компоновка элементов больверка должны обеспечивать наиболее полное использование их несущей способности и наиболее благоприятное распределение усилий и деформаций между элементами.

8.3. В качестве элементов лицевых и экранирующих стенок больверка следует применять любые профили стального, железобетонного шпунта или свай, сваи-оболочки, стальные трубы, сварные объемные конструкции и т.д., отвечающие требованиям долговечности и надежности для рассматриваемых условий работы сооружения.

В экранирующих стенках рекомендуется применять однотипные элементы повышенной жесткости.

8.4. При проектировании лицевых стенок больверков из свай и труб особое внимание следует обращать на обеспечение ее грунтонепроницаемости по всей высоте стенки и на 1,5 м ниже отметки проектного дна.

8.5. Для снятия гидростатического давления за стенкой должны быть предусмотрены дренажные выпуски, расположенные ниже расчетного уровня воды у сооружения.

8.6. Лицевые стенки должны быть поверху связаны надстройкой из сборно-монолитного или монолитного железобетона.

Для больверков из стального шпунта в тех случаях, когда это приемлемо по условиям расположения отбойных устройств и защиты металла от коррозии, допускается устройство небольшого железобетонного или стального оголовка (шапочного бруса).

8.7. Отметку низа железобетонных надстроек следует назначать исходя из необходимости защиты шпунта от агрессивного воздействия в зоне переменного уровня воды.

В районах с повышенной агрессивностью воды или возможных значительных ледовых нагрузок, отметка низа надстройки должна находиться не менее чем на 0,2 м ниже расчетного уровня.

При строительстве сооружений в районе пониженных агрессивных воздействий, где обеспечивается длительная сохранность шпунта, отметку низа надстройки следует принимать из условия создания опорной плоскости для отбойных устройств и возможности производства работ по возведению надстройки насухо.

При строительстве сооружений на морях с большой амплитудой приливно-отливных колебаний, где опускание низа надстройки под расчетный уровень представляет большие затруднения, вопрос о принятии отметки низа надстройки решается с учетом накопленного опыта эксплуатации сооружений в местных и аналогичных условиях.

8.8. Температурно-деформационные швы в железобетонной надстройке и оголовках лицевой стенки следует располагать с шагом не более 40 м, а также в местах резкого изменения грунтовых условий, которые могут вызвать разницу в величинах смещений отдельных частей сооружения.

Черт. 8.1

Температурно-деформационные швы в железобетонной надстройке больверков из стального шпунта рекомендуется выполнять в местах замковых соединений, где могут быть реализованы горизонтальные и вертикальные деформации.

8.9. В качестве анкерных опор следует использовать железобетонные плиты, сваи, шпунты, сваи-оболочки, стальные трубы и другие прокатные профили, а также сварные и составные объемные конструкции.

8.10. При проектировании больверков с многорядным экранированием увеличение количества рядов экранирующих элементов сверх двух целесообразно только в случаях, когда экранирующие элементы используются в качестве опор крановых путей или технологического оборудования.

8.11. При компоновке больверков следует учитывать, что эффект экранирования увеличивается при увеличении доли жесткости экранирующих стенок в системе.

Наибольшая эффективность больверков реализуется при защемлении лицевых и экранирующих стенок, что обеспечивается оптимальным соотношением глубины погружения, расстояния между стенками и податливости анкеровки, достигаемым при рассмотрении и расчете нескольких вариантов компоновки больверков.

8.12. Расстояние между лицевой и экранирующей стенками больверка, а также между экранирующими стенками следует принимать исходя из несущей способности элементов стенок и оптимального напряженного состояния всей системы и по возможности равными. Рекомендуется устанавливать их в пределах 0,15-0,30h (h - высота стенки).

8.13. Экранирующие стенки больверка должны выполняться в виде сплошного ряда или из элементов, погруженных вразрядку. Расстояние между элементами стенки в свету не должно превышать расстояния до впереди стоящей стенки.

8.14. Разгрузочная платформа должна перекрывать пространство между лицевой и экранирующими стенками и свободно упираться в лицевую стенку больверка.

Отметку низа разгрузочной платформы рекомендуется располагать не выше 0,7 м над уровнем анкерной тяги.

Железобетонная платформа может выполняться сборной или монолитной и размещаться симметрично относительно осей экранирующих стенок больверка.

При многорядном экранировании допускается как монолитная платформа по всему поперечному сечению, так и с осадочным швом в середине пролета между стенками.

8.15. Анкеровку следует осуществлять за распределительный пояс лицевой стенки, а в случае применения крупноразмерных элементов повышенной жесткости за каждый элемент.

При конструировании узла крепления анкерной тяги к стенкам рекомендуется предусматривать возможность свободного поворота анкерной тяги на 5-10° от нормали к лицевой или экранирующей стенке больверка.

Для уменьшения неравномерности загружения анкерных тяг, а также доведения их деформацией до величины, обеспечивающей нормальный режим работы стенок, рекомендуется включать в тяги специальные муфты и устройства.

8.16. Стальные анкерные тяги должны иметь антикоррозийную защиту. В качестве защиты могут быть применены битумные, эпоксидные и эпоксидно-каменноугольные эмали, герметики и ленточные материалы в соответствии с требованиями СНиП 3.07.02-87.

Узлы крепления и соединения анкерных тяг рекомендуется заливать битумно-резиновой эмалью.

8.17. Для монтажа анкерных тяг рекомендуется предусматривать устройство временных поддерживающих конструкций на период производства работ, удаляемых после обтяжки анкеров.

8.18. Анкеровка экранированных больверков может выполняться по двум схемам:

за лицевую стенку с упором экранирующих стенок в лицевую через разгрузочную платформу;

за экранирующую стенку с дополнительной анкеровкой лицевой стенки за экранирующую.

Вторую схему рекомендуется применять при экранирующих стенках большой жесткости.

При анкеровке по первой схеме для обеспечения совместной работы стенок в процессе засыпки следует устанавливать между стенками специальные распорки.

8.19. Разрезку распределительного пояса следует принимать в соответствии с разрезкой надстроек согласно п. 8.11, т е. не более чем через 40м.

В пределах секции балки необходимо соединять сварными равнопрочными швами или сваркой с накладками.

Допускается устанавливать балки распределительного пояса с открытыми стыковыми швами, принимая расчетные схемы балки в соответствии с их конкретной разрезкой.

8.20. При разработке технологии строительства больверков следует порядок выполнения операции увязывать с возможностью создания в элементах конструкции наиболее благоприятного напряженного состояния за счет искусственного регулирования смещения анкерного узла.

8.21. При проектировании больверков из сборного железобетона следует учитывать конструктивные требования СНиП 2.03.01-84, СНиП 2.06.08-87.

8.22. При проектировании больверков с применением стальных конструкций, узлов и деталей следует учитывать конструктивные требования СНиП II-23-81*.

ОСНОВНЫЕ ПОЛОЖЕНИЯ РАСЧЕТА

8.23. Расчет больверков следует выполнять по предельным состояниям в соответствии с требованиями раздела 4 настоящей Инструкции.

Нагрузки и их сочетания следует принимать в соответствии с требованиями раздела 5 настоящей Инструкции.

8.24. При определении нагрузок и их сочетаний для расчета больверков необходимо учитывать следующие положения:

нагрузки от фильтрационного и волнового давления воды суммируются с нагрузками, воздействиями на лицевую стенку больверка;

нагрузки от судов со стороны акватории, а также ледовые нагрузки учитываются в расчет прочности стенок больверка, надстройки, ее связей с элементами больверка, отбойных устройств и их креплений.

8.25. Расчет больверков следует выполнять с учетом перемещений и деформаций элементов.

Расчет включает задание исходных геометрических, жесткостных и силовых параметров, определение глубины погружения элементов стенок больверка, статический расчет лицевой и экранирующих стенок больверка, анкерных устройств, расчет конструктивных элементов больверка.

8.26. Расчет стенок больверка, анкерных стенок и плит следует выполнять с учетом трения грунта о стенку.

Угол трения материала засыпки и грунта основания по расчетной плоскости стенки в призме распора принимается равным 0,667j, но не более 30°.

Угол трения грунта по расчетной плоскости в призме выпора принимается для лицевой и экранирующие стенок больверка, а также анкерных стенок и плит равным j, но не более 30°.

При замене грунта в основании лицевой стенки больверка угол трения материала засыпки по расчетной плоскости в призме выпора следует принимать равным 0,33j.

8.27. За расчетную плоскость лицевой стенки больверка следует принимать:

для стенок из стального шпунта корытного и зетового профилей плоскость, проводящую через ось стенки;

для стенок из стального шпунта двутаврового профиля и плоского (призматического) железобетонного шпунта - плоскость, проходящую по тыловой полке или грани;

для стенок кольцевых сечений - плоскость, проходящую на расстоянии 0,25 диаметра от оси стенки в сторону засыпки.

8.28. За расчетную плоскость экранирующей стенки больверка из элементов, расположенных вразрядку, при наличии одной экранирующей стенки следует принимать плоскость, расположенную на расстоянии Dа от ее передней грани.

Для элементов круглого сечения величина Dа определяется по формуле

,                                            (8.1)

где аэ - расстояние между элементами экранирующей стенки в осях, м;

dэ - диаметр элемента экранирующей стенки, м;

jred - средневзвешенное значение угла внутреннего трения в пределах высоты экранирующей стенки, град.

Дня квадратных и прямоугольных элементов величина Dа определяется по формуле

,                                                           (8.2)

где b3 - ширина элемента экранирующей стенки по длине сооружения, м.

При одной экранирующей стенке, забитой сплошным рядом, расчетная плоскость определяется аналогично лицевой стенке (п. 8.27) в зависимости от стороны, относительно которой рассматривается боковое давление грунта.

При наличии двух и более экранирующих стенок их расчетные плоскости принимаются по нейтральной оси сечения элементов.

8.29. При статическом расчете стенок больверка из железобетонных элементов следует вводить начальную жесткость, равную для трещиностойких элементов Вi, а для нетрещиностойких элементов 0,7Вi.

8.30. При наличии в основании больверков слабых глинистых грунтов и илов необходимо учитывать состояние, в котором они находятся к моменту загружения больверка (нестабилизированное, частично консолидированное, стабилизированное).

При этом следует рассматривать условия залегания указанных грунтов, методы производства работ и темпы возведения, период времени от засыпки пазухи до начала эксплуатации и загрузки сооружения. Следует учитывать, что ускоренные темпы засыпки и загрузки могут вызвать в рассматриваемом грунте проявление полного порового давления.

Учитывая опыт проектирования и строительства, допускается при определении бокового давления грунта на стенки больверков принимать сдвиговые показатели j и с по инженерно-геологическим отчетам для нестабилизированного состояния грунта.

При частичной замене в основании сооружения слабых глинистых грунтов и илов и при отсыпке по их поверхности фильтрующего слоя грунта, а также в случае естественного залегания слабого глинистого грунта в примыкании к фильтрующему слою необходимо проводить расчет во времени под нагрузкой частичной консолидации грунта к моменту начала эксплуатации сооружения.

8.31. Минимально допустимую глубину погружения элементов стенок больверка следует определять расчетом устойчивости по глубинному сдвигу в предположении круглоцилиндрических или плоских (ломаных) поверхностей скольжения в соответствии с требованиями раздела 6 настоящей Инструкции.

8.32. Лицевую стенку безанкерного больверка следует рассчитывать как консольную балку на действие активного давления от веса грунта и эксплуатационных нагрузок на территории причала.

За расчетную схему принимается балка шириной 1 м по фронту причала жесткостью Вл, находящаяся ниже уровня дна в упругом основании, характеризуемом коэффициентом постели, линейно возрастающим с глубиной.

Коэффициент постели определяется по п. 5.42.

Примечание.

В случаях, когда в верхнем слое ниже уровня дна залегают слабые илистые грунты мощностью более 0,3 глубины погружения элементов стенки больверка, коэффициент пропорциональности для определения коэффициента постели следует принимать по верхнему слою.

8.33. Расчетная глубина погружения элементов лицевой стенки безанкерного больверка принимается не менее наибольшей из полученных расчетом по программе BOMAJN (из уравнения равновесия моментов сил от активного и пассивного давления грунта относительно низа стенки) и расчетом устойчивости (п. 8.31).

8.34. Лицевую стенку заанкеренного больверка следует рассчитывать как статически неопределимую балку на действие активного давления от веса грунта и эксплуатационных нагрузок на территории причала.

За расчетную схему принимается балка шириной 1 м по фронту причала жесткостью Вл, опертая в точке крепления анкера на упругоподатливую опору и размещенная ниже уровня дна в упругом основании, характеризуемом коэффициентом постели (п. 8.32).

8.35. При определении активного давления грунта на лицевую стенку экранированного больверка необходимо определять его на наданкерную и пролетную части отдельно.

На наданкерную часть воздействует давление от веса грунта засыпки, расположенного над разгрузочной платформой, и эксплуатационных нагрузок на территории причала.

На пролетную часть воздействует силосное давление грунта между стенками и дополнительное давление, определяемое с учетом коэффициента распределения давления грунта в системе, учитывающего жесткостные характеристики стенок больверка.

Дополнительное давление грунта определяется суммированием давления от веса грунта за экранирующими стенками, передаваемого на лицевую стенку больверка по законам распределения напряжений в линейно деформируемой среде, и эксплуатационных нагрузок на территории причала, расположенных за разгрузочной платформой (включая вес грунта наданкерной части).

8.36. Лицевую стенку экранированного больверка следует рассчитывать аналогично лицевой стенке заанкеренного больверка (п. 8.34).

8.37. Глубину погружения элементов лицевой стенки больверка, полученную расчетом устойчивости (п. 8.31), необходимо уточнить из условия устойчивости на поворот вокруг точки крепления анкера по программе BOMAJN при действии активного и пассивного давления грунта.

Расчетная глубина погружения элементов лицевой стенки больверка принимается не менее наибольшей из полученных расчетом.

8.38. Экранирующие стенки больверка следует рассчитывать на действие активного давления от веса грунта (п.п. 8.39, 8.40) и эксплуатационных нагрузок на территории причала, расположенных за разгрузочной платформой (включая вес фунта наданкерной части), с учетом коэффициентов распределения давления грунта в системе.

8.39. Активное давление от веса грунта для больверка с одной экранирующей стенкой определяется разностью давления от веса грунта, расположенного ниже отметки уровня анкеров, и силосного давления грунта между стенками.

8.40. Активное давление от веса грунта для больверка с двумя экранирующими стенками определяется:

для первой экранирующей стенки разностью давлений между стенками с учетом дополнительного давления от веса грунта за второй экранирующей стенкой, передаваемого на экранирующую стенку по законам распределения напряжений в линейно деформируемой среде;

для второй экранирующей стенки аналогично активному давлению, определяемому по п. 8.39.

8.41. Экранирующую стенку больверка следует рассчитывать как статически неопределимую балку.

За расчетную схему экранирующей стенки больверка принимается балка шириной 1 м по фронту причала жесткостью Вэ,i опертая в точке крепления анкера на упругоподатливую опору и размещенная ниже уровня условной свободной поверхности (уровень УСП) в упругом основании, характеризуемом коэффициентом постели.

Положение уровня УСП определяется от точки крепления анкера величиной hэ,i (черт. 8.2), рассчитываемой по формуле

hэ,i=1,5(lл-аitgji)-0,5(hл+dmin),                                                 (8.3)

где lл - условный пролет лицевой стенки больверка, м, определяемый по формуле (8.4);

аi - расстояние от расчетной плоскости лицевой стенки больверка до расчетной плоскости соответствующей экранирующей стенки, м;

ji - угол внутреннего трения грунта в слое, расположенном на расстоянии lл от уровня крепления анкера, град;

hл - высота от уровня крепления анкера до дна, м;

dmin - минимально допустимая глубина погружения элементов экранирующей стенки больверка, м. (см. п. 8.31)

Условный пролет лицевой стенки больверка рекомендуется определять по формуле

lл=hл+0,67 dл,                                                          (8.4)

где dл - глубина погружения лицевой стенки больверка, м.

Черт. 8.2. Схема к определению положения уровня УСП.

8.42. Перемещение лицевой стенки больверка на уровне крепления анкера следует определять по формуле

                                                      (8.5)

где la - длина анкера (расстояние от расчетной плоскости лицевой стенки больверка до анкерной опоры), м, определяемая по п. 8.54;

Ry - расчетное сопротивление материала анкера, кПа, принимаемое по СНиП II-23-81*;

Еа- модуль упругости материала анкера, кПа;

U - перемещение анкерной опоры, м, определяемое расчетом по программе BOMAJN.

В случаях, когда лицевая стенка анкеруется за экранирующую, а экранирующая за анкерную опору, при определении перемещения экранирующей стенки длина анкера la принимается равной расстоянию от расчетной плоскости экранирующей стенки до анкерной опоры.

Примечания:

1. Для оптимального распределения усилий в элементах больверка рекомендуется варьировать, величиной перемещения стенок больверка на уровне крепления анкера, которая обеспечивается либо технологией строительства, либо конструктивными устройствами.

2. Горизонтальное перемещение козловой опоры на уровне крепления анкера принимается равным нулю.

8.43. Статический расчет лицевой и экранирующей стенок больверка рекомендуется выполнять по программе BOMAJN или PORT.

При учете нагрузок от фильтрационного и волнового давлений воды статический расчет лицевой стенки больверка по программе ВOMAJN следует выполнять на заданную нагрузку.

Примечание.

Допускается для приближенных расчетов больверка использовать метод Блюма-Ломейера или Якоби.

8.44. Статический расчет лицевой стенки заанкеренного больверка (в т.ч. экранированного) при учете нагрузок от фильтрационного и волнового давлений воды следует проводить в два этапа:

на первом этапе расчет проводится на действие активного давления от веса грунта и эксплуатационных нагрузок на территории причала;

на втором - с дополнительной нагрузкой от фильтрационного и волнового давлений воды.

Расчетный максимальный изгибающий момент Мл в элементе лицевой стенки больверка определяется по формуле

Мл=Мmax+(М2-М1)(вл+ал)                                                   (8.6)

где Mmax - максимальный изгибающий момент в элементе лицевой стенки больверка, кНм, полученной на первом этапе расчета;

M2, M1 - максимальный изгибающий момент (на 1 м стенки по длине сооружения), кН×м/м, полученный соответственно от фильтрационного и волнового давления;

вл - ширина элемента по длине сооружения, м;

ал - расстояние (проектный зазор) между элементами, м.

Расчетная анкерная реакция на 1 м стенки по длине сооружения определяется статическим расчетом на втором этапе.

Примечание.

Для металлического шпунта расчет максимального изгибающего момента ведется на 1 м по длине стенки.

8.45. Расчет стенок больверка на нагрузки от навала судна при подходе к сооружению следует проводить в соответствии с требованиями обязательного приложения 6, от ледовых нагрузок - раздела 12 настоящей Инструкции.

Усилия (изгибающие моменты) в элементах стенок больверка от навала судна и ледовых нагрузок суммируются с усилиями, полученными статическим расчетом по п.8.43.

8.46. Анкерные стенки и плиты следует рассчитывать; при определении устойчивости (высоты) на суммарную нагрузку от активного и пассивного давлений грунта с учетом эксплуатационных нагрузок на территории причала за анкерной опорой и анкерного усилия Rа;

при определении прочности на реактивное давление грунта перед опорой, вызванное действием анкерного усилия Rg;

на усилия от швартовных воздействий, определяемых по п. 8.47.

Величина анкерного усилия Rg на 1 м стенки по длине сооружения равна расчетной анкерной реакции, полученной статическим расчетом по п. 8.43 с учетом коэффициента Ка учитывающего перераспределение эпюры активного давления грунта, неравномерность натяжения анкеров, зависание грунта на анкерах.

Коэффициент Ка принимается равным 1,5.

Примечания:

1. В первом приближении величина анкерного усилия Rа принимается по аналогам.

2. Усилия от швартовных воздействий учитываются только при расчетах стенок тумбовых массивов.

8.47. Усилие от расчетной швартовной нагрузки с учетом высоты ее приложения по отношению к уровню крепления анкера определяется по формуле

                                                         (8.7)

где Sg - поперечная проекция расчетной швартовном нагрузки, кН, определяемая в соответствии с требованиями СНиП 2.06.04-82;

lТ - длина тумбового массива, м;

hs - высота от уровня крепления анкера по линии приложения нагрузки Sg, м;

lл - условный пролет лицевой стенки больверка, м, определяемый статическим расчетом лицевой стенки больверка.

Усилие от швартовной нагрузки суммируется с анкерным усилием Rа.

8.48. Анкерную стенку следует рассчитывать обычными методами строительной механики по программе ANMAJN, BOMAJN или PORT.

8.49. Анкерную плиту следует рассчитывать как двухконсольную балку с опорой в месте крепления анкера.

Усилия, действующие в элементах железобетонных анкерных плит таврового или ребристого сечений, в поперечном направлении определяются:

в плите между ребрами - как в балке на двух опорах с консолями;

в полке - как в консольной балке, защемленной в месте примыкания полки к ребру.

Расчет анкерной плиты следует выполнять по программе PLMAJN или PORT.

8.50. Анкерные козловые опоры следует рассчитывать: на вертикальную нагрузку от веса шапочной балки, веса грунта над ней, а для сжатой сваи дополнительно от эксплуатационных нагрузок на территории причала; на горизонтальную нагрузку, равную анкерному усилию (п. 8.46).

Вертикальные нагрузки принимаются по длине, равной шагу свайных козловых опор.

8.51. Продольные сжимающие усилия Nс и растягивающие Np в сваях козловых опор определяются графически (черт. 8.3) или по формулам:

                                   (8.8)

                                    (8.9)

где F - расчетная вертикальная нагрузка, кН;

ap, ac - углы наклона к вертикали соответственно растянутой и сжатой свай козловых опор, град;

Ra - анкерное усилие, кН/м (см. п. 8.46);

sк  - шаг свайных козловых опор, м;

Gc - вес сваи в конструкции, кН, определяемый при коэффициенте надежности по нагрузке gf=1,05 для сжатой сваи и gf=0,95 для растянутой сваи козловых опор.

8.52. Расчет несущей способности и глубины погружения свай козловых опор следует проводить в соответствии с требованиями СНиП 2.02.03-85.

Черт. 8.3. Схема к определению усилий в сваях козловых опор

8.53. Расстояние от расчетной плоскости лицевой (экранирующей) стенки больверка до анкерной опоры (длину анкера la) следует принимать из условия пересечения на поверхности территории плоскости обрушения, проведенной от расчетной плоскости из точки на уровне условного пролета стенки, с плоскостью выпора, проведенной от подошвы анкерной плиты, а для анкерной стенки - из точки, отстоящей вверх от подошвы на расстоянии 2Dd (Dd - дополнительная глубина на защемление). Длина анкера la определяется по программе BOMAJN.

8.54. Если по компоновочным требованиям (из-за стесненности территории) или технико-экономическим соображениям возможно или целесообразно приблизить анкерную стенку или плиту к лицевой (экранирующей) стенке или если в поверхностных слоях основания между лицевой (экранирующей) стенкой и анкерными устройствами залегают грунты значительно слабее по прочностным свойствам, чем грунты засыпки, следует проверить устойчивость массива грунта, обеспечивающего анкерное крепление сооружения, в соответствии с требованиями рекомендуемого приложения 7.

8.55. Козловые анкерные опоры рекомендуется располагать непосредственно за линией естественного откоса.

В случаях приближения опор к лицевой (экранирующей) стенке, несущую способность участков свай, расположенных выше естественного откоса, следует принимать в величине, не превышающей 50% от определенного для того же грунта в условиях естественного залегания.

8.56. Анкерные тяги рассчитываются на растяжение из условия прочности

,                                                  (8.10)

где glc, gп - то же, что в п. 4.3;

Rат - растягивающее усилие в анкерной тяге, кН, определяемое по п. 8.57;

An - площадь сечения тяги нетто, м2;

gс - коэффициент условий работы, принимаемый равным единице;

Ry - расчетное сопротивление материала анкерной тяги растяжению, кПа, принимаемое по СНиП II-23-81*.

В местах резьбовых соединений расчетное поперечное сечение тяги принимается по внутреннему диаметру резьбы.

8.57. Растягивающее усилие в анкерной тяге определяется по формуле

,                                                        (8.11)

где Rа - анкерное усилие, кН/м, (см. п. 8.46);

Sa - шаг анкеров, м;

a - угол наклона анкерной тяги к горизонтали, град. В случаях, когда в экранированном больверке лицевая стенка анкеруется за экранирующую, а экранирующая за анкерную опору, усилие в переднем анкере определяется по формуле

,                                                      (8.12)

где Кa - коэффициент, принимаемый по п. 8.46;

Rл - усилие в переднем анкере на 1 м стенки по длине сооружения, кН/м, равное расчетной анкерной реакции лицевой стенки больверка, полученной статическим расчетом по п. 8.43;

Sп - шаг передних анкеров, м;

aп - угол наклона передней анкерной тяги к горизонтали, град.

При расчете анкерных тяг тумбовых массивов необходимо учитывать усилия от швартовных воздействий по п. 8.47.

8.58. Распределительный пояс следует рассчитывать по схемам многопролетных неразрезных балок с учетом пластических деформаций материала.

Рекомендуется усилия для подбора сечения распределительного пояса определять по формулам:

М=±0,085 Ral2                                                                                                  (8.13)

Q=0,5Ral,                                                              (8.14)

где Ra - анкерное усилие, кН/м (см. п. 8.46);

l - расчетный пролет многопролетной балки, м, равный шагу анкеров.

Сечение распределительного пояса следует определять расчетом на прочность при изгибе согласно требованиям СНиП II-23-81*.

8.59. Болты крепления распределительного пояса и подкладки под гайки рассчитываются на усилия, определяемые в предположении равномерного распределения нагрузки, равной Ral между болтами.

8.60. Расчет конструктивных элементов больверка по прочности следует выполнять по формуле (4.1) при коэффициенте условий работы gc=1,15, кроме расчета прочности анкерных тяг.

Расчет прочности анкерных тяг следует выполнять по п. 8.56.

8.61. Расчет лицевой стенки безанкерного больверка по деформациям следует проводить по программе BOMAJN или PORT.

Перемещение стенки больверка необходимо определять при расчетных характеристиках грунтов и нагрузках, применяемых в расчетах по второй группе предельных состояний.

Перемещение от эксплуатационных нагрузок не должно превышать, если нет других ограничений, допустимых перемещений, регламентируемых "Правилами технической эксплуатации портовых сооружений и акваторий".

8.62. Расчет по деформациям анкерных опор следует выполнять при расчетных характеристиках грунтов и нагрузках, применяемых в расчетах по первой группе предельных состояний.

8.63. Расчет по деформациям анкерных тяг и распределительных поясов допускается не проводить.

8.64. Расчеты железобетонных элементов лицевой, экранирующих стенок больверка, анкерных опор по образованию и раскрытию трещин следует выполнять на усилия, полученные статическим расчетом соответственно по п.п. 8.43, 8.48, 8.50 и 8.52 при расчетных нагрузках и характеристиках грунтов, коэффициенты надежности которых по нагрузке и грунту равны единице. При этом усилия от навала судна или ледовых нагрузок не учитываются.

8.65. При расчете лицевой стенки заанкеренного больверка, экранирующих стенок экранированного больверка рекомендуется увеличить глубину их погружения против минимально допустимой из условия устойчивости (п. 8.31) в случаях, если это целесообразно для выравнивания изгибающих моментов в пролете и защемлении или требуется для повышения несущей способности экранирующей стенки на вертикальные нагрузки.

8.66. При расчете лицевой стенки экранированного больверка рекомендуется уменьшать глубину ее погружения против минимально допустимой из условия устойчивости в случаях, если при ее расчете по п. 8.43 полученная эпюра изгибающих моментов два или более раза меняет знак ниже уровня дна, до величины, определяемой уровнем второго пересечения эпюры изгибающих моментов оси ординат.

При этом глубина погружения элементов лицевой стенки больверка должна быть не менее, полученной из условия устойчивости на поворот вокруг точки крепления анкера (п. 8.37).

8.67. При расчете больверка с двумя экранирующими стенками рекомендуется уменьшать глубину погружения элементов второй экранирующей стенки против минимально допустимой из условия устойчивости в случаях, если при расчете по п. 8.43 полученная эпюра изгибающих моментов два или более раз меняет знак ниже уровня УСП, до величины, определяемой уровнем второго пересечения эпюры изгибающих моментов оси координат.

При этом должна быть обеспечена устойчивость и прочность первой экранирующей стенки.

ОСОБЕННОСТИ РАСЧЕТА ПРИЧАЛЬНЫХ СООРУЖЕНИЙ НА СЛАБЫХ ГРУНТАХ

8.68. К слабым грунтам в соответствии со СНиП 1.02.07-87 относят водонасыщенные глинистые и илистые грунты, характеризующиеся наличием хотя бы одного из перечисленных ниже признаков:

степень влажности Sr³0,8 и модуль общей деформации Е£5000 кПа;

показатель текучести JL³0,75; коэффициент динамической вязкости h менее 105 кПа×сут, при нормальном напряжении s³100 кПа.

8.69. Особенности расчета причальных сооружений на слабых грунтах заключаются в оценке допустимых деформаций, вызванных вязкой ползучестью слабых грунтов.

8.70. Величина общих длительных деформаций должна определяться только в тех случаях, когда обеспечение условий общей устойчивости сооружения приводит к необходимости значительных изменений в конструкции проектируемого сооружения, неприемлемых по техническим или экономическим соображениям.

8.71. Величину общих длительных деформаций сооружения рекомендуется определять по процедуре расчета общих длительных деформаций, входящей в программу расчета общей устойчивости по круглоцинлиндрической поверхности скольжения KRMAJN.

8.72. Расчетная величина общих длительных деформаций определяется как глубинный сдвиг массива грунта за расчетный срок службы сооружения по формуле

,                                                          (8.15)

где j - индекс точки на лицевой стенке, для которой определяется деформация;

v - линейная скорость деформации, м/сут, по касательной к дуге поверхности скольжения сдвигаемого массива;

t - период времени сут., соответствующий расчетному сроку службы сооружения;

rj - величина радиуса, м, до j-той точки, в которой определяется деформация;

r - радиус сдвигаемого массива, м.

8.73. Коэффициенты вязкости слоев слабого грунта h, кПа×сут и коэффициенты, характеризующие изменение вязкости с глубиной z, , необходимые для определения линейной скорости деформации, допускается определять:

коэффициент вязкости h - по графикам на черт. 8.4;

коэффициенты, характеризующие изменение вязкости с глубиной z, по формуле

z=gredtgj,                                                            (8.16)

где gred - средневзвешенное значение удельного веса вышележащих слоев грунта, кН/м3;

y - углы наклона касательных в точках графикой (см. черт. 8.4), соответствующих значениям вязкости грунтов по линии поверхности глубинного сдвига с учетом порового давления и нагрузки.

В особо ответственных случаям коэффициенты h и z рекомендуется определять опытным путем по результатам испытания образцов грунта ненарушенной структуры по консолидированно-дренированной схеме при нормальных напряжениях, соответствующих весу вышележащих слоев грунта с учетом эксплуатационной нагрузки.

Черт. 8.4

8.74. При проектировании причальных сооружений на слабых основаниях рекомендуется, как правило, предусматривать предпостроечную техническую мелиорацию слабых грунтов основания (статическое или динамическое уплотнение, дренирование, закрепление и т.п.).

8.75. В случаях, когда кровля слабых грунтов расположена выше отметки глубины промерзания, а пучение может вызвать разрушение или значительные деформации конструкций сооружения, слабые грунты в указанной зоне следует удалить, при необходимости - заменить непучинистым грунтом.

Во всех других случаях замена слабых грунтов должна быть обоснована технико-экономическими расчетами.

9. ПРОЕКТИРОВАНИЕ ПРИЧАЛЬНЫХ СООРУЖЕНИЙ ЭСТАКАДНОГО ТИПА

ОСНОВНЫЕ КОНСТРУКТИВНЫЕ ТРЕБОВАНИЯ

9.1. К причальным сооружениям эстакадного типа относятся конструкции набережных и пирсов, опирающиеся на свайные опоры.

Конструкции эстакадного типа следует подразделять:

в зависимости от конструкции верхнего строения и расположения опор - на сооружения эстакадного и мостового типов;

в зависимости от расположения на акватории и сопряжения с берегом - набережные-эстакады, перекрывающие подпричальный откос по всей длине сооружения, пирсы, включающие узкие рейдовые причалы;

в зависимости от конструкции верхнего строения и опор - со сборным, сборно-монолитным, и монолитным верхним строением, на призматических сваях, сваях-оболочках, металлических трубах, оболочках большого диаметра и на опорах из кладки массивов.

9.2. Ширина ростверка набережных, размеры соединительных эстакад пирсов назначаются на основе технологических, в соответствии с Нормами технологического проектирования морских портов, расчетно-конструктивных требований с учетом факторов, характеризующих естественные условия строительной площадки.

Увеличение ширины верхнего строения для обеспечения устойчивости подпричального откоса допускается при неблагоприятных грунтовых условиях и требует обоснования целесообразности по сравненью с другими способами (замена или закрепление грунтов основания, уменьшение шага опор, применение анкерующих устройств и т.д.).

Под неблагоприятными грунтовыми условиями подразумеваются илы, слабые водонасыщенные глины и суглинки с коэффициентом водонасыщения Sr³0,85, показателем текучести JL³0,75, модулем деформации Е£5000 кПа при коэффициенте консолидации Сv£1×107 см2/год.

9.3. Уклон каменной отсыпки подпричального откоса набережных при высоте волн h на акватории до 1,0 м, отсутствии течений и выполнении условий общей устойчивости рекомендуется принимать 1:1,5.

Допускается применение уклонов 1:1,25 - 1:1,3 в спокойной воде (h»0,3-0,5 м) и глубине причала до 8,25 м, а также на переходных участках от основной эстакадной конструкции к берегоукреплению.

Уклоны до 1:1,8 допускаются при необходимости размещения кранового оборудования в пределах ростверка и глубинах до 8,25 м; при высоте волн на акватории до 1,50 м; действии постоянных течений; на торцевых причалах широких пирсов.

Уклоны подпричального откоса 1:2 и менее следует принимать при специальном обосновании на недостаточно защищенных акваториях при высоте волн h>1,50 м либо при невыполнении условий общей устойчивости сооружения при больших уклонах откоса.

9.4. Перед тыловым сопряжением необходимо устраивать бермы шириной 1,0-1,75 м. В торцовых причалах широких пирсов и на недостаточно защищенных акваториях ширина бермы может быть 2,5-3,5 м и должна, наряду с конструкцией тылового сопряжения, уточняться по данным экспериментальных исследований; при этом камень подпричального откоса в пределах бермы и частично на откосе должен прикрываться щелевыми железобетонными плитами.

Рекомендуется располагать берму на 1,0-1,5 м ниже нуля порта. Большие значения принимаются при обосновании.

9.5. Свайное основание причального сооружения следует проектировать с учетом положения подкрановых и железнодорожных путей, эксплуатационного оборудования, при условии наиболее выгодной передачи временных нагрузок на опоры; из условия минимальной суммарной стоимости свай и верхнего строения при обеспечении оптимального использования их несущей способности и устойчивости подпричального откоса.

При использовании индустриальных сборных и сборно-монолитных конструкций верхнего строения расстояния между осями продольных и поперечных свайных рядов должны приниматься в соответствии с типо-размерами сборных элементов.

9.6. Расстояние в поперечном направлении между осями вертикальных свай lр, воспринимающих горизонтальные нагрузки, рекомендуется принимать не менее 6D (где D - большая сторона прямоугольного сечения свай или наружный диаметр сваи-оболочки).

При lр=(3-6)D необходимо учитывать взаимодействие свай; значения lр<3D не допускаются.

Шаг свай из железобетонных оболочек и стальных труб диаметром более 0,60 м в продольном направлении рекомендуется принимать не менее 5D, а для железобетонных призматических свай и стальных труб меньшего диаметра - не менее 2,5-3,0 м.

В безребристых конструкциях железобетонных ростверков максимальный шаг свай в продольном направлении не должен превышать 4,0-5,0 м.

Расстояние между осями вертикальных и наклонных висячих свай в плоскости их нижних концов должно быть не менее 3D, а свай-стоек - не менее 2,5D.

9.7. Необходимость применения наклонных или козловых опор следует рассматривать в следующих случаях:

при свайном основании из призматических свай сечением 400´400 мм и 450´450 мм в конструкциях набережных-эстакад для глубин 8,25 м и более, в конструкциях судоремонтных и пассажирских пирсов для глубин 6,50 м и более, а также в рейдовых причалах;

при действии горизонтальных нагрузок (наклонные сваи забиваются в кордонном ряду);

в сейсмических районах.

9.8. Основание технологической площадки узких пирсов следует устраивать из вертикальных и наклонных металлических свай. Количество свай и козловых опор устанавливается по расчету.

В местах расположения на технологической площадке неподвижных опор трубопроводов, стационарных трап-сходен, швартовных устройств и другого оборудования, передающего на верхнее строение сосредоточенные горизонтальные, вертикальные и моментные нагрузки, необходимо устраивать опоры, усиленные дополнительными козловыми и вертикальными сваями.

9.9. Количество свайных опор в поперечном сечении соединительной эстакады пирса необходимо принимать по расчету, но не менее двух вертикальных или наклонных в сторону кордона свай при ширине эстакады до 10 м и не менее четырех при большей ширине эстакады. В последнем случае две крайние опоры должны быть вертикальными, а средняя опора должна быть козловой.

9.10. При глубинах у кордона свыше 11,50 м либо при наличии значительной толщи слабого грунта (более 5 м) ниже отметки дна причала рационально использовать опоры повышенной несущей способности.

В качестве опор повышенной несущей способности рекомендуется применять: железобетонные сваи-оболочки диаметром 1,20 и 1,60 м; оболочки большого диаметра; при глубинах более 13,0 м или действии повторно переменной либо сейсмической нагрузок, в суровых климатических условиях, сварные коробчатые сваи из шпунта, а также сварные стальные структуры.

9.11. При плотных грунтах основания, когда погружение сваи затруднено, допускается опирание их на башмаки, уложенные на специально устроенную каменную постель.

Кордонный башмак должен быть полностью заглублен ниже уровня дна. В конструкциях набережных допускается располагать башмаки среднего и типового свайных рядов выше отметки низа кордонного башмака, однако наклон линии, соединяющей центры башмаков, должен быть положе наклона подпричального откоса.

9.12. Нижний конец сжатых трубчатых свай в зависимости от грунтовых условий и требуемой несущей способности может оставляться открытым, снабжаться остриём (для металлических труб диаметром не более 530 мм) или закрываться бетонной пробкой.

Повышение несущей способности металлических свай достигается также устройством на их концах открылков из прокатных профилей при отсутствии трудностей забивки, а при их наличии - увеличением толщины низа свай путем приварки металлических полос - ножей. Расстояние в свету между сваями или их уширениями должно быть не менее 1 м.

9.13. В сваях, погружаемых с выемкой грунта из внутренней полости, необходимо предусматривать устройство в основании бетонной пробки высотой не менее двух диаметров сваи. Необходимо принять конструктивные меры, обеспечивающие передачу нагрузок от стенок сваи на пробку, такие как придание искусственной шероховатости свае или удаление туфообразного слоя бетона в центрифугированных сваях-оболочках.

Класс бетона при образовании пробок или заполнении внутренних полостей свай должен быть принят по расчету, но не ниже класса В 15.

9.14. Соединение звеньев при сборке ствола железобетонной или стальной трубчатой сваи следует осуществлять с помощью сварных соединений, равнопрочных основному сечению сваи, с соблюдением конструктивных требований и положений расчета СНиП II-23-81*.

9.15. Для сокращения количества и длины сваи в основаниях глубоководных конструкций эстакадного типа, а также повышения несущей способности и устойчивости свай, особенно при наличии слабых грунтов, рекомендуются следующие конструктивные меры:

передача горизонтальных и, прежде всего, судовых нагрузок на отдельные конструкции (отбойные и швартовные палы, анкерные устройства), не связанные с конструкцией причального сооружения;

повышение отметки дна под конструкцией путем устройства ограждающих стенок или грунтовых откосов в конструкциях пирсов;

устройство подводных связей между сваями в виде диафрагм и пространственных металлических структур;

применение наклонных свай;

повышение жесткости свай путем усиления существующих свай и создание новых рациональных типов их сечений, заполнения свай-оболочек на необходимую по расчету высоту бетоном;

устройство уширений на стволе сваи или уширенной пяты в основании сваи;

забуривание нижних концов свай-стоек в скальный грунт с анкеровкой или без анкеровки с заполнением цементным раствором околосвайного пространства;

устройство металлических бурозаливных свай, усиленных анкерами, установленными в полость сваи, при слабых грунтах основания;

замену слабого грунта в основании грунтом с хорошими строительными свойствами в образованном в результате дноуглубления котловане или замену грунта в предварительно погруженных сквозь толщу слабого грунта до прочных его слоев цилиндрических оболочках большого диаметра;

защиту дна у сооружений от возможного размыва в случае значительных скоростей течения, особенно при наличии легкоразмываемых грунтов на поверхности основания;

анкеровка верхнего строения и береговом грунтовом массиве.

Выбор указанных конструктивных мер или их сочетания необходимо производить путем технико-экономического сопоставления вариантов, наиболее приемлемых для конкретных условий строительства.

9.16. В конструктивном отношении верхние строения эстакад следует подразделять на безреберные, поперечно-ригельного и продольно-ригельного типов.

Безреберные верхние строения применяются:

в конструкциях причалов на призматических сваях с наголовниками, при этом кордонные и тыловые части плит верхнего строения проектируются большей толщины, чем в средней части для восприятия крановых нагрузок;

при устройстве монолитной надстройки причала.

Поперечно-ригельная система (ригели перпендикулярны линии кордона) рекомендуется при отсутствии крановых нагрузок или их небольшой интенсивности, а также действии на сооружение нагрузок от судов на недостаточно защищенных акваториях.

Продольно-ригельная система должна применяться при тяжелом крановом оборудовании.

Поперечно-ригельная (продольно-ригельная) система образуется путем укладки на поперечные (продольные) ряды свай сборной части ригеля, имеющего в местах опирания на сваи окна для пропуска ее арматуры и омоноличивания ригеля со сваями. На ригели опираются сборные железобетонные плиты, зазоры между которыми омоноличиваются. Рекомендуется применять ребристые конструкции сборных плит (двухребристые панели или плиты с ребрами по контуру), располагая плиту поверх ребер с целью облегчения монтажа, омоноличивания сборных элементов и недопущения действия на ростверк и сваи веса балластного слоя.

9.17. Толщину плиты монолитной надстройки следует определять расчетом, но по технологическим и конструктивным соображениям (точность соблюдения толщины плиты, возможность обеспечения жесткой заделки в надстройке тыловых либо промежуточных свай) ее следует назначать не менее 0,6 м. При требуемой по расчету толщине плиты более 1,0 м рекомендуется забивка промежуточного свайного ряда, располагаемого в расчетном пролете. Толщину сборных безребристых плит принимают 0,30-0,50 м. Во всех случаях толщина плиты верхнего строения уточняется расчетом на продавливание ее сваями при действии эксплуатационных нагрузок.

Высота несущих элементов верхнего строения должна обеспечивать их прогибы, не превышающие 0,002l в пределах пролета и 0,0044lк на консоли (l и lк - длины пролета и консоли соответственно).

Возвышение низа пролетного строения под расчетным уровнем воды должно назначаться с учетом волновых воздействий на ростверк. Оно должно обеспечивать возможность осмотра и ремонта ростверка снизу и быть не менее 0,8 м над расчетным строительным уровнем воды.

9.18. При использовании сборно-монолитного решения кордонную и тыловую части верхнего строения следует выполнять монолитными (над кордонными и тыловыми опорами надстройки соответственно), а пролет надстройки перекрывать омоноличиваемыми с ними сборными элементами в виде ребристых тонких плит, выполняющих роль опалубки для бетонируемой впоследствии плиты верхнего строения. Сборные элементы надстройки выполняются в виде таврового профиля с двумя или более ребрами.

Шаг ребер должен быть кратен шагу тыловых опор. В плите верхнего строения следует предусматривать закладные детали для крепления подкрановых и железнодорожных путей.

9.19. Верхнее строение технологической площадки узких пирсов должно быть:

при переработке навалочных грузов - одноярусным;

при переработке наливных грузов - одноярусным и многоярусным в соответствии с числом ярусов соединительной эстакады либо при необходимости уменьшения габаритов площадки.

9.20. В качестве верхних строений соединительных эстакад рекомендуется применять типовые унифицированные элементы пролетных строений автодорожных и железнодорожных мостов.

9.21. При обработке у пассажирских пирсов судов разного водоизмещения, в том числе и мелких, рекомендуется образовывать пониженную площадку для их приема из свай, соединенных ригелями в продольном и поперечном направлении, и играющую роль системы палов для восприятия нагрузок от судов более крупного водоизмещения.

9.22. Длину секции рекомендуется принимать не более 50 м, уточняя ее по результатам статического расчета свай на изгиб, возникающий в плоскости, параллельной линии кордона, от температурных деформаций ростверка и внешних горизонтальных нагрузок.

9.23. Верхние строения соседних секций следует шарнирно связывать между собой в горизонтальной плоскости путем устройства шпонок, зубьев или иных упорных устройств. Допускается отделять секции одну от другой температурными вставками (свободно опертая на поперечные ригели соседних секции плита) при соответствующем обосновании.

Для температурной вставки в ростверке с длиной пролета до 8 м включительно разрешается опорные части устраивать из стальных листов.

При длине пролета более 8 м на опорах должны применяться тангенциальные опорные части по типу опорных элементов пролетных строений мостов.

9.24. Потерны для инженерных коммуникаций рекомендуется располагать:

в конструкциях набережных на призматических сваях - в коробчатых массивах тылового сопряжения;

в прочих конструкциях - у кордонной грани плиты верхнего строения, а в конструкциях из унифицированных элементов в полости между бортовой балкой и продольным ригелем.

При обосновании допускается в конструкциях набережных и пирсов на призматических сваях располагать потерны у кордонной грани ростверка за счет понижения кордонной части плиты верхнего строения, на которой располагаются потерны.

9.25. Тыловое сопряжение набережной с берегом, представляющее собой подпорную стенку гравитационного типа из одного-двух курсов массивов, в том числе пустотелых железобетонных коробов или уголкового профиля, а также в виде заанкеренного больверка при возможности просадок территории, должно обеспечить восприятие распорного давления грунта без передачи горизонтальной нагрузки на эстакаду.

При значительной ширине ростверка, обусловленной типовыми размерами пролетов верхнего строения, либо при невозможности при принятом уклоне откоса образования бермы перед тыловым сопряжением, последнее может не устраиваться; подпричальный откос в этом случае доводится до низа плиты верхнего строения.

Отсутствие тылового сопряжения и действие благодаря этому распорного давления грунта на эстакаду могут быть допущены в конструкциях набережных на сваях-оболочках диаметром не менее 1,2 м, на призматических сваях 400´400 мм и 450´450 мм при введении в состав свайного основания наклонных или козловых свай, в также при анкеровке верхнего строения.

9.26. На недостаточно защищенных акваториях (при высоте волн более 1,50 м) или на открытых морских побережьях при высоте волн менее 2,50 м тыловое сопряжение должно устраиваться из железобетонного ящика с перфорированными или решетчатыми стенками, заполненного камнем, с устройством за ним каменной призмы, предотвращающей вымывание грунта территории причала.

Верхний курс массива тылового сопряжения следует выполнять в виде железобетонного короба при необходимости устройства тыловой потерны.

Продольный шов между эстакадой и тыловым сопряжением должен перекрываться съемными чугунными решетками.

9.27. При проектировании подпричального откоса и конструкции сопряжения набережных с берегом следует руководствоваться Указаниями по проектированию подпричального откоса и тылового сопряжения набережных-эстакад, подверженных интенсивному волнению.

9.28. При конструировании узлов сборных железобетонных элементов ростверков следует руководствоваться следующими указаниями:

рабочие стыки сборных элементов ростверков, воспринимающие изгибающие моменты и поперечные силы, создаются путем сварки выпусков арматуры и укладки бетона омоноличивания или путем сварки закладных частей в соответствии с указаниями СНиП 2.03.01-84;

стыки сборных элементов ростверков, воспринимающие поперечные силы, создаются путем устройства в примыкающих поверхностях элементов штраб с последующим наполнением их монолитным бетоном и установкой арматуры;

отдельные стыки между сборными элементами ростверка допускается выполнять без связей, "открытыми", в том случае, когда это приемлемо по условиям работы сооружения, а относительные смещения по линиям примыкания допустимы по условиям эксплуатации.

9.29. Верхнее строение ростверков следует жестко соединять со сваями путем заделки их в ростверк на глубину не менее 5 см и выпусков арматуры из сваи на длину их анкеровки согласно требованиям СНиП 2.03.01-84.

Допускается сваи-оболочки не заделывать в ростверк из предварительно напряженных элементов, обеспечивая лишь плотное примыкание торцов оболочек к верхнему строению путем омоноличивания оболочки с ростверком, и этом случае в состав стыка должна быть включена дополнительная арматура, пропускаемая через окна в ригелях.

Стык металлической сваи с железобетонным верхним строением должен устраиваться путем омоноличивания в ростверке выпусков арматуры, привариваемой к внутренней поверхности сваи и замоноличенной в ее бетонной пробке.

9.30. Стыки безребристых конструкций верхнего строения рекомендуется выполнять с помощью наголовников и инвентарных хомутов. При использовании наголовников должна омоноличиваться полость, образованная наголовником и монтажным отверстием плиты.

Применение инвентарных хомутов позволяет омоноличивать сваю и плиты только в монтажном проеме плит.

При образовании узла омоноличивания должен быть обеспечен требуемый СНиП 2.03.01-84 перепуск арматуры плит и установка дополнительной вертикальной (с требуемым перепуском относительно выпусков арматуры сваи) арматуры.

9.31. Стыки поперечно-ригельной системы должны образовываться путем омоноличивания окон сборной части поперечного ригеля (как правило, прямоугольной формы) и конструктивного зазора укладываемых на него плит, являющегося монолитной частью поперечного ригеля. При этом должны выполняться требования пп. 9.29 и 9.30 по заделке ствола сваи и установке арматуры в монтажных проемах свай, за пределами которых омоноличиваются в конструктивных зазорах плит их арматурные выпуски с выпусками арматуры ригеля.

9.32. Стыки продольно-ригельных систем образуются путем: омоноличивания свай в монтажных проемах и окнах (в частности, за счет выреза полок продольных ригелей); омоноличивания монтажных проемов между продольными ригелями и укладываемыми на них (в частности, на их полки) плитами.

9.33. В верхнем строении необходимо предусматривать устройства, обеспечивающие вентиляцию подпричального пространства (металлические решетки, укладываемые между ростверком и тыловым сопряжением из массивов, и т.п.) и удаление атмосферных осадков (вертикальные закладные трубки).

ОСНОВНЫЕ ПОЛОЖЕНИЯ ПО РАСЧЕТУ

9.34. Сооружения эстакадного типа рассчитываются в следующей последовательности:

а) определение нагрузок и их сочетаний, действующих на секцию сооружения, в соответствии с требованиями раздела 5 настоящей Инструкции;

б) расчет общей устойчивости сооружения по глубинному сдвигу (набережные), местной устойчивости подпричального откоса, и том числе и на проскальзывание между поперечными рядами свай (набережные-эстакады), на основе требований СНиП 2.02.02-85 с учетом указаний раздела 6 настоящей Инструкции;

в) расчет сооружений по плоской или пространственной расчетным схемам в зависимости от конструкции сооружения при действии разных сочетаний нагрузок; определение расчетных усилий в конструктивных элементах и их деформаций;

г) определение несущей способности свай при действии осевых нагрузок в соответствии с требованиями СНиП 2.02.03-85;

д) расчет элементов сооружения по прочности, трещиностойкости и деформациям в соответствии с требованиями СНиП 2.06.08-87, СНиП 2.03.01-84, СНиП II-23-81*;

е) корректировки расчетной схемы в соответствии с несущей способностью элементов по прочности, трещиностойкости;

деформациями конструкции в целом и ее элементов; несущей способностью свай и шпунта при действии осевых усилий;

предельными значениями горизонтальных компонентов реакций грунта по боковой поверхности свай и шпунта.

9.35. В качестве расчетных схем причалов эстакадного типа следует принимать:

для набережных, технологических площадок узких пирсов для переработки навалочных и наливных грузов, пассажирских и судоремонтных пирсов, палов - пространственную рамную конструкцию на упругих (нелинейно-упругих) опорах с промежуточными связями или без них и жесткий ростверк, если высота ригелей, приведенных к прямоугольному сечению, составляет не менее 1:4,3 ширины ростверка;

для верхнего строения соединительных эстакад узких пирсов - многопролетную балку или плиту на упругих опорах при омоноличивании или сварке продольных ригелей смежных пролетов и однопролетные балки при свободном опирании балок на поперечные ригели.

9.36. В качестве модели грунтового основания в соответствии с требованиями СНиП 2.02.03-85 должно приниматься основание с линейно-нарастающим с глубиной значением коэффициента постели, учитывающее образование в грунте зон пластических деформаций. Значение реакций грунта в пластической области определяется по указаниям раздела 5 настоящей Инструкции.

Граница между областями упругого (модель основания в виде коэффициента постели) и пластического деформирования определяется равенством реакций грунта, получаемых при помощи этих двух расчетных моделей, на границе упругой и пластической зон. Уточнение положения границы производится в процессе итераций. Коэффициент постели основания по контакту боковой поверхности сваи с грунтом при сдвиге и под острием сваи должен составлять соответственно 0,7 и 1/0,7 от величины коэффициента постели в горизонтальном направлении, принимаемого по указаниям СНиП 2.02.03-85.

9.37. Распределение усилий в грунтовой среде и взаимодействие расположенных в ней конструктивных элементов следует учитывать посредством аппроксимации упругих свойств грунтовой среды конечными элементами, в частности стержнями, при этом жесткостные характеристики конечных элементов должны назначаться с учетом реальных деформационных характеристик грунта.

9.38. Расчет конструкций эстакадного типа следует производить методом конечных элементов по комплексу программ ROST и PORT для пространственной и плоской расчетных схем. При нелинейно-упругих опорах расчет следует выполнять методом итераций.

При значениях коэффициента продольного изгиба Jх=Jy<0,9 в сваях расчет конструкции должен быть откорректирован в соответствии с матрицей деформаций стержня, подверженного действию продольно-поперечного изгиба.

Расчетную длину опор с учетом условного защемления следует принимать в зависимости от положения их на откосе и направления действия горизонтальной силы перпендикулярно кордону в сторону акватории, вдоль кордона и перпендикулярно кордону в сторону берега.

9.39. Напряженно-деформированное состояние свайных опор при действии вертикальных и горизонтальных нагрузок должно определяться с учетом дополнительного момента

                                                  (9.1)

продольной силы N в элементе относительно центра тяжести сечения,

где

VN(Z)=V(Z)-Vr,

V(Z) и Vr - прогибы в сечениях соответственно с координатой Z и в голове опоры;

 - критическая сжимающая сила;

EJ - жесткость элемента;

l - расчетные длины свай, принимаемые по указаниям п. 9.38;

m - принимается по табл. 9.1

Таблица 9.1

Характеристика свайного основания

mСхемы закрепления

Сваи прямоугольные с горизонтальным смещением

1,25

1,5

Сваи-оболочки с горизонтальным смещением

1

1,25

Сваи и сваи-оболочки без горизонтального смещения (козловые опоры в двух направлениях)

0,7

1

9.40. При частичной замене слабого грунта грунтом с большим объемным весом, образовании над поверхностью слабого грунта насыпей или передаче на его поверхность иных распределенных нагрузок в пределах свайного основания необходимо при расчете свай учитывать действие сил отрицательного трения по боковой поверхности сваи в соответствии с рекомендациями СНиП 2.02.03-85.

9.41. Пространственную конструкцию допускается для протяженных в плане эстакадных сооружений рассчитывать методом расчленения на отдельные плоские системы, выбирая из них основную несущую систему.

9.42. При членении конструкции на поперечные и продольные рамы ширина полки плиты, монолитно связанной с ребром и вводимая в расчет при определении геометрических и жесткостных параметров ригеля, принимается из условия, что учитываемый свес полки в каждую сторону от ребра bс должен быть не более l/p(3+2g - g2) (l - пролет ребра между сваями;g - коэффициент Пуассона).

При наличии ребер другого направления с шагом меньшим, чем шаг ребер рассматриваемого направления и при высоте полки hf ³ 0,1h свес полки bс следует принимать равным половине расстояния в свету между ребрами рассматриваемого направления, где h - высота сечения ребра.

При отсутствии ребер другого направления или при их шаге, большем, чем шаг ребра рассматриваемого направления, а также если hf < 0,1 h, то свес полки bс=6/hf.

При консольных свесах полки

если hf³0,1h, bc=6hf;

если 0,05h=hf< 0,1h, bc=3hf;

если hf<0,05h, то свесы не учитываются.

9.43. При составлении расчетных схем в качестве осей элементов следует принимать линии, соединяющие геометрические центры тяжести сечений элементов.

9.44. Вертикальные нагрузки на поперечные рамы (основные несущие системы) определяются:

сосредоточенные силы - как опорные реакции, полученные по линиям влияния продольных (подкрановых) ригелей при действии крановых нагрузок и железнодорожных нагрузок, если они располагаются в пределах расчетной ширины ригеля, и расчетных ригелей шириной 12hf, расположенных под осями железнодорожных путей, при действии железнодорожных нагрузок и учете собственного веса продольных ригелей; расчетной схемой ригелей являются соответствующие балки на упруго-податливых опорах с коэффициентами податливости, равными осадкам поперечных рам от действия единичных сил, приложенных в месте расположения центральных осей соответствующих продольных ригелей;

равномерно распределенные нагрузки - как нагрузки интенсивностью, определяемой площадью сбора нагрузок с левого и правого полупролетов, расположенных между данной поперечной рамой и соседними с ней, с учетом собственного веса элементов полупролетов, включая поперечные ригели.

Вертикальные нагрузки на продольные рамы (основные несущие системы) определяются:

сосредоточенные силы - по фактическим значениям крановых нагрузок и железнодорожных нагрузок, действующих в пределах полосы ростверка от его конца до середины пролета, примыкающего к прикордонному или тыловому ряду опор для прикордонного или тылового ригеля, а для средних продольных ригелей по фактическим значениям железнодорожных нагрузок, действующих в пределах левого и правого примыкающих полпролетов, расположенных между данным продольным ригелем и соседними с ним, равномерно распределенные нагрузки - как нагрузки интенсивностью, определяемой указанной выше площадью сбора нагрузок продольных ригелей с учетом собственного веса элементов, находящихся в зоне сбора нагрузок, включая продольные ригели.

При расчете продольных рам коэффициент податливости свайной опоры должен приниматься равным осадке примыкающей к этой опоре поперечной рамы от действия единичной силы, приложенной в месте расположения центральной оси продольного ригеля.

9.45. Горизонтальные нагрузки, действующие на поперечные и продольные рамы, следует определять из расчета секции ростверка, в том числе и с учетом взаимодействия секций, на действие горизонтальных (судовых, крановых и железнодорожных тормозных, распорных грунтовых при отсутствии тылового сопряжения) нагрузок методом "упругого центра" путем суммирования проекций горизонтальных усилий, приложенных к головам свай рассматриваемой рамы, на ее плоскость (пп. 9.51, 9.52). При этом верхнее строение в горизонтальной плоскости считается абсолютно жестким, а кручение опор вокруг их оси допускается не учитывать.

9.46. Усилия М, Q, N в элементах рам, вызванные межсезонным перепадом температур и влажностными воздействиями, следует определять в соответствии с требованиями СНиП 2.01.01-82 и СНиП 2.06.08-87.

9.47. Взаимодействие сваи с грунтовым основанием следует описывать моделью с линейно нарастающим по глубине в каждом слое грунта значением коэффициента постели; при переходе к каждому новому k-тому слою следует определять приведенную высоту кровли слоя из выражения

,                                                       (9.2)

где gК и gi - удельные веса грунта к-того и i-тых слоев, лежащих выше кровли к-того слоя, соответственно;

hi - высота i-того слоя грунта.

Коэффициент постели определяется:

по кровле к-того слоя С1k=Khkbp;

по подошве к-того слоя С2k=K(hk+Dhk)bp,

где К - коэффициент пропорциональности, кН/м4 принимаемый по данным СНиП 2.02.03-85;

DhK - толщина K-того слоя грунта, м;

bp - расчетная ширина сваи, м (см. СНиП 2.02.03-85).

Примечание.

Значение коэффициента постели в слое каменной призмы подпричального откоса принимается равным нулю.

9.48. Коэффициент Kl упругой податливости сваи следует определять, расчетом по программе PОRT при действии единичной силы, направленной вдоль оси сваи и приложенной к ее голове.

При этом значения коэффициентов постели Сс на сдвиг в начале и конце каждого конечного элемента сваи определяются в соответствии с указаниями п.п. 9.35 и 9.45 и выражениями

,                                    (9.4)

где и - периметр сваи; Dlr - длина рассматриваемого r-того элемента, остальные обозначения см. формулу (9.2).

Коэффициент жесткости подошвы сваи, кН/м

,                                                        (9.5)

где С0 - значение коэффициента постели на уровне подошвы сваи;

А - площадь сечения сваи по подошве, вводится в матрицу жесткости конечного элемента, содержащего подошву сваи.

Упруго-пластическая работа сваи при действии продольных нагрузок учитывается путем сопоставления значений сил трения на конечных элементах сваи, лежащих в грунте и определяемых для r-того элемента с номерами узлов r1 и r2 по формуле

                                             (9.6)

с предельно-допустимыми значениями сил трения по боковой поверхности сваи, нормируемыми СНиП 2.02.03-85 (Wr1 и Wr2 перемещения узлов в начале и конце конечного элемента r) и равными

tr,u=fiuDlr                                                           (9.7)

Если tr<tr,u, то итерация расчета не требуется. В противном случае на тех элементах, где tr>tr,u значения коэффициентов постели  и  принимаются равными нулю, а к элементу r прикладывается вдоль его оси сила tr,u направленная в сторону, противоположную продольным перемещениям сваи и расчет повторяется пока на всех элементах не будет удовлетворяться условие tr<tr,u.

9.49. Допускается при поверочных расчетах пренебрегать влиянием сжатия ствола сваи в грунте и определять коэффициент упругой податливости сваи на нескальных основаниях по формуле

,                                    (9.8)

где С*, ,  находятся из выражений (9.4) и (9.5);

l0 - свободная длина сваи, равная расстоянию от ее заделки в ростверке до поверхности грунта;

Е - модуль упругости материала опоры.

Для опор, забуриваемых в полускальные и скальные основания,

K1=(l0+d)/EA,                                                             (9.9)

где d - глубина забуривания сваи.

9.50 Усилия в элементах поперечных и продольных рам рекомендуется определять по программе PORT при действии каждого вида нагрузки в отдельности и с целью нахождения расчетных значений усилий и деформации в элементах и деформаций конструкций в целом по первой и второй группам предельных состояний.

Изгибающие моменты М и перерезывающие силы Q в головах свай определяются как геометрические суммы соответствующих значений М и Q, полученных при расчете поперечных и продольных рам на действие каждого вида нагрузки в отдельности. Значение продольной силы в свае определяется из расчета поперечной рамы.

9.51. Координаты x0, и Y0 упругого центра ростверка в горизонтальной плоскости верхнего строения, проходящей через головы свай, для секции с вертикальными сваями и наклонными сваями, плоскость наклона которых перпендикулярна линии кордона, определяются из выражений

                                             (9.10)

где Xi и Yi - координаты i-той сваи ростверка;

n - число свай в секции;

Нxi и Hyi - горизонтальные силы, действующие в голове i-той сваи и определяемые расчетом этой одиночной сваи по программе PORT при заданных единичных перемещениях ее головы вдоль осей Х и Y соответственно и принятой в проекте схеме закрепления сваи в ростверке (жесткое или шарнирное).

За начало координат рекомендуется принимать точку пересечения крайних рядов свай секции.

Для вертикальных свай Нxiyi=Нa,

Нa определяется: для жестко-защемленных свай в ростверке

;      (9.11)

для шарнирно прикрепленных к ростверку

,                                          (9.12)

где eнн, eнм, eмм - деформации сваи на уровне поверхности грунта, вычисляемые по указаниям приложения 1 СНиП 2.02.03-85 при средневзвешенном по глубине значении коэффициента пропорциональности в верхней части глубины забивки сваи (до 5,0 м для призматических железобетонных свай и до 10,0 м для железобетонных свай-оболочек диаметром более 1,0 м).

Для наклонных свай, если горизонтальное перемещение головы сваи и нагрузки действуют перпендикулярно плоскости ее наклона и параллельно линии кордона, Нxi=Нa.

Для наклонных свай, если горизонтальное перемещение сваи и нагрузка действуют в плоскости наклонной сваи, перпендикулярной линии кордона,

,                                                 (9.13)

где Kl - коэффициент упругой податливости, принимаемый по указаниям пп. 9.48, 9.49;

b - угол между осью сваи и нормалью к верхнему строению в точке ее закрепления в ростверке.

9.52. При произвольной ориентации сваи, если и плоскость ее наклона образует с осью Х угол a, усилия от единичных горизонтальных перемещений ее головы возникают как в плоскости перемещения, так и перпендикулярно к ней.

Координаты Х0 и Y0 упругого центра для секции, содержащей сваи общего положения, определяются по формулам

                                        (9.14)

где Нxxi и Нyxi - горизонтальные силы, действующие параллельно осям Х и Y в голове i-той сваи при ее единичном перемещении параллельно оси Х;

Нxyi и Нyyi - то же, но при единичном смещении головы параллельно оси Y

Нxxi=Нa(1+sin2bcos2a)+klsin2bcos2a;                                             (9.15)

Hyxi=(Нa+kl)0,5sin2asin2b                                                    (9.16)

при единичном перемещении головы сваи параллельно оси X;

Нxyi и Нyxi определяемом по формуле (9.16);

Нyyi=Нa(1+sin2asin2b)+klsin2asin2b.                                    (9.17)

При единичном перемещении головы сваи параллельно оси Y.

9.53. Горизонтальные перемещения голов свай, с координатами Хi, Yi закрепленных в верхнем строении секции ростверка (или любой точки верхнего строения), не взаимодействующей с соседними секциями, определяются по формуле

                                               (9.18)

где U0; V0 и - перемещения упругого центра вдоль осей X и Y и угол поворота ростверка в горизонтальной плоскости для секций, содержащих вертикальные и наклонные сваи, плоскость наклона которых перпендикулярна линии кордона.

;                                                   (9.19)

;

.

Для секций, содержащих сваи общего положения,

;            (9.20)

где Nxj, Nyj - проекции на оси Х и Y j-той горизонтальной силы, действующей на секцию;

Mj - момент этой силы относительно упругого центра;

Mj=Nxj(YNj -Y0)-Nyj(XNj-X0);                                               (9.21)

XNj, YNj - координаты точки приложения j-той силы.

Примечания:

1. Перемещения U(Xi, Yi), U0, V(Хi, Yi) и V0 положительны, если они совпадают с положительными направлениями осей координат; угол поворота ростверка Y0 горизонтальной плоскости положителен, если поворот происходит по часовой стрелке.

2. При отсутствии тылового сопряжения и действии активного давления грунта на тыловую грань ростверка, его величина на 1 м длины причала определяется по указаниям раздела 5 настоящей Инструкции.

9.54. Горизонтальные нагрузки, действующие на i-тую сваю, для вертикальных и наклонных свай, плоскость наклона которых перпендикулярна линии кордона, следует определять по формулам

                                                (9.22)

Для наклонных свай общего положения

                                  (9.23)

где Рxi и Рyi - проекции на оси Х и Y горизонтальной нагрузки Рi, приложенной к голове i-той сваи;

Hxi, Hyi, Hxyi, Hyyi, U(Xi, Yi), V(Xi, Yi) см. пп. 9.51 и 9.52.

Горизонтальные нагрузки, воспринимаемые поперечными и продольными рамами, находятся по указаниям п. 9.45.

9.55. При наличии конструктивной связи между секциями усилия взаимодействия между ними должны находиться из системы уравнений совместности деформаций (равенство перемещений, перпендикулярных линий кордона) соседних секций в месте их стыков.

Условия совместности деформаций секции "S", граничащей слева с секцией "S-1", а справа с секцией "S+1", имеют вид

     (9.24)

                 (9.25)

где  и  - сумма проекций внешних сил, действующих в плоскости верхнего строения секции с номером "S", на ось Y и сумма моментов этих сил относительно упругого центра секции с координатами , , определяемыми по формуле (9.10);

 и  - сумма горизонтальных сил, действующих в головах свай секции S при единичных поступательных смещениях секции параллельно осям Х и Y соответственно;

 и  - координаты головы i-той сваи секции с номером "S";

NS-2, NS-1, NS, NS+1, - неизвестные усилия взаимодействия между секциями (S-2) и (S-1); (S-1) и S; S и (S+1); (S+1) и (S+2) соответственно;

 и  - координаты точек взаимодействия секции S с соседними секциями (S-1) и (S+1) в системе координат секции S;

;  и ;  - то же, но для секции (S-1) и (S+1).

Система уравнений совместности деформаций взаимодействующих секций состоит из уравнений (9.24) и (9.25), записанных для каждой секции.

Определение усилий, действующих на i-тую сваю при учете взаимодействия секции производится по указаниям п. 9.54 при включении найденных воздействий соседних секции на рассматриваемую в состав внешних сил.

9.56. При расчете причальных сооружений эстакадного типа с передним шпунтом, выполняемым по программе PORT, зоной активной деформации грунта следует считать область, в пределах которой происходят необратимые подвижки его частиц, и на конструктивные элементы, расположенные в этой области, действует активное боковое давление грунта.

Уточнение величины зоны "активной" деформации за шпунтовой стенкой и выявление растянутых стержневых грунтовых элементов, усилия в которых превышают допустимый уровень, определяемый сцеплением грунта, производится методом итераций.

Зона "активной" деформации грунта определяется координатой точки на лицевой стенке, горизонтальное смещение U в которой равно критическому смещению Uu, определяемому по формуле (соответствует наступлению за стенкой предельного активного напряженного состояния).

,                                         (9.26)

где du - глубина расположения точки с критическим горизонтальным смещением ниже поверхности засыпки (глубина зоны активной деформации), м;

 - критический угол перекоса, равный

;                                          (9.27)

j - угол внутреннего трения грунта в рассматриваемой точке;

аS - коэффициент уплотнения, принимаемый по данным компрессионных испытаний; допускается принимать aS=1/ES;

Es - модуль деформации грунта в данной точке, МПа;

lа - коэффициент бокового активного давление грунта;

l0 - коэффициент давления покоя, U, Uu и du уточняются в процессе итераций. При ограничениях по глубине забивки шпунта либо на слабых консолидируемых основаниях Uu может соответствовать ордината критической точки, находящейся на уровне низа шпунта.

9.57. Положение линии "условного дна" определяется лучом, проведенным под углом 0,5(45°+1,5j) к горизонтали через точку на лицевой стенке, в которой горизонтальное перемещение равно Uн.

Грунт ниже линии "условного дна" моделируется упругим основанием с коэффициентом постели, значения которого определяются из выражения

,                                                          (9.28)

где К - коэффициент пропорциональности роста коэффициент постели с глубиной (см. п. 9.47);

qу,сил - вертикальное напряженное состояние в силосе, в сторону которого перемещается рассматриваемый конструктивный элемент, на уровне, соответствующем определяемому Сz;

gi- удельный вес грунта i-того слоя на уровне, соответствующем определяемому Cz;

bр - расчетная ширина сваи (см. п. 9.47);

ld - продольный шаг свай.

Для элементов, находящихся выше уровня "условного дна", коэффициент постели принимается равным нулю и взаимодействие между ними следует определять методом аппроксимации упругих свойств грунтовой среды с помощью конечных элементов программы PORT.

При использовании стержневой аппроксимации изгибная жесткость грунтовых стержней, соединяющих узлы конечных элементов взаимодействующих частей конструкции, принимается близкой к нулю (в 104-105 раз меньше жесткости свай), а продольная жесткость В равной

,                         (9.29)

где Eса1 - модуль деформации грунта, в пределах которого располагается грунтовый стержень;

 - длины конечных элементов К-1; К; Р-1; Р конструкции, между которыми располагаются узлы, соединенные грунтовым стержнем и лежащие на i и (i+1) конструктивных частях (сваях);

Аs - площадь грунтового стержня.

В процессе итерационного расчета стержни, усилия растяжения в которых превышают С×АS должны быть исключены путем уменьшения в 103-104 раз продольной жесткости, где С - сцепление грунта.

Упругая схема работы грунтового основания в виде коэффициента постели сохраняется, если p(z)<pu(z),

где p(z) - реакция упругого основания в точке элемента с координатой z;

pu(z) - предельное значение реакции основания в той же точке.

В противном случае, то есть при p(z) и р³ рu(z) упругое основание заменяется в пределах рассматриваемого элемента предельной эпюрой пассивного сопротивления грунта.

Граница между упругой и пластической зонами работы основания уточняется с точностью до длины конечного элемента в процессе итераций.

9.58. Расчет свай, опорных башмаков свай, свайных фундаментов и их оснований по первой и второй группам предельных состояний следует выполнять в соответствии с указаниями СНиП 2.02.03-85, СНиП 2.06.08-87 и СНиП 2.03.01-84.

Несущая способность свай и других опор определяется по формуле

,                                                             (9.30)

где N - расчетная нагрузка на сваю или свайный фундамент, кН;

Fd - расчетная несущая способность одиночной сваи по грунту основания, определяемая по указаниям СНиП 2.02.03-85, кН;

gK - коэффициент надежности, принимаемый по СНиП 2.02.03-85.

9.59. Несущую способность свай следует определять как наименьшее из значений, полученных при расчетах: несущей способности сваи по грунту основания; несущей способности материала сваи в соответствии со СНиП 2.06.08-87, СНиП 2.03.01-84; СНиП II-23-81*, СНиП II-25-80.

Примечание. Несущую способность свай по грунту следует уточнять по результатам их испытаний динамической нагрузкой, статическим зондированием и статической нагрузкой в соответствии с требованиями ГОСТ 5686-78, СНиП 2.02.03-85, СНиП 2.02.01-83. Тип и количество испытаний устанавливаются проектной организацией.

10. ПРОЕКТИРОВАНИЕ ОТБОЙНОГО ПАЛА

10.1. Настоящие указания распространяются на расчет гибких односвайных и многосвайных отбойных палов. В случае многосвайного пала все сваи следует принимать одинаковой жесткости, а распределение усилий при навале судна - равномерным между сваями.

ОСНОВНЫЕ КОНСТРУКТИВНЫЕ ТРЕБОВАНИЯ

10.2. Количество и расположение отбойных палов определяется диапазоном размерений обслуживаемых у причала судов, принятой технологией их обработки и устанавливается при компоновке причального сооружения в целом.

10.3. Отметка верха палов выбирается с учетом положения вершины расчетной волны, а также с учетом требований размещения на них отбойных и швартовных устройств, обеспечивающих безопасную эксплуатацию судов и сооружений.

10.4. При конструировании следует отдавать предпочтение односвайному отбойному палу, работающему одинаково во всех направлениях и не требующему сложных раскреплений верхнего строения.

10.5. В случае многосвайного гибкого отбойного пала число свай выбирается в соответствии с энергией навала расчетного судна и расчетной энергопоглощающей способностью одной сваи. При этом рекомендуется принимать их в количестве не более шести.

В плане сваи размещаются либо в пределах прямоугольника, либо трапеции. Сваи могут быть забиты с небольшим наклоном в сторону акватории, что создает возможность повысить энергопоглощающую способность пала.

10.6. Отбойные палы рекомендуется выполнять из стальных труб. В целях экономии металла необходимо использовать трубы с повышенными прочностными характеристиками.

10.7. При конструировании отбойных палов для достижения большей их гибкости и экономии металла рекомендуется применять трубы со стенками переменной толщины в соответствии с эпюрой изгибающих моментов по высоте пала. При этом следует изменять внутренний диаметр труб, а наружный оставлять постоянным.

10.8. Отбойные палы должны быть оборудованы отбойными устройствами, позволяющими распределять реактивное усилие от пала на корпус судна.

10.9. Крепление отбойного устройства к палу рекомендуется выполнять при помощи шарнира, что позволяет поворачиваться ему на угол, под которым судно наваливается на отбойный пал. Для ограничения поворота отбойного устройства необходимо устанавливать ограничители. Возврат отбойного щита в исходное положение производится резиновыми амортизаторами.

10.10. При сопряжении отдельных свай многосвайного пала в один куст следует обеспечивать их свободное смещение как консолей.

10.11. В верхней части многосвайного пала рекомендуется предусматривать устройства, позволяющие равномерно передавать моменты кручения на каждую сваю в случае внецентренного удара при навале судна.

ОСНОВНЫЕ ПОЛОЖЕНИЯ РАСЧЕТА

10.12. Расчетной схемой отбойного пала при действии горизонтальной силы (черт. 10.1) является гибкий вертикальный стержень, погруженный в грунт основания, свойства которого моделируются коэффициентом постели.


Черт. 10.1.


10.13. Реакция грунта основания j-ом слое при перемещении пала под действием горизонтальной силы представляется зависимостью

,                                    (10.1)

где Cz - коэффициент постели на границе j-го слоя грунта, кН/м3, определяемый по п. 10.14;

Кj - коэффициент пропорциональности изменений коэффициента постели по глубине j-го слоя грунта, кН/м4, принимаемый в соответствии с требованиями СНиП 2.02.03-75;

z - координата сечения пала, м;

h - высота от точки приложения усилия навала (начало координат) до дна, м;

п - количество вышележащих слоев грунта;

tj - толщина j-го слоя грунта, м;

xz - перемещение сечения пала с координатой, м;

dн - наружный диаметр пала, м.

10.14. При многослойном основании коэффициент постели Сz на границе j-го слоя определяется по формуле

cz=Lj+1K(z-h).                                                      (10.2)

10.15. Глубина погружения пала в грунт определяется в процессе его расчета как балки на упругом основании. За расчетную принимается глубина, на которой находится вторая нулевая точка упругой линии (см. черт. 10.1).

10.16. Энергопоглощающая способность собственного пала Ei определяется по формуле

Ei=0,5Fqa,                                                           (10.3)

где Fq - расчетная горизонтальная сила, кН, приложенная в точке навала судна;

а - перемещение пала, м, под действием силы в точке ее приложения.

10.17. При оборудовании пала отбойными устройствами энергопоглощающая способность которых определяется по паспортным данным. При этом должно выполняться условие

Fотб£Fq,                                                                                                         (10.4)

где Fотб - усилие, кН, при котором реализуется паспортная энергоемкость отбойных устройств;

Fq - расчетная горизонтальная сила, кН, действующая на пал.

10.18. В случае использования отбойных устройств общая энергопоглощающая способность пала определяется в соответствия с требованиями СНиП 2.06.04-82*.

10.19. При применении отбойного щита для распределения реактивного усилия от пала на корпус судна его площадь А, м2, определяется по формуле

,                                                               (10.5)

где qпр - расчетная удельная нагрузка на борт судна, принимаемая по паспортным данным, кН/м2.

10.20. Расчет собственно пала полностью ориентирован на ЭВМ и выполняется по программе ALTEST.

11. ПРОЕКТИРОВАНИЕ КОНСТРУКЦИЙ ИЗ ЦИЛИНДРИЧЕСКИХ ЯЧЕЕК И УЗКИХ ЗАСЫПНЫХ ПИРСОВ

11.1. Настоящие указания распространяются на проектирование конструкций из цилиндрических ячеек из плоского стального шпунта и узких засыпных пирсов в виде взаимозаанкеренного больверка (черт. 11.1).

РАСЧЕТ КОНСТРУКЦИЙ ИЗ ЦИЛИНДРИЧЕСКИХ ЯЧЕЕК

11.2. Основные размеры цилиндрических ячеек определяются из условия их устойчивости и прочности несущих элементов при воздействии горизонтальных нагрузок и собственного веса конструкции с учетом эксплуатационных нагрузок на его территории.

11.3. Глубина погружения шпунта в грунт основания определяется расчетом устойчивости на плоский сдвиг или по круглоцилиндрической поверхности в соответствии с требованиями раздела 6.

Черт. 11.1

11.4. Диаметр цилиндрической ячейки определяется из условия устойчивости на сдвиг по вертикальной плоскости при воздействии горизонтальных нагрузок без учета временно распределенных нагрузок на территории

,                                                        (11.1)

где g gc, gп - тo же, что в п.4.3;

Mt - суммарный момент от внешних горизонтальных нагрузок относительно центра тяжести подошвы сооружения, кНм;

Мr - суммарный момент удерживающих сил, относительно центра тяжести подошвы сооружения, кНм.

11.5. Суммарный момент удерживающих сил определяется по формуле

,                         (11.2)

где d - диаметр конструкции, м;

Еая - горизонтальная составляющая активного давления грунта засыпки, кН/м (п. 11.6);

jred - средневзвешенное значение угла внутреннего трения грунта в сооружении, град;

f - коэффициент трения в замках шпунтовой конструкции, принимаемый равным 0,4;

N - равнодействующая дополнительных сил сопротивления смещению грунта в сооружении по вертикальной плоскости за счет сопротивления дополнительных элементов жесткости (противоледовый пояс, бетонное кольцо и т.п.), кН, (п. 11.7);

d - угол трения грунта о шпунтовую конструкцию, принимаемый равным 0,667jred, но не более 30°, град;

М0 - момент реактивного давления действующего на внешнюю поверхность конструкции, относительно подошвы сооружения, кН×м, (п. 11.8).

11.6. Горизонтальную составляющую активного давления грунта следует определять по формуле

Еая=hiЕa                                                                                                   (11.3)

где hiЕa - коэффициент уменьшения давления грунта, определяемый по графику на черт. 11.2;

Еa - горизонтальная составляющая активного давления от веса грунта засыпки, определяемая в соответствии с требованиями раздела 5.

Черт. 11.2. График изменения коэффициента h

11.7. Равнодействующая дополнительных сил сопротивления определяется по формуле

N=AR,                                                               (11.4)

где А - площадь поперечного сечения элемента жесткости, м2;

R - расчетное сопротивление на срез (растяжение) материала элемента жесткости, кПа.

11.8. Момент реактивного давления грунта М0 следует определять по формуле

M0=aEaq                                                             (11.5)

где aE - расстояние от горизонтальной составляющей активного давления грунта Еaq подошвы сооружения, м;

Еaq - горизонтальная составляющая активного давления грунта с внешней стороны ниже уровня дна, кН.

11.9. Расчет прочности замковых соединений шпунтовых конструкций следует выполнять, исходя из условия

,                                                          (11.6)

где g gc, g'п - тo же, что в п. 4.3;

Р3 - разрывающее усилие в замках шпунтовой конструкции, кН/м, (п. 11.10);

R3 - предельное сопротивление в замках разрывающим усилием, кН/м.

11.10. Разрывающее усилие Р3 следует определять по формуле

р3=р3,гр+Р3,F,                                                                                                   (11.7)

где р3,гр - разрывающее усилие от активного давления грунта в сооружении, кН/м;

Р3,F - разрывающее усилие от активного давления грунта, кН/м, вызванного внешней горизонтальной нагрузкой.

Разрывающие усилия р3,гр, Р3,F следует определять по формулам:

р3,гр=0,5dPa,max;                                                          (11.8)

,                                                        (11.9)

где Pa,max - максимальная ордината эпюры активного давления грунта, кПа;

F - горизонтальная нагрузка на сооружение, кН;

GK - собственный вес сооружения от верха до отметки максимальной ординаты эпюры активного давления грунта, кН.

11.11. Максимальная ордината эпюры активного давления грунта Pa,max определяется по формуле

Pa,max=Раhi                                                                                                          (11.10)

где Ра - максимальная ордината давления грунта на плоскую стенку, кПа, определяемая в соответствии с требованиями раздела 5;

hi - коэффициент уменьшения давления грунта, определяемый по черт. 11.2.

РАСЧЕТ УЗКИХ ЗАСЫПНЫХ ПИРСОВ

11.12. При расчете устойчивости узких засыпных пирсов на сдвиг по вертикальной плоскости должно быть выполнено условие (11.1) и требования пп. 11.13, 11.14.

11.13. Суммарный момент удерживающих сил Мr отнесенный к 1 м длины пирса, определяется по формулам:

на нескальном основании

;           (11.11)

на основании, подстилаемом скальным грунтом

,            (11.12)

где bп - ширина пирса, м;

Еа,1 - горизонтальная составляющая активного давления грунта на лицевую стенку пирса, кН/м;

Еа,2 - горизонтальная составляющая активного давления грунта с внешней стороны ниже уровня дна на лицевую стенку пирса, кН/м;

d1 - угол трения грунта о лицевую стенку пирса, принимаемый 0,667jred, но не более 30°град;

d1 - угол трения грунта о лицевую стенку пирса с внешней стороны, принимаемый 0,667jred,2, но не более 30° (jred,2 - средневзвешенное значение угла внутреннего трения грунта ниже уровня дна с внешней стороны лицевой стенки пирса), град;

aп - расстояние между поперечными стенками, м;

M0 - момент реактивного давления грунта на внешнюю поверхность лицевой стенки пирса относительно подошвы сооружения кН/м (п. 11.14).

Примечание. При отсутствии поперечных стенок третий член в формулах (11.11, 11.12) равен нулю.

11.14. Момент реактивного давления М0 следует определять по формуле

М0=аЕ,2Еа,2                                                     (11.13)

где аЕ,2 - расстояние от горизонтальной составляющей активного давления грунта Еа,2 до подошвы сооружения, м.

11.15. Расчет общей устойчивости узкого засыпного пирса выполняется в соответствии с требованиями раздела 6.

Расчет конструктивных элементов пирса следует выполнять в соответствии с требованиями раздела 8.

12. ОСОБЕННОСТИ ПРОЕКТИРОВАНИЯ ПРИЧАЛЬНЫХ СООРУЖЕНИЙ ДЛЯ УСЛОВИЙ АРКТИКИ

ОСНОВНЫЕ КОНСТРУКТИВНЫЕ ТРЕБОВАНИЯ

12.1. Лицевые стенки засыпных причальных сооружений для условий Арктики следует выполнять из стальных шпунтовых свай или труб, экранирующие элементы - из железобетонных свай и свай-оболочек. Допускается применение для лицевых стенок элементов из предварительно напряженного железобетона и бетона высокой прочности.

12.2. Для тонкостенных конструкций в зоне действия ледовой нагрузки в необходимых случаях следует предусматривать создание противоледового пояса из стального проката или сталебетона. Высоту противоледового пояса рекомендуется принимать на 1 м больше расчетной толщины льда.

Отметку низа надстройки следует принимать ниже расчетного уровня воды не менее чем на 0,2 м.

12.3. При проектировании сооружений с созданием мерзлого ядра необходимо предусматривать уплотнение обратной засыпки.

12.4. Покрытие откосных сооружений не должно иметь выступающих частей. Для уменьшения воздействия льда на откосы следует предусматривать устройство берм на откосе.

12.5. Для стационарного перегрузочного оборудования и механизмов, располагаемых на ледяном сооружении, следует предусматривать свайное основание, выполняемое погружением свай в грунт через ледяной массив.

12.6. При проектировании ледяных причальных сооружений, эксплуатируемых более двух навигаций, следует предусматривать, как правило, тепло- и гидроизоляцию ледяного массива, а при соответствующем технико-экономическом обосновании - использование термосвай или системы искусственного охлаждения.

12.7. Для ледяных сооружений, эксплуатируемых одну-две навигации, допускается вместо тепло- и гидроизоляции предусматривать большее сечение конструкции, чем это требуется по расчету или технологическим требованиям, учитывая таяние незащищенной ледяной конструкции в летний период. При эксплуатации таких сооружений в течение нескольких навигаций следует предусматривать возможность ежегодного домораживания в зимний период стаявшего летом льда конструкции.

12.8. Для повышения надежности ледяных причальных сооружений рекомендуется предусматривать армирование всего массива льда или на ширине не менее 1,5 м от боковых поверхностей массива опилками, древесным, бумажным или искусственным волокном и т п.

12.9. При армировании ледяного массива стальными канатами рекомендуется располагать их в несколько рядов по ширине и высоте, вдоль и поперек сооружения отдельными секциями с перекрытием друг друга по длине. При необходимости анкеровки массива выпуски каната крепятся за береговые опоры.

12.10. Для исключения повреждения конструкции ледяного сооружения при швартовке судна следует предусматривать защиту лицевой стенки отдельными деревянными сваями, сваями с навеской на них отбойных устройств, ряжевыми конструкциями.

12.11. В качестве швартовных устройств рекомендуется использовать деревянные сваи, вмороженные в ледяной массив или забитые в грунт через ледяной массив, вмороженные в ледяной массив рамы, за которые закреплены швартовные гаки.

12.12. Закладные детали ледяных сооружений следует предусматривать из дерева. Применение стальных элементов и конструкций в ледяном массиве без специальных мероприятий по предотвращению таяния льда в летний период (покраска белой краской, термозащита и т.п.) не рекомендуется.

12.13. Следует предусматривать перехват и отвод от ледяного сооружения береговых поверхностных вод, например, созданием водоотводящих канав.

ОСНОВНЫЕ ПОЛОЖЕНИЯ РАСЧЕТА

12.14. При расчетах причальных сооружений для условий Арктики необходимо учитывать следующие особенности:

воздействие на сооружение значительных ледовых нагрузок и перепадов температур;

наличие на реках Крайнего Севера бурных весенних паводков, сопровождающихся ледоходом, большим подъемом уровня воды, наводнениями;

наличие мерзлоты в основании сооружения и возможность ее деградации, термоабразия морских берегов;

промерзание обратной засыпки сооружения в зимне-весенний период;

возможность использования льда и ледогрунта в качестве строительного материала и холода как фактора строительного производства.

12.15. Нагрузки от льда следует определять в соответствии с требованиями СНиП 2 06.04-82, а также пп. 12.16-12.19. Нагрузки от льда следует принимать в составе основного сочетания нагрузок. Нагрузки от льда по возможности должны уточняться в процессе натурных измерений.

12.16. Прочностные характеристики льда рекомендуется определять согласно приложения 8, с последующим уточнением в натурных условиях.

12.17. При определении ледовой нагрузки расчетную толщину льда следует принимать наибольшей из наблюдаемого ряда натурных измерений в период ледохода, при вскрытии акватории или возможных ветровых нагонах льда в акваторию порта.

При отсутствии данных о размерах льдин и их скорости движения ледовые нагрузки допускается определять исходя из условия разрушения льда.

12.18. Статические нагрузки от температурного расширения льда и влияние работы ледокола в непосредственной близости от сооружения для причальных сооружений в морских акваториях допускается не учитывать. В речных условиях статическую нагрузку от температурного расширения льда следует определять в соответствии с требованиями СНиП 2.06 04-82.

12.19. Нагрузки от примерзания к сооружению ледяного покрова при изменении уровня воды в ливных морях допускается не учитывать в связи с образованием приливной трещины в ледяном покрове на расстоянии не более 3-5 м от сооружения.

12.20. Расчет засыпных причальных сооружений необходимо проводить с учетом изменения прочностных и деформативных характеристик мерзлого грунта, который существует или образуется в теле засыпки постоянно или временно в зимне-весенний период, в период воздействия ледовых нагрузок.

12.21. Высоту ледогрунтового ядра в засыпке следует определять по результатам натурных наблюдений.

При отсутствии таких данных высоту ледогрунтового ядра допускается принимать равной расстоянию от отметки кордона сооружения до нижней кромки льда на расчетный момент времени.

12.22. Расчетные характеристики мерзлых грунтов допускается принимать:

угол внутреннего трения мерзлых грунтов равным углу внутреннего трения талого (немерзлого) грунта;

предельно-длительное сцепление мерзлых грунтов

,                                                       (12.1)

где |t| - абсолютное значение отрицательной температуры грунта °С;

ас и bс - параметры, зависящие от грунта.

Для песка

aс=0, bс=100 кПа;

для связных грунтов

aс=30 кПа, bс=50 кПа.

Допускается в расчетах принимать для мерзлых грунтов предельное эквивалентное сцепление как комплексную характеристику, учитывающую совместно силы сцепления и трения, которое определяется в соответствии с требованиями ГОСТ 24586-81 и СНиП II-18-78.

12.23. Ледяные причальные сооружения следует, как правило, рассчитывать на эксплуатационную равномерно распределенную нагрузку q=40 кПа.

РАСЧЕТ ПРИЧАЛЬНЫХ СООРУЖЕНИЙ ТИПА БОЛЬВЕРК НА ЛЕДОВУЮ НАГРУЗКУ

12.24. Дополнительные усилия в элементах стенок больверка от ледовых нагрузок суммируются с усилиями, полученными статическим расчетом лицевой и экранирующих стенок больверка в соответствии с требованиями раздела 8 настоящей Инструкции.

12.25. В основу расчета больверков на ледовую нагрузку положен расчет балки на условных упругооседающих опорах со следующими допущениями:

коэффициент постели изменяется по высоте стенки больверка по линейному закону;

при деформации стенки больверка в сторону акватории условные опоры, расположенные выше отметки дна у сооружения, из расчета исключаются, жесткость условных опор ниже отметки дна определяется по характеристикам грунта перед стенкой;

при нагрузке на условную опору, превышающую ее несущую способность, опора заменяется силой, равной по величине несущей способности условной опоры и направленной в противоположную сторону нагрузке.

12.26. Расчет стенок больверка на ледовую нагрузку следует проводить по программе LED, при этом эксплуатационная нагрузка на территории причала, как правило, не учитывается.

12.27. При расчете обычного больверка (безанкерного, заанкеренного) эксплуатирующегося с первого дня с мерзлым грунтом в теле засыпки, интенсивность активного давления грунта на лицевую стенку больверка определяется:

в зоне мерзлого грунта

Pa=0;                                                                   (12.2)

ниже слоя промерзшей засыпки

Pa=(qhc+gz)lи,                                                          (12.3)

где qh - интенсивность вертикального давления грунта на отметке нижней границы слоя промерзшей засыпки, кПа;

c - коэффициент; определяемый по формуле (12.4);

z - текущая координата, отсчитываемая от отметки нижней границы слоя промерзшей засыпки, м;

g - удельный вес грунта, кН/м3. Коэффициент c определяется по формуле

,                                     (12.4)

где m=ctg(d+jctg(dм- j);                                                    (12.5)

m0=ctg(d+j)ctgj;                                                         (12.6)

j - угол внутреннего трения грунта, град;

dм - угол трения призмы обрушения по слою промерзшей засыпки, (рад, принимаемый равным 0,33j;

d - угол трения грунта о стенку, принимаемый равным 0,667j.

12.28. Коэффициент пропорциональности мерзлых грунтов при отсутствии натурных данных допускается определять по формуле

,                                                     (12.7)

где К - коэффициент пропорциональности талого грунта кН/м4 по п. 5.42 настоящей Инструкции;

Ем, Е - модуль упругости соответственно мерзлого и талого грунта, кПа.

В предварительных расчетах для песчаной засыпки допускается принимать Км=8К.

Модуль упругости мерзлого грунта Ем допускается приблизительно определять по табл. 12.1.

Таблица 12.1

Наименование грунта

Модуль упругости Е×103 (кПа) при температуре грунта

от-0,2 до-0,5°С

от-0,5 до 1,5°С

от -1,5 до -6°С

Песок

1000

3000

5000

Супесь

800

2000

3000

Суглинок

500

1200

2000

Глина

300

600

1000

12.29. При расчете больверков на ледовую нагрузку необходимо учитывать возможность повышения эксплуатационных равномерно распределенных нагрузок на территории причала в зимне-весенний период за счет промерзания засыпки.

Величину повышенной эксплуатационной равномерно распределенной нагрузки допускается определять по формуле

,                                                               (12.8)

где q - эксплуатационная равномерно распределенная нагрузка на территории причала, кПа;

c - коэффициент, определяемый по формуле (12.4).

В этих случаях следует проверить прочность и устойчивость сооружения при повышенной эксплуатационной равномерно распределенной нагрузке.

РАСЧЕТ КОНСТРУКЦИЙ ИЗ ЦИЛИНДРИЧЕСКИХ ЯЧЕЕК

12.20. Расчет устойчивости конструкций из цилиндрических ячеек на сдвиг по вертикальной плоскости следует проводить в соответствии с требованиями раздела 11, а также указаний настоящего раздела.

12.31. При расчете цилиндрических конструкций суммарный момент Мгя удерживающих сил с учетом промерзания засыпки определяется по формуле

Мгя=Мr+0,589d2hяRcp+Мся+2Мия,                                           (12.9)

где Мr - суммарный момент удерживающих сил, кН×м, определяемый по п. 11.2;

d - диаметр конструкции, м;

hя- высота ледогрунтового ядра, м;

Rcp - прочность ледогрунтового ядра на срез, НПа, определяемая по приложению 3;

Мся - реактивный момент, кН×м, возникающий при отрыве ледогрунтового ядра от конструкции в результате ее смещения в плоскости смерзания;

Мия - реактивный момент, кН×м, возникающий при отрыве ледогрунтового ядра от конструкции в результате ее поворота в плоскости, перпендикулярной плоскости смерзания.

Реактивные моменты Мся, Мия определяются по формулам:

Мся=0,3d2hяRсм;                                                           (12.10)

Мия=0,13dh2яRu                                                            (12.11)

где Rсм - прочность смерзания ледогрунтового ядра с материалом конструкции, кПа;

Ru - прочность ледогрунтового ядра на изгиб, кПа, принимаемая равной 0,5Rсж (Rсж - прочность на сжатие).

Примечание.

При отсутствии натурных данных, подтверждающих смерзание ледогрунтового ядра с конструкцией, реактивные моменты Мся и Мия принимаются равными нулю.

РАСЧЕТ УЗКИХ ЗАСЫПНЫХ ПИРСОВ

12.32. Расчет устойчивости узких засыпных пирсов на сдвиг по вертикальной плоскости следует проводить в соответствии с требованиями раздела 11, а также указаний настоящего раздела.

12.33. При расчете узких засыпных пирсов суммарный момент Мп1 удерживающих сил, отнесенный к 1 м длины пирса, с учетом промерзания засыпки определяется по формуле

Мп1=Мr+0,676bпhяRсp+Мсм+м,                                        (12.12)

где Мr, - суммарный момент удерживающих сил, кН×м/м, определяемый по п. 11.11;

bп - ширина пирса, м;

hя - высота ледогрунтового ядра, м;

Мсм - реактивный момент, кН×м/м, возникающий при отрыве ледогрунтового ядра от поперечных стенок;

Мм - реактивный момент, кН×м/м, возникающий при отрыве ледогрунтового ядра от лицевой стенки;

Rсp, -тоже, что в п. 12.31.

Реактивные моменты Мсм, Мм определяются по формулам:

;                                               (12.13)

,                                               (12.14)

где ан - расстояние между поперечными стенками, м;

Ru, Rсм - то же, что в п. 12.31;

Примечание.

При отсутствии смерзания ледогрунтового ядра со стенками реактивные моменты Мсм и Мм принимаются равными нулю.

РАСЧЕТ ОТКОСНЫХ СООРУЖЕНИЙ

12.34. Длину возможного вползания льда на откос сооружения от уровня воды под действием течения или ветра рекомендуется определять по формуле

,                                (12.15)

где Fh - горизонтальная ледовая нагрузка на сооружение, кН;

a - угол наклона поверхности откоса к горизонтали, град;

f - коэффициент трения льда по поверхности вползания, принимаемый по табл. 12.2;

lс - длина сооружения, равная 1 м;

gл - удельный вес льда, кН/м3;

td - расчетная толщина льда, м;

С - удельное сцепление льда, кПа.

Высоту возможного вползания льда на откос сооружения от уровня воды следует определять по формуле

h0=l0sina                                                      (12.16)

Таблица 12.2

При вползании льда

Коэффициент трения f

по льду

0,1

по бетону

0,1

по грунту

0,15

по снегу толщиной:

 

t=0,5 cм

0,17

t=2,0 см

0,27

t=15,0 см

0,92

12.35. Высоту нагромождения льда в навале от уровня воды при его движении на откос сооружения допускается определять по формуле

,                                        (12.17)

где bл - угол естественного откоса льда в навале, принимаемый равным 30°;

f - коэффициент трения льда по льду (см. табл. 12.2).

12.36. Плиту, уложенную на откос, следует рассчитывать как балку на упругом основании на нагрузку равную ледовой.

12.37. Вес плиты Gпл определяется из условия

,                                                (12.18)

где g gc, g'п - тo же, что в п. 4.3;

N0 - сила, отрывающая плиту, кН;

R1 - смерзание плиты с подстилающим грунтом основания, кН

;                                                 (12.19)

R1=ARсг;

где lпл - длина плиты, контактирующей со льдом, м;

Rсл - прочность смерзания льда с материалом плиты, кПа;

А - площадь плиты, контактирующей с мерзлым грунтом основания, м2;

Rсг - прочность смерзания мерзлого грунта основания с материалом плиты, кПа.

Примечание.

При отсутствии натурных данных, подтверждающих смерзание плиты с подстилающим грунтом основания величина R1 принимается равным нулю.

РАСЧЕТ ЛЕДЯНЫХ СООРУЖЕНИЙ

12.38. При расчете ледяных сооружений на всплытие должно быть выполнено условие

,                                                      (12.20)

где g gc, gп - тo же, что в п. 4.3;

Gм - вес ледяного сооружения, кН;

Pb - подъемная сила всплытия ледяного массива, кН,

Pb=Vл(gb-gл)                                                        (12.21)

где Vл - объем ледяного массива, находящегося в воде м3;

gb, gл соответственно удельный вес воды и льда, кН/м3.

12.39. Расчет ледяных сооружений на плоский сдвиг следует проводить в соответствии с требованиями СНиП 2.02.02-85, при этом коэффициент трения льда по грунту допускается принимать равным 0,15.

12.40. Проверка ледяного сооружения на срез по горизонтальной плоскости на уровне действия деловой нагрузки проводится, исходя из условия

                                                      (12.22)

где g gc, gп - тo же, что в п. 4.3;

Fh - ледовая нагрузка, отнесенная к 1 м длины сооружения, кН/м;

RCF - расчетная несущая способность на срез сечения (1м по длине сооружения) на уровне действия ледовой нагрузки, кН/м,

RCF=bFRсл,                                                            (12.23)

где bF - ширина сечения на уровне действия ледовой нагрузки, м;

Rсл - расчетное сопротивление льда на срез, кПа.

При отсутствии данных допускается расчетное сопротивление искусственного льда на срез Rсл принимать равным 0,4Rсж, (Rсж - расчетное сопротивление льда принимаемое по табл. 12.3).

Таблица 12.3

Способ намораживания

Температура льда, °С

Сопротивление льда сжатию, МПа при солености льда %

1-3

3-5

5-8

Послойное

-3+-5

1,7

1,4

1,1

-5+-7

2,9

2,6

2,1

-7+-10

3,4

3,0

2,4

Дождевание (набрызг)

-3+-5

1,1

1,0

0,9

-5+-7

1,3

1,2

1,1

-7+-10

1,5

1,3

1,2

Объемное промораживание

-3

2,0

-

-

-12

4,0

-

-

13. ПРОЕКТИРОВАНИЕ БЕРЕГОУКРЕПИТЕЛЬНЫХ СООРУЖЕНИЙ

13.1. Указания настоящего раздела распространяются на проектирование берегоукрепительных сооружений на защищенной акватории морских портов и судоремонтных заводов с высотами волн hi£2,0 м.

13.2. Берегоукрепительные сооружения предназначены для защиты существующих и вновь образуемых территорий от волновых и ледовых воздействий, изменения уровней воздействия размывающих течений; для использования при необходимости в качестве мелководных причалов.

13.3. Проекты берегоукрепительных сооружений должны разрабатываться с учетом перспективы развития портов и СР3 на основе исходных данных о естественных условиях района строительства и с учетом условий производства работ, приведенных в пп. 1.6, 1.7.

13.4. Берегоукрепительные сооружения не должны ухудшать безопасность мореплавания за счет изменения режима волнения и течений, заносимости акватории и фарватера, не должны создавать подпора грунтовых вод в прилегающих оползневых склонах.

13.5. Класс берегоукрепительных сооружений следует назначать в соответствии с требованиями СНиП 2.06.01-86.

13.6. Строительные материалы для возведения берегоукрепительных сооружений (камень, бетон, железобетон, сталь, полимерные синтетические материалы, щебень и гравий, грунты засыпки) должны соответствовать требованиям раздела 1 настоящей Инструкции.

13.7. Конструкцию берегоукрепительного сооружения следует выбирать, исходя из технико-экономической целесообразности ее применения в конкретных условиях строительства на основе сопоставления вариантов.

Следует применять прогрессивные технические решения, учитывающие опыт строительства, эксплуатации и результаты натурных и лабораторных исследований, причины повреждений и аварий аналогичных сооружений.

При применении новых типов берегоукрепительных сооружений либо их отдельных элементов следует, как правило, проводить модельные исследования, а в особо ответственных случаях - исследования на опытных участках.

13.8. Берегоукрепительные сооружения подразделяются:

по назначению - на постоянные и временные;

по принципу работы - на волногасящие (откосные) и волноотражающие (полуоткосные и вертикальные стены).

Условия применения рекомендуемых типов берегоукрепительных сооружений приведены в табл. 13.1.

Таблица 13.1

Тип сооружения, вид крепления

Основные условия применения

Примечание

1. Откосный

Наличие территории и ограничений по отраженной волне

 

а) с креплением откосов сортированным камнем, массивами (черт. 13.1, а)

отсутствие архитектурных требований

 

б) из несортированного камня без планировки откосов (черт. 13.1, б)

 

Не рекомендуется в условиях стесненных акваторий

в) с креплением откоса бетонными или железобетонными сплошными или щелевыми плитами (черт. 13.1, в, г)

Наличие архитектурных требований

Допускается каменная отмостка надводной части при воздействии волн hi<0,7 м и пологости откоса сtgj£5

2. Полуоткосный, из обыкновенных или пустотелых массивов, шпунта или сплошного ряда свай с креплением откосов камнем, плитами (черт. 13.1 д, е)

Дефицит территории и наличие частичного ограничения по отраженной волне; необходимость использования в качестве мелководного причала

 

3. Вертикальный, гравитационного типа или типа "больверк"

Дефицит территории и отсутствие ограничений по отраженной волне; необходимость использования в качестве мелководного причала

См. табл. 2.1

Черт. 13.1. Типы берегоукрепительных сооружений

а-г - откосного типа; д, е - полуоткосного типа; 1 - каменная наброска из сортированного камня; 2 - обратный фильтр; 3 - упор (каменный банкет); 4 - засыпка (песок, песчаногравелистый грунт др.); 5 - каменная наброска из несортированного камня; 6 - профиль переформирования; 7 - бетонная или железобетонная плита; 8 - упор (массив); 9 - выкладка камнем массой не менее 100 кг; 10 - упор (обыкновенный или пустотелый массив); 11 - каменная постель; 12 - разгрузочная каменная призма; 13 - шпунт или сплошной ряд свай; 14 - оголовок, 15 - анкерная тяга; 16 - анкерная плита

13.9. При выборе типов конструкций берегоукрепительных сооружений должны учитываться следующие дополнительные рекомендации:

а) в условиях агрессивной среды, при повышенных требованиях по долговечности крепления в условиях сурового климата, при необходимости защиты откоса водопроницаемым креплением для его дренирования, в условиях неравномерной осадки грунта основания рекомендуется крепление откосов из камня;

б) при неблагоприятных ледовых условиях и истирающих воздействиях ледовых полей следует применять массивные конструкции с использованием крупноблочных элементов, отдавая предпочтение наклонным формам грани сооружения, непосредственно подвергающимся действию льдин;

в) в условиях сильных придонных течений, размывающих дно, следует предусматривать мероприятия по защите дна от размыва;

г) следует отдавать предпочтение конструкциям, содержащим наименьший объем трудоемких подводно-технических работ.

При проектировании берегоукрепительных сооружений для условий Арктики следует также руководствоваться указаниями раздела 12.

13.10. Продолжительность строительства каждого завершенного участка берегоукрепления должна соответствовать периоду с наиболее благоприятными погодными условиями в районе строительства.

Для сооружений, продолжительность строительства которых превышает этот период, в проекте должны предусматриваться решения по промежуточному закреплению участков незавершенного строительства.

При возведении берегоукрепительных сооружений на всех стадиях строительства сооружение и его элементы должны быть устойчивы против волнения.

13.11. При разработке проекта реконструкции берегоукрепительных сооружений следует тщательно изучить причины имевших место повреждений и разрушений и принимать такие проектные решения, которые максимально использовали бы существующие конструкции в составе проектируемых сооружений и учитывали предшествующий опыт эксплуатации.

ОСНОВНЫЕ КОНСТРУКТИВНЫЕ ТРЕБОВАНИЯ

13.12. Верхняя граница откосного берегоукреплеиия должна определяться расчетом высоты наката волн по указаниям СНиП 2 06 04-82* и Пособия к нему.

Для уменьшения высоты наката волн рекомендуется откосным сооружениям придавать ступенчатую форму, либо устраивать специальные противонакатные полосы из крупных камней.

При устройстве по верху крепления парапета с волноотбойным козырьком верхняя граница крепления может быть понижена.

13.13. Вид крепления откосов берегоукрепительных сооружений следует устанавливать, исходя из технико-экономической оценки вариантов, агрессивности воды, долговечности крепления в условиях эксплуатации, архитектурных требований.

Примечание.

При наличии данных, обоснованных опытом строительства и эксплуатации, допускается принимать и другие виды креплений, кроме приведенных и табл. 13.1.

13.14. Крепление откоса делится на основное, расположенное в зоне максимальных волновых и ледовых воздействий, возникающих в эксплуатационный период, и облегченное - ниже основного крепления.

Верхней границей основного крепления, как правило, следует считать верхнюю границу откосного берегоукрепления.

13.15. Нижнюю границу основного крепления следует назначать, считая от минимального уровня воды, на глубине d=2h1%, где h1% - высота расчетной волны обеспеченностью 1% в системе. При этом нижняя граница основного крепления должна быть ниже минимального уровня воды не менее чем на 1,5t, где t - расчетная толщина ледяного покрова.

13.16. В зоне основного крепления рекомендуется применять бетонные и железобетонные плиты, массивы, камень; в зоне облегченного крупнообломочные грунты, наброску из камня. При кратковременных больших понижениях уровня облегченные крепления допускается выполнять из железобетонных плит.

13.17. При сопряжении основного и облегченного крепления, на промежуточных и нижних границах креплений различных видов, а также на разделительных бермах по высоте откоса необходимо предусматривать упоры креплений.

Упоры устраиваются в виде каменных банкетов, бетонных и железобетонных массивных конструкций, заглубленных в грунт, конструкций из свай, шпунта и др.

Упоры в виде банкетов из крупнообломочных материалов и камня (черт. 13.1, а) допускается применять в основании защищаемых откосов.

Упоры в виде массивных бетонных и железобетонных конструкций следует применять как на промежуточных бермах откоса, так и в его основании и на дне (черт. 13.1, в, г, д).

Упоры со свайно-шпунтовым основанием применяются у подошвы откоса, на нижней границе облегченных креплений и наиболее рациональны для защиты креплений от подмыва при вероятных значительных переформированиях дна (черт. 13.1, е). Анкерные устройства свайно-шунтовых оснований следует размещать вне призмы обрушения откоса. С тыловой стороны ограждений в виде сплошного ряда свай должна быть отсыпана призма из каменных материалов в виде грунтонепроницаемого обратного фильтра (см. черт. 13.1, е). Глубина погружения свай определяется с учетом глубины вероятного размыва и условий устойчивости конструкции откосного берегоукрепления в целом.

13.18. Защиту дна перед сооружением от размыва следует предусматривать, если максимальные донные скорости Vb,max превышают допускаемые значения неразмывающих донных скоростей Vb,adm определяемых по указаниям СНиП 2.06.04-82* для сооружений вертикального типа и по указаниям п. 13.26 для сооружений откосного типа. При этом ширину полосы защиты рекомендуется назначать равной (0,15-0,25)l, где l - средняя длина волны. Большее значение ширины защищаемой полосы рекомендуется при более слабых грунтах дна.

13.19. Для креплений откосов из сортированного камня масса элементов наброски должна увеличиваться послойно от основания к периферии; каждый последующий слой должен надежно защищать нижележащий слой от вымывания. Верхний слой наброски должен состоять по высоте не менее чем из двух рядов камней, устойчивых против волнового воздействия.

Пологость откосов ctgj крепления из сортированного камня при расположении каменного крепления в зоне наката волн рекомендуется принимать в пределах 1,5£ctgj<2,5.

13.20. Конструкцию откосного типа в виде наброски из несортированного камня без планировки откосов (черт. 13.1, б) рекомендуется применять для защиты территорий портов, образуемых путем отсыпки грунта в море; для сопряжений портовых сооружений с берегом.

При проектировании наброски из несортированного камня без планировки откосов пологость подводного и надводного откосов сtgj следует принимать не менее 1,25; подход волн к сооружению - фронтальный с отклонением ±20°; средний диаметр камня Dmt в пределах 0,65³Dmt³0,24 м.

13.21. Крепление откосов из сборных бетонных и железобетонных плит (сплошных и щелевых) рекомендуется применять при пологости откосов в пределах 2,0£ctgj£3,5, отсутствии агрессивного действия воды, возможности возникновения неравномерных осадок.

Максимальный размер плит следует устанавливать с учетом условий транспортирования и удобства укладки на откос.

13.22. Обратные фильтры под креплением откосов, выполненные в виде каменной наброски, плит с открытыми швами или сквозными отверстиями, могут состоять из одного слоя разнозернистого материала или двух и более слоев материалов с различными по крупности частицами. В составе фильтра могут применяться искусственные водопроницаемые материалы (нетканое иглопробивное полотно из непрерывных волокон, нетканое полотно - дорнит и т.п.).

При проектировании обратных фильтров следует руководствоваться указаниями Инструкции по проектированию обратных фильтров гидротехнических сооружений.

13.23. Берегоукрепительные сооружения полуоткосного или вертикального типов, используемые в качестве мелководных причалов, следует проектировать в соответствии с указаниями разделов Инструкции, относящихся к проектированию соответствующих конструкций причалов.

УКАЗАНИЯ ПО РАСЧЕТУ

13.24. Расчеты берегоукрепительных сооружений, их конструктивных элементов и оснований следует выполнять в соответствии с указаниями СНиП 2.06.01-86 по предельным состояниям.

13.25. Обеспеченность расчетного уровня воды назначается в соответствии с указаниями СНиП 2.06.04-82*.

Обеспеченность волн в системе при определении высоты наката волн на откос принимается 1%, при расчете толщины покрытий - 5%.

13.26. Максимальную донную скорость Vb,max, м/с, перед сооружением откосного профиля рекомендуется определять по формуле

,                                                (13.1)

где Кin - коэффициент интерференции, принимаемый для откоса с каменным креплением 1,15, а для откоса с креплением из плит 1,50;

Кs1 - коэффициент, определяемый по СНиП 2.06.04-82*;

h5% - высота волны обеспеченностью 5% в системе;

d - глубина воды перед сооружением.

13.27. Массу отдельного элемента крепления откосов, соответствующую состоянию его предельного равновесия от действия ветровых волн, следует определять по СНиП 2.06.04-82*.

13.28. Толщину плит крепления рекомендуется определять по формуле

,                                              (13.2)

где j - угол наклона плит к горизонту;

К - коэффициент, принимаемый для сплошных плит равным 0,14, для щелевых - 0,07;

r - удельный вес воды;

rm1 - удельный вес материала плиты;

l - длина плиты в направлении, нормальном к урезу воды.

13.29. Площадь щелей в щелевых плитах следует принимать от 10 до 20% от площади плиты, а ширину щелей - b1 равной 0,10-0,15 м для рядового камня массой 15-1000 кг.

При необходимости применения под плитами камня других фракций ширина щелей в них должна удовлетворять условию

b1£0,7Dmin,                                                          (13.3)

где Dmin - диаметр камня, определяемый по формуле

,                                                   (13,4)

где mmin - минимальный вес камня;

rm2 - удельный вес камня.

13.30. При расчете плит крепления откосов на воздействие ледовых нагрузок значения этих нагрузок следует определять в соответствии с указаниями СНиП 2.06.04-82*. Расчеты плит по прочности и трещиностойкости должны выполняться при наиневыгоднейшем контакте плиты с поверхностью основания как балки на двух опорах.

Примечание.

Размеры плит рекомендуется корректировать по результатам модельных исследований.

13.31. Расчеты общей устойчивости берегоукрепительных сооружений следует выполнять в соответствии с указаниями раздела 6 настоящей Инструкции.

13.32. При расчете берегоукрепления в виде наброски из несортированного камня без планировки откосов необходимо определить профиль переформирования наброски, т.е. определить ширину размыва наброски поверху b, глубину ее размыва d1.

13.33. Ширину размыва наброски поверху b (черт. 13.2) рекомендуется определять по формуле

,                                      (13.5)

где hcal - превышение отметки территории над расчетным уровнем;

Dmt - средний диаметр камня, приведенный к диаметру шара, определяемый по формуле (13.4) при Dmin=Dmt и mmin=mmt, где mmt - средневзвешенная масса камня в наброске.

Расчетную ширину размыва bcal определяют по формуле

bcal1=K1b,                                                                 (13.6)

где К1 - коэффициент, определяемый по табл. 13.2 в зависимости от отношения

Таблица 13.2

0,15

0,22

0,29

0,36

K1

1,0

1,1

1,2

1,3

Промежуточные значения К1 определяются линейной интерполяцией.

Черт. 13.2. Схема к расчету наброски из несортированного камня бед планировки откосов

1 - первоначальный профиль; 2 - фактический профиль размыва; 3 - расчетный профиль размыва

13.34. Глубину размыва наброски d1 рекомендуется определять по формуле

,                                            (13.7)

Пологость откоса сtgj от расчетного уровня воды до глубины d1 рекомендуется определять в зависимости от ширины переформирования наброски на уровне дна bcal,2, определяемого по формуле

bcal,2,=К2 bcal,1,                                                            (13.8)

где К2 - коэффициент, определяемый по табл. 13.3 в зависимости от глубины перед сооружением d.

Таблица 13.3

d

2h1%

3h1%

4h1%

5h1%

6h1%

(7-8)h1%

К2

1,20

0,80

0,60

0,35

0,25

0,23

Промежуточные значения определяются линейной интерполяцией.

14. ОСОБЕННОСТИ ПРОЕКТИРОВАНИЯ ПОРТОВЫХ СООРУЖЕНИЙ В СЕЙСМИЧЕСКИХ РАЙОНАХ

ОСНОВНЫЕ КОНСТРУКТИВНЫЕ ТРЕБОВАНИЯ

14.1. Проектирование портовых сооружений в сейсмических районах следует производить в соответствии с требованиями СНиП II-7-81, СНиП 2.06.01-86 и указаний настоящего раздела.

14.2. При проектировании причальных сооружений следует предусматривать мероприятия, способствующие повышению их сейсмостойкости. Для гравитационных сооружений необходимо предусматривать устройства, препятствующие сдвигу сооружения по основанию ("зуб", упор и т.д.).

В сооружениях массивовой кладки следует использовать фасонные в поперечном сечении сооружения блоки или монолитную железобетонную обвязочную балку (шпонку) в верхнем курсе массивов.

В сооружениях эстакадного типа рекомендуется предусматривать пластические поглотители энергии колебаний (устройства типа диагональных связей между сваями эстакады), гасители колебаний или сейсмоизоляцию плиты верхнего строения.

14.3. Для засыпки за стенку рекомендуется применять однородный песчано-гравийный грунт или камень. Не рекомендуется устройство засыпок путем намыва. Следует предусматривать послойную засыпку грунта за стенку при обязательном уплотнении каждого отсыпанного слоя.

14.4. При замене слабого грунта в основании больверка необходимо, чтобы грунт замены располагался на плотные подстилающие или закрепленные грунты.

14.5. В заанкеренных подпорных стенках с целью повышения сейсмостойкости анкерной плиты (анкерной стенки) перед ее лицевой гранью рекомендуется устраивать плотное грунтовое ядро из крупнообломочных или песчаных грунтов.

14.6. Конструкции сопряжения анкерных тяг с сооружениями и анкерными опорами должны исключать возникновение изгибающих моментов в анкерах. Крепление концов анкерных тяг рекомендуется выполнять шарнирными.

14.7. В пределах секции сооружения длина тяг и марка стали должны быть идентичны.

При возведении сооружения рекомендуется обеспечить одинаковое предварительное напряжение анкерных тяг.

На анкерных тягах рекомендуется постановка специальных элементов, обеспечивающих выравнивание усилий в анкерах в процессе эксплуатации сооружения.

14.8. Сборные элементы верхнего строения и балочные элементы крановых путей должны иметь жесткие соединения, исключающие возможность сдвига в любом направлении. Узлы соединения должны тщательно омоноличиваться (черт. 14.1).

14.9. Во избежание увеличения сейсмических нагрузок на сооружения рекомендуется располагать склады, производственные корпуса и другие объекты порта в тыловой части причала на расстоянии не менее 2,5Н, где Н - высота причала.

14.10. Крановые пути за стенками рекомендуется устраивать на свайных фундаментах с передачей нагрузок на глубинные слои основания.

14.11. Антисейсмические швы в протяженных сооружениях целесообразно совмещать с температурно-осадочными швами. Ширину антисейсмических швов в сооружениях эстакадного типа следует назначать по результатам расчета и принимать не менее 40 мм.

Антисейсмические швы в плитах покрытий верхнего строения должны закрываться компенсаторами или нательниками из оцинкованной стали, алюминия или пластмассы, не препятствующих их взаимному перемещению.

Швы между секциями заполняются упругими прокладками, не препятствующими горизонтальным смещениям секций. В качестве прокладок следует применять ленты из пенопласта, губчатой резины и других упругих материалов.

Черт. 14.1. Омоноличивание сборных плит покрытия

1- шпонка; 2 - каркас; 3 - бетон марки М400 на легком заполнителе; 4 - полки плит покрытия; 5 - цементно-бетонное покрытие

Черт. 14.2. Конструкция связи между секциями причала

1 - стержень; 2 - труба; 3 - бетон омоноличивания; 4 - анкерующая арматура; 5 - сборный ригель

Целесообразность соединения секций эстакад между собой специальными связями, препятствующими относительному сдвигу секций в направлении, перпендикулярном продольной оси сооружения, устанавливается по результатам сопоставления расчетов на основные сочетания нагрузок с учетом сил навала судов и на особое сочетание нагрузок с учетом сейсмических сил. При этом конструкция связей должна исключать возможность их хрупкого разрушения при сейсмических колебаниях.

Рекомендуемая конструкция связей между секциями показана на черт. 14.2.

14.12. В конструкциях свайных набережных и оторочек, эстакада и тыловое сопряжение должны соединяться между собой свободно опертыми и скользящими по одной из опор перекидными плитами, обеспечивающими раздельную работу эстакады и тылового сопряжения.

14.13. В качестве опор сооружений эстакадного типа рекомендуется применять сваи из стальных труб либо предварительно напряженных центрифугированных железобетонных оболочек. При проектировании предварительно напряженных железобетонных свай-оболочек и ригелей необходимо, чтобы предельный изгибающий момент из условия прочности превышал не менее чем на 25% изгибающий момент из условия трещиностойкости.

14.14. Сваи необходимо погружать до глубины залегания грунтов, структура которых не нарушается при сейсмическом воздействии.

14.15. Верхние концы свай должны быть жестко заделаны в ригель при ригельной конструкции верхнего строения и в плиту при плитной конструкции.

Для придания большей жесткости омоноличивания стыкам ригелей со сваями необходимо применять безусадочный цемент, предусматривать мероприятия, препятствующие усадке бетона омоноличивания.

Узлы соединения железобетонных ригелей с железобетонными сваями-оболочками должны быть усилены применением сборных сеток, спиралей или замкнутых хомутов с учетом знакопеременных нагрузок.

14.16. Горизонтальную жесткость сооружений эстакадного типа в поперечном и продольном направлениях при необходимости следует увеличивать применением наклонных свай, либо введением диагональных связей.

ОСНОВНЫЕ ПОЛОЖЕНИЯ РАСЧЕТА

14.17. Расчеты причальных сооружений, возводимых в районах с расчетной сейсмичностью 7 баллов и более, должны включать: оценку сейсмичности площадки строительства, формирование динамической расчетной схемы сооружения (приложение 9 рекомендуемое);

определение сейсмических нагрузок, действующих на сооружение при сейсмическом воздействии;

определение усилий в конструктивных элементах сооружения от сейсмических нагрузок при его колебаниях по главным формам, а для распорного сооружения - и от сейсмического давления грунта;

проверки прочности элементов конструкции и устойчивости сооружения на особое сочетание нагрузок в соответствии с перечнем предельных состояний первой группы (рекомендуемое приложение 10).

14.18. Сейсмичность площадки строительства следует устанавливать в соответствии с районированием по СНиП II-7-81, а также в зависимости от структуры и физико-механических свойств грунтов основания сооружения.

При этом к грунтам основания в расчетной схеме следует относить:

для сооружений распорного типа - грунты, расположенные ниже границы динамической расчетной схемы, для свайных пирсов и набережных грунты, расположенные ниже уровня действия максимальных изгибающих моментов в сваях в грунте.

14.19. Расчеты причальных сооружений следует выполнять на горизонтальное сейсмическое воздействие перпендикулярно продольной оси сооружения, а для эстакад - еще и совпадающее с продольной осью.

14.20. Расчетами определяются сейсмические нагрузки от масс сооружения, обусловленные его инерционностью, при этом необходимо учитывать массы конструктивных элементов сооружения, массы полезных грузов на причале, присоединенные массы воды и приведенные к уровню ростверка массы свай, а также для распорных сооружений массы грунта, окружающего конструкцию, с учетом его водонасыщенности.

14.21. Расчетная сейсмическая нагрузка, действующая на К-ю массу (или к-ю степень свободы) по динамической расчетной схеме, сформированной в соответствии с приложением 9, и соответствующая i-му тону собственных колебаний сооружения, определяется по формуле

Ski=K1K2KymKgAbihKi,                                                    (14.1)

где K1 - коэффициент, учитывающий допускаемые повреждения сооружения, K1=0,25;

K2 - коэффициент, учитывающий конструктивные особенности сооружения, для морских причальных сооружений K2=1,0;

Ky - коэффициент диссипации для причальных сооружений распорного типа при сейсмичности 7 и 8 баллов равен 0,7; при сейсмичности 9 баллов равен 0,65; для причальных сооружений эстакадного типа равен 1,2 при любой сейсмичности, а для сооружений с энергопоглотителями определяется дополнительными экспериментальными исследованиями;

mK - коэффициент инерции для "к"-й массы (или "к"-й степени свободы) равен: расчетной массе Мк для перемещения VК или моменту инерции масс qк для углов поворота aК т и т×м2;

g - ускорение свободного падения, м/с2;

А - коэффициент сейсмичности, равен 0,1; 0,2; 0,4 при расчетной сейсмичности 7, 8, 9 баллов соответственно;

bi - коэффициент динамичности, соответствующий 1-му тону собственных колебаний, принимается согласно СНиП II-7-81;

hKi. - коэффициент, зависящий от формы деформации сооружения при его собственных колебаниях по i-му тону.

Примечание.

При определении расчетного веса (или массы Мк и момента инерции масс qк), сосредоточенного в "к"-й точке расчетной схемы, а также эксплуатационной нагрузки следует принимать коэффициент надежности g1=1, при этом расчетную эксплуатационную нагрузку следует учитывать с коэффициентом сочетания 0,8.

14.22. Для причальных сооружений коэффициент формы следует определять по формуле

,                                                 (14.2)

где ХKi - относительное обобщенное перемещение сооружения в направлении k-й степени свободы (смещение V или угол поворота a) при его собственных колебаниях по i-му тону;

k - текущий номер степени свободы динамической расчетной схемы (k=1,2,...n);

n3 - число степеней свободы, совпадающих с направлением сейсмического воздействия (число степеней свободы, характеризующих перемещения);

n - общее число степеней свободы динамической расчетной схемы, включая и перемещения, и углы поворота.

14.23. Для сооружений распорного типа следует учитывать не менее пяти форм собственных колебаний, для сооружений эстакадного типа - не менее 2r форм, где r - количество секций в цепочке расчетной схемы причала.

14.24. В динамических задачах при определении периодов и форм собственных колебаний, сейсмических нагрузок и усилий от них в элементах сооружений следует использовать программы автоматизированных расчетов: для сооружений, динамические расчетные схемы которых составлены по МКЭ (см. рекомендуемое приложение 9), предлагается программа ЛИРА (ППП АПЖБК); для сооружений эстакадного типа с динамической расчетной схемой в виде цепочки жестких дисков - программа PIRS.

14.25. Сейсмические боковое давление грунта на стену следует определять в соответствии с теорией предельного равновесия.

При этом интенсивность горизонтальных составляющих активного и пассивного боковых давлений грунта следует определять по формулам

;                                   (14.3)

;                                    (14.4)

где Ран, Ррн - интенсивность горизонтальных составляющих соответственно активного и пассивного давлений несвязного грунта, кН/м2;

Рас, Ррс - интенсивность горизонтальных составляющих соответственно активного и пассивного давлений, обусловленная связностью грунта, кН/м2;

Аэа, Аэр - эффективные коэффициенты сейсмичности соответственно для зон активного и пассивного давлений грунта;

eа, eр - углы отклонения от вертикали равнодействующей сил веса и сейсмической силы, град;

j - угол внутреннего трения грунта, град;

, ea=arctgAэа,                                          (14.5)

, eр=arctgAэр,                                          (14.6)

где nа, np - количество учитываемых масс, расположенных соответственно в призмах распора и выпора (отпора) грунта;

v - количество учитываемых форм свободных колебаний сооружения;

GK,взв - расчетный вес в "к"-й точке с учётом взвешивающего воздействия воды, кН, gf=1;

14.26. Расчетные флуктуационные усилия в элементах конструкции либо перемещения узлов, возникающие при землетрясении в результате действия сейсмических нагрузок, следует определять по формуле

,                                                            (14.7)

где Nфi - флуктуационное (изменяющееся по направлению при землетрясении) усилие в рассматриваемом сечении конструкции от действия сейсмической нагрузки, определяемой по формуле (14.1), кН и кН×м.

14.27. Для распорных сооружений расчетные усилия в элементах конструкции следует определять от совместного действия на подпорную стенку сейсмического остаточного давления грунта и сейсмических нагрузок по формуле

N=Nост+Nф,                                                              (14.8)

где Nост - расчетное усилие (остаточное) в рассматриваемом сечении от действия сейсмического остаточного давления грунта, интенсивность которого определяется по формулам (14.3) и (14.4), кН и кН×м.

14.28. Расчет общей устойчивости причальных сооружений следует производить согласно указаниям раздела 6 настоящей инструкции, причем горизонтальная сейсмическая сила Sj, обусловленная массой тj, сдвигаемого j-го участка сооружения, учитывается как дополнительная статическая сила и определяется по формуле

,                                                             (14.9)

где

,                                                  (14.10)

nу - количество сосредоточенных масс в динамической расчетной схеме, охватываемых сдвигаемой зоной сооружения, границы которой определяются на основании расчета устойчивости сооружения без учета сейсмического воздействия.

14.29. Слабые по сейсмическим свойствам грунты в основании (в соответствии с указаниями СНиП II-7-81 отнесенные к III категории) следует проверять на способность сопротивления грунта сдвигу при сейсмическом воздействии.

Предельная сила сопротивления грунта должна быть больше сдвигающей сейсмической силы

;                                                    (14.11)

где G - расчетный вес сдвигаемого грунта, кН;

j - расчетный угол внутреннего трения грунта основания, град.

При нарушении условия (14.11) рекомендуется удалять слабый грунт с заменой его на крупнообломочный или песчаный крупнозернистый, либо закреплять его.

Следует также закреплять либо заменять структурно неустойчивые на динамические воздействия водонасыщенные грунты (способные к разжижению рыхлые пески независимо от влажности и крупности и слабые пылевато-глинистые (илистые) грунты).

Возможность нарушения структуры несвязных грунтов проверяется согласно Методическим рекомендациям по определению динамических свойств грунтов, скальных пород и местных строительных материалов.

14.30. При замене слабого грунта в основании лицевой стенки больверка отпор от отсыпанной призмы следует определять как наименьший из расчетов: либо пассивного давления с использованием формулы (14.4), либо сопротивления сдвигу призмы замененного грунта (см. черт. 14.3) по формуле (14.12).

Черт. 14.3. Сопротивление сдвигу призмы замененного грунта при сейсмическом воздействии

,                                       (14.12)

где  - сила сопротивления сдвигу прямоугольного элемента, кН;

=G1(tgj-Aэр),                                                    (14.13)

 - сила сопротивления сдвигу треугольного элемента, кН,

=G2[tg(q+j)-Aэр)],                                                 (14.14)

d - угол трения материала отсыпки по плоскости восприятия отпора лицевой стенкой, град;

j - угол внутреннего трения грунта основания, град,

С - сцепление грунта основания, кН/м2;

b - ширина прямоугольного элемента;

G2 и G2 - вес соответственно прямоугольного и треугольного элементов призмы замененного грунта, кН;

q - угол наклона откоса котлована, который следует назначать меньшим угла выпора грунта основания при сейсмическом воздействии.

ПРИЛОЖЕНИЕ 1.

Справочное

Перечень основных общесоюзных и ведомственных нормативно-технических документов, использованных в настоящей Инструкции

Шифр документа

Наименование документа

1. СНиП 2.06.01-86

Гидротехнические сооружения. Основные положения проектирования

2. СНиП 1.02.01-85

Инструкция о составе, порядке разработки, согласовании и утверждении проектно-сметной документации на строительство предприятий, зданий и сооружений

3. СНиП 2.06.08-87

Бетонные и железобетонные конструкции гидротехнических сооружений

4. СНиП 2.03.11-85

Защита строительных конструкций от коррозии

5. СНиП 2.03.01-84

Бетонные и железобетонные конструкции

6. СНиП 11-23-81

Стальные конструкции

7. СНиП 2.06.04-82*

Нагрузки и воздействия на гидротехнические сооружения (волновые, ледовые и от судов)

8. СНиП 2.02.02-85

Основания гидротехнических сооружений

9. СНиП 11-25-80

Деревянные конструкции

10. СНиП 2.02.01-83

Основания зданий и сооружений

11. СНиП 2.02.03-85

Свайные фундаменты

12. СНиП 1.02.07-87

Инженерные изыскания для строительства

13. СНиП 2.05.03-84

Мосты и трубы

14. СНиП 2.01.07-85

Нагрузки и воздействия

15. СНиП 3.07.02-87

Гидротехнические морские и речные транспортные сооружения

16. СНиП II-7-81

Строительство в сейсмических районах

17. СНиП 2.06.05-84

Плотины из грунтовых материалов

18. СНиП 12.06.07-87

Подпорные стены, судоходные шлюзы, рыбопропускные и рыбозащитные сооружения

19. СНиП II-18-76

Основания и фундаменты на вечномерзлых грунтах

20. СНиП 3.03.01-87

Несущие и ограждающие конструкции

21. СНиП 2.03.04-84

Бетонные и железобетонные конструкции, предназначенные для работы в условиях воздействия повышенных и высоких температур

22. СНиП 2.02.01-83

Основания зданий и сооружений

23. СНиП 2.01.01-82

Строительные климатология и геофизика

24. К СНиП 2.02.02-83

Пособие по проектированию оснований зданий и сооружений (НИИОСП им. Герсеванова)

25. К СНиП 3.07.02-87

Пособие по производству и приемке работ на строительство новых, реконструкцию и расширение действующих гидротехнических морских и речных транспортных сооружений (ЦНИИС)

26. К СНиП 2.06.04-82*

Пособие "Нагрузки и воздействия ветровых »волн на гидротехнические сооружения" (ВНИИГ им. Веденеева)

27. ВСН 5-84

Минморфлот

Применение природного камня в морском гидротехническом строительстве

28. ВСН 3-80

Минморфлот

ВСН 311-81

Минмонтажспецстрой СССР

Инструкция по проектированию морских причальных сооружений

29. ТУ 21-20-18-80

Цемент напрягающий. Технические условия. Ассоциация стройматериалов

30. ТУ 14-2-879-89

Прокат стальной горячекатаный шпунтовых свай типа Ларсен Технические условия Министерство металлургии СССР

31. ГОСТ 26633-85

Бетон тяжелый. Технические условия

32. ГОСТ 10268-80

Бетон тяжелый. Технические требования к заполнителям

33. ГОСТ 22266-76*

Цементы сульфатостойкие. Технические условия

34. ГОСТ 23732-79

Вода для бетонов и растворов. Технические условия

35. ГОСТ 380-88

Сталь углеродистая обыкновенного качества. Марки

36. ГОСТ 6713-75*

Прокат низколегированный конструкционный для мостостроения. Технические условия

37. ГОСТ 19281-89

Сталь низколегированная сортовая и фасонная. Технические условия

38. ГОСТ 10704-76*

Трубы стальные электросварные прямошовные. Сортамент

39. ГОСТ 19282-73*

Сталь низколегированная толстолистовая универсальная. Технические условия

40. ГОСТ 10706-76*

Трубы стальные электросварные прямошовные. Технические требования

41. ГОСТ 2590-88

Прокат стальной горячекатаный круглый. Сортамент

42. ГОСТ 977-88

Отливки из конструкционной нелегированной и легированной стали. Общие технические условия

43. ГОСТ 1412-85

Чугун с пластинчатым графитом для отливок. Марки

44. ГОСТ 8267-82

Щебень из природного камня для строительных работ. Технические условия

45. ГОСТ 8268-82

Гравий для строительных работ. Технические условия

46. ГОСТ 10260-82

Щебень из гравия для строительных работ. Технические условия

47 ГОСТ 9463-88

Лесоматериалы круглые хвойных пород. Технические условия

48. ГОСТ 8486-86*

Пиломатериалы хвойных пород. Технические условия

49. ГОСТ 17424-72*

Тумбы швартовные морские. Технические условия

50. ГОСТ 20522-75

Грунты. Метод статистической обработки результатов определения характеристик

51. ГОСТ 5686-78*

Сваи. Методы полевых испытаний

52. ГОСТ 24586-81

Грунты. Методы лабораторного определения характеристик прочности и деформируемости мерзлых грунтов

53. ГОСТ 9238-83

Габариты приближения строений и подвижного состава железных дорог колеи 1520(1524)мм

54. ГОСТ 10884-81*

Сталь арматурная термомеханически и термически упрочненная периодического профиля. Технические условия

55. ГОСТ 10922-84

Арматурные изделия и закладные детали сварные для железобетонных конструкций. Технические требования и методы испытаний

56. ГОСТ 14098-85

Соединения сварные арматуры и закладных изделий железобетонных конструкций. Типы, конструкция и размеры

57. РД 31.35.01-80

Рекомендации по антикоррозионной защите морских портовых сооружений, предназначенных для перегрузки химических грузов

58. РД 31.44.01-84

Правила технической эксплуатации подъемно-транспортного оборудования морских портов

59. РД 31.31.37-78

Нормы технологического проектирования морских портов

60. РД 31.35.06-81

Руководство по установлению норм эксплуатационных нагрузок на причальные сооружения распорного типа путем их испытание опытными статическими огрузками

61. РТМ 31.30.13-77

Руководство по расчету морских гидротехнических сооружений из оболочек большого диаметра

62. РД 31.31.49-88

Руководство по проектированию оснований под рельсовые пути кранов и перегружателей из сборных балок, уложенных на грунт

63. РД 31.31.27-31

Руководство по проектированию морских причальных сооружений

64. РД 31.31.43-86

Указание по проектированию подпричального откоса и тылового сопряжения набережных-эстакад, подверженных интенсивному волнению

65. РД 31.35.10-86

Правила технической эксплуатации портовых сооружений и акваторий

66. РТМ 31.30.16-78

Указания по проектированию больверков с учетом перемещений и деформаций элементов

67. РД 31.31.52-89

Временная инструкция по проектированию, строительству и эксплуатации ледяных причальных сооружений

68. РД 31.33.07-86

Руководство по расчету воздействий волн цунами на портовые сооружения, акватории и территории

69. ПДД

Правила дорожного движения, МВД СССР

70. РД 31.82.01-79

Требования безопасности труда, которые должны учитываться при проектировании морских портов

71. ЦНИИС

Минтрансстроя 1986 г.

Методические рекомендации по расчету и проектированию причальных сооружений из оболочек большого диаметра

72. П-01-72.Л.

Энергия, 1972 г.

Методические рекомендации по определению динамических свойств грунтов, скальных пород и местных строительных материалов

ПРИЛОЖЕНИЕ 2

Рекомендуемое

ДРЕНАЖНЫЕ УСТРОЙСТВА

Эффективным устройством для снятия подпора грунтовых вод с конструкции сооружения при засыпке пазух несвязным грунтом является щебеночный (гравийный) дренаж с водоотводами в сторону акватории. Назначение дренажа - хорошо пропускать воду и предотвращать вымывание грунта засыпки. Для этого необходимо так подобрать гранулометрический состав материала дренажа, чтобы размеры частиц самой мелкой его фракции в три-четыре раза превышали размеры удерживаемых, частиц грунта.

Конструкция дренажной призмы выбирается в зависимости от грунта обратной засыпки. Конструкция, представленная на чертеже, рекомендуется при обратной засыпке мелким песком. Та же конструкция с сокращением на верхний слой применима при засыпке среднезернистым песком. При обратной засыпке крупнозернистым песком рекомендуется исключить еще слой гравелистого песка.

При засыпке скальным грунтом гранулометрический состав дренажного фильтра следует подбирать таким образом, чтобы он удерживал самую мелкую фракцию скального грунта.

Боковые и верхние фильтрующие слои дренажной призмы, отсыпаемые из одной фракции, должны иметь толщину не менее 25 см, а слои из смешанного щебня - не менее 50 см.

Дренажная призма устраивается непрерывной вдоль линии кордона, непосредственно за лицевой стенкой. Водоотводные отверстия в лицевой стенке располагаются со следующим шагом:

в безливных морях при ожидаемом подпоре грунтовых вод до 1 м относительно расчетного уровня воды - приблизительно через 10 м, при подпоре более 1 м - приблизительно через 5 м;

в ливных морях с амплитудой колебаний уровня более 2м - приблизительно через 3 м.

Схемы дренажных устройств

1 - мелкозернистый песок; 2 - среднезернистый песок; 3 - гравелистый песок; 4 - щебень из смеси фракций 40+70 мм - 30%; 3+10 мм - 40%; 5 - камень 15+20 см; 6 - дренажная призма; 7 - стальной шпунт; 8 - железобетонный оголовок; 9 - водовыпуск; 10 - средний уровень воды; 11 - железобетонная свая-оболочка; 12 - уплотнение шва из досок с заполнением бетоном; 13 - низкий уровень воды

Водоотводные отверстия рекомендуется располагать ниже среднего уровня воды в безливных морях или среднего уровня воды при отливе в ливных морях, но не выше 0,5 м над расчетным уровнем.

ПРИЛОЖЕНИЕ 3

Рекомендуемое

НАГРУЗКА ОТ НАВАЛА СУДНА ПРИ ПОДХОДЕ К СООРУЖЕНИЮ

1. Кинетическую энергию навала судна Еq, кДж, при подходе его к причальному сооружению следует определять в соответствии со СНиП 2.06.04-82*.

2. Поперечную горизонтальную силу Еq, кН, от навала судна при подходе к сооружению необходимо определить для заданного значения энергии навала судна Еq, кДж, по графикам зависимости деформации ft м, отбойных устройств (и причального сооружения) от суммарного реактивного усилия Fq, кН, отбойных устройств и причального сооружения, а также суммарной энергии деформации Еtot, кДж, включающей энергию деформации отбойных устройств Ес, кДж, и энергию деформации причального сооружения Еi, кДж. При Еc³10Еi величину Еi допускается не учитывать. Энергию деформации причального сооружения Еi, кДж, следует определять по формуле

,                                                                (1)

где ki - коэффициент жесткости причального сооружения в горизонтальном поперечном направлении, кН/м.

3. Реактивное усилие Fс, кН, и энергию деформации Ес, кДж, резиновых отбойных устройств, изготавливаемых отечественной промышленностью, при заданной температуре воздуха следует определять по графикам:

для цилиндрических амортизаторов диаметром 1000 и 400 мм, работающих на радиальное сжатие, - черт. 1, 2.

для цилиндрических амортизаторов диаметром 1000 мм, работающих на торцевое сжатие (РАТ-1000),- черт. 3.

Черт. 1. Графики зависимости реактивного усилия Fе (сплошные линии) и энергоемкости Ее (штриховые линии) от деформации ft амортизационного устройства Д 1000 при температурах -40, -30, -20, -10 и 25°С - соответственно кривые 1, 2, 3, 4 и 5

Черт. 2. Графики зависимости реактивного усилия Fе (сплошные линии) и энергоемкости Ее (штриховые линии) от деформации амортизационного устройства Д 400 при температурах -40, -30, -20, -10 и 25°С - соответственно кривые 1, 2, 3, 4 и 5

Черт. 3. Графики зависимости реактивного усилия Fе (сплошные линии) и энергоемкости Ее (штриховые линии) от деформации ft амортизационного устройства PAT-1000 при температурах: -40°С - кривая 1; -30°С - кривая 2; -20°С - кривая 3; -10°С - кривая 4; 0°С - кривая 5; 10°С - кривая 6; 25°С - кривая 7

4. Продольная сила Fп, кН, от навала судна при подходе к сооружению должна определяться по формуле

Fп=m Fq,                                                                                                           (2)

где m - коэффициент трения, принимаемый в зависимости от материала лицевой поверхности отбойного устройства.

ПРИЛОЖЕНИЕ 4

Рекомендуемое

РАСЧЕТ РАЗМЕРОВ МАССИВОВ ДЛЯ ПРИЧАЛЬНЫХ СООРУЖЕНИЙ ИЗ КЛАДКИ МАССИВОВ РАВНОЙ МАССЫ

1. Массу обыкновенных бетонных массивов рекомендуется принимать равной грузоподъемности плавучего крана при среднем вылете его стрелы.

2. Число курсов в кладке N равной массы выбирается из интервала

, где                                         (1)

hK - высота кладки массивов, м;

gб - удельный вес бетона, кН/м3;

Gб - вес массивов, кН.

Примечание.

В случае, если в интервал (1) не попадает целое число, например, 3,05£N£3,98, то принимается ближайшее целое число, т е. N=4.

3. Поперечный профиль разбивается на N равновысоких элементов и вычисляются их площади. В случае N>3 необходимо все значения площадей свести к трем значениям: A1, A2, A3.

Примечания:

1. Предполагается, что А1<A2<A3.

2. Выбор A1, A2 и A3 следует производить с таким расчетом, чтобы элементы с одинаковыми площадями не оказались смежными.

3. В тех случаях, когда в пределах каждого элемента отношение максимальной ширины стенки к минимальной больше 1,5, следует производить операции, описанные в п.4, но не с площадями, а с произведениями площади на максимальную ширину соответствующего элемента.

4. Секцию причальной стенки целесообразно компоновать из трех типов массивов. Количества массивов в соответствующих рядах а, b и с (a<b<с) должны быть выражены целыми взаимно простыми числами с целью исключения совпадения швов внутри секции.

5. Для определения сочетания числа массивов в рядах вычисляется функция

                                                 (2)

для комбинаций чисел а, b и с, приведенных в табл. 1.

Таблица 1

№ варианта

а

b

c

№ варианта

а

b

c

1

2

3

5

7

4

5

9

2

3

4

5

8

4

7

9

3

3

4

7

9

5

6

7

4

3

5

7

10

5

7

8

5

3

5

8

11

5

7

9

6

4

5

7

12

7

8

9

В качестве окончательного принимается вариант, для которого функция Ф имеет минимальное значение.

6. Размеры блоков по направлению длины секции вычисляются по формулам:

                                                              (3)

где

.                                                  (4)

Примечание.

1. Величину m необходимо округлить с точностью до 0,01.

2. Необходимо выдерживать следующие условия:

 - в случае, если в кладке имеются смежные ряды, в которых количества массивов составляют b и с;

 - в случае, когда отсутствует предыдущее условие и имеются смежные ряды, в которых количество массивов составляют а и с;

 - в случае, когда кладка компонуется из двух типов массивов,

D - величина допустимого перекрытия швов в кладке в направлении длины стенки,

,                                                               (5)

где  - среднее значение перекрытия швов, зависящее от класса бетона и грузоподъемности кранового оборудования, принимается по черт. 1 мм;

kD - коэффициент надежности перекрытия швов, принимается по черт. 2;

kn - коэффициент, зависящий от числа курсов кладки N, принимается по табл. 2.

Таблица 2

Число курсов N

kn

2

0,47

3

0,66

4

0,83

5

1,00

6

1,16

7

1,31

8

1,47

9

1,61

10

1,76

Величину допустимого перекрытия швов в кладке в направлении ширины стенки рекомендуется принимать равной 1,5D.

Черт. 1. Графики зависимости параметра  от класса бетона и грузоподъемности крана gd

Черт. 2. График зависимости коэффициента надежности перекрытия швов kD от грузоподъемности крана Gd

7. Размеры массивов по направлению ширины стенки следует определять по формулам;

;

;                                                            (6)

;

Примечания:

1. Допускается применение массивов со скошенными гранями.

2. Любые изменения ширины массива, следует производить с таким расчетом, чтобы площадь его торца составляла величину

 где i=a,b,c.

8. Расчет массивовой кладки из блоков 1-го типоразмера (самый оптимальный вариант дня глубин 10-13 м) выполняется по программе KLADKA.

ПРИЛОЖЕНИЕ 5

Рекомендуемое

ОГРУЗКА ПОСТЕЛИ ПРИЧАЛЬНОГО СООРУЖЕНИЯ ИЗ ОБЫКНОВЕННЫХ МАССИВОВ

Для стенки из массивовой кладки, представленной на черт. 1 и 2, при отсыпке и равнении постели следует обеспечивать строительный подъем в размере 5% проектной высоты постели.

Поверхность постели следует выравнивать под горизонтальную плоскость, а строительный уклон образовывать в процессе осадки стенки до отсыпки за ней разгрузочной призмы.

Обжатие каменной постели и образований строительного уклона надлежит выполнять, руководствуясь следующими указаниями:

1. Стенка должна выкладываться по проектному профилю и выдерживаться без засыпки до того, как ее уклон в сторону берега не будет доведен до 2%.

2. Если благодаря огрузке по п. 1 не будет получен уклон стенки заданной величины, надлежит применить усиленную огрузку (черт. 1 и 2).

После доведения строительного уклона до заданной величины (п. 1) незамедлительно должна отсыпаться разгрузочная призма.

В тех случаях, когда огрузка, выполненная согласно п. 2, не обеспечит нужного строительного уклона, по согласованию с проектной организацией огрузка может быть прекращена.

Указания по строительным подъемам и уклонам постели даны из условия обжатия каменной постели высотой до 5 м, имеющей в основании грунты, сжимаемость которых не влияет существенно на деформации сооружения.

По ходу выполнения работ, особенно при установке первых секций стенки, требуется вести тщательные наблюдения за деформациями сооружения и его элементов и в случае необходимости вносить уточнения в указания, изложенные выше.

Приведенные указания распространяются на отсыпку постели без виброуплотнения. В случае применения виброуплотнения постели строительные подъемы и уклоны устанавливаются на основе экспериментов.

При скальном основании с выравнивающим слоем в основании стенки огрузка не производится, а поверхность постели выравнивается с уклоном 1% в сторону берега.


Черт. 1. Схема огрузки постели стенки из кладки обыкновенных массивов весом до 100 т с отметкой кордона+2,80 м и с глубинами у причала с 11,5 до 6,5 м

Таблица напряжений на постель, кПа

Расчетная схема

Уклон постели, %

11,50-2,80-100

9,75-2,80-100

8,25-2,80-100

6,50-2,80-100

smin

smax

smin

smax

smin

smax

smin

smax

С огрузочным массивом

0

50

406

41

370

29

310

58

272

2

-14

506

2

412

-25

362

22

310

Без огрузочного массива

0

33

308

29

264

22

214

28

195

2

-19

326

10

286

6

252

7

217

Отрицательные напряжения показаны условно; размеры и отметки указаны в метрах.

Черт. 1. Схема огрузки постели стенки из кладки обыкновенных массивов весом до 100 т с отметкой кордона+2,80 м и с глубинами у причала с 11,5 до 6,5 м

 

Черт. 2. Схема огрузки постели стенки из кладки обыкновенных массивов весом до 100 т с отметкой кордона+2,50 м и с глубинами у причала с 11,5 до 6,5 м

Таблица напряжений на постель, кПа

Расчетная схема

Уклон постели. %

11,50-2,50-100

9,75-2,50-100

8,25-2,50-100

6,50-2,50-100

smax

smin

smax

smin

smax

smin

smax

С огрузочным массивом

0

51

386

50

350

32

280

62

250

2

24

418

-6

412

5

316

33

282

Без огрузочного массива

0

36

288

35

244

24

200

30

174

2

44

285

13

269

13

212

16

189

Отрицательные напряжения показаны условно; размеры и отметки указаны в метрах.

Черт. 2 Схема огрузки постели стенки из кладки обыкновенных массивов весом до 100 т с отметкой кордона+2,50 м и с глубинами у причала с 11,5 до 6,5 м

 


ПРИЛОЖЕНИЕ 6

Рекомендуемое.

РАСЧЕТ СТЕНОК БОЛЬВЕРКА НА НАГРУЗКИ ОТ НАВАЛА СУДНА ПРИ ПОДХОДЕ К СООРУЖЕНИЮ

1. Расчет стенок заанкеренного больверка на нагрузки от навала судна производится при условии, когда

F³Rа,                                                                     (1)

где F - расчетная нагрузка от навала судна, кН/м, воспринимаемая 1 м сооружения по длине;

Rа - расчетная анкерная реакция, кН/м, полученная статическим расчетом в соответствии с требованиями раздела 8 настоящей Инструкции.

Расчет лицевой стенки обычного больверка (безанкеренного, заанкеренного) из металлического шпунта на нагрузки от навала судна допускается не проводить.

2. Нагрузку от навала судна F следует определять по формуле

,                                                                 (2)

где Uс - перемещение сооружения в месте навала судна от действия единичной нагрузки, м/кН (п. 3);

Fq - расчетная горизонтальная нагрузка от навала судна при подходе к сооружению, кН, определяемая в соответствии с требованиями СНиП 2.06.04-82;

Ua - перемещение сооружения в месте навала судна без учета распределяющего влияния надстройки и разгрузочной платформы от действия единичной нагрузки, м/кН (п. 4).

3. Перемещение сооружения Uc определяется по формуле

,                                                                  (3)

где Вн - жесткость сечения монолитной надстройки и разгрузочной платформы относительно вертикальной оси, кН×м2, определяемая в соответствии с требованиями СНиП 2.06.08-87 для случая кратковременного действия нагрузки;

l - величина, м, определяемая по формуле

,                                                            (4)

где ld - расчетная длина надстройки и платформы, равная 1 м.

4. Перемещение сооружения U0 определяется по формуле

U0=0,4(A+Бhd),                                                              (5)

где А, Б - коэффициенты, определяемые по графику на рис. 1 в зависимости от обобщенного показателя a;

hd - высота, м, от точки приложения горизонтальной нагрузки F (середина высоты отбойного устройства) до точки, расположенной на глубине 0,67dл от дна (dл - расчетная глубина погружения лицевой стенки больверка).

Черт.1

Обобщенный показатель a определяется:

для обычного больверка

;                                                          (6)

для экранированного больверка

,                                                (7)

где Ез - модуль деформации грунта засыпки, принимаемый равным 2,5´104;

Вл, Вэi - жесткость сечения элементов соответственно лицевой и экранирующих стенок больверка, кНм2, отнесенная к 1 м по длине сооружения, и определяемая в соответствии с требованиями СНиП 2.06.08-87 для случая кратковременного действия нагрузки.

5. При построении расчетной схемы для определения дополнительного изгибающего момента в лицевой стенке обычного больверка необходимо:

построить эпюру превышения реактивного давления грунта над активным;

определить часть нагрузки F, необходимой для реализации нагрузки от превышения реактивного давления грунта над активным.

Черт. 2

6. Реактивное давление грунта, вызванное нагрузкой от навала судна F, допускается определять упрощенным приемом в зависимости от обобщенного показателя a (рис. 2в, б).

При a³5 (см. рис. 2а) из точки С, расположенной на расстоянии 0,33hd от точки приложения нагрузки F, проводят прямую до пересечения с границей эпюры пассивного давления грунта со стороны засыпки так, чтобы было выполнено условие

Fhd=Erhr;                                                                 (8)

где hd - пo п. 4 настоящего приложения;

Еr - равнодействующая реактивного давления грунта, кН/м;

hr - плечо равнодействующей Еr относительно точки 0 м.

При d£0,1 (см. рис. 2б) проводят аналогичное построение из точки С, расположенной на расстоянии 0,67/hd от точки приложения нагрузки F.

Пассивное давление грунта Рр определяется в соответствии с требованиями раздела 5 настоящей Инструкции при коэффициенте lр без учета трения грунта о стенку.

7. Эпюра превышения реактивного давления грунта над активным приведена на рис. 3а.

Активное давление грунта Рр определяется в соответствии с требованиями раздела 5 настоящей Инструкции.

8. Нагрузку DF (часть нагрузки F) следует определять из уравнения равновесия моментов всех сил относительно точки 0 (рис. 3б) по формуле

,                                                                (9)

где DЕ - равнодействующая нагрузки от превышения реактивного давления грунта над активным, кН/м;

hЕ - плечо равнодействующей DЕ относительно точки 0, м;

hd - по п. 4 настоящего приложения.

Черт. 3. а - посторонние эпюры превышения; б - схема к определению нагрузки DF; в - расчетная схема

9. Расчетная схема для определения дополнительного изгибающего момента в лицевой стенке больверка приведена на рис. 3в.

Дополнительные изгибающие моменты DМл, (кН×м/м) определяются обычными методами строительной механики.

10. Дополнительные изгибающие моменты в стенках экранированного больверка следует определять по формуле

,                                                        (10)

где Вi - жесткость сечения элементов соответствующей стенки, кН×м2, отнесенная к 1 м по длине сооружения;

DМу - дополнительный изгибающий момент, кН×м/м, полученный расчетом условной стенки, заменяющей экранированный больверк.

11. Условная стенка (рис. 4) располагается ниже отметки низа разгрузочной платформы за ее тыловым обрезом и имеет жесткость, равную суммарной жесткости сечений элементов лицевой и экранирующих стенок больверка.

Расчет условной стенки следует выполнять аналогично расчету лицевой стенки больверка (пп. 5-9) на нагрузку от навала судна F. При этом следует учитывать:

активное и пассивное давление грунта со стороны засыпки следует определять с учетом веса грунта выше отметки низа разгрузочной платформы;

обобщенный показатель a следует определять по формуле (7) при высоте hd, равной расстоянию от отметки низа разгрузочной платформы до точки, расположенной на расстоянии 0,67dэi от дна (dэi - расчетная глубина погружения соответствующей экранирующей стенки).

Примечание.

В случаях, когда глубина у причала превышает естественную глубину, при которой проводилось погружение элементов стенок более чем на 50%, при определении высоты hd следует принимать расчетную глубину погружения соответствующей стенки dэi от уровня естественного дна

12. Дополнительные усилия (изгибающие моменты) в элементах стенок больверка от навала судна суммируются с усилиями, полученными статическим расчетом лицевой и экранирующих стенок больверка в соответствии с требованиями разделам 8 настоящей Инструкции.

Черт. 4

ПРИЛОЖЕНИЕ 7.

Рекомендуемое.

ПРОВЕРКА УСТОЙЧИВОСТИ МАССИВА ГРУНТА, ОБЕСПЕЧИВАЮЩЕГО АНКЕРНОЕ КРЕПЛЕНИЕ СООРУЖЕНИЯ ТИПА БОЛЬВЕРК

1. Устойчивость массива грунта АВСД (черт. 1), расположенного между лицевой (экранирующей) стойкой больверка и анкерной опорой, на плоскости скольжения АВ обеспечивается при выполнении условия

,                                                            (1)

где glc, gc gп - коэффициенты, определяемые в соответствии с требованиями раздела 4 настоящей Инструкции;

Ra - расчетная анкерная реакция, кН/м, полученная статическим расчетом по пп. 8.43-8.44 настоящей Инструкции;

Rм - равнодействующая горизонтальных сил, кН/м, действующих на массив грунта АВСД (п. 3 настоящего приложения).

2. Плоскость скольжения АВ (см. черт. 1) следует проводить через точку, расположенную на уровне условного пролета лицевой (экранирующей) стенки, и подошву анкерной опоры.

Условный пролет стенки больверка определяется статическим расчетом по программе BOMAJN.

Черт. 1

3. Равнодействующую горизонтальных сил R, следует определять по формуле

Rм=Еа (SGi-cibitgq)tg(q-j)+Sсibia0,                                                 (2)

где Еа - горизонтальная составляющая активного давления грунта со стороны лицевой стенки, кН/м;

Gi - вес элемента массива грунта, кН/м, определяемый с учетом п. 4 настоящего приложения;

ci, ji - соответственно удельное сцепление, кПа, и угол внутреннего трения грунта, град, в основании элемента массива грунта;

bi - ширина рассматриваемого элемента массива грунта, м;

q - угол наклона плоскости скольжения к горизонтали, град;

Еa0 - горизонтальная составляющая активного давления грунта со стороны анкерной опоры, кН/м.

4. Массив грунта АВСД следует делить на элементы массива таким образом, чтобы основание каждого элемента было однородным (см. черт. 1).

Вес элемента массива грунта Gi в тех случаях, когда угол наклона плоскости скольжения в основании массива к горизонтали q больше угла внутреннего трения грунта ji, следует определять с учетом эксплуатационных нагрузок на территорий причала.

ПРИЛОЖЕНИЕ 8.

Рекомендуемое.

ОПРЕДЕЛЕНИЕ ПРОЧНОСТНЫХ ХАРАКТЕРИСТИК ЛЬДА

Прочностные характеристики речного и морского льда для арктических районов допускается определять по формуле

R=0,8k1k2R1,

где k1 - коэффициент, учитывающий структуру льда, определяемый по табл. 1;

k2 - коэффициент, учитывающий плотность льда и приложение нагрузки, принимаемый по табл. 2;

R1 - прочностные характеристики льда в зависимости от солености и температуры, кПа, определяемые по графикам на черт. 1, 2, 3.

Таблица 1.

Значение коэффициента k1

Структура льда

Условия образования льда

Коэффициент k1

при сжатии

при изгибе

при срезе

Шестовато-игольчатая или волокнистая

Пресный лед: устьевые участки рек, пресные водоемы

1,0

1,0

1,0

Морской лед: дрейфующий лед, припайный лед в зоне стационарных полыней

1,0

1,0

1,0

Зернистая

Пресный лед: во всех случаях, кроме указанных выше

0,5

0,5

0,9

Морской лед: при течениях, колебаниях температуры и солености, при ветрах, при образовании торосов

0,5

0,5

0,9

Черт. 1

Черт. 2

Черт. 3 Зависимость прочности льда на срез от его температуры и солености

Значение коэффициента k2

Приложение нагрузки

Коэффициент k2

при сжатии

при изгибе

при срезе

Перпендикулярно поверхности замерзания

1,2

1,0

1,0

Параллельно поверхности замерзания

1,0-0,8*

1,0

1,0

Примечание*.

Большее значение ki принимается для льда зернистой структуры.

ПРИЛОЖЕНИЕ 9

Рекомендуемое

ДИНАМИЧЕСКИЕ РАСЧЕТНЫЕ СХЕМЫ МОРСКИХ ПРИЧАЛЬНЫХ СООРУЖЕНИЙ

1. В динамическую расчетную схему сооружений распорного типа по методу конечных элементов (МКЭ) следует включать сооружение и окружающий его грунт засыпки и основания. Рекомендуемое положение границ расчетной схемы приведено на черт. 1.

Положение нижней границы следует принимать совпадающим с кровлей коренных пород - скальных, полускальных, мергелей, сцементированных галечников, либо с кровлей вечной мерзлоты (черт. 2).

Если коренные породы находятся от поверхности причала на расстоянии, превышающем двойную высоту стенки Н, то положение нижней границы расчетной схемы следует принимать от поверхности причала на расстоянии, равном двойной высоте стенки, а для больверков - на двойной глубине забивки стенки Н3=Н2 (см. черт. 2).

Прослойки слабого грунта в основании сооружения следует включать в расчетную схему, увеличивая при необходимости расстояние, Н1 до нижней границы.

Связи, накладываемые по границе в расчетной схеме, приведены на черт. 1 и 2.

Гравитационные подпорные стенки (из кладки массивов, массивов-гигантов, оболочек большого диаметра), грунты засыпки и основания следует представлять континуальными элементами (черт. 3, 4 и 5).

Черт. 1. Положение границ и граничные условия в расчетной схеме

Черт. 2. Пример расчетной схемы на скальном основании

Черт. 3. Динамическая расчетная схема сооружения гравитационного типа

а - поперечный разрез причала из оболочки большого диаметра; б - расчетная схема МКЭ; 1 - оголовок; 2 - элементы сооружения; 3, 4 - грунты засыпки; 5 - каменная постель, 6 - грунт основания

Черт. 4. Динамическая расчетная схема стенки уголкового типа с контрофорсом

а - поперечный размер причала; б - расчетная схема МКЭ; 1 - плита основания; 2 - лицевая стенка, 3, 4 - контрофорс; 5 - грунт основания; 6, 7 - грунт засыпки

Черт. 5. Динамическая расчетная схема экранированного больверка

а - поперечный разрез причала; б - расчетная схема МКЭ; 1 - лицевая и экранирующая стенки; 2 - оголовок; 3 - анкер; 4 - анкерная стенка; 5-7 - грунт засыпки, 8 - грунт основания

Гибкие элементы сооружения: лицевые и анкерные стенки, анкера, плиты основания уголковых стенок, боковые стенки контрфорсов, экранирующие стенки больверков следует представлять стержневыми элементами (см. черт. 4 и 5).

Анкерные тяги в расчетной схеме достаточно соединять с грунтовыми элементами в двух точках: в место крепления с лицевой стенкой и в место крепления к анкерной плите, либо к плите основания в уголковых стенках.

Узлы концентрации масс следует размещать равномерно по сооружению, по возможности совмещать с узлами пересечения конструктивных элементов и относить к узлу массу, ограниченную половинами смежных пролетов между узлами.

В пределах массивных стенок гравитационных сооружений (см. черт. 3) должны сохраняться моменты инерции вращения, соответствующие естественному распределению масс; массы окружающего стенку грунта должны располагаться чаще в зонах характерных смещений грунта (зоны активного и пассивного давления) и реже у границ расчетных схем.

Величины сосредоточенных масс Mк в пределах гравитационных стенок должны определяться при сохранении условий

, ,                                             (1)

где Мст - масса всей стенки, т;

Мк - масса, сосредоточенная в k-м узле стенки, т;

nст - количество сосредоточенных масс стенки, принимаемое

3<nст<5

Инерционное влияние воды, контактирующей с подпорной стенкой со стороны акватории, следует учитывать в виде присоединенной массы по формуле

mb=rbhmAст,                                                               (2)

где rb - плотность воды, т/м3;

h - глубина воды у сооружения, м;

m - безразмерный коэффициент, зависящий от соотношения z/h, определяемый по графикам на черт. 6, где кривая 1 - для гравитационных стенок, 2 - для больверков;

z - расстояние от поверхности воды до рассматриваемой точки напорной грани, м;

Aст - площадь контактирующего с водой участка стенки.

В расчетных схемах МКЭ массы должны иметь одну степень свободы - перемещение Vк в направлении сейсмического воздействия, где k - номер массы.

Масса грузов на причале сосредотачивается в верхних узлах расчетной схемы по правилу грузовых площадей и учитывается в размере 0,8 от расчетной.

2. Динамическую расчетную схему безраспорного сооружения гравитационного типа (в виде одиночных опор причалов мостового типа либо оградительных сооружений), допускается представлять в виде жесткого блока на безинерционном упругом основании (черт. 7).

Черт. 6. Зависимости коэффициента m от соотношения z/h:

1 - для гравитационных стенок; 2 - для больверков.

Черт. 7. Динамическая расчетная схема сооружений гравитационного типа на безинерционном основании

a - поперечный разрез оградительного сооружения из оболочек большого диаметра; б - расчетная схема в виде жесткого диска на безинерционном основании

Безинерционным считается основание под каменной постелью, состоящее из грунтов I и II категории по сейсмическим свойствам в соответствии с указаниями СНиП II-7-81.

Инерционными характеристиками жесткого блока должны являться масса Md и момент инерции массы qd относительно центральной горизонтальной оси, совпадающей с продольной осью сооружения.

Жесткие блоки гравитационных сооружений должны обладать двумя степенями свободы: перемещением V центра масс блока в направлении сейсмического воздействия и углом поворота a в расчетной плоскости.

Жёсткостные характеристики грунтов основания рекомендуется представлять с помощью коэффициентов жесткости Сx и Сz

Сa по формулам

Сx=0,7Сz,                                                                 (3)

;                                              (4)

,                                            (5)

где С0 - коэффициент жесткости (кН/м3) при удельных давлениях на основание s0=2 кН/м2, D=1 м;

bп - ширина подошвы (размер в плоскости колебаний), м;

Lп - длина подошвы (размер в перпендикулярном к плоскости колебаний направлении), м;

Ап - площадь подошвы, м2;

s - среднее статическое напряжение по подошве (без учета гидростатического взвешивания), кН/м2.

Если Lа ³ 3bп, то в формулах (3) - (5) следует принимать Lп=3b.

Таблица

Приближенные значения коэффициента С0

Характеристика основания

С0, кН/м3

Каменная постель на слабых илистых грунтах

1500-3000

Каменная постель на песчаных и глинистых грунтах средней плотности (с включением ракуши, гравия)

3000-6000

Каменная постель на плотных грунтах (гравий, галька, песок плотный с включением гравия и ракуши)

б000-10000

Примечание. В таблице приведены рекомендации для каменной постели средней толщины hп при hп: b=0,25+040; при hп: b<0,25 значения С0 принимаются по нижней границе; при hп: b > 0,40 значения С0 принимаются по верхней границе интервала значений в таблице.

3. Динамические расчетные схемы сооружений эстакадного типа, предназначенные для определения сейсмических нагрузок, следует представлять (черт. 8);

Черт. 8. Динамические расчетные схемы сооружений эстакадного типа

а, б, в - верхнее строение в виде жестких дисков; г - верхнее строение в виде деформируемой конструкции.

В зависимости от наличия связей между секциями, либо в виде цепочки секций (см. черт. 8а), либо в виде отдельной секции (см. черт. 8б);

в зависимости от наличия высоты надстроек, либо без надстроек (см. черт. 8 а, б), либо с надстройками (см. черт. 8в, г);

в зависимости от деформативности верхнего строения секции в горизонтальной плоскости, либо в виде жесткого диска (см. черт. 8а, б, в), либо в виде деформируемой конструкции (см. черт. 8г), опирающихся на упругие свайные опоры.

Верхнее строение секции следует представлять в виде жесткого диска, если параметры секции удовлетворяют неравенству

,                                                          (6)

где Кvv - коэффициент горизонтальной жесткости свайного поля при смещении секции, кН/м;

L - длина секции (плиты), м;

EJ - изгибная жесткость конструкции верхнего строения в горизонтальной плоскости, кН/м2. Коэффициенты жесткости сварного поля определяются по формулам

                                           (7)

где Кaa - коэффициент горизонтальной жесткости свайного поля при повороте секции, кНм;

Кag=Кga - смешанный коэффициент жесткости, характеризующий наличие эксцентриситета е по длине между центром массы секции М, располагающемся в начале координат и центром жесткости свайного поля R (черт. 9), кН;

Нрх, Нру, Нрa - коэффициенты жесткости р-й сваи соответственно при смещении ее в направлении осей х и у и при повороте в горизонтальной плоскости, кН/м и кНм;

хр, ур координаты р-й сваи относительно центра масс секции (х - в направлении сейсмического воздействия, у- в перпендикулярном направлении), м;

rсв - число свай в секции.

При определении массы секции кроме массы верхнего строения и оборудования следует учитывать массу временных грузов на причале в размере 0,8 от расчетной и приведенную к уровню плиты массу свай Dmсв с присоединенной к ним массой воды Dm

Dmсв=КсвmсвLсв,                                                              (8)

,                                                         (9)

где Ксв - безразмерный коэффициент, определяемый по графику на черт, 10 в зависимости от величины iрu2/iсв;

mсв - погонная масса сваи, т;

Lсв, L*св - соответственно расчетная длина сваи и длина се участка, находящегося в воде, м;

dсв - диаметр или сторона поперечного сечения сваи, м;

iрu2 - погонная жесткость ригеля, МН×м;

iсв - погонная жесткость сваи, МН×м;

Черт. 9. Схема перемещений жесткой плиты ростверка

Черт 10. Зависимость коэффициента К от соотношения iриг/i.

Для причальных сооружений эстакадного типа учет эксцентриситета между центром масс секции и центром жесткости свайного поля (см. черт. 9) является обязательным. При этом среднеквадратическое отклонение случайного эксцентриситета следует принимать не менее 0,015L.

Каждый диск должен обладать двумя степенями свободы: перемещением Vчс центра массы секции в направлении сейсмического воздействия и углом поворота aчс в горизонтальной плоскости, где чс - номер секции.

В расчетных схемах МКЭ каждая сосредоточенная масса обладает одной степенью свободы - смещением в направлении сейсмического воздействия.

В пределах длины деформируемой в горизонтальной плоскости секции число узлов концентрации масс следует принимать не менее чр (чр - количество свайных рядов) и по возможности совмещать их с узлами пересечения конструктивных элементов.

Динамическую расчетную схему устойчивости подпричального откоса следует представлять в дискретном виде МКЭ (см. черт. 11)

Черт. 11. Динамическая расчетная схема подпричального откоса набережной

а - поперечный разрез причала; б - расчетная схема МКЭ для расчетов устойчивости; 1 уголковая стенка; 2 - грунт основания, 3 - грунт откоса; 4 - грунт засыпки

Границы расчетной схемы следует назначать за пределами зоны возможных кривых скольжения. Остальные требования см. п. 1.

ПРИЛОЖЕНИЕ 10

Рекомендуемое

СОПОСТАВИТЕЛЬНЫЕ ФОРМУЛЫ РАСЧЕТА ПРОЧНОСТИ И УСТОЙЧИВОСТИ СООРУЖЕНИЙ ПРИ ОСНОВНОМ И ОСОБОМ СОЧЕТАНИЯХ НАГРУЗОК

Проверки прочности элементов конструкции и устойчивости сооружений на особое сочетание нагрузок следует производить в соответствии с перечнем предельных состояний, приведенным в основной части инструкции.

Сопоставительные формулы к учету сейсмического воздействия приведены в табличной форме. Назначение и величины нормативных коэффициентов К1, A, glc, gc, gп Даны в основных разделах настоящей инструкции.

На рисунках, приведенных в таблицах, пунктиром изображены нагрузки с учетом сейсмических воздействий.

Формулы со звездочкой предназначены для расчетов с использованием метода конечных элементов.

Расчеты прочности и устойчивости допускается производить с помощью программы для статических расчетов, корректируя при этом исходные данные с целью учета сейсмического воздействия.

В расчетах общей устойчивости сооружений по программам KRMAJN и PURS горизонтальная сейсмическая нагрузка учитывается поворотом расчетной схемы на угол e

,                                                                  (1)

где  - то же, что в формуле (14.10).

При подготовке исходных данных к программе расчета больверков BOMAJN коэффициенты горизонтальной составляющей активного lа и пассивного lр давлений грунта следует заменять на и , которые определяются по формулам

,                                                  (2)

,                                                 (3)

где Аэа, Аэр, eа, eр - то же, что в формулах (14.3) и (14.4).

При наличии в основании больверка призмы замененного грунта либо прослоек слабого грунта  следует определять по формуле

,                                                              (4)

где  - то же, что в п. 14.30;

gз - удельный вес грунта засыпки, кН/м3;

hп - глубина призмы замененного грунта, м.


Таблица

Сопоставительные формулы расчета прочности и устойчивости сооружений при основном и особом сочетании нагрузок

Назначение формулы

Формула при основном сочетании нагрузок

Формула при особом сочетании нагрузок

1. Давление от собственного веса грунта и временной равномерно распределенной нагрузки

а) интенсивность горизонтальной составляющей активного давления

Ра=Ран-Рас,                                  (1.1.)

Ран - боковое активное давление несвязного грунта.

Рас - активное давление, обусловленное связностью грунта,

Ран=qz la+Рaq                                        (1.1.1)

Рас=clac                                                    (1.1.2)

(1.1)

(1.1.1)

допускается в поверочных расчетах

Аэа=К1А, e=0,                             (1.1.2)

SKi - сейсмическая сила, действующая в точке "k" концентрации масс и соответствующая 2-й форме свободных колебаний,

nв - количество сосредоченных масс в рассматриваемой области,

v - количество учитываемых форм свободных колебаний сооружения,

GKвзв - вес в "k"-й точке с учетом взвешивающего воздействия воды

б) интенсивность вертикальной составляющей активного давления

Pav=Patg(j+d),                           (1.2)

a - угол наклона расчетной плоскости восприятия распора к вертикали,

,                      (1.2)

aa=45°-0,5(j-ea),              (1.2.1)

ea=arctgAэа.                         (1.2.2)

в) интенсивность горизонтальной составляющей пассивного давления

Рр=Ррн-Ррс,                                  (1.3)

Ррн, Ррс - пассивное давление соответственно несвязного и обусловленного связностью грунта

Рра=qz lр+Ррqп,     Ррс=clрc  (1.4)

      (1.3)

(1.3.1)

допускается

Аэр=К1А, eр=1,                            (1.3.2)

2. Общая устойчивость сооружения

                           (2.1)

Mt, Mr - соответственно суммы моментов сдвигающих и удерживающих сил относительно критического центра окружности скольжения

,                     (2.2)

r - радиус окружности скольжения,

Gj - вес грунта j-й полосы, элементов конструкции и эксплуатационной нагрузки,

aj=агсsin(aj/r),                          (2.2.1)

aj - расстояние от вертикали, проведенной через центр вращения до линии действия силы Gj

DMt - момент от горизонтальных составляющий длительных временных и одной кратковременной нагрузок.

                                                     (2.3)

jIIj, jIIj - соответственно угол внутреннего трения и сцепление в основании j-й полосы;

Rg - силы сопротивления конструктивных элементов (анкера, сваи) сдвигу, перпендикулярные радиусу r.

                          (2.1)

 и  - моменты соответствующих сил с учетом сейсмического воздействия,

glc - коэффициент особого сочетания нагрузок равен 0,9;

,         (2.2)

,                                (2.1.1)

,                              (2.2.2)

,                                 (2.2.3)

                    (2.2.4)

nу - количество сосредоченных масс в обрушающейся зоне в динамической расчетной схеме

      (2.3)

3. Прочность основания сооружения гравитационного типа

а) неравномерность осадок

e=0,5b-a£b/6,                                (3.1)

a=(Mr-Mt)/G,                              (3.1.1)

Mr и Mt - моменты удерживающих и опрокидывающих сил относительно переднего ребра;

G - сумма вертикальных сил, действующих на подошву сооружения.

еs=0,5b-аs£b/6,                          (3.1)

,              (3.1.1)

Ms - момент сейсмических нагрузок относительно плоскости расчетного сечения сооружения,

 - опрокидывающий момент от сейсмического бокового давления грунта на стенку

,                            (3.1.2)

Мi=Sih0+mi,                                 (3.1.3)

,                        (3.1.4)

mi - сейсмический момент относительно центра массы стенки,

h0, ZK - вертикальная координата центра масс и "k"-й массы относительно центра тяжести стенки,

,                          (3.1.5)

hEs - плечо силы  относительно переднего ребра стенки.

б) прочность каменной постели

,          (3.2)

R - расчетное сопротивление каменной постели,

smax и smin - краевые нормальные напряжения в каменной постели по контакту с основанием сооружения.

Если равнодействующая выходит за пределы ядра сечения, то

,             (3.2)

либо

,                     (3.2.1)

 - напряжения в грунте, вызванные колебаниями стенки.

в) прочность грунта основания под каменной постелью

                       (3.3)

                                                                     (3.4)

b' - ширина, по которой передается давление от сооружения на постель,

hп - толщина каменной постели,

gk - удельный вес камня постели в состоянии гидростатистического взвешивания,

R - расчетное сопротивление грунта основания.

                (3.3)

            (3.4)

4. Устойчивость гравитационного сооружения

а) на сдвиг по основанию сооружения

,                    (4.1)

Е - результирующая активного давления грунта и эксплуатационной нагрузки на стенку,

Eшв - расчетное значение швартовной нагрузки,

G - сумма вертикальных сил, действующих на подошву сооружения,

f - коэффициент трения подошвы сооружения по каменной постели.

,                    (4.1)

Еs - горизонтальная сдвигающая сила от активного давления и эксплуатационной нагрузки на стенку при сейсмическом воздействии,

,                                 (4.1.1)

S - результирующая сейсмическая сила, действующая на сооружение

,                                 (4.1.2)*)

Si - сейсмическая сила, действующая на основание и соответствующая i-й форме его собственных колебаний

б) на опрокидывание вокруг переднего ребра

,                            (4.2)

Mt=EhE+Eшвhшв,                         (4.2.1)

hE и hшв - плечи сил Е и Eшв относительно переднего ребра,

Mr - момент удерживающих сил относительно переднего ребра.

.                        (4.2)

5. Устойчивость на сдвиг сооружения с заглубленной постелью по грунту основания

,                                (5.1)

F - сумма сдвигающих сил,

R - сумма удерживающих сил,

F=E+Eшв;                                     (5.2)

R=(G1+ G2+ G3)fr+Ep,                   (5.3)

G1 - часть веса сооружения, передающая давление грунта на участке FK,

G2, G3 - соответственно веса каменной постели ECDK и засыпки ВСЕ с учетом взвешивающего воздействия воды,

,               (5.3.3)

h0 - толщина каменной постели;

gз - удельный вес засыпки с учетом взвешивающего воздействия воды,

m0 - заложение откоса котлована,

fг - коэффициент трения постели по грунту основания

,                                  (5.1)

Fs, Rs - соответственно сдвигающие и удерживающие силы с учетом сейсмического воздействия

,                      (5.2)

gвн, gвзв - удельные веса грунта каменной засыпки в состоянии насыщения и гидростатического взвешивания;

,                        (5.3)

,                (5.3.1)

,                   (5.3.2)

,               (5.3.3)

или

,                          (5.3.4)

,                    (5.3.5)

.                         (5.3.6)

6. Устойчивость причального сооружения уголкового типа

а) на сдвиг по основанию сооружения

,    (6.1)

G - вес сооружения, включая эксплуатационную нагрузку и грунт засыпки во внутренней области стенки в состоянии гидростатического взвешивания,

Eav=Etg(a+d),                            (6.1.3)

a=45°-0,5j;                               (6.1.4)

,                 (6.1)

,                         (6.1.1)*)

,                             (6.1.2)

Si - сейсмическая сила, действующая на сооружение (на стенку с грунтом засыпки ее внутренней области, ограниченной условной расчетной тыловой гранью стенки АВ)

i - номер формы свободных колебаний сооружения,

nвн - количество сосредоточенных масс, расположенных во внутренней области, ограниченной расчетной плоскостью АВ',

,                           (6.1.3)

as=45°-0,5(j-e),                          (6.1.4)

e=arctgAэ,                                           (6.1.5)

                  (6.1.6)*)

nоб - количество сосредоточенных масс, расположенных в зоне обрушения грунта засыпки;

б) на опрокидывание вокруг переднего ребра

,                     (6.2)

МЕ - удерживающий момент, создаваемый вертикальной составляющей Еav

,                      (6.2.)

                                  (6.2.1)

                        (6.2.2)

Si, mi - сейсмическая сила и момент, действующие на сооружение и соответствующие i-й форме его свободных колебаний.

7. Устойчивость уголковых стенок с внешней анкеровкой

а) на сдвиг по основанию сооружения

,                                                                       (7.1)

,                                                                                        (7.1)

Rфл - флуктуационное усилие в анкере, соответствующее i-й форме свободных колебаний сооружения,

Rост - реакция в анкере, вызванная сейсмическим (остаточным) давлением грунта на стенку.

б) на опрокидывание вокруг переднего ребра

,

Mt=EhE+Eшвhшв,                         (7.2)

M'r=Mr+MEv+Raha,                     (7.3)

ha - расстояние от основания стенки до анкера.

,                (7.2)

.                    (7.3)

8. Несущая способность причального сооружения гравитационного типа из оболочек большого диаметра

а) устойчивость на сдвиг верхнего кольца оболочки (или r-го блока)

,                               (8.1)

F - сумма горизонтальных сдвигающих сил, действующих на оболочку выше расчетной плоскости сдвига;

                                                                       (8.2)

Gоб - вес элементов сооружения передающийся на расчетную плоскость стыка смежных колец,

Етр - вертикальная сила трения засыпки по внутренней поверхности оболочки,

Gгр - вес грунта внутренней засыпки, расположенной выше расчетной плоскости сдвига,

f2 - коэффициент трения внутренней засыпки, равный,

 - вес грунта, пригружающий анкерную плиту (расчетное значение);

,                             (8.1)

,                     (8.1.1)

Sri=Mr(Si/M+miZr/q),                  (8.1.2)

Mr - масса верхнего кольца и засыпки (или r-го блока),

M, q - масса и момент инерции всей оболочки с грунтом засыпки,

Zr - ордината r-го блока от центра масс всей оболочки,

,                    (8.1.3)

nс - количество сосредоточенных масс в пределах всей оболочки,

.                                                                                  (8.2)

б) горизонтальное нормальное давление засыпки на оболочку

рR=рZl0,                                      (8.3)

,               (8.3.1)

,           (8.3.2)

g1, g2 - удельный вес засыпки над водой и под водой,

Z1, Z2 - ординаты, отсчитываемые от верхнего торца оболочки и от уровня воды,

qc - нагрузка от балластного слоя и эксплуатационных нагрузок;

A0=Dвн/4l0tg(0,75j),                (8.3.3)

l0, l0 - коэффициент бокового давления и угол внутреннего трения внутренней засыпки оболочки.

,                                    (8.3)

,        (8.3.1)

,                   (8.3.2)*)

e=arctgАэ.                                    (8.3.3)

9 Прочность элементов конструкции для причальных сооружений распорного типа

,                               (9.1)

F - усилия в элементах конструкции (М, Q, Ra), полученные в результате статического расчета,

R - расчетная прочность элемента

,                              (9.1)

,                (9.1.1)

Nфi - флуктуационные усилия (Мф, Qф, Rфа) в элементах при колебаниях сооружения по главным формам,

Nocт - остаточные усилия от сейсмического давления грунта на стенку, определяемого по п. 1

10. Прочность элементов причального сооружения эстакадного типа

,                               (10.1)

F - усилие в элементе, возникающее от судовых нагрузок и распорного давления грунта, действующего на тыловую грань ростверка,

R - расчетная прочность элемента

,                              (10.1)

,                            (10.1.1)

Nфi - флуктуационные усилия в элементе, возникающие при сейсмическом воздействии на сооружение,

i - индекс формы свободных колебаний сооружения

а) усилия в "р-й" свае, возникающие от действия сейсмических нагрузок, если плита верхнего строения является абсолютно жесткой

Vi - перемещение центра масс секции в направлении сейсмического воздействия;

ai - угол поворота секции в горизонтальной плоскости

 

Spxi=Hpx(Vi+aiyp),                      (10.2.1)

Spyi=Hpyaixp,                               (10.2.2)

Spai=Hpaai,                                  10.2.3)

Hpx, Hpy, Hpa - коэффициент жесткости "р"-й сваи смещении секции в направлении осей х и у и при повороте a в горизонтальной плоскости

,                    (10.2.4)

Si, mi - сейсмическая сила и момент, действующие на рассматриваемую секцию сооружения,

M, q - масса и момент инерции масс верхнего строения секции с учетом присоединенной массы свай и воды,

wi - круговая частота собственных колебаний сооружения, соответствующая i-у тону.

б) усилие в связи, соединяющей r-ю и (r+1)-ю секции при сейсмическом воздействии на цепочку взаимосвязанных секций

 

,                                                                                (10.3)

аr, br - расстояние от центра масс r-й секции до ее правого и левого концов,

Cr,r+1 - коэффициент жесткости связи

в) ширина антисейсмического шва, исключающего соударение соседних секций при сейсмических колебаниях, определяемая при сейсмическом воздействии, совпадающем по направлению с продольной осью сооружения

 

Dr,r+1³3(Ur+Ur+1)+Dt,                         (10.4)

Ur - амплитуда перемещений r-й секции при сейсмических колебаниях в направлении (r+1)-й секции;

Dt - зазор, требуемый для свободного температурного расширения соседних секций,

Ur=K1 KyAgb/w,                         (10.5)

,                           (10.6)

,                             (10.7)

Hpy - жесткость р-й сваи в направлении продольной оси,

rсв- количество свай в секции

11. Устойчивость подпричального откоса и общая устойчивость сооружения эстакадного типа

См. формулы (2.1) - (2.3), где:

,                                                     (11.1)

Rсв.р - приведенная к 1 п. м. сооружения сила сопротивления сдвигу по поверхности скольжения за счет сопротивления излому свай.

Rcв.р=4Мсв/tзL,                             (11.2)

                                                              (11.2)

lс - длина участка, в пределах которого на сваю передается активное и пассивное давление грунта;

L - расстояние между осями свай;

tз - половина длины изогнутой части сваи.

,                                                                                     (11.1)

,                                (11.2)

.                           (11.13)


СОДЕРЖАНИЕ

1. Общие положения. 1

2. Выбор конструкции сооружения. 7

3. Общие конструктивные требования. 12

4. Общие положения расчета причальных сооружений. 16

5. Нагрузки и воздействия. 19

Общие положения. 19

Определение бокового давления грунта на стенку. 24

6. Расчет общей устойчивости. 35

Основные положения расчета. 35

Расчет общей устойчивости по методу предельных значений сдвигающих и удерживающих сил. 36

Определение расположения поверхностей скольжения при глубинном сдвиге. 39

7. Проектирование причальных сооружений гравитационного типа. 40

Основные конструктивные требования. 40

Общие положения расчета. 44

Расчет причальных сооружений из массивовой кладки. 49

Расчет уголковых причальных сооружений контрфорсного типа. 54

Расчет причальных сооружений уголкового типа с внешней анкеровкой. 57

8. Проектирование причальных сооружений типа больверк. 60

Основные конструктивные требования. 60

Основные положения расчета. 62

Особенности расчета причальных сооружений на слабых грунтах. 69

9. Проектирование причальных сооружений эстакадного типа. 71

Основные конструктивные требования. 71

Основные положения по расчету. 76

10. Проектирование отбойного пала. 84

Основные конструктивные требования. 85

Основные положения расчета. 85

11. Проектирование конструкций из цилиндрических ячеек и узких засыпных пирсов. 87

Расчет конструкций из цилиндрических ячеек. 87

Расчет узких засыпных пирсов. 90

12. Особенности проектирования причальных сооружений для условий арктики. 91

Основные конструктивные требования. 91

Основные положения расчета. 91

Расчет причальных сооружений типа больверк на ледовую нагрузку. 92

Расчет конструкций из цилиндрических ячеек. 94

Расчет узких засыпных пирсов. 94

Расчет откосных сооружений. 95

Расчет ледяных сооружений. 96

13. Проектирование берегоукрепительных сооружений. 96

Основные конструктивные требования. 98

Указания по расчету. 100

14. Особенности проектирования портовых сооружений в сейсмических районах. 102

Основные конструктивные требования. 102

Перечень основных общесоюзных и ведомственных нормативно-технических документов, использованных в настоящей инструкции. 107

Приложение 2 Дренажные устройства. 109

Приложение 3 Нагрузка от навала судна при подходе к сооружению.. 110

Приложение 4 Расчет размеров массивов для причальных сооружений из кладки массивов равной массы.. 112

Приложение 5 Огрузка постели причального сооружения из обыкновенных массивов. 115

Приложение 6 Расчет стенок больверка на нагрузки от навала судна при подходе к сооружению.. 118

Приложение 7 Проверка устойчивости массива грунта, обеспечивающего анкерное крепление сооружения типа больверк. 121

Приложение 8 Определение прочностных характеристик льда. 122

Приложение 9 Динамические расчетные схемы морских причальных сооружений. 124

Приложение 10 Сопоставительные формулы расчета прочности и устойчивости сооружений при основном и особом сочетаниях нагрузок. 130

 

 




ГОСТЫ, СТРОИТЕЛЬНЫЕ и ТЕХНИЧЕСКИЕ НОРМАТИВЫ.
Некоммерческая онлайн система, содержащая все Российские Госты, национальные Стандарты и нормативы.
В Системе содержится более 150000 файлов нормативно-технической документации, действующей на территории РФ.
Система предназначена для широкого круга инженерно-технических специалистов.

Рейтинг@Mail.ru Яндекс цитирования

Copyright © www.gostrf.com, 2008 - 2026