Крупнейшая бесплатная информационно-справочная система онлайн доступа к полному собранию технических нормативно-правовых актов РФ. Огромная база технических нормативов (более 150 тысяч документов) и полное собрание национальных стандартов, аутентичное официальной базе Госстандарта. GOSTRF.com - это более 1 Терабайта бесплатной технической информации для всех пользователей интернета. Все электронные копии представленных здесь документов могут распространяться без каких-либо ограничений. Поощряется распространение информации с этого сайта на любых других ресурсах. Каждый человек имеет право на неограниченный доступ к этим документам! Каждый человек имеет право на знание требований, изложенных в данных нормативно-правовых актах!

  


 

Государственный проектно-изыскательский и научно-исследовательский
институт морского транспорта

(СОЮЗМОРНИИПРОЕКТ)

Дальневосточный филиал

ДАЛЬМОРНИИПРОЕКТ

СОГЛАСОВАНО

Главный инженер Союзморниипроекта

__________________ Ю.А.Ильницкий

18.02.1986г.

Директор

ИСМИС АН ГССР

__________________Ш.Г.Напетваридзе

16 сентября 1985г.

УТВЕРЖДАЮ

Главный инженер СоюзморНИИпроекта

_______________ Ю.А.Ильницкий

11.03.1986

РУКОВОДСТВО
ПО ПРОЕКТИРОВАНИЮ СВАЙНЫХ ПИРСОВ
И НАБЕРЕЖНЫХ ДЛЯ СТРОИТЕЛЬСТВА
В СЕЙСМИЧЕСКИХ РАЙОНАХ

РД 31.31.39-86

Главный инженер

Дальморниипроекта

________________ А.Ф.Кожевников

28 ноября 1985г.

г. Владивосток 1986

РАЗРАБОТАНО   Государственным проектно-изыскательским и научно-исследовательским институтом морского транспорта "Союзморниипроект"

Дальневосточный филиал "ДАЛЬМОРНИИПРОЕКТ"

Главный инженер                                А.Ф.Кожевников

Руководитель разработки,

отв. исполнитель к.т.н.                        Л.Ф.Штанько

Исполнители:                                       Г.М.Кузнецова

                                                                                         С.И. Чернышев

СОГЛАСОВАНО Институтом строительной механики и сейсмостойкости АН Грузинской ССР

Директор член-корр. АН ГССР          Ш.Г.Напетваридзе

УТВЕРЖДЕНО    Распоряжением главного инженера института "Союзморниипроект" от 11.03.86г. № 33

СОДЕРЖАНИЕ

1. Общие положения. 2

2. Сейсмическое воздействие. 2

3. Динамические расчётные схемы.. 3

4. Основные положения расчета. 5

5. Расчет по спектральному методу. 5

6. Основные требования к конструированию.. 7

Приложение 1 Пример расчёта отдельной секции причала. 11

Приложение 2 Пример расчёта причального сооружения, в виде цепочки секций. 13

Приложение 3 Пример расчета отдельной секции причала с высотной надстройкой. 21

Приложение 4 Определение сейсмических нагрузок, усилий и перемещений. 22

Приложение 5 Общие рекомендации по расчёту спектральным методом.. 27

Приложение 6 Основные положения вероятностного расчёта при оценке сейсмостойкости. 28

Приложение 7 Обозначения и размерности величин, используемых в руководстве. 30

Приложение 8 Определения принятых терминов и понятий. 31

Приложение 9 Перечень использованных нормативных документов. 32

 

РУКОВОДСТВО ПО ПРОЕКТИРОВАНИЮ СВАЙНЫХ ПИРСОВ И НАБЕРЕЖНЫХ ДЛЯ СТРОИТЕЛЬСТВА В СЕЙСМИЧЕСКИХ РАЙОНАХ

РД 31.31.39-86

Взамен РД 31.31.19-74

Срок введения в действие

установлен с 01.10.86

Руководство устанавливает основные положения расчета причальных сооружений эстакадного типа и расположенных на причалах высотных надстроек, возводимых в сейсмических районах, а также содержит требования к их конструированию.

Руководство разработано на основе главы СНиП II-7-81 и предназначено для проектирования причальных сооружений, располагаемых в районах с расчетной сейсмичностью от 7 до 9 баллов.

1. ОБЩИЕ ПОЛОЖЕНИЯ

1.1. Расчёты причальных сооружений на сейсмические воздействия должны включать:

оценку сейсмичности площадки строительства;

выбор динамических расчётных схем сооружений;

определение сейсмических нагрузок, возбуждаемых в сооружении при расчётном землетрясении;

проверки прочности конструкции, общей устойчивости сооружения и устойчивости подпричального откоса причальных сооружений с учётом действия сейсмических нагрузок;

оценку несущей способности свай на сжимающую или выдергивающую нагрузки в условиях сейсмического воздействия.

1.2. Сейсмичность площадки строительства следует устанавливать на основании данных сейсморайонирования территории СССР и сейсмического микрорайонирования в зависимости от структуры и категории грунтов основания, их водонасыщенности, а также с учётом расположения площадки на рельефе местности. При этом к грунтам основания следует относить грунты, расположенные ниже зоны условного защемления свай.

Для площадки строительства, расположенной у основания склона с крутизной более 15° и сложенной грунтами более низкой категория, чем у склона, расчётную сейсмичность следует увеличивать на 0,5 балла.

1.3. Определение сейсмических нагрузок, действующих на подпричальный откос, необходимо производить в соответствии с требованиями СНиП II-7-81 и РД 31.31.26-81. Размеры грунтового массива, включаемого в динамическую схему подпричального откоса, следует назначать по рекомендациям РД 31.31.26-81.

1.4. Проверки прочности конструкции, общей устойчивости сооружения и устойчивости подпричального откоса необходимо производить на сейсмические нагрузки совместно с другими видами нагрузок, входящих в особое сочетание нагрузок и воздействий, согласно действующим нормативным документам. Состав нагрузок особого сочетания определяется главами СНиП II-6-74, СНиП II-51-74, а также ВСН 3-80 (Минморфлота).

1.5. Оценку несущей способности свай на сжимающую или выдергивающую нагрузки в условиях сейсмического воздействия следует производить согласно требованиям главы СНиП II-17-77.

2. СЕЙСМИЧЕСКОЕ ВОЗДЕЙСТВИЕ

2.1. Расчёты причальных сооружений эстакадного типа при оценке их сейсмостойкости допускается выполнять для случая сейсмического воздействия горизонтального направления, как наиболее опасного для сооружения.

2.2. При проверке прочности конструктивных элементов причальных сооружений и высотных надстроек расчёт выполняется для двух случаев, когда расчётное направление сейсмического воздействия перпендикулярно продольной оси сооружения и когда совпадает с ней.

2.3. При проверке общей устойчивости сооружения и устойчивости подпричального откоса направление сейсмического воздействия принимается перпендикулярным продольной оси сооружения.

2.4. Вертикальное направление сейсмического воздействия необходимо учитывать согласно СНиП II-7-81, а также при проверке несущей способности свайных опор по грунту на действие сжимающих и выдергивающих нагрузок.

3. ДИНАМИЧЕСКИЕ РАСЧЁТНЫЕ СХЕМЫ

3.1. Динамические расчётные схемы следует представлять:

в зависимости от наличия связей между секциями в виде отдельной секции, либо в виде цепочки секций;

в зависимости от деформативного верхнего строения секции и горизонтальной плоскости - в виде деформируемой конструкции (плиты или балки), либо в виде жёсткого диска, опирающихся на упругие свайные опоры;

в зависимости от наличия высотных надстроек - с надстройками либо без надстроек.

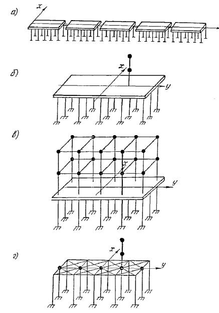
Варианты динамических расчётных схем представлены на рис.1, а также в справочных приложениях 1-3.

3.2. Динамические расчётные схемы следует представлять в дискретном виде, концентрируя массу сооружения в узловых точках. Узлы концентрации масс рекомендуется располагать равномерно по сооружению и при возможности совмещать с узлами пересечения конструктивных элементов различных направлений. В пределах длины деформируемой в горизонтальной плоскости секции число узлов концентрации масс следует принимать не менее пяти.

Рис. 1. Варианты динамических расчетных схем:

а - в виде цепочки секций;

б, в, г - секции с высотными надстройками

При концентрации масс допускается использовать правило "грузовых площадей", собирая в узел массу с площади, ограниченной половинами смежных пролётов между узлами.

Сравнительно более жёсткие блоки в пределах динамической расчётной схемы допускается представлять в виде абсолютно жёстких дисков. Каждый жёсткий диск рассматривается обладающим двумя степенями свободы: перемещением V центра масс диска в направлении сейсмического воздействия и углом поворота φ в горизонтальной плоскости (рис.2). В остальных случаях каждая сосредоточенная масса обладает одной степенью свободы - смещением в направлении сейсмического воздействия.

3.3. Верхнее строение секции допускается представлять в виде жёсткого диска, если параметры секции удовлетворяют неравенству

,                                                        (1)

где Кvv - суммарный коэффициент горизонтальной жёсткости свайного поля секции, определяемый по п.3.5, кH/м;

L - длина секции, м;

EJ - жёсткость конструкции верхнего строения на изгиб в горизонтальной плоскости, кН·м2.

3.4. При определении массы секции следует учитывать:

массу верхнего строения, включая массу оборудования;

массу временных грузов на причале в размере 0,8 от расчётной массы;

приведённую к уровню плиты массу свай и присоединённой к ним воды.

Приведённую к верхнему строению массу свай и присоединённой к ним воды допускается определять по формуле

,                                                  (2)

где mp - интенсивность массы р-й сваи с присоединённой к ней водой, т/м;

lp - расчётная длина р-й сваи, измеряемая от плиты верхнего строения до уровня защемления сваи в грунте, определяемая по ВСH 3-80/Минморфлота, м.

Присоединённую к сваям массу воды следует определять в соответствии со СНиП II-7-81.

3.5. Коэффициенты горизонтальной жёсткости свай следует определять в соответствии с требованиями СНиП II-17-77, ВCН 3-80/Минморфлот и РД 31.31.27-81.

Коэффициенты жёсткости свайного поля секции причала при представлении плиты в виде жёсткого диска определяются по формулам

, ,                                               (3)

,

где Кvv - коэффициент горизонтальной жёсткости свайного поля секции при её смещении, кН/м;

Кφφ - коэффициент горизонтальной жёсткости свайного поля секции при её повороте, кН·м;

Кφv = К - смешанный коэффициент жёсткости, характеризующий наличие эксцентриситета по длине между центром масс секции (начало координат) и центром жёсткости свайного поля, кН;

Срх, Срy, Срφ - коэффициенты жёсткости р-й сваи или свайной опоры соответственно при смещении её в направлении осей x, y и при повороте в горизонтальной плоскости, кН/м, кН/м и кН·м;

Рис. 2. Схемы перемещений секций в плане:

а) - для жёсткого диска;

б) - для деформируемой конструкции верхнего строения;

x, y - координатные оси в горизонтальной плоскости плиты;

у’ - координатная ось переместившейся плиты;

М - центр масс плиты;

G - центр жёсткости свайного поля;

е - эксцентриситет;

V - перемещение центра масс плиты;

φ - угол поворота плиты;

Vк - перемещение узла К.

xp, yp - координаты р-й сваи относительно центра масс секции (х - в направлении сейсмического воздействия, у - в перпендикулярном направлении), м;

n - число свай в секции.

4. ОСНОВНЫЕ ПОЛОЖЕНИЯ РАСЧЕТА

4.1. Сейсмические нагрузки, возникающие при землетрясении в причальном сооружении и высотных надстройках, необходимо определять, исходя из рассмотрения совместных сейсмических колебаний сооружения и надстроек.

На стадии предварительных расчётов по выбору конструкции причальных сооружений и высотных надстроек допускается сейсмические нагрузки определять, исходя из рассмотрения сейсмических колебаний отдельно причального сооружения и отдельно надстройки. При этом необходимо учитывать взаимное влияние расчленяемых подсистем согласно рекомендуемому приложению 4.

4.2. Определение сейсмических нагрузок, вызываемых их действием перемещений сооружения и внутренних усилий в элементах конструкции, следует выполнять с использованием спектрального подхода (см. раздел 5 настоящего Руководства и справочное приложение 5).

Расчёты акселерограммы следует производить для случаев оговоренных в СНиП II-7-81.

4.3. Возникающие при землетрясении сейсмические нагрузки и вызываемые ими внутренние усилия в элементах конструкции рекомендуется определять в виде сумму среднего значения искомой величины и случайной составляющей, обусловленной возможными случайными изменениями (отклонениями) от средних значений параметров динамических расчётных схем (масс, жёсткостей, эксцентриситета между центрами масс и жёсткости) и параметров прогнозируемого землетрясения (расчётное ускорение основания Ag, спектральная кривая коэффициента динамичности β).

Расчётные значения искомых величин необходимо определять с обеспеченностью не ниже 0,95. Алгоритм указанных вероятностных методов расчёта приведён в рекомендуемом приложении 6.

4.4. Для причальных сооружений эстакадного типа учёт эксцентриситета между центрами масс секции и центрами жёсткости свайного поля (см. рис. 2) является обязательным. При этом среднеквадратическое отклонение случайного эксцентриситета  следует принимать не менее 0,015L, где L - линейный горизонтальный размер секции в направлении, перпендикулярном направлению сейсмического воздействия (см. пример расчёта в приложении 5).

5. РАСЧЕТ ПО СПЕКТРАЛЬНОМУ МЕТОДУ

5.1. Расчётная сейсмическая нагрузка, действующая в направлении к-й степени свободы и соответствующая i-му тону собственных колебаний сооружения, определяется по формуле

,                                                        (4)

где k1 - коэффициент, учитывающий допускаемые повреждения, принимаемый для причальных сооружений равным 0,25;

kψ - коэффициент диссипации, принимаемый для причальных сооружений эстакадного типа равным 1,2;

mk - коэффициент инерции для k-й степени свободы динамической схемы сооружения равен, массе Mk для перемещений Vk и моменту инерции массы θk для углов поворота φk, т и т·м2;

g - ускорение свободного падения, м/с2;

А - коэффициент сейсмичности, принимаемый равным 0,1; 0,2; 0,4 для расчётной сейсмичности 7, 8 и 9 баллов соответственно, и уточняемый согласно п.1.3;

ηki - коэффициент, зависящий от формы деформации сооружения при его собственных колебаниях по i-му тону, определяемый по формуле (5), для приближённых расчётов рекомендуется приложение 3;

βi - коэффициент динамичности, соответствующий i-му тону собственных колебаний, принимаемый по рис.3.

Примечания: 1. Вычисляемая по формуле (4) сейсмическая нагрузка .в зависимости от типа к-й степени свободы представляет собой: сейсмическую силу - при смещении V, и сейсмический момент - при угле поворота φ.

2. Формулы для определения сейсмических сил и сейсмических моментов, периодов и форм собственных колебаний приведены в рекомендуемом приложении 3.

5.2. Для причальных сооружений эстакадного типа коэффициенты формы следует определять по формуле

,                                                      (5)

где xki - относительное обобщённое перемещение сооружения в направлении k-й степени свободы (смещение V или угол поворота φ) при его собственных колебаниях по i-му тону;

r - текущий номер степени свободы динамической расчётной схемы;

ns - число степеней свободы, совпадающих с направлением сейсмического воздействия (число степеней свободы, характеризующих перемещения);

n - общее число степеней свободы динамической расчётной схемы, включая и перемещения, и углы поворота.

Рис. 3. Коэффициент динамичности β для грунтов I, II, III категории

5.3. Перемещение узла динамической расчётной схемы в направлении k-й степени свободы, обусловленное действием сейсмических нагрузок, вычисленных по формуле (4), определятся по формуле

,                                                              (6)

где i - круговая частота собственных колебаний сооружения, соответствующая i-му тону, с-1.

5.4. Для секции причала, у которой плита представлена жёстким диском, усилия, возникающие в р-й свае от действия сейсмических нагрузок, определяются по формулам

,                                        (7)

где Vi и φi - смещение центра масс секции и угол её поворота, вычисленные по формуле (6), м и рад.

5.5. Для цепочки жёстких секций, соединённых между собой связями, препятствующими относительному смещению соединяемых концов секций в поперечном направлении, усилия в связях необходимо определять при сейсмическом воздействии, перпендикулярном продольной оси сооружения, по формуле

                                     (8)

где ak, bk - расстояния от центра масс k-й секции до её правого и левого концов соответственно, м;

Ck,k+1 - коэффициент жёсткости связи, соединяющей k-ю и (k + 1)-ю секции, кН/м.

5.6. Результирующие усилия в элементах конструкции либо перемещения узлов при учёте ν формы колебаний следует определять по формуле

,                                                                  (9)

где Ni - значение внутреннего усилия или обобщённого перемещения в рассматриваемом сечении или узле от действия сейсмической нагрузки Ski, соответствующий i- му тону колебаний.

Примечание. Суммировать по формуле (9) следует величины, используемые в основных формулах расчёта конструкции по первому и второму предельным состояниям.

5.7. Ширину антисейсмического шва, исключающего соударение соседних секций при сейсмических колебаниях, необходимо определять при сейсмическом воздействии, совпадающем с направлением продольной оси сооружения, по формуле

,                                                   (10)

где Uk - амплитуда перемещения k-й секции при сейсмических колебаниях в направлении соседней (k+1) секции, мм;

Δt - зазор, требуемый для свободного температурного расширения соседних секций, мм.

Амплитуду колебаний Uk допускается определять по формуле

,                                                          (11)

где ωk - частота собственных колебаний k-й секции, определяемая по формуле (12),

                                                            (12)

Примечание. Коэффициент kuu характеризует жёсткость свайного поля k-й секции при смещении плиты секции в направлении соседней (k+1)-й секции (на рис. 1.a в направлении оси y)

                                                        (13)

6. ОСНОВНЫЕ ТРЕБОВАНИЯ К КОНСТРУИРОВАНИЮ

6.1. Конструирование причальных сооружений эстакадного типа необходимо осуществлять с соблюдением требований главы СНиП II-51-74, главы СНиП II-7-81, ВСН 3-80 / Минморфлота, а также с учётом требований настоящего раздела.

6.2. Протяжённые сооружения следует разделять на отдельные секции антисейсмическими швами, которые целесообразно совмещать с температурно-осадочными швами.

Длину секций принимать в соответствии с указаниями ВСН 3-80 / Минморфлота.

Антисейсмические швы должны разделять секции по всей высоте. Ширину антисейсмических швов следует назначать по результатам расчёта и принимать не менее 40 мм.

Вертикальные антисейсмические швы в бортовых балках, плитах покрытий верхнего строения должны закрываться компенсаторами или нащельниками из оцинкованной стали, алюминия или пластмассы, не препятствующих взаимному перемещению.

Горизонтальные антисейсмические швы между секциями заполняются упругими прокладками, не препятствующими горизонтальным смещениям секций. В качестве прокладок следует применять ленты из пенопласта, пороизола, губчатой резины и других упругих материалов.

Конструкция перекрытия антисейсмических швов не должна препятствовать взаимным горизонтальным перемещениям секций во всех направлениях и должна исключать возможность возникновения случайных связей, не предусмотренных проектом.

Целесообразность соединения секций между собой специальными связями, препятствующими относительному сдвигу секций в направлении, перпендикулярном продольной оси сооружения, устанавливается по результатам расчёта на основное сочетание нагрузок с учётом сил навала судов и на особое сочетание нагрузок с учётом сейсмических сил. При этом конструкция связей должна исключать возможность их хрупкого разрушения при сейсмических колебаниях.

Рекомендуемая конструкция связей между секциями показана на рис.4.

6.3. Сборные железобетонные плиты верхнего строения каждой секции должны быть надёжно замоноличены. Стыкование сборных железобетонных плит следует выполнять в соответствии с указаниями Руководства по проектированию морских причальных сооружений РД 31.31.27-81.

В том случае, когда в продольных рёбрах плит не предусмотрены выпуски арматуры, в конструкции стыков замоноличивания должны быть устроены шпонки по продольным рёбрам. Зазоры между продольными рёбрами плит должны непрерывно армироваться каркасами с последующим их заполнением монолитным бетоном (рис.5).

6.4. В качестве опор сооружений эстакадного типа необходимо применять сваи в виде стальных труб либо предварительно напряжённых центрифугированных железобетонных оболочек. Применение в качестве опор призматических железобетонных свай для района строительства с сейсмичностью 7, 8 и 9 баллов не допускается.

При проектировании предварительно напряжённых железобетонных свай-оболочек и ригелей необходимо, чтобы предельный изгибающий момент из условия, прочности превышал не менее чем на 25% изгибающий момент из условия трещиностойкости.

6.5. Сваи необходимо погружать до глубин залегания плотных, устойчивых к сотрясениям грунтов. Опирание нижних концов свай на рыхлые водонасыщенные грунты, глинистые грунты мягко-пластичной, текучепластичной и текучей консистенции не допускается.

6.6. Верхние концы свай должны быть жёстко заделаны в ригель при ригельной конструкции верхнего строения и в плиту при плитной конструкции.

Для придания большей жёсткости замоноличенным стыкам ригелей со сваями необходимо применять безусадочный цемент, предусматривать мероприятия, препятствующие усадке бетона замоноличивания.

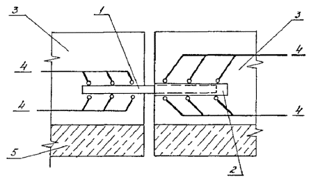
Рис. 4. Конструкция связи между секциями причала:

1 - плоский стержень; 2 - труба; 3 - бетон омоноличевания; 4 - анкерующая арматура; 5 - сборный ригель

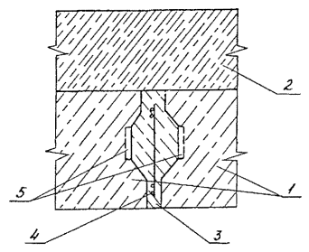
Pиc. 5. Конструкция стыка замоноличивания между продольными ребрами сборных плит покрытия причала:

1 - полки плит покрытия; 2 - цементно-бетонное покрытие; 3 - бетон марки М400 на мелком заполнителе; 4 - каркас; 5 - шпонка

Узлы соединения железобетонных ригелей с железобетонными сваями-оболочками должны быть усилены применением сборных сеток, спиралей или замкнутых хомутов с учётом знакопеременных нагрузок, на расстоянии, равном полуторной высоте сечения.

При проектировании рам следует предусматривать такое соотношение несущих способностей сваи и ригелей, при котором зоны пластичности возникают в первую очередь в ригелях.

6.7. Горизонтальную жёсткость сооружений при необходимости следует обеспечивать применением наклонных свай либо введением в рамы диагональных связей, которые должны быть установлены в крайние по длине секции свайные ряды. Головы наклонных и вертикальных свай следует жёстко соединять между собой.

6.8. В конструкциях причальных сооружений следует предусматривать мероприятия, способствующие снижению возникающих при землетрясении сейсмических сил, включающие постановку пластических поглотителей энергии колебаний (энергопоглотителей), гасителей колебаний или сейсмоизоляцию плиты верхнего строения.

При проектировании конструкций энергопоглотителей следует:

а) отдавать предпочтение энергопоглотителям кольцевого или экструзионного типов;

б) энергопоглотители вводить в диагональные связи, устанавливаемые в рамах, образованные сваями и ригелями;

в) размеры сечений энергопоглотителей подбирать из расчёта, чтобы при возникновении в них пластических шарниров, напряжения в диагональных связях не превышали расчётных сопротивлений.

Рекомендуемые типы энергопоглотителя и схема его установки в сооружении показаны на рис.6.

При устройстве сейсмоизоляции верхнего строения необходимо исключить передачу на него судовых нагрузок.

Рис. 6. Варианты причальных сооружений:

а - с энергопоглотителями кольцевого типа;

б - с энергопоглотителями экструзионного типа

1 - верхнее строение; 2 - свайный фундамент; 3 - диагональные связи; 4 - ригель; 5 - энергопоглотитель кольцевого типа; 6 - прямоугольный стержневой контур с упругопластическими шарнирами (по авторскому свидетельству №. 1074985)

Рис. 7. Причальное сооружение эстакадного типа с сейсмоизоляцией (по авторскому свидетельству № 721503):

1 - верхнее строение; 2 - ограничители перемещений; 3 - ригель; 4 - сейсмоизоляторы; 5 - свайный фундамент; 6 - демфирующие пластины; 7 - козловые опоры

Рис. 8. Конструкции сейсмоизоляторов:

1 - верхнее строение; 2- ригель; 3 - балансир; 4 - резиновая опора; 5 - антифрикционные прокладки; ( по авторским свидетельствам №480796, 897961, 1021718); 6 - опорные плиты

Рекомендуемая конструкция причального сооружения с сейсмоизолированным верхним строением показана на рис. 7 и 8.

При выполнении отмеченных мероприятий оценку сейсмостойкости сооружений необходимо осуществлять путём расчёта на акселерограмму в соответствии с рекомендациями СНиП II-7-81.

Ответственный исполнитель,

рук. разработки, рук.НИОИИС,

канд. техн. наук                                                                                 Л.Ф.Штанько

Рук. группы стандартизации

и метрологии                                                                                     Г.И.Парфёнова

Исполнители:

Зав. сектором НИОИИС                                                                   Г.М.Кузнецова

Зав. сектором НИОИИС                                                                   С.И.Чернышов

Нормоконтролёр                                                                               С.И.Храпко

ПРИЛОЖЕНИЕ 1

(справочное)

ПРИМЕР РАСЧЁТА ОТДЕЛЬНОЙ СЕКЦИИ ПРИЧАЛА

1. УСЛОВИЯ ПРИМЕРА И ИСХОДНЫЕ ДАННЫЕ

Требуется определить сейсмические нагрузки, действующие на технологическую секцию нефтепирса (рис.1.1), строящегося в районе с сейсмичностью 8 баллов.

Размеры плиты верхнего строения секции в плане равны L ´ B=76 ´ 38 м. Глубина у причала равна 13 м.

Конструктивно верхнее строение секции выполнено в виде сборно-монолитной плиты коробчатого сечения общей высотой 2,7 м.

Плита расположена на 63-х железобетонных предварительно-напряжённых сваях-оболочках (рис.2) с наружным диаметром 1,6 м и толщиной стенки 0,15 м. Сваи погружены в суглинки с гравием и галькой на глубину 10 м. По классификации СНиП II-7-81 указанные грунты относятся к грунтам II категории.

Последовательность расчёта принимается в соответствии со справочным приложением 5.

2. ОПРЕДЕЛЕНИЕ ИНЕРЦИОННЫХ И жЁСТКОСТНЫХ ХАРАКТЕРИСТИК СЕКЦИИ

Масса плиты секции с учётом массы технологического оборудования (стендеров, операторской башни и т.д.), а также приведённых к плите массы свай и присоединённой к ним воды М = 10,24·103 т. Момент инерции массы секции θ = 56,9·105 т м2.

Центр массы секции расположен на расстоянии 0,6 м вправо от центра плиты (см. рис. 1.2).

Рис. 1.1 Схема нефтепирса

Рис. 1.2. План свайного поля технологической секции (размеры в метрах)

Коэффициенты жёсткости свай при смещении её голова (Срх, Сру) и при повороте Срφ в горизонтальной плоскости определяются по формулам

,      ,                                                (1.1)

где EJ, GJp - жёсткость сваи на изгиб и кручение соответственно;

l, lкр - расчётные длины свай при изгибе и кручении соответственно.

По результатам расчёта получено:

EJ = 76·105 кН·м2, GJp = 61·105 кН·м2, l = 17,9 м, lкр = 20,0 м.

Коэффициенты жёсткости свай равны

Срxру=15,95·103 кН/м, Срφ=30,4·104 кН·м.

Коэффициенты жёсткости свайного поля, вычисленные по формулам (3) Рyкoвoдcтвa, равны

Kvv=106 кH/м, Kvφ= -12·105 кН, Кφφ=62·107 кН·м.

Конструктивный эксцентриситет по длине секции между центром мacc и центром жёсткости свайного поля равен

                                                 (1.2)

что составляет 1,6% от длины секции L.

В соответствии с п.1.1 рекомендуемого приложения 4 расчёты производятся с учётом случайного эксцентриситета .

Таким образом, диапазон изменения эксцентриситета принимается от минус 3,5 до 1,1 м, или в процентах - от минус 4,5% до 1,5%L.

Дальнейшие расчёты выполняются для трёх значений эксцентриситета.

                                            (1.3)

3. ОПРЕДЕЛЕНИЕ ПЕРИОДОВ СОБСТВЕННЫХ КОЛЕБАНИЙ КОЭФФИЦИЕНТОВ ДИНАМИЧНОСТИ И КОЭФФИЦИЕНТОВ ФОРМ

Частоты собственных колебаний секции определяются по формуле (4.4), а периоды по формуле (4.6) рекомендуемого приложения 4.

Используя полученные периоды, по графику на рис.3 основной части Руководства, соответствующему грунтам II категории, определяются коэффициенты динамичности β.

Коэффициенты формы определяются по графикам на рис.4.4 рекомендуемого приложения в зависимости от эксцентриситета (см. формулу (1.3) настоящего приложения) и параметра λ, определяемого по формуле (4.3) приложения 4 (λ = 1,12).

Результаты расчётов представлены в таблице 1.1.

Таблица 1.1

Динамические характеристики сооружения

Эксцентриситет е, м

Период, с

Коэффициент динамичности

Коэффициент формы

Т1

Т2

β1

β2

ηv1

ηφ1

ηv2

ηφ2

-3,5

0,670

0,576

1,64

1,91

0,70

0,0193

0,30

-0,0193

0

0,635

0,602

1,73

1,83

1,00

0

0

0

1,1

0,641

0,597

1,72

1,84

0,90

-0,0128

0,10

0,0128

4. ОПРЕДЕЛЕНИЕ СЕЙСМИЧЕСКИХ СИЛ И УСИЛИЙ В КРАЙНИХ СВАЯХ

Сейсмическая сила и сейсмический момент определяются по формуле (4.1) рекомендуемого приложения 4. Исходными данными для определения сейсмических сил, помимо вычисленных ранее, являются:

K1 = 0,25; Kψ = 1,2; g = 9,8м/с2; А = 0,2.

Результаты расчёта представлены в таблице 1.2.

Таблица 1.2

Сейсмические силы и моменты

Эксцентриситет, е, м

Первая форма

Вторая форма

S1, кН

m1, кН·м

S2, кН

m2, кН·м

-3,5

6912

105890

3450

-123300

0

10416

0

0

0

1,1

9320

-73660

1108

-78800

Усилия в крайних сваях определяются по формулам (4.8) рекомендуемого приложения 4. В таблице 1.3 приведены результаты расчёта усилий Spx для каждой из двух форм колебаний секции, a также результирующие усилия, вычисленные по формуле (9) Руководства. При расчётах приняты координаты крайних свай слева ур = -36,6 м, и справа ур = 35,4 м.

Таблица 1.3

Сейсмические силы, действующие на сваи, кН

Эксцентриситет, е, м

Первая форма

Вторая форма

Результирующая

Sрхл

Sрхпр

Sрхл

Sрхпр

Sрхл

Sрхпр

-3,5

-1

244

152

-58

152

250

0

166

166

0

0

166

166

1,1

230

44

-57

86

236

97

Из таблицы 1.3 следует, что при наличии эксцентриситета е<0, более нагруженными являются сваи, расположенные на правом конце секции, а при эксцентриситете е>0 - на левом конце.

Аналогично определяются составляющие Spy и Spφ сейсмических сил, действующих на сваи.

ПРИЛОЖЕНИЕ 2
(справочное)

ПРИМЕР РАСЧЁТА ПРИЧАЛЬНОГО СООРУЖЕНИЯ, В ВИДЕ ЦЕПОЧКИ СЕКЦИЙ

1. УСЛОВИЯ ПРИМЕРА

Пирс судоремонтного завода расположен в районе с сейсмичностью 8 баллов на грунтах II категории, исходными коэффициентами являются КI=0,25; А=0,2; Кψ=1,2.

Пирс состоит из пяти одинаковых симметричных секций: размеры секций в плане LхВ=60х17 м, эксцентриситеты на секциях е=0, массы секций определены с учётом рекомендаций раздела 3 настоящего Руководства, Мr=6000 т, моменты инерции масс θr=1944500 т·м2.

Секции отделены температурными швами и соединены специальными связями (стальной стержень в трубе), которые препятствуют относительному смещению соседних концов в поперечном направлении. Коэффициент жёсткости связи в зоне температурного шва Cv=13·105 кН/м.

С берегом пирс соединён переходным мостиком, коэффициент жёсткости связи Сv=0.

Ростверк каждой секции расположен на свайном фундаменте из 15-ти железобетонных центрифугированных свай-оболочек диаметром 1,6 м, концевые сваи в секции усилены с помощью диагональных связей.

Глубина у причала 9,75 м.

Шаг свай в продольном направлении 12 м, в поперечном - 5,5 м.

Расчётная длина свай 21 м.

Коэффициенты жёсткости свай-оболочек определены согласно ВCН 3-80/Минморфлот: Срxру=20500 кН/м, Срφ=292062 кН·м; для концевых свай Срх=41000 кН/м.

2. ДИНАМИЧЕСКАЯ РАСЧЁТНАЯ СХЕМА И АЛГОРИТМ РАСЧЕТА

Согласно требованиям раздела 3 Руководства оценим жёсткость плиты ростверка, сечение плиты изображено на рис. 2.1.

Проверка условия (1) из раздела 3 Руководства при подстановке исходных значений Кvv=43,05·104 кH/м, Lr=60 м, ЕJпл=13 109 кН·м2 показывает

.                                            (2.1)

Из выражения (1) следует, что плиту можно принимать жёсткой, недеформируемой в горизонтальной плоскости. Поэтому в расчётной схеме на рис. 2.2 пирс - цепочка из пяти упруго-соединённых жёстких дисков, имеющих по две степени свободы. Вся система будет иметь 10 степеней свободы n=10 (n=2·N, где количество секций N=5).

рис. 2.1. Сечение плиты ростверка

Рис. 2.2. Схема действия сейсмических нагрузок на пирс

Формула (4) в соответствии, с примечанием к п. 2.1 настоящего Руководства преобразуется в формулы сейсмической силы Sri, вызывающей смещение r-й секцииVri, и сейсмического момента mri , поворачивающего секцию на угол φri,

,                                                      (2.2)

,                                                       (2.3)

где Mr, θr - масса r-й секция и момент инерции её относительно центральной вертикальной оси;

ηrvi, ηrφi - коэффициенты, зависящие от формы деформации сооружения

                                                              (2.4)

,                                                     (2.5)

где Vri, Фri - относительные смещения центра масс секции и относительные углы поворота, которые определяются преимущественно с применением ЭВМ.

3. ИСПОЛЬЗОВАНИЕ ПРОГРАММЫ "PIRS"

Задача определения сейсмических нагрузок по формулам (2.2)-(2.5) решается с применением программы "PIRS", разработанной Дальморниипроектом с учётом требований настоящего Руководства.

Исходные данные заполняются на специальных бланках, приведённых в инструкции к программе, и содержат следующую информацию:

N - количество секций (max N=20), ν - количество учитываемых в расчётах форм свободных колебаний (max ν=40), произведение коэффициентов КI Кψ А, категория грунта распределённые и сосредоточенные массы секций, заданные эксцентриситеты между центрами масс и центром жесткости секции, размеры секций, координаты и жёсткости свай, жёсткости связей между секциями.

Программа позволяет автоматически сформировать матрицу инерционных членов системы ||A|| и матрицу жёсткости ||С|| системы и выводит их на печать.

Если эти матрицы заданы, то допускается вводить их в программу в качестве исходных.

Подробная блок-схема алгоритма приведена в инструкции к программе. Программа составлена на языке Фортран-4 для ЭВМ третьего поколения в системе ОС ЕС.

4. РЕЗУЛЬТАТЫ РАСЧЕТА ПО ПРОГРАММЕ "PIRS"

Распечатка результатов приведена в виде таблиц 2.1-2.8.

Результаты расчёта, зависящие от форм свободных колебаний системы, оформлены в таблицы 2.1-2.6 с соответствующими номерами форм i, где имеются следующие характеристики:

Ti - период, с;

βi - коэффициент динамичности;

τrvi, τrφi - коэффициенты форм, определённые по формуле (2.4), для которых в распечатке принято обозначение "ТАУ V" и "ТАУ F";

Sri - сейсмическая сила, действующая на секцию, кН;

mri - сейсмический момент, поворачивающий секцию, кН·м;

Vлев ri, Vпр ri - смещение левого и правого концов секций, мм.

Таблица 2.7 - таблица результирующих величин Vлев и Vпр, т.е. величин, вычисленных с учётом заданного количества форм свободных колебаний (для рассматриваемого случая 10 форм).

В этой же таблице проверяется условие с помощью которого контролируется правильность вычисленных форм колебаний. Если условие (2.4) не соблюдается, то расчёт выполнен не верно.

,                               ,                                   (5.4)

РАСПЕЧАТКА РЕЗУЛЬТАТОВ РАСЧЁТА ПО ПРОГРАММЕ "PIRS"

Таблица 2.1

1. ФОРМА КОЛЕБАНИЙ

Период (секунды)                                                                         0.742

Коэффициент динамичности                                                       1.35

НОМЕР СЕКЦИИ

КОЭФФИЦИЕНТ ФОРМ

СЕЙСМИЧЕСКАЯ НАГРУЗКА кН/м

ПЕРЕМЕЩЕНИЕ КОНЦОВ мм

ТАУ V

ТАУ F

S

M

V лев

V прв

1

1.0000

-0.0000

4756.0

-2.8

11.04827

11.04705

2

0.9999

-0.0000

4755.7

-1.1

11.04705

11.04657

3

0.9999

-0.0000

4755.5

-0.4

11.04660

11.04644

4

1.0000

0.0000

4756.3

8.5

11.04643

11.05007

5

1.0003

0.0000

4757.5

4.3

11.05012

11.05196

Таблица 2.2

2. ФОРМА КОЛЕБАНИЙ

Период (секунды)                                                                            0.739

Коэффициент динамичности                                                          1.35

НОМЕР СЕКЦИИ

КОЭФФИЦИЕНТ ФОРМ

СЕЙСМИЧЕСКАЯ НАГРУЗКА кН/м

ПЕРЕМЕЩЕНИЕ КОНЦОВ мм

ТАУ V

ТАУ F

S

M

V лев

V прв

1

0.0001

-0.0000

0.7

-0.8

0.00170

0.00138

2

0.0001

-0.0000

0.4

-2.0

0.00137

0.00053

3

0.0000

-0.0000

0.0

-2.4

0.00052

-0.00052

4

-0.0001

-0.0000

-0.4

-2.0

-0.00053

-0.00137

5

-0.0001

-0.0000

-0.7

-0.8

-0.00138

-0.00170

Таблица 2.3

3. ФОРМА КОЛЕБАНИЙ

Период (секунды)                                                                            0.728

Коэффициент динамичности                                                          1.37

НОМЕР СЕКЦИИ

КОЭФФИЦИЕНТ ФОРМ

СЕЙСМИЧЕСКАЯ НАГРУЗКА кН/м

ПЕРЕМЕЩЕНИЕ КОНЦОВ мм

ТАУ V

ТАУ F

S

M

V лев

V прв

1

-0.0001

0.0000

-0.6

3.2

-0.00192

-0.00060

2

0.0000

0.0000

0.2

5.2

-0.00059

0.00155

3

0.0001

-0.0000

0.7

-0.0

0.00156

0.00156

4

0.0000

-0.0000

0.2

-5.2

0.00155

-0.00059

5

-0.0001

-0.0000

-0.6

-3.2

-0.00060

-0.00192

Таблица 2.4

4. ФОРМА КОЛЕБАНИЙ

Период (секунды)                                                                            0.709

Коэффициент динамичности                                                          1.41

НОМЕР СЕКЦИИ

КОЭФФИЦИЕНТ ФОРМ

СЕЙСМИЧЕСКАЯ НАГРУЗКА кН/м

ПЕРЕМЕЩЕНИЕ КОНЦОВ мм

ТАУ V

ТАУ F

S

M

V лев

V прв

1

0.0000

-0.0000

0.1

-1.3

0.00040

-0.00012

2

-0.0000

-0.0000

-0.1

-0.5

-0.00013

-0.00032

3

0.0000

0.0000

0.0

1.6

-0.00032

0.00032

4

0.0000

-0.0000

0.1

-0.5

0.00032

0.00013

5

-0.0000

-0.0000

-0.1

-1.3

0.00012

-0.00040

Таблица 2.5

5. ФОРМА КОЛЕБАНИЙ

Период (секунды)                                                                            0.682

Коэффициент динамичности                                                          1.47

НОМЕР СЕКЦИИ

КОЭФФИЦИЕНТ ФОРМ

СЕЙСМИЧЕСКАЯ НАГРУЗКА кН/м

ПЕРЕМЕЩЕНИЕ КОНЦОВ мм

ТАУ V

ТАУ F

S

M

V лев

V прв

1

-0.0000

0.0000

-0.0

0.5

-0.00009

0.00007

2

0.0000

-0.0000

0.0

-0.3

0.00008

-0.00003

3

-0.0000

0.0000

-0.0

0.0

-0.00003

-0.00003

4

0.0000

0.0000

0.0

0.3

-0.00003

0.00008

5

-0.0000

-0.0000

-0.0

0.5

0.00004

-0.00009

Таблица 2.6

6. ФОРМА КОЛЕБАНИЙ

Период (секунды)                                                                            0.667

Коэффициент динамичности                                                          1.50

НОМЕР СЕКЦИИ

КОЭФФИЦИЕНТ ФОРМ

СЕЙСМИЧЕСКАЯ НАГРУЗКА кН/м

ПЕРЕМЕЩЕНИЕ КОНЦОВ мм

ТАУ V

ТАУ F

S

M

V лев

V прв

1

0.0000

0.0000

0.0

1.4

-0.00025

0.00025

2

0.0000

-0.0000

0.0

-1.4

0.00025

-0.00025

3

0.0000

0.0000

0.0

1.4

-0.00025

0.00025

4

0.0000

-0.0000

0.0

-1.4

0.00025

-0.00025

5

-0.0000

0.0000

-0.0

1.4

-0.00025

0.00025

Таблица 2.7

СУММАРНЫЕ РЕЗУЛЬТАТЫ ПО ВСЕМ ФОРМАМ КОЛЕБАНИЙ

НОМЕР СЕКЦИИ

СУММА КОЭФФИЦИЕНТОВ

ОГИБАЮЩАЯ мм

ТАУ V

ТАУ F

V лев

V прв

1

1.0000

-0.0000

11.04827

11.04705

2

1.0000

0.0000

11.04705

11.04657

3

1.0000

-0.0000

11.04660

11.04644

4

1.0000

-0.0000

11.04643

11.05007

5

1.0000

-0.0000

11.05012

11.05196

СООТНОШЕНИЕ ЧАСТОТ КРУТИЛЬНЫХ И ПОСТУПАТЕЛЬНЫХ КОЛЕБАНИЙ

1.236                    1.236                1.236                   1.236                    1.236

ПОЛУЧЕННЫЙ ЭКСЦЕНТРИСИТЕТ МЕЖДУ ЦЕНТРОМ МАСС И ЦЕНТРОМ ЖЕСТКОСТИ В МЕТРАХ

0.0                        0.0                    0.0                       0.0                        0.0

УСИЛИЯ В СВЯЗЯХ МЕЖДУ СЕКЦИЯМИ В КИЛОНЬЮТОНАХ

0.0                        0.022                0.041                   0.020                    0.062               0.0

Таблица 2.8

ПЕРЕМЕЩЕНИЕ СВАЙ - V, U, МИЛЛИМЕТРЫ

УСИЛИЯ В СВАЯХ - SX, SY, M, КИЛОНЬЮТОНЫ И КИЛОНЬЮТОН МЕТР

НОМЕРА СВАЙ

СЕКЦИЯ 1

V

U

SX

SY

М

1

11.048

0.000

452.974

0.007

0.010

2

11.048

0.0

452.974

0.0

0.010

3

11.048

0.000

452.974

0.007

0.010

4

11.048

0.000

226.482

0.004

0.010

5

11.048

0.0

226.482

0.0

0.010

6

11.048

0.000

226.482

0.004

0.010

7

11.048

0.000

226.477

0.004

0.010

8

11.048

0.0

226.477

0.0

0.010

9

11.048

0.000

226.477

0.004

0.010

10

11.047

0.000

226.472

0.004

0.010

11

11.047

0.0

226.472

0.0

0.010

12

11.047

0.000

226.472

0.004

0.010

13

11.047

0.000

452.934

0.007

0.010

14

11.047

0.0

452.934

0.0

0.010

15

11.047

0.000

452.934

0.007

0.010

СЕКЦИЯ 2

1

11.047

0.000

452.927

0.009

0.012

2

11.047

0.0

452.927

0.0

0.012

3

11.047

0.000

452.927

0.009

0.012

4

11.047

0.000

226.462

0.005

0.012

5

11.047

0.0

226.462

0.0

0.012

6

11.047

0.000

226.462

0.005

0.012

7

11.047

0.000

226.460

0.005

0.012

8

11.047

0.0

226.460

0.0

0.012

9

11.047

0.000

226.460

0.005

0.012

10

11.047

0.000

226.458

0.005

0.012

11

11.047

0.0

226.458

0.0

0.012

12

11.047

0.000

226.458

0.005

0.012

13

11.047

0.000

452.911

0.009

0.012

14

11.047

0.0

452.911

0.0

0.012

15

11.047

0.000

452.911

0.009

0.012

СЕКЦИЯ 3

1

11.047

0.000

452.910

0.005

0.006

2

11.047

0.0

452.910

0.0

0.006

3

11.047

0.000

452.910

0.005

0.006

4

11.047

0.000

226.454

0.002

0.006

5

11.047

0.0

226.454

0.0

0.006

6

11.047

0.000

226.454

0.002

0.006

7

11.047

0.000

226.454

0.002

0.006

8

11.047

0.0

226.454

0.0

0.006

9

11.047

0.000

226.454

0.002

0.006

10

11.046

0.000

226.453

0.002

0.006

11

11.046

0.0

226.453

0.0

0.006

12

11.046

0.000

226.453

0.002

0.006

13

11.046

0.000

452.904

0.005

0.006

14

11.046

0.0

452.904

0.0

0.006

15

11.046

0.000

452.904

0.005

0.006

СЕКЦИЯ 4

1

11.047

0.000

452.918

0.016

0.021

2

11.047

0.0

452.918

0.0

0.021

3

11.047

0.000

452.918

0.016

0.021

4

11.048

0.000

226.474

0.008

0.021

5

11.048

0.0

226.474

0.0

0.021

6

11.048

0.000

226.474

0.008

0.021

7

11.048

0.000

226.489

0.008

0.021

8

11.048

0.0

226.489

0.0

0.021

9

11.048

0.000

226.489

0.008

0.021

10

11.049

0.000

226.504

0.008

0.021

11

11.049

0.0

226.504

0.0

0.021

12

11.049

0.000

226.504

0.008

0.021

13

11.050

0.000

453.038

0.016

0.021

14

11.050

0.0

453.038

0.0

0.021

15

11.050

0.000

453.038

0.016

0.021

СЕКЦИЯ 5

1

11.050

0.000

453.062

0.009

0.012

2

11.050

0.0

453.062

0.0

0.012

3

11.050

0.000

453.062

0.009

0.012

4

11.051

0.000

226.539

0.005

0.012

5

11.051

0.0

226.539

0.0

0.012

6

11.051

0.000

226.539

0.005

0.012

7

11.051

0.000

226.546

0.005

0.012

8

11.051

0.0

226.546

0.0

0.012

9

11.051

0.000

226.546

0.005

0.012

10

11.051

0.000

226.554

0.005

0.012

11

11.051

0.0

226.554

0.0

0.012

12

11.051

0.000

226.554

0.005

0.012

13

11.052

0.000

453.123

0.009

0.012

14

11.052

0.0

453.123

0.0

0.012

15

11.052

0.000

453.123

0.009

0.012

В следующей таблице 2.8 приведены результаты расчёта для свай, с учетом 10 форм колебаний:

 - проекции перемещения головы р-й сваи, соответственно на оси х и у, мм;

 - проекции на оси x и у сейсмической нагрузки, воспринимаемой р-й сваей, кН;

 - сейсмический момент р-й сваи, кН·м.

5. ВЕРОЯТНОСТНЫЙ РАСЧЁТ, УЧИТЫВАЮЩИЙ СЛУЧАЙНЫЕ ЭКСЦЕНТРИСИТЕТЫ МЕЖДУ ЦЕНТРОМ МАСС И ЦЕНТРОМ ЖЕСТКОСТИ СВАЙНОГО ПОЛЯ СЕКЦИЙ

Согласно требованиям раздела 4 Руководства принимаем среднее квадратическое отклонение случайного эксцентриситета на секциях  Среднее значение . Причём, распределение вероятностей случайных величин подчиняется нормальному закону.

Проверим возможность использования метода линеаризации, описанного в приложении 6.

Искомым вектором является вектор перемещений крайних свай секций  составленный из шести компонентов (отклонения концов двух смежных секций в рассматриваемом примере одинаковы).

В результате расчёта регулярной цепочки секций при отсутствии эксцентриситетов е=0 (см. расчёт в разделе 4 настоящего приложения) определён вектор средних перемещений свай

.                                           (2.7)

Из интервала случайных эксцентриситетов  выбраны значения  и решено 6 вариантов задач. В качестве примера, для одного из этих вариантов, когда е = +0,90 м учитывается поочерёдно на каждой секции, построены эпюры перемещений свай, изображённые на рис.2.3.

Как показали результаты расчётов, наибольшие отклонения имеют концевые сваи секции, на которой имеется эксцентриситет.

Эксцентриситеты на других секциях оказывают малое влияние на отклонения этих свай. Рассмотрим зависимость отклонений концевых свай в секции от величины эксцентриситета на секции.

По результатам расчётов 6 вариантов задач на рис. 2.4 построены зависимости перемещений свай от эксцентриситета  К - номер узла в цепочке секций, r - номер секции, в которой имеется эксцентриситет.

Из рис. 2.4 видно, что зависимость  носит нелинейный характер причём линеаризовать эту зависимость приближённо возможно лишь для участка |е|<0,90 м. Поэтому в рассматриваемом примере при расчётном эксцентриситете из интервала  м использование метода линеаризации может привести к заметным погрешностям.

Следует отметить, что участок линейной зависимости уменьшается при , где параметр  определяется по формуле (4.3) приложения 4.

Произведём оценку возможных перемещений свай, возникающих вследствие образования на секциях эксцентриситетов  с помощью построения огибающей эпюры по результатам выполненных частных решений.

Рис. 2.3. Эпюры перемещений свай в цепочке секций

а, б,…, д - для эксцентриситетов соответственно на 1-ой, 2-ой,..., 5-ой секциях;

L - длина цепочки;

y/L - относительные координаты свай в цепочке секций;

1,2,…, 6 - узлы расположения свай вдоль пирса

Рис. 2.4. Зависимость перемещений свай от эксцентриситета V(e):

1,2,…, 6 - кривые зависимости для свай, расположенных в узлах цепочки секций с соответствующими номерами 1, 2,…, 6

Рис. 2.5. Эпюры перемещений свай в цепочке секций, возникающих вследствие влияния эксцентриситетов на деформацию пирса:

1 - огибающая эпюра; 2 - эпюра для е1 = +0,9м ;

3 - эпюра для е2 = +1,8 м; 4 - эпюра для е3 = +1,8;

5 - эпюра для е5 = -0,9 м; 6 - эпюра для е4 = -1,8;

7 - эпюра для е5 = -1,6 м

Наибольшие отклонения  для свай, расположенных в узлах цепочки секций 1, 2, ..., 6, определяются с соответствующих кривых на рис.2.4 и сведены в таблицу 2.1.

Таблица 2.1

К

е, м

, мм

Skr, кН

1

2

3

4

1

+0,9

24,0

984

2

+1,8

16,5

676

3

+1,8

17,9

734

4

-1,8

17,9

734

5

-1,8

16,5

676

6

-0,9

24,0

984

На рис.2.5 построена огибающая эпюра возможных перемещений свай в цепочке секций: при любых эксцентриситетах из рассмотренного интервала.

Усилия в крайних свай секций, приведённые в таблице 2.1, вычисляются по формуле

                                                                                                 (2.8)

6. РАСЧЁТ УСИЛИЙ В КРАЙНИХ СВАЯХ СЕКЦИЙ ПО ПРИБЛИЖЁННЫМ ФОРМУЛАМ

По приближённой формуле (4.10) рекомендуемого приложения 4 определяется частота собственных колебаний цепочки

,                                               (2.9)

что соответствует периоду  с.

По рис.3 Руководства определяется коэффициент динамичности β = 1,5.

Из рис.4.4 приложения 4 для каждой сваи с относительными координатами 0,0; 0,2; 0,4; 0,6; 0,8; 1,0 определяются соответствующие коэффициенты форм

.                                          (2.10)

Исходные данные и полученные величины подставляем в формулу (4.9) рекомендуемого приложения 4 и определяем расчётные горизонтальные усилия Spx в крайних сваях с первой по пятую секции, обусловленные сейсмическим воздействием в 8 баллов,

                               (2.11)

Как видно, полученные результаты удовлетворительно согласуются с результатами точного расчёта, приведённого в таблице 2.1.

ПРИЛОЖЕНИЕ 3

(справочное)

ПРИМЕР РАСЧЕТА ОТДЕЛЬНОЙ СЕКЦИИ ПРИЧАЛА С ВЫСОТНОЙ НАДСТРОЙКОЙ

1. УСЛОВИЯ РАСЧЕТА И ИСХОДНЫЕ ДАННЫЕ

Требуется определить сейсмические силы, действующие на технологическую секцию нефтепирса и на расположенное на ней здание операторской.

Сейсмичность района 8 баллов.

Конструкция секции нефтепирса приведена в приложении 1.

Здание операторской запроектировано четырехэтажным высотой 10,0 м и размерами в плане 11,9´6,0 м с цокольным этажом, который размещается в монолитных конструкциях пирса.

Центр масс здания расположен на расстоянии 17,4 м от центра масс технологической секции нефтепирса.

2. ВЫБОР ДИНАМИЧЕСКОЙ РАСЧЕТНОЙ СХЕМЫ СООРУЖЕНИЯ

В соответствии с п.4.1 Руководства сейсмические силы, действующие на причальное сооружение и надстройку, следует определять рассматривая совместные сейсмические колебания причального сооружения и высотной надстройки.

Отношение массы здания операторской к массе технологической секции нефтепирса составляет 0,03.

Согласно п.3.1 рекомендуемого приложения здание операторской нефтепирса можно считать легкой надстройкой.

Исходя из конструктивных особенностей рассматриваемого сооружения, его динамическая расчетная схема описывается в виде отдельной секции (жесткий диск, опирающийся на упругие свайные опоры) с высотной легкой надстройкой башенного типа (рис. 3.1).

Рис. 3.1. Динамическая расчетная схема

Параметры динамической расчётной схемы, относящиеся к нефтепирсу, приведены в приложении 1.

Расчетная схема надстройки представляется в виде консольного стержня с двумя сосредоточенными массами m1 = m2 = 150 т, расположенными на разных уровнях по высоте. Жесткость стержня эквивалентна общей боковой жесткости всех элементов здания.

3 ОПРЕДЕЛЕНИЕ СЕЙСМИЧЕСКИХ СИЛ

Сейсмические силы, действующие на причальное сооружение и надстройку, определяются по приближенному способу, изложенному в рекомендуемом приложении 4.

Результаты расчета причального сооружения приведены в справочном приложении 1.

Сейсмические силы, действующие на надстройку, определяются по формуле (4.13) рекомендуемого приложения 4.

Исходные данные для расчета следующие: К1 = 0,25; Кψ = 1,2; g = 9,8 м/с2; A = 0,2.

Приведенный коэффициент формы  причального сооружения определяется по формуле (4.14) рекомендуемого приложения 4. Входящие в указанную формулу величины приняты по результатам расчета отдельной секции с эксцентриситетом е = -3,5 м, или 4,5%L. В результате вычислении получено .

Частоты (периоды) и формы собственных колебаний надстройки определены по известным формулам динамики сооружений как для системы с двумя степенями свободы.

На основании полученных периодов Ti по графику на рис.3 основной части Руководства соответствующем грунтам II категории, определены коэффициенты динамичности β, а по формуле (5) - коэффициенты формы .

Результаты расчета динамических характеристик представлены в табл.3.1.

Таблица 3.1

Динамические характеристики надстройки

Период, c

Коэффициент динамичности

Коэффициенты формы

T1

T2

β1

β2

η11

η21

η12

η22

0,805

0,119

1,37

2,70

0,39

1,19

0,61

-0,19

Коэффициенты усиления колебаний надстройки Kyi определяются по графикам на рис.4.6 в зависимости от параметра γ (см. формулу (4.15) и отношения приведенной массы надстройки к массе секции , вычисляемого с использованием формул (4.16) и (4.17) рекомендуемого приложения 3. Для рассчитываемого сооружения  т;  т;  т; ,    

Коэффициент усиления для первого тона колебаний - Ky1 = 2,5, для второго тона - Ку2 = 1,1.

Результаты расчета сейсмических сил представлены в табл.3.2.

Таблица 3.2

Сейсмические силы

Первая форма

Вторая форма

S11, кН

S21, кН

S12, кН

S22, кН

122,0

374,0

166,0

-52.0

ПРИЛОЖЕНИЕ 4

(рекомендуемое)

ОПРЕДЕЛЕНИЕ СЕЙСМИЧЕСКИХ НАГРУЗОК, УСИЛИЙ И ПЕРЕМЕЩЕНИЙ

Приведённые в настоящем приложений приближенные формулы предназначены для предварительных расчётов на ранних стадиях проектирования. Допускается их использовать при расчётах причальных сооружений III и IV классов в случае отсутствия специализированных вычислительных программ.

1. ИЗОЛИРОВАННАЯ СЕКЦИЯ

1.1. Для изолированной секции сейсмическая сила и сейсмический момент, соответствующие i-й форме колебаний, определяются по формулам

,

,                                                 (4.1)

где М, θ - масса и момент инерции массы секции относительно центральной вертикальной оси, т, т·м2;

ηvi, ηφi - коэффициенты формы, определяемые по графикам на рис.4.1 настоящего приложения в зависимости от эксцентриситета е и параметра λ.

Эксцентриситет е между центром масс секции и центром жёсткости свайного поля следует определять с обеспеченностью 0,95 и принимать не менее 3% L, где L -линейный горизонтальный размер секции в направлении, перпендикулярном направлению сейсмического воздействия.

Рис. 4.1. Графики коэффициентов форм для различных λ:

1, 2…10 - соответственно для λ = 6,200; 2,060; 1,240; 1,125; 1,030; 0,993; 0,955; 0,886; 0,775; 0,620

Для случая, когда существует конструктивный эксцентриситет ек (см. пример расчёта в приложении 1), расчётные эксцентриситеты принимаются из интервала

.                                                 (4.2)

Параметр λ, характеризующий соотношение частот крутильных и поступательных колебаний секции без эксцентриситета, определяется по формуле

,                                                          (4.3)

где  - коэффициенты жёсткости свайного поля секции, определяемые по формулам (3) Руководства.

При выборе значений коэффициентов форм ηv и ηφ, соответствующих отдельному тону колебаний (с периодом Тmax либо Tmin), следует руководствоваться блок-схемами, приведёнными на рис.4.2.

Примечание. Сейсмический момент mi считается положительным при повороте секции против часовой стрелки (рис.4.3). Знак сейсмического момента mi совпадает со знаком соответствующего коэффициента формы ηφi.

1.2. Частоты собственных колебаний секции следует определять по формуле

                           (4.4)

При малых эксцентриситетах (е<5%L) частоты собственных колебаний секции допускается определять по формулам

                                 .                            (4.5)

Рис. 4.2. Блок-схемы для выбора коэффициентов форм

Рис. 4.3. Схема действия на секцию сейсмических сил

а - для одного тона колебаний,

б - для другого тона

Периоды собственных колебаний определяются по формуле

.                                                         (4.6)

1.3. Перемещение центра масс и угол поворота плиты секции в горизонтальной плоскости, обусловленные действием i-й составляющей сейсмических сил, определяются по формулам

.                                               (4.7)

1.4. Усилия в р-й свайной опоре секции определяются согласно п. 5.4 Руководства по формулам

                                     (4.8)

1.5. Результирующие усилия в свайных опорах следует определять согласно п. 5.6 основной части настоящего Руководства.

2. РЕГУЛЯРНАЯ ЦЕПОЧКА СЕКЦИЙ

2.1. Для регулярной цепочки соединённых между собой одинаковых симметричных секций (рис. 4.4) расчётные горизонтальные усилия в р-й свайной опоре, обусловленные сейсмическим воздействием поперечного направления, допускается определять по формуле

,                                                  (4.9)

где  - результирующей коэффициент формы с учётом случайных эксцентриситетов.

Результирующий коэффициент формы следует определять по графикам на рис. 4.4 в зависимости от граничных условий цепочки и относительного расстояния р-й свайной опоры от начала цепочки.

Частоту собственных колебаний допускается определять по формуле

                                                        (4.10)

Рис. 4.4. Схема причала (а) и графики коэффициентов формы (б):

1 - для цепочки соединённой с берегом;

2 - для цепочки со свободными концами

2.2. Для цепочки секций, соединённых одним концом с берегом, расчётные усилия в связях, обусловленные сейсмическим воздействием, допускается определять по формуле

,                                              (4.11)

где СV - коэффициент жёсткости связи соединяющей секции, кН/м;

ω - частота собственных колебаний, определяемая по формуле

.                                         (4.12)

3. ПРИЧАЛЬНАЯ ЭСТАКАДА С ВЫСОТНОЙ ЛЕПКОЙ НАДСТРОЙКОЙ

3.1. Сейсмические нагрузки и вызванные их действием усилия в сваях причальной эстакады, на которой установлена высотная лёгкая надстройка, допускается определять в соответствии с положениями расчёта, изложенными в разделах 1 и 2 настоящего приложения при отнесении массы надстройки к причальной эстакаде.

Примечание. Высотную надстройку допускается считать лёгкой, если отношение её массы к массе секции причальной эстакады составляет менее 0,2.

3.2. Сейсмические нагрузки, действующие в точке к концентрации масс надстройки, допускается определять по формуле

                                             (4.13)

где  - масса k-й точки сосредоточения массы надстройки (рис.4.5), т;

 - приведённый результирующий коэффициент формы для причального сооружения в месте расположения высотной надстройки, определяемый согласно п.3.3.

- коэффициент формы для надстройки при собственных колебаниях её по i-му тону, определяемый согласно п. 5.3 Руководства;

 - коэффициент усиления колебаний надстройки, определяемый согласно п.3.4. настоящего приложения.

Примечания: 1. Произведение  характеризует собой расчётное ускорение в основании высотной надстройки.

2. Для одномассовой надстройки (K=1, i=1) коэффициент формы  равен единице.

3.3. Приведённый результирующий коэффициент формы  следует определять:

для причальной эстакады в виде цепочки соединённых секций - по графикам на рис.4.4;

для причальной эстакады в виде отдельной секции - по формуле

,                                              (4.14)

где  коэффициенты формы, определяемые по графикам на рис.4.1 настоящего Приложения при эскцентриситете

yн - координата надстройки от центра масс секции, м.

3.4. Коэффициент усиления колебании надстройки следует определять по графикам на рис.4.6 в зависимости от параметра γ определяемого по п.3.5, и отношения приведённых масс надстройки и эстакады .

3.5. Параметр γ следует определять по формуле

                                                        (4.15)

где  - круговая частота основного тона собственных колебаний причального сооружения, с-1;

 - круговая частота собственных колебаний высотной надстройки по i-му тону, с-1.

3.6. Приведённая масса надстройки, соответствующая i-му тону её колебаний, определяется из приведённых ниже равнозначных формул

                                             (4.16)-(4.17)

3.7. Приведённая масса эстакады, соответствующая её основному тону колебаний, определяется по формулам вида формулам (4.16), (4.17). Допускается принимать её равной массе эстакады.

Рис. 4.5. Динамическая расчетная схема высотной надстройки

Рис. 4.6. Зависимости коэффициента усиления Кy от параметра γ и отношения массы надстройки  к массе причала

ПРИЛОЖЕНИЕ 5

(справочное)

ОБЩИЕ РЕКОМЕНДАЦИИ ПО РАСЧЁТУ СПЕКТРАЛЬНЫМ МЕТОДОМ

1. Последовательность расчётов причальных сооружений на сейсмические воздействия по спектральному методу следующая:

обосновывается динамическая расчётная схема;

определяются инерционные и жёсткостные характеристики;

определяются круговые частоты ωi или периоды Ti (Ti=2π/ωi) и формы собственных колебаний сооружения;

определяются коэффициенты динамичности βi в зависимости от периода Тi собственных колебаний и коэффициенты формы ηi в зависимости от формы  собственных колебаний;

определяются сейсмические нагрузки , перемещения узлов динамической расчётной, схемы  и внутренние усилия  в элементах конструкции;

осуществляются проверки прочности и устойчивости с учётом сил, входящих, помимо сейсмических сил, в особое сочетание нагрузок.

2. Для динамических расчётных схем с большим числом степеней свободы этапы расчёта, включающие определение частот и форм собственных колебаний, сейсмических сил и внутренних усилий в элементах конструкции, необходимо выполнять с помощью - ЭВМ, используя разработанные для этой цели вычислительные программы («PIRS», «ППП АПЖБК» и др.).

Программа "PIRS" разработана в Дальморниипроекте. Реализует спектральный метод расчёта. Предназначена для определения сейсмических нагрузок, действующих на причальные сооружения эстакадного типа, а также внутренних усилий в свайных опорах и связях, соединяющих секции. Динамическая расчётная схема секции причала представлена в виде жёсткого диска, расположенного на упругих свайных опорах. Варианты предусмотренных динамических расчётных схем: отдельная секция; цепочка соединённых между собой секций.

Пакет прикладных программ для автоматизированного проектирования железобетонных конструкций (ППП АПЖБК или условно "LIRA") надземных и подземных сооружений в промышленном и гражданском строительстве разработан в НИИАСС Госстроя УССР (научно-исследовательский институт автоматизированных систем планирования и управления в строительстве).

Алгоритм прочностного расчёта конструкций основан на методе конечного элемента (МКЭ), для динамических задач используется спектральный метод.

Динамическая расчётная схема представляет собой пространственную конструкцию составленную из конечного числа стержневых и плоских элементов.

ППП выполняет расчёты для всех вариантов схем, перечисленных в разделе 3 настоящего Руководства.

Программа предусматривает возможность расчёта на сочетание различных видов нагрузок.

ПРИЛОЖЕНИЕ 6

(рекомендуемое)

ОСНОВНЫЕ ПОЛОЖЕНИЯ ВЕРОЯТНОСТНОГО РАСЧЁТА ПРИ ОЦЕНКЕ СЕЙСМОСТОЙКОСТИ

1. Настоящее приложение регламентирует порядок выполнения вероятностных расчётов при оценке сейсмостойкости сооружений в соответствии с требованиями п.4.3 Руководства.

2. Алгоритм расчёта, использующий метод статистических испытаний, должен содержать:

статистическое моделирование случайных входных параметров расчёта  согласно заданным вероятностным законам;

расчёты частных значений искомых выходных случайных величин  согласно принятому методу детерминистического расчёта;

определение средних величин  и случайных составляющих  посредством статистической обработки их частных значений;

определение выходных случайных величин (искомых величин) с заданной обеспеченностью.

3. Метод линеаризации допускается применять к функции , незначительно отличающейся от линейной в интервале реальных изменений параметров  окрестностях средних значений , а также при возможности аппроксимации действительного закона распределения случайных величин нормальным.

Алгоритм определения параметров распределения выходных случайных величин (средних значений и дисперсий) методом линеаризации должен содержать (см. приложение 5):

определение вектора средних значений выходных случайных величин  по принятому методу детерминистического расчёта при средних значениях входных случайных величин ;

определение корреляционной матрицы выходных случайных величин , характеризующей их дисперсии, при известной корреляционной матрице входных случайных величин  определение выходных случайных величин с заданной обеспеченностью.

Корреляционная матрица выходных случайных величин определяется по формуле

                                                  (6.1)

где  - корреляционная матрица входных случайных величин;

 - матрица коэффициентов влияния центрированных входных случайных величин на выходные, определяемая согласно п.4 настоящего приложения.

4. Матрицы коэффициентов влияния  рекомендуется определять в последовательности:

в соответствии с принятым методом детерминистического расчёта, определяются средние значения искомых величин  при средних значениях входных случайных величин ;

задаётся малое приращение ΔXj; j-й входной случайной величине в окрестностях её среднего значения  и для этого случая определяются значения искомых величин ;

определяются приращения искомых величин  обусловленные приращением ΔXj;

вычисляется отношения приращений  которые представляют собой матрицу - столбец коэффициентов влияния;

повторяя указанную процедуру для остальных входных случайных величин, определяются остальные матрицы-столбцы коэффициентов влияния. Совокупность матриц-столбцов образует полную матрицу .

Примечания: 1. Приращение  входной случайной величине  рекомендуется задавать равным её среднеквадратическому отклонению от среднего значения.

2. При использовании спектрального метода матрицы коэффициентов влияния  следует определять для результирующих величин, вычисленных с учётом суммирования по всем учитываемым формам колебаний.

5. Расчётные значения выходных случайных величин, подчиняющихся нормальному закону распределения вероятностей, допускается определять по формуле

,                                                 (6.2)

где γ - характеристика безопасности, принимаемая в зависимости от требуемой обеспеченности Р искомой величины;

D(Y) - дисперсия выходной случайной величины, определяемая из корреляционной матрицы .

Значения зависимости Р[γ]

P

0,9505

0,9713

0,9772

0,9938

0,9986

0,9999

γ

1,65

1,90

2,00

2,50

3,00

3,70

ПРИЛОЖЕНИЕ 7

(справочное)

ОБОЗНАЧЕНИЯ И РАЗМЕРНОСТИ ВЕЛИЧИН, ИСПОЛЬЗУЕМЫХ В РУКОВОДСТВЕ

А - коэффициент сейсмичности;

ak, bk - расстояния от центра масс к-й секции до ее правого и левого концов, м;

Ck,k+1 - коэффициент жесткости связи, соединяющей к-ю и (k+1)- секции, кН/м;

 - коэффициенты жесткости р-й сваи или свайной опоры соответственно при смещении ее в направлении осей x и у, кН/м;

Срφ - коэффициент жесткости р-й сваи или свайоной опоры при повороте ее в горизонтальной плоскости, кН·м;

EJ - жесткость конструкции на изгиб, кН·м2;

е - эксцентриситет, м;

G - центр жесткости свайного поля;

g - ускорение свободного падения м/с;

i - номер формы колебаний (тона) сооружения;

К - номер степени свободы в динамической расчетной схеме или номер узла, в котором сосредоточена масса;

K1 - коэффициент, учитывающий допускаемые повреждения;

 - коэффициент диссипации (рассеяния);

 коэффициенты жесткости свайного поля секции при представлении плиты в виде жесткого диска, кН/м, кН и кН·м;

Lr - линейный горизонтальный размер секции, м;

L - длина цепочки секции, м;

lp - расчетная длина р-й сваи, м;

М - центр масс плиты;

Мк - масса, отнесенная к к-му узлу, т;

mк - коэффициент инертности дня к-й степени свободы имеет: размерность массы т для свободы перемещений и размерность момента инерции массы т·м2 для свободы поворота;

mp - интенсивность массы р-й сваи с присоединенной к ней водой, т/м;

N - значение внутреннего усилия (Si, mi, Spi, Sk, k+1, i) или обобщенного перемещения Vi, φi, в рассматриваемом сечении или узле от действия сейсмической нагрузки, соответствующей i-му тону колебаний.

n - общее количество: секций, либо свай в секции, либо степеней свободы в динамической расчетной схеме;

ns - количество степеней свободы в динамической расчетной схеме, совпадающих с направлением сейсмического воздействия;

р - номер сваи;

r - текущий номер степени свободы динамической расчетной схемы;

rs - текущий номер свободы перемещения, совпадающего с направлением сейсмического воздействия;

Si - сейсмическая сила, действующая на секцию и приложенная в центре масс секции, кН;

Sкi - сейсмическая нагрузка (сила, или момент), приложенная к точке К, соответствующая i-му тону колебаний;

 - проекции усилия на координатные оси x и у возникающего в р-й свае от действия сейсмической нагрузки, кН;

Spφi - крутящий момент в свае, возникающий от действия сейсмической нагрузки, кН·м;

Ti - период собственных колебаний сооружения, с;

Uк - амплитуда перемещений к-й секции в направлении соседней (k+1)-й, м;

V - смещение, м;

ω - круговая частота собственных колебаний сооружения, соответствующая i-му току, с-1;

xki - относительное обобщенное (смещение или поворот) перемещение сооружения в направлении к-й степени свободы при его собственных колебаниях по i-му тону;

xp, yp - координаты р-й сваи относительно центра масс секции (х - в направлении сейсмического воздействия, y - в перпендикулярном направлении), м;

βi - коэффициент динамичности;

Δt - зазор для температурного расширения секций, м;

Δk,k+1 - ширина антисейсмического шва, м;

ηki - коэффициент формы колебаний;

θk - момент инерции массы, отнесенной к к-му узлу, т·м2;

mi - сейсмический момент, действующий на секцию и поворачивающий ее относительно центра масс секции, кН·м;

ν - количество учитываемых в расчетах форм колебаний сооружения;

φ - угол поворота, рад;

ПРИЛОЖЕНИЕ 8

(справочное)

ОПРЕДЕЛЕНИЯ ПРИНЯТЫХ ТЕРМИНОВ И ПОНЯТИЙ

1. Сейсмостойкость - способность сооружений (главным образом их несущих конструкций) противостоять сейсмическим воздействиям, сохраняя свои эксплуатационные качества.

2. Сейсмическое воздействие - подземные удары и колебания земной поверхности, вызванные внутриземными процессами (главным образом тектоническими).

3. Сейсмичность - вероятная интенсивность землетрясения в баллах по шкале ГОСТ 6249-52.

4. Сейсмическое районирование - разделение территории, подверженной землетрясениям, на районы с одинаковой сейсмической опасностью.

5. Сейсмическое микрорайонирование - уточнение сейсмичности на некоторой территории сейсмического района в зависимости от её геологических, и гидрологических условий. Интенсивность землетрясений возрастает с уменьшением плотности грунта, а также с увеличением её обводнённости.

6. Сейсмические нагрузки - силы инерции, возбуждаемые массой сооружения вследствие её колебаний. Сейсмические силы при заданном законе движения основания зависят от динамических характеристик сооружения (распределения его масс и жёсткостей, демпфирования и т.д.).

7. Спектральный метод расчёта - метод, основанный на математической интерпретации перемещения почвы при землетрясении в виде суммарного действия ряда (спектра) затухающих гармонических колебаний.

8. Динамическая расчётная схема - упрощённая схема сооружения, включающая жёсткостные и инерционные элементы, которые позволяет описать условия деформации конструкции и силовых воздействий в виде математических выражений для колебательных процессов.

9. Высотные надстройки - термин, обозначающий в динамических задачах или расчётных схемах краны, вышки, башни, складские сооружения и т.п., расположенные на причале.

10. МКЭ - метод конечных элементов, согласно которому сооружение представляется состоящим из совокупности отдельных элементов конечных размеров, взаимодействующих между собой в конечном числе узловых точек.

11. Акселерограмма реальная - запись ускорения грунта при реальном землетрясении.

12. Акселерограмма синтезированная - акселерограмма, полученная аналитически на основе записи ускорений грунта вблизи фундамента проектируемого сооружения с учётом данных инженерно-геологических изысканий, а также факторов влияния существующих сооружений.

13. Случайная величина  - величина, которая принимает различные значения, неизвестные заранее

.                                                           (8.2)

14. Среднее значение искомой величины - её среднеарифметическое значение

                                                             (8.2)

где xk - частное значение величины;

n - общее количество опытов или статистических наблюдений;

nk - количество опытов или статистических наблюдений, в которых обнаружено значение xk

                                                             (8.3)

 - относительная частота или эмпирическая вероятность появления величины xk

15. Случайная составляющая искомой величины (центрированная случайная величина) - разность между величиной xk и средним значением искомой величины

.                                                           (8.4)

16. Дисперсия случайной величины - среднее значение квадратов случайных составляющих

                                                     (8.5)

17. Среднее квадратическое отклонение случайной величины

                                                           (8.6)

18. Вероятностный закон распределения случайной величины функция плотности вероятности распределения величины

                                                        (8.7)

19. Обеспеченность значения величины - вероятность непревышения (незанижения) случайной величины рассматриваемого значения.

20. Детерминированная величина - вполне определённая величина, без каких-либо случайных отклонений.

21. Детерминистический расчёт - обычный расчёт, в котором участвуют детерминированные величины.

22. Детерминистическое уравнение связи - уравнение или алгоритм расчёта, устанавливающие функциональную связь между входными величинами, используемыми в расчёте, и выходными величинами, определяемыми в результате расчёта.

23. Корреляционная матрица случайных величин - матрица, элементами которой являются дисперсии отдельных случайных величин (диагональные члены матрицы) и смешанные моменты второго порядка, характеризующие статистическую связь (корреляцию) между случайными величинами, используемыми в уравнении связи

.                                          (8.8)

ПРИЛОЖЕНИЕ 9

(справочное)

ПЕРЕЧЕНЬ ИСПОЛЬЗОВАННЫХ НОРМАТИВНЫХ ДОКУМЕНТОВ

1. СНиП 2.06.04-82. Нагрузки и воздействия на гидротехнические сооружения (волновые, ледовые и от судов).

2. СНиП 2.02.01-83. Основания зданий и сооружений.

3. СНиП II-7-81. Строительство в сейсмических районах. Нормы проектирования.

4. СНиП II-6-74. Нагрузки и воздействия. Нормы проектирования.

5. СНиП II-17-77. Свайные фундаменты. Нормы проектирования.

6. СНиП III-45-76. Сооружения гидротехнические, транспортные, энергетические и мелиоративных систем. Правила производства и приёмки работ.

7. СНиП II-51-74. Нормы проектирования. Гидротехнические сооружения морские. Основные положения проектирования.

8. ВСН-30 / Минморфлот. Инструкция по проектированию морских причальных сооружений.

9. РД 31.31.27-81. Руководство по проектированию морских причальных сооружений.

10. РД 31.31.26-81. Руководство по учёту сейсмических воздействий при проектировании морских гидротехнических сооружений типа больверк.

 




ГОСТЫ, СТРОИТЕЛЬНЫЕ и ТЕХНИЧЕСКИЕ НОРМАТИВЫ.
Некоммерческая онлайн система, содержащая все Российские Госты, национальные Стандарты и нормативы.
В Системе содержится более 150000 файлов нормативно-технической документации, действующей на территории РФ.
Система предназначена для широкого круга инженерно-технических специалистов.

Рейтинг@Mail.ru Яндекс цитирования

Copyright © www.gostrf.com, 2008 - 2026