Крупнейшая бесплатная информационно-справочная система онлайн доступа к полному собранию технических нормативно-правовых актов РФ. Огромная база технических нормативов (более 150 тысяч документов) и полное собрание национальных стандартов, аутентичное официальной базе Госстандарта. GOSTRF.com - это более 1 Терабайта бесплатной технической информации для всех пользователей интернета. Все электронные копии представленных здесь документов могут распространяться без каких-либо ограничений. Поощряется распространение информации с этого сайта на любых других ресурсах. Каждый человек имеет право на неограниченный доступ к этим документам! Каждый человек имеет право на знание требований, изложенных в данных нормативно-правовых актах!

  


 

ГОСУДАРСТВЕННЫЙ СТАНДАРТ СОЮЗА ССР

ПАРАФИНЫ НЕФТЯНЫЕ

МЕТОД ОПРЕДЕЛЕНИЯ ЦВЕТА НА КОЛОРИМЕТРЕ КНС-2

ГОСТ 25337-82

Москва

ГОСУДАРСТВЕННЫЙ СТАНДАРТ СОЮЗА ССР

ПАРАФИНЫ НЕФТЯНЫЕ

Метод определения цвета на колориметре КНС-2

Petroleum paraffins.
Method for the determination
of colour on colorimeter KNS-2

ГОСТ
25337-82

Дата введения 01.07.83

Настоящий стандарт устанавливает метод определения цвета твердых нефтяных парафинов на колориметре КНС-2.

Сущность метода заключается в визуальном сравнении цвета определенного объема расплавленного парафина с цветом стандартных светофильтров цветовой шкалы колориметра КНС-2.

1. АППАРАТУРА, РЕАКТИВЫ И МАТЕРИАЛЫ

Колориметр типа КНС-2 (черт. 1, 2). Значения координат цветности шкалы приведены в приложении.

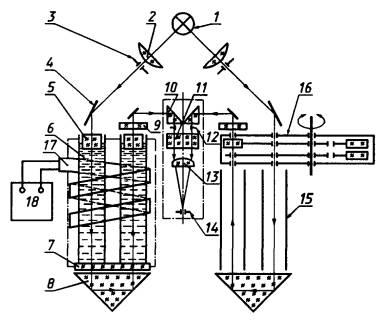
Оптическая схема колориметра КНС-2

1 - осветитель; 2 - конденсатор; 3 - переменная диафрагма; 4 - зеркало; 5, 7 - защитное стекло; 6 - кювета; 8, 10 - призма; 9 - матовое стекло; 11 - светофильтр дневного света; 12 - диафрагма; 13 - окуляр; 14 - выходной зрачок; 15 - эталонный канал; 16 - блок барабанов со светофильтрами; 17- нагреватель кюветы; 18 - блок питания

Черт. 1

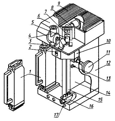
Общий вид колориметра КНС-2

1 - кювета; 2 - визирное окно; 3 - каретка; 4 - окуляр; 5 - зеркало; 6, 12 - кожух; 7 - диафрагма; 8 - осветитель; 9 - крышка; 10 - блок светофильтров; 11 - рукоятка; 13, 17 - тумблер; 14 - корпус; 15 - эталонный канал; 16 - призма

Черт. 2

Стакан номинальной вместимостью не менее 250 см3 в любом исполнении по ГОСТ 25336 или стакан 3 (4, 5) по ГОСТ 9147.

Термометры по нормативной документации.

Нефрас-С50/170 по ГОСТ 8505.

Любой бесцветный бензин или бензиновые алкилатные фракции (для мойки кюветы).

Вода дистиллированная с рН 5,4 - 6,6.

Спирт этиловый ректификованный технический по ГОСТ 18300.

Бумага фильтровальная лабораторная марок ФНБ или ФНС по ГОСТ 12026.

(Измененная редакция, Изм. № 2).

2. ПОДГОТОВКА К ИСПЫТАНИЮ

2.1. Проверяют чистоту оптических стекол прибора и кюветы. При необходимости кювету промывают бензином и сушат струей чистого сухого воздуха. Оптические стекла промывают спиртом и протирают чистой, неворсистой салфеткой.

2.2. Чистую сухую кювету устанавливают в прибор. Включают колориметр в электросеть, при этом включаются зеленая и красная индикаторные лампочки. Зеленая индикаторная лампочка сигнализирует о включении прибора в электрическую сеть, красная - о включении кюветы на термостатирование. При достижении рабочей температуры кюветы красная лампочка автоматически отключается. Периодическое включение и выключение красной лампочки сигнализирует о поддержании в кювете температуры (75±5) °С.

2.3. Пробу парафина в количестве 130 - 140 г (для одного определения) помещают в химический стакан и расплавляют в термостате или масляной бане при (90±5) °С. Периодически пробу парафина перемешивают термометром или стеклянной палочкой до полного расплавления. Если расплавленная проба парафина мутная или содержит механические примеси, мешающие определению цвета, ее фильтруют через фильтровальную бумагу. Допускается фильтровать парафин под вакуумом. Температура пробы парафина перед заливом в кювету колориметра должна быть (75±2) °С.

3. ПРОВЕДЕНИЕ ИСПЫТАНИЯ

3.1. После прогрева кюветы ее быстро выдвигают из гнезда колориметра, заливают в кювету расплавленный парафин до верхнего среза выемки расширенной части кюветы и устанавливают кювету в рабочее положение. Нажатием на рычаг каретки опускают ее в нижнее положение так, чтобы защитное стекло было погружено в испытуемый продукт. После достижения в кювете рабочей температуры (красная лампочка отключена) приступают к определению цвета.

3.2. С помощью рукоятки вращают барабан со светофильтрами и, наблюдая в окуляр, вводят в эталонный канал поочередно светофильтры (начиная с нулевого) до тех пор, пока цветовые поля испытуемого парафина и светофильтра совпадут или пока цвет испытуемого парафина будет находиться между цветовыми оттенками двух близлежащих светофильтров. Проводят два последовательных определения.

4. ОБРАБОТКА РЕЗУЛЬТАТОВ

4.1. Цвет парафина выражают в условных единицах (условных марках), соответствующих номеру светофильтра цветовой шкалы колориметра КНС-2 (приложение).

4.2. Если парафин имеет промежуточный цвет двух светофильтров, за результат испытания принимают цвет по светофильтру с более интенсивной окраской. Если проба парафина была профильтрована, в документе о качестве необходимо записать: «Проба профильтрована через фильтровальную бумагу».

4.3, 4.3.1, 4.4, 4.4.1 (Исключены, Изм. № 1).

5. ТОЧНОСТЬ МЕТОДА ИСПЫТАНИЙ

5.1. Сходимость

Два результата испытания, полученные одним исполнителем, признаются достоверными (с 95 %-ной доверительной вероятностью), если расхождение между ними не превышает одну условную единицу цветовой шкалы колориметра КНС-2.

5.2. Воспроизводимость

Два результата испытаний, полученные в двух разных лабораториях, признаются достоверными (с 95 %-ной доверительной вероятностью), если расхождение между ними не превышает двух условных единиц цветовой шкалы колориметра КНС-2.

Раздел 5. (Введен дополнительно, Изм. № 1).

ПРИЛОЖЕНИЕ
Справочное

ЗНАЧЕНИЯ КООРДИНАТ ЦВЕТНОСТИ И КОЭФФИЦИЕНТОВ ПРОПУСКАНИЯ

Номер светофильтра

Координаты цветности

Коэффициент пропускания (интегральный)

красный

зеленый

1

0,317±0,002

0,328±0,003

91,4±3,0

2

0,323±0,002

0,338±0,003

90,7±3,0

3

0,329±0,003

0,348±0,004

90,1±3,0

4

0,337±0,003

0,361±0,005

89,5±3,0

5

0,345±0,003

0,372±0,006

88,7±3,0

6

0,360±0,003

0,396±0,007

87,2±3,5

7

0,385±0,006

0,417±0,006

81,8±3,0

8

0,415±0,006

0,440±0,008

70,7±3,0

9

0,435±0,006

0,451±0,006

64,1±3,0

10

0,463±0,006

0,462±0,006

54,3±3,0

11

0,500±0,006

0,464±0,006

40,7±4,0

12

0,520±0,008

0,451±0,005

30,6±4,0

13

0,548±0,006

0,439±0,005

22,3±3,5

14

0,564±0,006

0,428±0,005

17,8±3,5

15

0,586±0,006

0,410±0,005

12,1±3,5

16

0,603±0,006

0,395±0,006

8,4±2,2

ИНФОРМАЦИОННЫЕ ДАННЫЕ

1. РАЗРАБОТАН И ВНЕСЕН Министерством нефтеперерабатывающей и нефтехимической промышленности

РАЗРАБОТЧИКИ

А. Н. Переверзев, Р. А. Мартиросов, Г. И. Успенский, В. П. Гладышев, Л. П. Переверзева, Н. Ф. Ковалева, B. C. Иванов, А. Г. Муравьев, П. А. Меньков, В. Н. Логинов

2. УТВЕРЖДЕН И ВВЕДЕН В ДЕЙСТВИЕ Постановлением Государственного комитета СССР по стандартам от 16.07.82 № 2702

Изменение № 2 принято Межгосударственным Советом по стандартизации, метрологии и сертификации (протокол № 7 от 26.04.95)

За принятие проголосовали:

Наименование государства

Наименование национального органа по стандартизации

Республика Белоруссия

Госстандарт Белоруссии

Российская Федерация

Госстандарт России

Республика Узбекистан

Узгосстандарт

Украина

Госстандарт Украины

3. ССЫЛОЧНЫЕ НОРМАТИВНО-ТЕХНИЧЕСКИЕ ДОКУМЕНТЫ

Обозначение НТД, на который дана ссылка

Номер пункта

ГОСТ 8505-80

1

ГОСТ 9147-80

1

ГОСТ 12026-76

1

ГОСТ 18300-87

1

ГОСТ 25336-82

1

4. Ограничение срока действия снято по протоколу Межгосударственного Совета по стандартизации, метрологии и сертификации (ИУС 2-93)

5. ПЕРЕИЗДАНИЕ (март 1998 г.) с Изменениями № 1, 2, утвержденными в октябре 1987 г., августе 1995 г. (ИУС 1-88, 11-95)

СОДЕРЖАНИЕ

 

 




ГОСТЫ, СТРОИТЕЛЬНЫЕ и ТЕХНИЧЕСКИЕ НОРМАТИВЫ.
Некоммерческая онлайн система, содержащая все Российские Госты, национальные Стандарты и нормативы.
В Системе содержится более 150000 файлов нормативно-технической документации, действующей на территории РФ.
Система предназначена для широкого круга инженерно-технических специалистов.

Рейтинг@Mail.ru Яндекс цитирования

Copyright © www.gostrf.com, 2008 - 2026