Крупнейшая бесплатная информационно-справочная система онлайн доступа к полному собранию технических нормативно-правовых актов РФ. Огромная база технических нормативов (более 150 тысяч документов) и полное собрание национальных стандартов, аутентичное официальной базе Госстандарта. GOSTRF.com - это более 1 Терабайта бесплатной технической информации для всех пользователей интернета. Все электронные копии представленных здесь документов могут распространяться без каких-либо ограничений. Поощряется распространение информации с этого сайта на любых других ресурсах. Каждый человек имеет право на неограниченный доступ к этим документам! Каждый человек имеет право на знание требований, изложенных в данных нормативно-правовых актах!

  


 

МИНИСТЕРСТВО МОРСКОГО ФЛОТА

РУКОВОДСТВО
ПО ЭЛЕКТРОХИМИЧЕСКОЙ ЗАЩИТЕ ОТ КОРРОЗИИ
МЕТАЛЛОКОНСТРУКЦИЙ МОРСКИХ ГИДРОТЕХНИЧЕСКИХ
СООРУЖЕНИЙ В ПОДВОДНОЙ ЗОНЕ

РД 31.35.07-83

Москва

РАЗРАБОТАН Государственным проектно-изыскательским и научно-исследовательским институтом морского транспорта (Союзморниипроект) - Ленинградским филиалом «ЛЕНМОРНИИПРОЕКТ»

Главный инженер                                                                    Фирсов В. А.

Руководитель темы, к. т. н.                                                     Долинский А.А.

Ответственный исполнитель                                                  Шильников В. В.

Всесоюзным научно-исследовательским институтом гидротехники им. Б. Е. Веденеева

Зам. директора по научной работе, докт. техн. наук           Соколов И. Б.

Зав. лабораторией гидроизоляции, докт. техн. наук            Щавелев К. Ф.

Руководитель темы                                                                  Ногинов Ю. Н.

Ответственные исполнители                                                  Харламов Ю. А.

                                      к. т. н.                                                  Семенова Н. И.

Государственным научно-исследовательским и проектным институтом «Гипроморнефтегаз»

Зам. директора по научной работе, к. т. н.                           Самедов Ф. С.

Руководители тем:

                                      к. т. н.                                                  Мехмандаров С. А.

                                      инж.                                                     Абдуллаев М. М.

УТВЕРЖДЕН Государственным проектно-изыскательским и научно-исследовательским институтом морского транспорта «Союзморниипроект» 2 июня 1983 г.

Главный директор                                                                   Ильницкий Ю. А.

РУКОВОДСТВО ПО ЭЛЕКТРОХИМИЧЕСКОЙ ЗАЩИТЕ ОТ КОРРОЗИИ МЕТАЛЛОКОНСТРУКЦИЙ МОРСКИХ ГИДРОТЕХНИЧЕСКИХ СООРУЖЕНИЙ В ПОДВОДНОЙ ЗОНЕ

РД 31.35.07-83

Вводится впервые

Распоряжением главного инженера Союзморниипроекта № 30 от 02.06.83 г.

срок введения установлен с 1 июля 1983 г.

до 30 декабря 1985 г.

РД устанавливает методы расчета, рекомендации по проектированию, приемы монтажа и основные правила эксплуатации систем электрохимической защиты от коррозии металлоконструкций морских гидротехнических сооружений в подводной зоне.

Руководство предназначено для опытного применения.

1. ОБЩИЕ ПОЛОЖЕНИЯ

1.1. Электрохимические способы защиты от коррозии подводных частей стальных конструкций морских гидротехнических сооружений основаны на катодной поляризации защищаемого металла внешним электрическим током (катодная защита) или током гальванических анодов-протекторов (протекторная защита). Термины, принятые в данном руководстве, и их определение приведены в приложении 1. Все приложения в данном Руководстве носят справочный характер.

1.2. В руководстве рассматривается защита металлоконструкций гидротехнических сооружений, расположенных в морских бассейнах и устьевых участках рек.

1.3. Основными параметрами электрохимической защиты являются электродный потенциал сооружения и плотность тока на защищаемой поверхности.

1.4. Величины стационарного потенциала (потенциала коррозии) и защитных потенциалов углеродистой и низколегированной сталей в морской и речной воде приведены в табл. 1.

Электродные потенциалы даны относительно электродов сравнения - нормального водородного электрода (НВЭ), медносульфатного электрода (МСЭ) и хлорсеребряного электрода (ХСЭ).

1.5. Тип электрохимической защиты следует выбирать из технико-экономических соображений. Применение протекторной защиты наиболее целесообразно в случаях, когда защищаемые объекты удалены от источников электроэнергии в акваториях с удельной электрической проводимостью воды не менее 2 Ом/м.

Не рекомендуется применять катодную защиту на объектах, предназначенных для перегрузки пожаро- и взрывоопасных грузов.

1.6. Основной расчет электрохимической защиты следует производить для установившегося режима поляризации, когда стабилизируются изоляционные свойства солевых катодных отложений (СКО) на поляризуемой поверхности.

Таблица 1

Электродные потенциалы стали

Показатели

Морская вода

Речная вода

Величина потенциала по отношению к электродам сравнения, В

НВЭ

МСЭ

ХСЭ

НВЭ

МСЭ

ХСЭ

Стационарный потенциал Vст

- 0,35

- 0,65

- 0,59

от - 0,2 до - 0,4

от - 0,5 до - 0,7

от - 0,5 до - 0,7

Минимальный защитный потенциал

- 0,55

- 0,85

- 0,79

- 0,55

- 0,85

- 0,79

Сдвиг потенциала DVмин

0,2

0,2

0,2

0,15

0,15

0,15

Максимальный защитный потенциал для неокрашенной поверхности

- 2,5

- 2,80

- 2,74

- 2,5

- 2,80

- 2,74

Сдвиг потенциала DVмакс

2,15

2,15

2,15

2,05

2,05

2,05

Максимальный защитный потенциал для окрашенной поверхности

- 1,2

- 1,50

- 1,44

- 1,2

- 1,50

- 1,44

Сдвиг потенциала

0,85

0,85

0,85

0,75

0,75

0,75

Примечание. Обозначения электродов сравнения приведены в п. 1.3, а номера технических условий на них в п. 4.6.5.

1.7. Расчет электрохимической защиты сооружений приведен применительно к неокрашенным конструкциям. Электрохимическая защита может применяться в сочетании с защитой лакокрасочными покрытиями.

1.8. Электрохимическую защиту сооружений типа «больверк» допускается осуществлять с одной стороны - со стороны акватории.

1.9. При испытании и эксплуатации систем катодной защиты должны выполняться требования «Правил технической эксплуатации электроустановок потребителей и правил техники безопасности при эксплуатации электроустановок потребителей».

2. КАТОДНАЯ ЗАЩИТА

2.1. Элементы системы катодной защиты

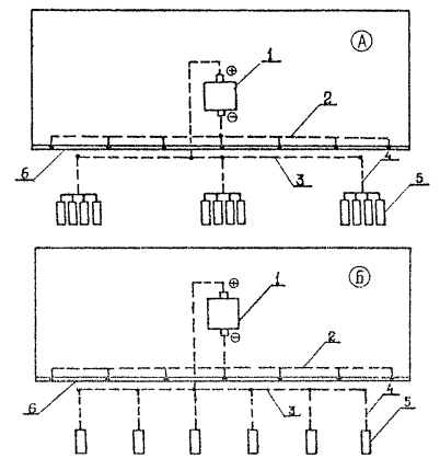
2.1.1. Совокупность защищаемого сооружения, катодной станции, соединительных линий, анодов и окружающей их электропроводной среды образует систему катодной защиты. Схема катодной защиты сооружения представлена на рис. 1.

2.1.2. В установках катодной защиты рекомендуется применять катодные станции и выпрямители с выходным напряжением 6, 12 и 24 В при силе тока до 400 А и мощностью до 5 кВт.

Характеристики выпрямителей и катодных станций приведены в приложении 2. Выбор типа выпрямителя или катодной станции осуществляется исходя из требуемых силы тока и напряжения, которые определяются расчетом (см. подраздел 2.2).

2.1.3. Для защиты от коррозии металлоконструкций морских гидротехнических сооружений следует применять одиночные или групповые аноды, объединенные анодными цепями (рис. 2).

Рис. 1. Схема катодной защиты причала:

1 - катодная станция; 2 - анод; 3 - анодная линия; 4 - катодная линия; 5 - шпунтовая стенка.

Рис. 2. Схемы анодных линий:

А - с анодными пакетами; Б - с одиночными анодами; 1 - катодная станция; 2 - катодная линия; 3 - магистральная анодная линия; 4 - подводящая линия; 5 - аноды; 6 - ?????

2.1.4. В системах катодной защиты могут использоваться подвесные ферросилидовые аноды типа АФП (ТУ 39-08-22-77), из платинированного титана (ОСТ 5.3080-75), углеграфитовые типа ЭГТ (ТУ 48-20-97-77). Наиболее распространенными являются углеграфитовые аноды. Конструкции анодов приведены в приложении 3.

2.1.5. Анодные и соединительные линии следует выполнять из кабелей марки КНРП (приложение 4). Сечение кабеля определяется проектом.

2.1.6. Аноды следует располагать в одиночку или группами (анодными пакетами) на дне водоема вдоль сооружения на грунте или в специальных кассетах на расстоянии от 10 до 100 метров от защищаемого сооружения в зоне, где использование якорей при стоянке или маневрировании судов наименее вероятно. При защите металлических шпунтовых стенок аноды могут подвешиваться на лицевой грани сооружения. При этом между анодом и стенкой должен располагаться экран из электроизоляционного материала (резина, пластмасса, асбоцементные щиты и т.п.). Площадь экрана должна быть в 5 - 6 раз больше проекции анода на стенку.

При устройстве катодной защиты как засыпных, так и сквозных пирсов аноды следует располагать по обе стороны сооружения. При защите набережных эстакадного типа аноды следует располагать, во избежание получения на сваях незащищенных («затемненных») участков, как со стороны акватории, так и на берегу, в грунте на глубине, соответствующей половине глубины воды у кордона причала или подвешивать между сваями.

2.1.7. Все защищаемые элементы должны быть соединены между собой стальной шиной сечением не менее 3 см2.

2.1.8. Катодная станция должна быть подключена к сооружению кабельной линией, подсоединенной в нескольких точках, (примерно через 20 м) к защищенным элементам или общей шине.

2.2. Расчет катодной защиты

2.2.1. Расчет катодной защиты основан на допущении, что при рекомендуемом расположении анодов достигается равномерное распределение потенциалов на защищаемой поверхности.

2.2.2. Расчет защиты должен производиться для двух этапов ее эксплуатации - периода формирования на защищаемой поверхности катодного осадка (СКО) и эксплуатационного периода.

2.2.3. Основной расчетной величиной принята минимальная защитная плотность тока - jзащ, определяется по формуле (3).

2.2.4. Исходные данные для расчета:

S - площадь защищаемой поверхности в подводной зоне, м2;

L - протяженность сооружения со стороны расположения анодов, м;

b - удельная катодная поляризуемость стали, Ом·м2;

с - соленость воды, ‰;

g - удельная электропроводимость среды, Ом/м (g воды - см. приложение 5; g грунта » 0,1 - 0,2 g воды);

q - электрохимический эквивалент материала анода (приложение 3), кг/А·год;

M - масса анода, кг;

l - длина анода, м;

r - радиус анода, м;

h - удаление анодов от сооружения, м;

Т - срок службы анодов, год;

данные токопроводов (приложение 4).

2.2.5. Аноды должны находиться не ближе 10 м от сооружения. Расстояние между анодами или анодными пакетами следует определять из условия, что зона эффективного действия их  равна

.                                                                (1)

2.2.6. При расчете параметров катодной защиты определяются следующие величины:

Число точек расположения анодов или пакетов анодов

.                                                                (2)

Минимальная защитная плотность тока

.                                                           (3)

Для неокрашенной стальной поверхности, покрытой СКО, b = 5 Ом·м2, для поверхности, окрашенной кузбасслаком, b = 10 - 40 Ом·м2.

Расчетная защитная плотность тока в первом случае равна (с учетом утечки тока на подземную часть конструкций) 0,045 А/м2.

Общий защитный ток на эксплуатационный период

.                                                           (4)

Номинальный ток анода

,                                                           (5)

где kт - коэффициент, учитывающий фактическую продолжительность работы анодов в течение года. При непрерывной работе анодов в течение года kт = 1.

Число анодов

.                                                               (6)

Число анодов в пакете

                                                              (7)

Сопротивление растеканию одиночного анода:

в случае удаления анода от сооружения на величину больше 5 r

                                                 (8)

в случае установки анода на плоской стенке

                                              (9)

где  - полуширина экрана, м.

Сопротивление растеканию пакета анодов

                                      (10)

где z - расстояние между анодами в пакете, м;

В - коэффициент, определяемый из таблицы:

2

3

4

5

6

7

8

9

10

В

0

0,46

1,24

2,26

3,48

4,85

6,40

8,06

9,8

Защитная плотность тока в период формирования СКО

                                                      (11)

где DVСКО - сдвиг потенциала, обеспечивающий формирование СКО; DVСКО = 0,15 В,  = 0,15 А/м2.

Сила тока, стекающего с анода в период формирования СКО

.                                                      (12)

Напряжение на выходе катодной станции в эксплуатационный период

                                  (13)

где Rпк - сопротивление подводящего кабеля, Ом;

Rк - сопротивление береговых кабелей с учетом схемы соединения, Ом.

Напряжение на выходе катодной станции в период формирования СКО

.                                                    (14)

Сила тока катодной станции в эксплуатационный период

                                                         (15)

и в период формирования СКО

.                                                     (16)

Мощность катодной станции в эксплуатационный период

                                                       (17)

и в начальный период

.                                                     (18)

2.2.7. По величинам Jст и Pст выбирается катодная станция (приложение 2).

2.2.8. В случае, если расчетное напряжение катодной станции превышает номинальное значение напряжения выбранной станции, необходимо увеличить число анодов, уменьшив тем самым ток  и увеличив срок их службы.

В начальный период эксплуатации защиты, когда требуются дополнительные мощности, необходимые для формирования СКО (), к системе должны подключаться резервные станции или система защиты должна расчленяться на отдельные участки, которые следует вводить в работу поэтапно. При этом должен обеспечиваться ток анодов, равный .

3. ПРОТЕКТОРНАЯ ЗАЩИТА

3.1. Элементы системы протекторной защиты

3.1.1. Совокупность защищаемого сооружения, протекторов, окружающей их электропроводной среды и соединительных токопроводов образует систему протекторной защиты.

3.1.2. Для защиты морских гидротехнических сооружений могут применяться одиночные протекторы или групповые протекторные установки.

3.1.3. Рекомендуются применять следующие типы протекторов:

из алюминиевых сплавов - П-ПОА-30, П-ПОА-60 (ОСТ 5.3072-75), ПАКМ-40, ПАКМ-65, ПАКМ-80 (ТУ 51-136-83);

из магниевых сплавов - П-ПОМ-30, П-ПОМ-60 (ОСТ 5.3072-75), ПММ-20, ПММ-30, ПММ-60 (ТУ 48-10-23-80).

Характеристики протекторов приведены в приложении 6.

При солености воды ниже 10 ‰ должны применяться протекторы из магниевых сплавов.

3.1.4. Протекторы должны укладываться на дно водоема на грунт или в специальные кассеты (приложение 7) вдоль сооружения на расстоянии 10 - 30 м от защищаемой конструкции, подвешиваться (при защите сквозных конструкций) равномерно по всей площади сооружения на глубине, равной половине глубины моря в данном месте или подвешиваться (при защите шпунтовых стенок) на лицевой грани сооружения. В последнем случае, так же как и при катодной защите, между протектором и стенкой должен быть установлен электроизоляционный экран (см. п. 2.1.6).

3.1.5. В случае, когда одна протекторная установка защищает группу элементов, последние должны быть соединены между собой шиной из полосовой стали или прутка, укрепляемой на сварке. Сечение шины - не менее 3 см2.

3.1.6. В качестве токопровода, обеспечивающего электрический контакт протектора с сооружением, следует применять кабели КНРП, каротажные кабели типа КГ1-24-90, КГ1-44-90К, КГ3-59-90 и стальные оцинкованные канаты. Характеристики токопроводов приведены в приложении 4.

Для подвесных протекторов тип кабеля выбирают исходя из его механической прочности и массы протектора. Линейное электрическое сопротивление токопровода должно быть не более 0,007 Ом/м.

3.2. Расчет протекторной защиты

3.2.1. Расчет протекторной защиты должен сводиться к определению числа одиночных протекторов или протекторов пакетов.

3.2.2. Для расчета протекторной защиты необходимы следующие исходные данные:

L - длина сооружения со стороны установки протекторов в случае, когда они укладываются на дно на удалении от сооружения, м;

S - площадь защищаемой поверхности, м2;

g - удельная электропроводимость воды (приложение 5), Ом/м;

lп - длина протектора, м;

D - условный диаметр протектора, м;

r - линейное сопротивление токопровода, Ом/м;

lт - длина токопровода, м;

Мп - масса протектора, кг;

Vn - потенциал протекторного сплава по НВЭ, В (приложение 6);

a - токоотдача сплава (приложение 6), А·ч/кг;

Rn - сопротивление растеканию протектора.

3.2.3. Расчет системы защиты сводится к определению следующих величин:

Сопротивление растеканию тока стержневого протектора. Эта величина определяется так же, как и для анодов (см. п. 2.2.6).

Сопротивление соединительного токопровода

.                                                         (19)

Ток одиночного протектора

                                        (20)

при подвеске

Vст принимается по отношению к НВЭ.

Суммарный защитный ток сооружения

                                                          (21)

jзащ принимается равной 0,048 А/м2 (см. п. 2.2.6).

Vст - стационарный потенциал по НВЭ для морской воды » - 0,35 В.

Необходимое количество протекторов

.                                                           (22)

Зона действия протектора в случае, когда он устанавливается на дне в удалении от сооружения

,                                                          (23)

где hn - расстояние от протектора до защищаемой поверхности, м.

Число пакетов протекторов

.                                                          (24)

Число протекторов в пакете

.                                                          (25)

Ресурс годности протектора (в годах)

.                                                      (26)

4. ПРОЕКТИРОВАНИЕ, МОНТАЖ И ЭКСПЛУАТАЦИЯ СИСТЕМ ЭЛЕКТРОХИМИЧЕСКОЙ ЗАЩИТЫ

4.1. Проектирование электрохимической защиты металлоконструкций морских гидротехнических сооружений включает в себя: технико-экономическое обоснование необходимости защиты, получение исходных данных, выбор способа защиты, электротехнический расчет системы, разработка рабочего проекта защиты, разработка технического задания на проектирование строительных элементов, необходимых для осуществления защиты.

4.2. В состав проектной документации должны входить:

пояснительная записка;

план защищаемого сооружения с указанием элементов, требующих защиты;

исходные данные, принятые при проектировании;

электротехнический расчет;

принципиальные схемы;

установочные чертежи оборудования защиты;

спецификация на основное оборудование и материалы;

технология монтажа защиты;

смета на устройство защиты;

акты согласования с организациями энергонадзора (в случае применения катодной защиты).

4.3. В техническом задании на проектирование строительных элементов и конструкций следует указать требования к установке станций катодной защиты (в случае применения этого метода), места расположения и размеры каналов для прокладки кабельных линий, размеры, материал и места установки прочих строительных элементов, необходимых для осуществления защиты (трубы, кассеты, шины и т.п.).

4.4. Монтаж катодных установок

4.4.1. При производстве работ по монтажу систем катодной защиты необходимо соблюдать требования СНиП III-33-76 «Правила производства и приемки работ. Электротехнические устройства».

4.4.2. В объем монтажных работ входят:

установка катодной станции;

подводка питания к катодной станции;

прокладка наземных кабельных линий;

сборка анодных пакетов;

установка анодов или анодных пакетов на дно;

подключение подводящих кабелей к магистральным линиям;

подключение к сооружению катодной станции, включение катодной защиты и наладка ее.

4.4.3. Станции катодной защиты можно устанавливать на отдельных фундаментах, на стальных или железобетонных опорах, крепить на наружных кирпичных или бетонных стенах зданий.

Место установки катодной станции следует выбирать с учетом свободного доступа к ней обслуживающего персонала.

4.4.4. Корпус катодной станции должен быть заземлен.

4.4.5. Береговые линии - анодная магистральная линия и катодная линия, посредством которой катодная станция подключается к элементам сооружения, должны выполняться кабелем типа КНРП. Кабель должен быть защищен от ударов и других механических воздействий, могущих привести к его повреждению.

4.4.6. Анодную и катодную линии рекомендуется выполнять из цельного кабеля с оголением жилы в месте присоединения ее к элементу конструкции, общей шине или подводящему кабелю. Соединение должно осуществляться с помощью болтового оцинкованного зажима. Место присоединения кабеля к конструкции или шине должно быть зачищено до металлического блеска. Соединение кабеля катодной линии с конструкцией или шиной после окончания монтажа должно быть защищено от воздействия влаги путем окраски горячим битумом за 3 раза, а соединение подводящего кабеля с магистральной анодной линией заключено в кожух, залитый горячей битумной мастикой.

4.4.7. Мастика должна приготавливаться путем смешивания горячего (180 °С) обезвоженного битума с цементом любой марки в соотношении 1 : 3 по массе.

4.4.8. Кассеты для анодов или протекторов должны изготовляться из досок толщиной 50 мм, пропитанных креозотовым маслом или другим стойким в воде антисептиком. Конструкция кассеты приведена в приложении 7. Секций в кассете должно быть на два больше, чем число анодов в пакете. Свободные секции должны заполняться балластом для уменьшения плавучести кассеты.

4.4.9. Сборка анодных пакетов должна осуществляться в следующей последовательности:

уложить аноды в кассету;

соединить аноды друг с другом кабелем и присоединить к группе анодов подводящий кабель;

поставить кассету вертикально;

залить места соединения изолирующей мастикой.

4.4.10. Установку анодных пакетов на дно следует производить с помощью водолазов. Места установки пакетов должны быть предварительно обозначены буями.

4.4.11. Во избежание повреждения кабеля, он должен быть уложен на участке от сооружения до места установки анодов в донную траншею глубиной 0,6 - 0,8 м и защищен в месте его подъема по сооружению.

4.5. Монтаж протекторных установок

4.5.1. Монтажные работы при устройстве протекторной защиты включают:

укладку протекторов в кассеты и их закрепление (для протекторов, устанавливаемых на дно водоема);

присоединение к протектору токопровода;

установка или подвеска протекторов на место;

присоединение токопроводов к сооружению.

4.5.2. Токопровод (жила кабеля или канат) должен крепиться к сердечнику протектора с помощью зажимной оцинкованной муфты. Конструкция муфты зависит от способа установки протекторов, типа и сечения токопровода и определяется проектом защиты сооружения.

4.5.3. Крепление токопроводов к сооружению должно производиться с помощью болтовых зажимов или наконечников, привариваемых к элементам конструкции или общей шине.

4.5.4. Установка протекторов на место осуществляется аналогично установке анодов (п. 4.4.10).

4.6. Правила эксплуатации систем катодной защиты

4.6.1. В процессе эксплуатации системы катодной защиты должны производиться периодические осмотры элементов системы и проверки режима ее работы.

При осмотрах должны проверяться степень разрушения анодов, сохранность токопроводов, состояние электрических соединений. Режим работы системы катодной защиты устанавливается по результатам осмотра катодной станции и замеров потенциалов конструкций.

Периодичность осмотра и проверки режима работы системы катодной защиты устанавливается в соответствии с табл. 2, а форма журнала записи результатов контроля приведена в приложении 8.

Таблица 2

Периодичность осмотра электрических установок защиты и измерения потенциалов сооружений

Характер профилактических работ

Катодные установки

Протекторные установки

Регулировка и выбор оптимального режима

При пуске установки

-

Замер потенциалов сооружения

1 раз в три месяца

1 раз в три месяца

Осмотр работающих установок с замером токов

1 раз в месяц

-

Профилактический ремонт

1 раз в три месяца

-

Смена анодов и протекторов

При полном износе или при снижении защитного тока

4.6.2. В начальный период эксплуатации система катодной защиты должна работать в режиме, способствующем интенсивному формированию катодного осадка. Плотность поляризующего тока в режиме осаждения СКО должна быть не менее 0,15 А/м2. Продолжительность формирования СКО 30 - 40 суток.

Увеличение защитного тока в этом случае (по сравнению с эксплуатационным периодом) достигается за счет мероприятий, упомянутых в п. 2.2.8.

4.6.3. Контроль за эффективностью действия катодной защиты должен осуществляться по величине потенциала защищаемой поверхности. При оптимальном режиме эксплуатации потенциал поверхности должен быть в пределах 0,55 - 0,65 В (по НВЭ).

4.6.4. При использовании автоматических катодных станций заданный потенциал сооружения поддерживается автоматически. При применении неавтоматических станций необходимо регулярно производить замер потенциала сооружения и корректировать работу системы вручную.

4.6.5. Замер потенциала сооружения следует производить в точках, расположенных через 20 - 25 метров по длине сооружения и в нескольких точках по вертикали. Замер производится высокоомным вольтметром относительно электрода сравнения - МСЭ (ТУ 204 РСФСР 380-71) или ХСЭ. Хлорсеребряные электроды сравнения выпускаются промышленностью по ТУ 5.3.94-13127-77.

Для производства электрических измерений следует использовать переносные вольтметры с входным сопротивлением не менее 20 кОм/В (например, БК7-13).

При замере потенциала клемма (-) прибора должна присоединяться к металлоконструкции, а клемма (+) - к электроду сравнения, погруженному в воду. При этом место присоединения вольтметра к конструкции должно быть очищено до металлического блеска.

4.6.6. Суммарная сила тока и напряжение катодной станции должны измеряться амперметром и вольтметром, установленными на станции. Сила тока, протекающего через отдельные аноды или пакеты анодов, должна измеряться, в случае необходимости, в месте подключения подводящей линии к магистральной переносным амперметром.

4.6.7. Последействие катодной защиты допускает периодическое отключение источника постоянного тока. При установившихся защитных потенциалах цикличность работы может составлять 15 - 30 дней при одинаковой продолжительности периодов «включено - отключено».

4.7. Правила эксплуатации систем протекторной защиты

4.7.1. В процессе эксплуатации системы протекторной защиты должны производиться периодические осмотры элементов системы и проверки режима ее работы. Периодичность осмотров указана в табл. 2.

4.7.2. Во время технических осмотров проверяется состояние протекторов, соединительных токопроводов и электрических контактов. Режим работы системы протекторной защиты должен контролироваться путем измерения защитного потенциала сооружения в различных точках. Метод измерения защитного потенциала сооружения такой же, как и при контроле режима работы катодных установок (п. 4.6.5).

4.7.3. На основании результатов измерений защитного потенциала сооружения следует отрегулировать работу системы путем изменения общего количества или замены израсходованных протекторов.

Изменение режима работы системы наступает спустя 10 суток после изменения ее параметров, поэтому все контрольные измерения следует производить не ранее этого срока.

ПРИЛОЖЕНИЕ 1

(справочное)

ТЕРМИНЫ И ИХ ОПРЕДЕЛЕНИЕ

1. Стационарный электродный потенциал металла (потенциал коррозии), Vст - разность потенциалов между металлоконструкцией и электродом сравнения, погруженным в непосредственной близости от конструкции в данную электропроводную среду, при отсутствии электрохимической защиты, В.

2. Минимальный защитный потенциал,  - потенциал поляризованной металлической поверхности, обеспечивающий заданную степень защиты, В.

3. Максимальный защитный потенциал,  - потенциал поляризованной металлической поверхности, превышение которого может вызвать разрушения структуры металла или лакокрасочного покрытия, защищающего металл, В.

4. Электрод сравнения - гальванический полуэлемент с постоянным во времени, хорошо воспроизводимым собственным потенциалом, не изменяющимся или изменяющимся по строго определенному закону при изменении условий среды.

Наиболее распространенные электроды сравнения:

4.1. Нормальный водородный электрод (НВЭ) - полуэлемент, состоящий из платинового электрода, погруженного в раствор кислоты с активностью ионов водорода, равной единице (рН = 1), и давлении газообразного водорода над раствором в 0,1 МПа.

Стандартный потенциал НВЭ принят равным нулю при любых температурах. Собственные электронные потенциалы других электродов сравнения оцениваются относительно НВЭ. НВЭ применяется, как правило, в лабораторных условиях.

4.2. Насыщенный медно-сульфатный электрод (МСЭ) применяется в качестве электрода сравнения при измерениях в грунте и морской воде.

4.3. Хлорсеребряный электрод (ХСЭ) применяется в качестве электрода сравнения в пресной и морской воде.

5. Катодная поляризация, DV - смещение потенциала металлической поверхности в отрицательную сторону от значений стационарного потенциала, В.

6. Удельная катодная поляризуемость, b - тангенс угла наклона линеаризованного участка поляризационной кривой  металла в данной среде и для данного состояния поверхности в диапазоне от стационарного электродного потенциала до минимального защитного потенциала, Ом·м2.

7. Защитная плотность тока jзащ - защитный ток на единицу площади поверхности, обеспечивающий сдвиг стационарного потенциала поверхности металла до значений защитного потенциала, А/м2.

8. Солевые катодные отложения (СКО) - отложения малорастворимых солей кальция и магния на защищаемой поверхности металла при катодной защите, образующиеся в результате протекания вторичных электрохимических процессов на границе раздела металл - электролит. СКО обладают защитными свойствами. По мере растворения СКО (после отключения защиты), защитные свойства их убывают.

9. Удельная электропроводимость среды g - величина, характеризующая проводимость вещества и равная отношению плотности тока к напряженности электрического поля, Ом/м.

10. Электрохимический эквивалент q - количество вещества, которое выделяется (растворяется) с электрода при прохождении единицы сила тока через раствор в единицу времени, кг/А·год.

11. Анод - электрод, который присоединяется к положительному полюсу источника постоянного тока для создания в среде электрического поля. Катодом является защищаемая поверхность.

12. Протектор - электрод из металла, имеющего стационарный электродный потенциал более отрицательный чем потенциал защищаемого металла. Протектор присоединяется через проводник к защищаемой конструкции. За счет разности потенциалов протектора и металла конструкции в электропроводной среде создается гальванический элемент, расходуемой частью которого является протектор, и за счет ЭДС элемента осуществляется катодная поляризация сооружения.

13. Сопротивление растеканию R - электрическое сопротивление системы анодов (протекторов) в данном электролите, Ом.

ПРИЛОЖЕНИЕ 2

(справочное)

ИСТОЧНИКИ ПИТАНИЯ СИСТЕМ КАТОДНОЙ ЗАЩИТЫ

Тип катодной станции

Рабочий ток, А

Выпрямленное напряжение, В

Регулировка

Выходная мощность, Вт

Напряжение питающей сети, В

Точность поддержания защитного потенциала, mВ

КСС-150

12,5/6,25

12/24

Ручная, ступенчатая

150

220

-

КСС-300

25/12,5

12/24

300

КСС-600

50/25

12/24

600

КСС-1200

100/50

12/24

1200

СКСУ-150

12,5/6,25/3,1

12/24/48

То же

150

220

-

СКСУ-300

25/12,5/6,25

12/24/48

300

СКСУ-600

50/25/12,5

12/24/48

600

СКСУ-1200

100/50/25

12/24/48

1200

ПАСК-0,6

25/12,5

24/48

Автоматическая и ручная плавная

600

220

50

ПАСК-1,2

50/25

24/48

1200

ПАСК-2

42/21

48/96

2000

ПАСК-3

62,5/31,25

48/96

3000

ПАСК-5

104/52

48/96

5000

СКСА-1200

100/50/25

12/24/48

Автоматическая

1200

220

75

СКСП-1200

50/25

24/48

То же

1200

220

75

СКСП-1200п24/Д

100/50

12/24

1200

ПАК-1-125/24

125

24

Автоматическая и ручная

3000

220

50

ПАК-1-208/24

208

24

5000

220

50

ПАК-2-208/24

208

24

5000

220

50

ПРИЛОЖЕНИЕ 3

(справочное)

КОНСТРУКЦИИ АНОДОВ

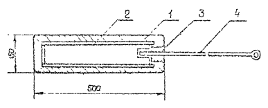
1. Конструкция углеграфитового анода типа ЭГТ (ТУ 48-20-97-77).

Анод (рис. п.3.1) представляет собой трубчатый элемент диаметром 114 мм, с толщиной стенки 12 мм, выполненный из графитополимерного состава.

Промышленностью выпускаются аноды пяти типоразмеров (Новочеркасский электродный завод):

Длина, мм

1000

1450

2000

2500

2900

Масса, кг

6,7

9,7

13,3

16,7

19,3

Электрохимический эквивалент - 0,5 кг/А·год.

Каждый анод имеет на концах с внутренней стороны резьбовую часть (М 95×4) для присоединения токовводного элемента. После присоединения кабеля к токовводному элементу на него одевается кольцо-обойма, в которое заливается в горячем виде изолирующая мастика для защиты от коррозии узла соединения кабеля с токовводным элементом.

Состав изолирующей мастики в % по массе:

битум любой марки                                     - 40;

минеральный наполнитель                        - 60.

В качестве минерального наполнителя используется минеральный порошок, кварцевая мука, зола уноса, цемент.

Приготовляется мастика путем тщательного перемешивания в горячем виде битума и наполнителя. Битум должен быть предварительно обезвожен при температуре 110 - 120 °С. Перед смешиванием компонентов смеси они должны быть нагреты до 160 - 170 °С.

Рис. п.3.1. Конструкция углеграфитового анода

1 - анод; 2 - токоввод; 3 - кольцо для заливки мастики.

Рис. п.3.2. Конструкция подвесного анода АФП

1 - ферросилидовый слой; 2 - труба; 3 - заливочная мастика; 4 - титановая подвеска.

2. Конструкция подвесного ферросилидового анода типа АФП (ТУ 39-08-22-77).

Анод выполнен в виде закрытого цилиндра (рис. п.3.2) диаметром 150 мм. Ферросилидовый слой нанесен на стальную трубу, имеющую заглушки и токовводное устройство. Подвешивается анод на нерастворимой подвеске из титанового прутка длиной 8 м, который крепится к сооружению через диэлектрик. Сечение прутка - 113 мм2. Масса анода 40 кг. Электрохимический эквивалент - 0,15 кг/А·год.

Подводящий кабель соединяется с подвеской с помощью болтового оцинкованного зажима. Изготовитель - завод РТО ВПО «Союзгазмашремонт».

ПРИЛОЖЕНИЕ 4

(справочное)

ХАРАКТЕРИСТИКИ ТОКОПРОВОДОВ

1. Кабель КНРП (ГОСТ 7866.1-76) медный, одно- двухжильный. Изоляция резиновая шланговая, маслостойкая, с защитной оплеткой из стальных оцинкованных проволок.

Площадь сечения одной жилы, мм2

2,5

4

6

10

16

25

35

50

70

95

120

150

Сопротивление 1 км жилы, Ом

7,28

4,56

3,03

1,81

1,14

0,72

0,53

0,36

0,26

0,20

0,15

0,12

2. Каротажные кабели (ГОСТ 6020-77).

КГ1-24-90 - одножильный, бронированный с разрывным усилием 24 кН;

КГ1-44-90 - одножильный, бронированный с разрывным усилием 44 кН;

КГ3-59-90 - трехжильный, бронированный с разрывным усилием 59 кН.

Электрическое сопротивление 1 км жилы - 19,5 Ом.

3. Канаты стальные оцинкованные:

Тип ЛК-О 5.2-Г-1-Ж-Н-1372 (140) ГОСТ 3062-80, разрывное усилие 20 кН, электрическое сопротивление 1 км каната - 9,3 Ом.

Тип ТК 5.6-Г-1-Ж-Н-МК-1372 (140) ГОСТ 3063-80, разрывное усилие 20 кН, электрическое сопротивление 1 км каната - 8,2 Ом.

4. Кабели подводные ГОСТ 14962-81.

ПРИЛОЖЕНИЕ 5

(справочное)

УДЕЛЬНАЯ ЭЛЕКТРОПРОВОДИМОСТЬ ВОДЫ

Соленость воды

Удельная электропроводимость, Ом/м

0 °С

5 °С

10 °С

15 °С

20 °С

25 °С

1

-

-

-

-

0,10

-

2

-

-

-

-

0,50

-

5

0,53

0,61

0,71

0,80

0,83

0,98

10

0,93

1,08

1,24

1,40

1,52

1,73

15

1,33

1,55

1,77

2,00

2,21

2,47

20

1,74

2,02

2,30

2,60

2,90

3,22

25

2,13

2,47

2,81

3,17

3,54

3,92

30

2,52

2,91

3,31

3,74

4,17

4,62

35

2,90

3,35

3,81

4,29

4,79

5,30

ПРИЛОЖЕНИЕ 6

(справочное)

ХАРАКТЕРИСТИКИ ПРОТЕКТОРОВ

Марка

Размер сечения, мм

Длина, мм

Масса, кг

Марка сплава

Рабочий потенциал по НВЭ, В

Фактическая токоотдача, А·ч/кг

П-ПОА-30

900

30

АП 1

- 0,70

2160

АП 2

- 0,60

2070

АП 3

- 0,70

2440

АП 4

- 0,80

2440

П-ПОА-60

900

60

АП 1

- 0,70

2160

АП 2

- 0,60

2070

АП 3

- 0,70

2440

АП 4

- 0,80

2440

П-ПОМ-30

600

30

МП1

- 1,21

1430

П-ПОМ-60

600

30

МП1

- 1,21

1430

ПАКМ-40

1400

40

АЦ5

- 0,70

2300

ПАКМ-65

1200

65

АЦ5

- 0,70

2300

ПАКМ-80

1300

80

АЦ5

- 0,70

2300

ПАКМ-40

1160

40

АЦ5

- 0,70

2300

ПАКМ-65

1000

65

АЦ5

- 0,70

2300

ПАКМ-80

1100

80

АЦ5

- 0,70

2300

ПММ-20

1230

20

МЛ-4

- 1,75

1320

ПММ-30

620

30

МЛ-4

- 1,75

1320

ПММ-60

1230

60

МЛ-4

- 1,75

1320

Заводы-изготовители:

П-ПОА-30 (60) - Завод подъемно-транспортного оборудования (г. Бердянск, Запорожская обл.).

П-ПОМ-30 (60), ПММ-20 (30, 60) - Титано-магниевый комбинат (г. Березники, Пермская обл.).

ПАКМ-40 (65, 80) - Уральский алюминиевый завод (г. Каменск-Уральский, Свердловская обл.).

ПРИЛОЖЕНИЕ 7

(справочное)

КОНСТРУКЦИЯ КАССЕТЫ ДЛЯ АНОДОВ И ПРОТЕКТОРОВ

Доски должны быть пропитаны креозотовым (антраценовым) маслом.

Размеры кассет устанавливаются исходя из размеров электродов.

ПРИЛОЖЕНИЕ 8

(справочное)

ФОРМЫ ЖУРНАЛОВ ПО ЭКСПЛУАТАЦИИ СИСТЕМ КАТОДНОЙ ЗАЩИТЫ

Форма 1

Журнал осмотра катодной установки

Тип и номер катодной станции

Дата

Параметры станции

Токи по фидерам

Напряжение выпрямл. тока, В

Сила выпрямл. тока, А

1

2

3

4

5

 

 

 

 

 

 

 

 

 

 

 

 

 

 

 

 

 

 

 

 

 

 

 

 

 

 

 

Форма 2

Журнал замера потенциалов конструкций

Тип и номер катодной станции

Дата

Потенциалы относительно МСЭ или ХСЭ в точках

1

2

3

4

5

.

.

.

.

.

 

 

 

 

 

 

 

 

 

 

 

 

 

 

 

 

 

 

 

 

 

 

 

 

 

 

 

 

 

 

 

 

 

 

 

 

ПРИЛОЖЕНИЕ 9

(справочное)

ПЕРЕЧЕНЬ НОРМАТИВНО-ТЕХНИЧЕСКИХ ДОКУМЕНТОВ, УПОМЯНУТЫХ В РУКОВОДСТВЕ

1. ГОСТ 7886.1-76. Кабели судовые с резиновой изоляцией в резиновой или свинцовой оболочке. Технические условия.

2. ГОСТ 6020-77. Кабели грузонесущие геофизические. Технические условия.

3. ГОСТ 3062-80. Канат одинарной свивки типа ЛК-О конструкции 1×7 (1 + 6). Сортамент.

4. ГОСТ 3063-80. Канат одинарной свивки типа ТК конструкции 1×19 (1 + 6 + 12). Сортамент.

5. ОСТ 5.3080-75. ЕСКЗС. Защита катодная корпусов судов. Узлы анодные.

6. ОСТ 5.3072-75. ЕСКЗС. Протекторы для защиты морских судов от коррозии.

7. СНиП III-33-76*. Правила производства и приемки работ. Электротехнические устройства.

8. ТУ 39-08-22-77. Анод ферросилидовый подвесной для катодной защиты морских нефтепромысловых сооружений от коррозии в подводной зоне. Технические условия.

9. ТУ 48-20-97-77. Электроды углеграфитовые для анодных заземлений.

10. ТУ 5.3.94 - 13127-77. Электроды сравнения пористые хлорсеребряные для систем электрохимической защиты. Технические условия.

11. ТУ 204 РСФСР 380-71. Медносульфатный электрод сравнения. Технические условия.

12. Правила технической эксплуатации электроустановок потребителей и Правила техники безопасности при эксплуатации электроустановок потребителей. М., Атомиздат, 1974.

ПРИЛОЖЕНИЕ 10

(справочное)

ПРИМЕРЫ РАСЧЕТА ЭЛЕКТРОХИМИЧЕСКОЙ ЗАЩИТЫ МОРСКИХ ГИДРОТЕХНИЧЕСКИХ СООРУЖЕНИЙ

I. Катодная защита шпунтовой стенки.

Исходные данные:

Длина стенки, L - 150 м

Глубина воды, Н - 10 м

Площадь защищаемой поверхности, S - 2550 м2

Соленость воды, с - 15 %

Анод углеграфитовый типа ЭГТ:

масса, М - 19,3 кг;

длина, l - 2,9 м;

радиус, r - 0,057 м;

срок службы, Т - 8 лет;

отстояние от сооружения, h - 30 м;

электрохимический эквивалент q - 0,5 кг/А·год.

Удельная электропроводность воды g - 2 Ом/м.

Кабель КНРП - одножильный с сечением жилы 120 мм2,

r = 0,00015 Ом/м

1. Определяем зону эффективного действия анодов (группы анодов)

2. Число точек расположения анодов или пакетов анодов

3. Общий защитный ток на эксплуатационный период

4. Номинальный ток анода

5. Число анодов

6. Число анодов в пакете

7. Сопротивление растекания пакета анодов

8. Напряжение на выходе катодной станции в эксплуатационный период

9. Сила тока катодной станции в эксплуатационный период

Jст = 30 · 3,9 = 117 А

10. Мощность катодной станции в эксплуатационный период

Pст = 117 · 4,3 = 503 Вт

11. Выбираем автоматическую станцию СКСП-1200 п24/Д.

12. Определяем общий защитный ток в период формирования СКО

13. Сила тока, стекающего с анода в период формирования СКО

14. Напряжение станции в начальный период

15. Мощность катодной станции в начальный период

16. Исходя из условий обеспечения системы в начальный период током силой 380 А необходимы дополнительно 2 катодный станции типа ПАСК-5. Однако ставить 2 «лишние» станции только на период ввода системы защиты в работу явно нецелесообразно. Поэтому принимаем решение вводить защиту в работу поэтапно - в три этапа (по 50 м стенки), подключая поочередно к каждому пакету анодов параллельно одну станцию ПАСК-5. Для этого логичнее запроектировать систему катодной защиты без магистральной линии, а каждый пакет анодов присоединять кабелем непосредственно к станции. После ввода системы в работу станции ПАСК-5 используется на других объектах или как резервная.

II. Катодная защита свайного пирса

Исходные данные:

Длина эстакады, L - 200 м

Глубина воды, Н - 12 м

Число рядов свай - 3

Продольный шаг свай - 14 м

Поперечный шаг свай - 14 м

Число свай в ряду - 14

Общее число свай - 42

Диаметр свай - 1,2 м

Площадь защищаемой поверхности, S - 1900 м2

Соленость воды, с - 10 %

Анод углеграфитовый типа ЭГТ (характеристики в пред. примере)

срок службы, Т - 12 лет;

отстояние от сооружения, h - 25 м

электрохимический эквивалент, q - 0,5 кг/А·год

Удельная электропроводность воды, g - 1,4 Ом/м

Кабель КНРП - одножильный с сечением жилы 120 мм2,

d = 0,00015 Ом/м

1. Аноды будем располагать с обеих сторон сооружения.

2.                                                     

3.                                                             (по 4 с каждой стороны).

4.                                               JS = 0,045 · 1900 = 86 А.

5.                                                 .

6.                                                         

7.                                                         

8.                      

9.                    

10.                                                 Jст = 33 · 2,6 = 86 А

11.                                               Pст = 86 · 2,2 = 190 Вт

12. Выбираем 2 станции ПАСК-1,2 - по одной станции на каждую сторону пирса.

13.                                            

14.                                                

15.                                                

16.                                            

17. Вводим защиту в работу поэтапно - в два этапа, подсоединяя сначала к одной стороне, затем к другой, параллельно резервную станцию КСС-1200.

III. Протекторная защита шпунтовой стенки

Исходные данные:

Длина стенки, L - 200 м

Глубина воды, Н - 14 м

Площадь защищаемой поверхности, S - 4760 м2

Соленость воды, с - 35 %

Протектор типа П-ПОА-60

длина, l - 0,9 м

диаметр, D - 0,17 м

масса, Мп - 60 кг

марка сплава - АП.2

рабочий потенциал по НВЭ, Vn минус 0,6 В

токоотдача, a - 2070 А·год/кг

Кабель КНРП - одножильный с сечением жилы 120 мм2,

r = 0,00015 Ом/м

Удельная электропроводность воды g = 4,29 Ом/м.

1. Определяем сопротивление растеканию протектора

2. Протекторы располагаем на расстоянии 10 м равномерно вдоль сооружения.

3. Сопротивление соединительного провода

Rт = 0,00015 · 15 = 0,002 Ом

4. Ток одиночного протектора

5. Суммарный защитный ток сооружения

JS = 0,045 · 4760 = 214 А

6. Необходимое количество протекторов

7. Зона действия протектора

8. Срок действия протекторов

.

IV. Протекторная защита свайного пирса

Исходные данные:

Длина пирса, L - 300 м

Глубина воды, Н - 10 м

Диаметр свай - 0,5 м

Число свай - 114

Площадь защищаемой поверхности, S - 1790 м2

Протектор типа П-ПОА-60

Соленость воды, с - 15 %

Удельная электропроводность воды, g - 2 Ом/м.

1. Rn = 0,2 Ом (см. предыдущий пример).

2. Rт = 0,00015 · 15 = 0,002 Ом (Аноды подвешиваем к ростверку равномерно по всей площади сооружения).

3.                                              

4.                                               JS = 0,045 · 1790 = 80 А

5.                                                  

6.                                              

СОДЕРЖАНИЕ

1. Общие положения. 1

2. Катодная защита. 2

2.1. Элементы системы катодной защиты.. 2

2.2. Расчет катодной защиты.. 4

3. Протекторная защита. 6

3.1. Элементы системы протекторной защиты.. 6

3.2. Расчет протекторной защиты.. 7

4. Проектирование, монтаж и эксплуатация систем электрохимической защиты.. 8

Приложение 1 Термины и их определение. 11

Приложение 2 Источники питания систем катодной защиты.. 12

Приложение 3 Конструкции анодов. 12

Приложение 4 Характеристики токопроводов. 13

Приложение 5 Удельная электропроводимость воды.. 13

Приложение 6 Характеристики протекторов. 14

Приложение 7 Конструкция кассеты для анодов и протекторов. 14

Приложение 8 Формы журналов по эксплуатации систем катодной защиты.. 15

Приложение 9 Перечень нормативно-технических документов, упомянутых в руководстве. 15

Приложение 10 Примеры расчета электрохимической защиты морских гидротехнических сооружений. 15

 

 




ГОСТЫ, СТРОИТЕЛЬНЫЕ и ТЕХНИЧЕСКИЕ НОРМАТИВЫ.
Некоммерческая онлайн система, содержащая все Российские Госты, национальные Стандарты и нормативы.
В Системе содержится более 150000 файлов нормативно-технической документации, действующей на территории РФ.
Система предназначена для широкого круга инженерно-технических специалистов.

Рейтинг@Mail.ru Яндекс цитирования

Copyright © www.gostrf.com, 2008 - 2026