Крупнейшая бесплатная информационно-справочная система онлайн доступа к полному собранию технических нормативно-правовых актов РФ. Огромная база технических нормативов (более 150 тысяч документов) и полное собрание национальных стандартов, аутентичное официальной базе Госстандарта. GOSTRF.com - это более 1 Терабайта бесплатной технической информации для всех пользователей интернета. Все электронные копии представленных здесь документов могут распространяться без каких-либо ограничений. Поощряется распространение информации с этого сайта на любых других ресурсах. Каждый человек имеет право на неограниченный доступ к этим документам! Каждый человек имеет право на знание требований, изложенных в данных нормативно-правовых актах!

  


 

ГОСТ 23586-96

МЕЖГОСУДАРСТВЕННЫЙ СТАНДАРТ

Монтаж электрический радиоэлектронной
аппаратуры и приборов

ТЕХНИЧЕСКИЕ ТРЕБОВАНИЯ К ЖГУТАМ
И ИХ КРЕПЛЕНИЮ

МЕЖГОСУДАРСТВЕННЫЙ СОВЕТ
ПО СТАНДАРТИЗАЦИИ, МЕТРОЛОГИИ И СЕРТИФИКАЦИИ

Минск

Предисловие

1 РАЗРАБОТАН Научно-исследовательским технологическим институтом приборостроения Минмашпрома Украины

ВНЕСЕН Государственным комитетом Украины по стандартизации, метрологии и сертификации

2 ПРИНЯТ Межгосударственным Советом по стандартизации, метрологии и сертификации (протокол № 9 от 12 апреля 1996 г.)

За принятие проголосовали:

Наименование государства

Наименование национального органа по стандартизации

Азербайджанская Республика

Азгосстандарт

Республика Армения

Армгосстандарт

Республика Беларусь

Госстандарт Республики Беларусь

Республика Казахстан

Госстандарт Республики Казахстан

Кыргызская Республика

Кыргызстандарт

Республика Молдова

Молдовастандарт

Российская Федерация

Госстандарт России

Туркменистан

Главгосинспекция «Туркменстандартлары»

Украина

Госстандарт Украины

3 Постановлением Государственного комитета Российской Федерации по стандартизации и метрологии от 15 февраля 2001 г. № 69-ст межгосударственный стандарт ГОСТ 23586-96 введен в действие непосредственно в качестве государственного стандарта Российской Федерации с 1 июля 2001 г.

4 ВЗАМЕН ГОСТ 23586-79

ГОСТ 23586-96

МЕЖГОСУДАРСТВЕННЫЙ СТАНДАРТ

Монтаж электрический радиоэлектронной
аппаратуры и приборов

ТЕХНИЧЕСКИЕ ТРЕБОВАНИЯ К ЖГУТАМ
И ИХ КРЕПЛЕНИЮ

Electrical wiring of radio-electronic equipment and devices.
Technical requirements for wire harnesses and their mounting.

Дата введения 2001-07-01

1 Область применения

Настоящий стандарт устанавливает технические требования к конструкциям жгутов, применяемым при электрическом монтаже (далее - монтаж), выполняемом внутри радиоэлектронной аппаратуры (РЭА), приборов и устройств (далее - аппаратуры).

Стандарт не устанавливает технических требований к технологическому процессу изготовления и крепления жгутов.

Требования настоящего стандарта являются обязательными.

2 Нормативные ссылки

В настоящем стандарте использованы ссылки на следующие стандарты:

ГОСТ 15845-80 Изделия кабельные. Термины и определения

ГОСТ 16504-81 Система государственных испытаний продукции. Испытания и контроль качества продукции. Термины и определения

ГОСТ 23585-96* Монтаж электрический радиоэлектронной аппаратуры и приборов. Технические требования к разделке и соединению экранов проводов.

ГОСТ 23587-96 Монтаж электрический радиоэлектронной аппаратуры и приборов. Технические требования к разделке монтажных проводов и креплению жил.

* В Российской Федерации действует ГОСТ 23585-79.

3 Определения

В настоящем стандарте применяют термины в соответствии с ГОСТ 15845, ГОСТ 16504, а также следующие термины и определения:

жгут: Конструкция, состоящая из двух и более изолированных проводов, скрепленных в пучок связыванием (ниткой, лентой) или каким-либо другим способом, и предназначенная для электрической связи между элементами аппарата, прибора или устройства.

ствол жгута: Участок жгута, в котором, как правило, сосредоточено наибольшее количество проводов.

ответвление жгута: Часть жгута, отходящая от его ствола.

запасные провода: Провода, свиваемые в жгут с целью их дальнейшего использования в процессе эксплуатации и ремонта аппаратуры.

шаг свивания: Расстояние между двумя точками, соответствующее одному полному обороту провода, измеренное вдоль линии, параллельной оси свитой пары проводов.

электроизоляционный материал: Диэлектрический материал, предназначенный для электрической изоляции.

теплостойкость материала: Способность материала выдерживать воздействие повышенной температуры в течение времени, сравнимого со сроком нормальной эксплуатации, без недопустимого ухудшения его свойств.

вязка жгута: Элемент конструкции жгута, крепящий провода в жгут и выполненный петлями из ниток, шнуров, тесьмы, ленты или пленки.

шаг вязки: Расстояние между двумя точками, соответствующее выполнению одной петли вязки, измеренное вдоль линии, параллельной продольной оси ствола (ответвления) жгута.

лента стяжная: Деталь из электроизоляционного материала, предназначенная для скрепления проводов в жгут.

бандаж из ниток: Несколько рядом лежащих петель (витков) из ниток, фиксирующих положение составных частей жгута (обмотки, вязки и т.п.).

обмотка жгута: Покров из наложенных на жгут по винтовой спирали лент или пленок.

трасса жгута: Условная линия (система линий), определяющая расположение жгута в РЭА согласно конструкторской документации.

укладка жгута: Процесс размещения жгута в аппаратуре.

электроизоляционный компаунд: Электроизоляционный материал, не содержащий растворителя, находящийся в момент применения в жидком состоянии, с последующим отвердением.

конструкция разделки и соединения экранов проводов: Экран (конец экрана) провода или группы экранов проводов, подготовленные к электромонтажу согласно определенному конструктивному исполнению.

бандаж: Обмотки проволоки или ниток, фиксирующие положение составных частей жгута, экрана провода или экранов проводов.

4 Общие требования

4.1 Жгуты и их крепление при установке в аппаратуру должны соответствовать требованиям настоящего стандарта, государственных стандартов и технических условий на провода и материалы, конструкторской документации на аппаратуру.

4.2 Технические требования к жгутам в конструкторской документации должны быть указаны ссылкой на настоящий стандарт.

Пример ссылки в чертежах на жгут, состоящий из проводов с изоляцией из поливинилхлоридного пластика, имеющий запасные провода, которые должны быть изолированы по варианту 1.2 настоящего стандарта, вязка жгута выполнена по варианту 2.1 нитками, обмотка жгута - по варианту 3.2 пленкой:

Технические требования к жгуту - по ГОСТ 23586-96, варианты 1.2, 2.1 и 3.2.

Пример ссылки в конструкторской документации на технические требования к креплению жгута:

Технические требования к креплению жгута - по ГОСТ 23586-96.

4.3 Требования к жгутам и их креплению, не предусмотренные настоящим стандартом, должны быть согласованы с заказчиком и указаны в конструкторской документации.

4.4 Технические требования к конструкциям разделки проводов и креплению жил - по ГОСТ 23587.

4.5 Технические требования к конструкциям разделки и соединению экранов проводов - по ГОСТ 23585.

5 Технические требования к конструкции жгута

5.1 Свивание проводов между собой необходимо производить так, чтобы не происходило их скручивание вдоль своей оси.

5.2 Зависимость шага свивания от сечения провода приведена в приложении А, таблица А.1.

5.3 Экран провода или группа экранов проводов, которые не должны касаться корпуса прибора, должны быть изолированы электроизоляционной трубкой или лентами (пленками) из электроизоляционного материала.

5.4 Экранированные провода на участке жгута, перемещающемся во время эксплуатации аппаратуры, для предотвращения повреждений изоляции неэкранированных проводов должны быть изолированы электроизоляционной трубкой.

5.5 Материал, которым вяжут жгут, необходимо выбирать в зависимости от условий эксплуатации аппаратуры и типов проводов, входящих в жгут.

5.6 Хлопчатобумажный материал, применяемый для вязки и крепления жгутов, должен быть обработан антисептиком, церезином или другим аналогичным материалом.

Необходимость и вид обработки материала, применяемого для вязки и крепления жгутов в аппаратуре, устанавливает разработчик, исходя из условий ее эксплуатации и хранения.

5.7 Жгуты, состоящие из проводов с изоляцией, обладающей холодной текучестью (например фторопластовой или полиэтиленовой), без оплетки из волокнистого материала, вязать нитками не допускается; они должны быть обмотаны электроизоляционными лентами, пленками или связаны шнуром, тесьмой, пленкой из электроизоляционного материала.

5.8 Участки жгута, подлежащие защите экраном или электроизоляционной трубкой, обшивкой из кожи, ее заменителя и других материалов, вязать не допускается.

5.9 Участок жгута, перемещающийся во время эксплуатации, должен быть защищен от механических повреждений электроизоляционным материалом.

Провода под электроизоляционным материалом должны свободно перемещаться.

5.10 Для защиты от влияния высоких температур жгут или его части должны быть обмотаны теплостойким материалом, или на них должны быть надеты асбестовые чехлы или трубки.

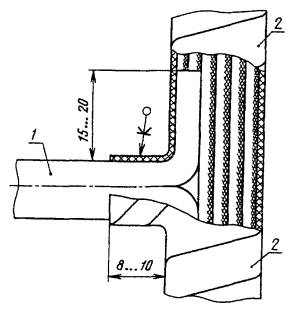
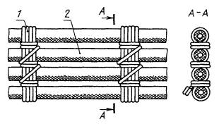
5.11 Для защиты проводов от механических повреждений жгуты в местах перехода кромки конструкций должны быть обмотаны электроизоляционным материалом, а в местах прохода жгутов сквозь стенки металлических конструкций должны быть установлены защитные втулки (рисунок 1).

1 - шасси; 2 - защитная втулка; 3 - жгут; 4 - обмотка из электроизоляционного материала

Рисунок 1

Жгут или провод должны свободно проходить сквозь отверстие втулки.

Вместо установки втулок при прокладке жгутов через отверстия в деталях конструкции необходимо соответствующие участки жгутов покрывать дополнительной изоляцией. В отверстиях стенок панелей (шасси) необходимо предусмотреть фаски или закруглить кромки отверстий.

5.12 Диаметр жгута определяют в соответствии с приложением Б.

6 Технические требования к раскладке проводов в жгуте

6.1 Провода между двумя точками должны быть уложены по кратчайшей трассе.

6.2 Провода в жгуте должны быть уложены ровно, без выступов и перекрещиваний, за исключением перекрещивания в местах ответвлений.

6.3 При раскладке в жгуте проводов различных сечений провода с площадью сечения 0,14 мм2 и менее должны быть уложены внутри жгута.

6.4 Концы запасных проводов должны быть изолированы.

Раскладка и изоляция запасных проводов должны быть выполнены по вариантам 1.1 - 1.4 в соответствии с рисунками 2 - 5.

1 - провод; 2 - бандаж из ниток

Рисунок 2 - Вариант 1.1

1 - провод; 2 - электроизоляционная трубка

Рисунок 3 - Вариант 1.2

1 - жгут; 2 - запасной провод; 3 - электроизоляционная трубка; 4 - бандаж из ниток; 5 - электроизоляционный материал

Рисунок 4 - Вариант 1.3

1 - жгут; 2 - запасные провода; 3 - бандаж из электроизоляционного материала

Примечание - Размер А выбирается конструктором.

Рисунок 5 - Вариант 1.4

6.5 Запасные провода в жгуте должны быть уложены так, чтобы к их изолированным концам был обеспечен свободный доступ.

7 Технические требования к вязке жгутов

7.1 Необходимость вязки проводов, проходящих в одной трассе отдельными жгутами, должна быть указана в конструкторской документации.

7.2 Провода в жгуте должны быть плотно увязаны.

7.3 Вариант вязки жгута следует выбирать в зависимости от марки и количества проводов, диаметра и конструкции жгута, а также условий эксплуатации и аппаратуры.

Вязка жгутов в зависимости от материала должна быть выполнена по вариантам 2.1 - 2.6 в соответствии с рисунками 6 - 11.

1 - нитки; 2 - жгут, - шаг вязки

Рисунок 6 - Вариант 2.1

1 - жгут; 2 - нитки, 3 - бандаж из ниток

Рисунок 7 - Вариант 2.2

1 - бандаж из ниток; 2 - жгут

Рисунок 8 - Вариант 2.3

1 - нитки, шнур или электроизоляционная пленка, 2 - жгут из витых проводов

Рисунок 9 - Вариант 2.4

1 - бандаж из ниток; 2 - пленка из электроизоляционного материала; 3 - жгут

Рисунок 10 - Вариант 2.5

1 - нитки; 2 - жгут

Рисунок 11 - Вариант 2.6

7.4 Шаг вязки (рисунок 6) следует выбирать с учетом сечения проводов в зависимости от диаметра жгута: для проводов с площадью сечения 0,35 мм2 и более - по таблице 1, для проводов с площадью сечения менее 0,35 мм2 - по таблице 2.

Таблица 1

В миллиметрах

Диаметр жгута

Шаг вязки

До 10 включ.

От 15 до 20 включ.

Св. 10 до 30 включ.

Св. 20 »   30    »

»   30

»    30 »    40    »

Таблица 2

В миллиметрах

Диаметр жгута

Шаг вязки

До 5 включ.

От 5 до 10 включ.

Св. 5 до 8 включ.

Св. 10 » 12     »

»    8 »  10    »

»     12 » 18    »

»   10

От  25 » 30    »

Шаг вязки должен быть равномерным.

На криволинейных участках шаг вязки должен быть уменьшен на 30 - 50 % в зависимости от диаметра жгута и радиуса изгиба жгута.

7.5 В начале и конце вязки жгута должны быть связаны бандажи из двух - пяти петель вязки.

Вязку следует заканчивать узлом (рисунок 7), который должен быть закреплен клеем, лаком или оплавлением.

При оплавлении поджог изоляции не допускается. После оплавления длина выступающих из узла концов ниток не должна быть более 1 мм.

При вязке электроизоляционной пленкой жгут в начале и конце вязки следует обмотать расправленными концами пленки, выполнив два - три витка и закрепив их бандажом из ниток.

На жгуты диаметром 20 мм и менее следует устанавливать бандажи шириной до 10 мм, на жгуты диаметром свыше 20 мм - бандажи шириной 10 мм и более.

Пример вязки бандажей шириной до 10 мм указан на рисунке 12, шириной 10 мм и более - на рисунке 13.

7.6 До и после ответвления жгуты должны быть связаны в две - три рядом лежащие петли.

7.7 Перед каждым выходящим из жгута проводом или группой проводов должна быть связана петля.

1 - бандаж из ниток, 2 - жгут

Примечание - Узел условно не затянут.

Рисунок 12

1 - бандаж из ниток; 2 - жгут

Рисунок 13

8 Технические требования к обмотке жгута электроизоляционными материалами

8.1 Обмотку жгута необходимо выполнять с натяжением ленты или пленки и с перекрытием, равным 50 - 70 %.

8.2 Лента или пленка должны фиксировать ответвления (рисунок 14) и выходящие из жгута провода.

8.3 Лента или пленка, не имеющие липкого слоя, должны быть проклеены через три - пять витков и в местах разветвлений.

Лента или пленка, которые не поддаются склеиванию, должны быть закреплены через 10 - 20 витков бандажом из ниток шириной 2 - 3 мм.

Начало и конец обмотки жгута должны быть закреплены клеем или бандажом из ниток.

8.4 Электроизоляционная лента и электроизоляционная трубка в месте их соединения должны быть закреплены бандажом из ниток или клеем (рисунки 15 - 19).

8.5 Обмотка жгута должна быть выполнена по вариантам 3.1 - 3.4 в соответствии с рисунками 20 - 23.

8.6 При наборе жгутов, состоящих из проводов с изоляцией, обладающей холодной текучестью (например фторопластовой или полиэтиленовой), следует изолировать экранированные провода от неэкранированных электроизоляционной трубкой или лентой (пленкой) из электроизоляционного материала.

1 - электроизоляционная лента; 2 - жгут; 3 - ответвление жгута

Рисунок 14

1 - жгут; 2 - электроизоляционная трубка; 3 - электроизоляционная лента; 4 - бандаж из ниток

* С увеличением диаметра жгута ширину бандажа увеличивают в указанных пределах.

Рисунок 15

1 - электроизоляционная трубка; 2 - электроизоляционная лента

Рисунок 16

1 - электроизоляционная лента; 2 - электроизоляционная трубка

Рисунок 17

1 - электроизоляционная трубка; 2 - электроизоляционная лента

Рисунок 18

1 - электроизоляционная трубка; 2 - электроизоляционная лента

Рисунок 19

1 - электроизоляционная лента, 2 - бандаж из ниток, 3 - жгут

Рисунок 20 - Вариант 3 1

1 - электроизоляционная лента, 2 - бандаж из ниток, 3 - жгут

Рисунок 21 - Вариант 3.2

1 - электроизоляционная лента, 2 - жгут

Рисунок 22 - Вариант 3.3

1 - жгут; 2 - электроизоляционная лента, закрепленная клеем

Рисунок 23 - Вариант 3.4

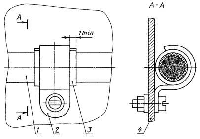
9 Технические требования к укладке и креплению жгута в аппаратуре

9.1 Внутренний радиус изгиба укладываемого в аппаратуре жгута диаметром не более 20 мм должен быть не менее трех диаметров жгута.

Внутренний радиус изгиба плоской части жгута толщиной не более 20 мм должен быть не менее утроенной толщины изгибаемой части жгута.

Жгут диаметром свыше 20 мм, содержащий провода с площадью сечения 0,2 мм2 и менее, при укладке в аппаратуре изгибать не допускается. Участки жгутов, подлежащие изгибу при укладке, вязать не допускается. На эти участки жгута должны быть надеты электроизоляционные трубки, или допускается обмотка двумя слоями электроизоляционной ленты с липким слоем (первый слой - липкой стороной ленты наружу, второй - внутрь) с применением резинового шнура, трубки, заполненной сжатым воздухом и т.п., которые после окончания обмотки извлекаются.

9.2 Жгуты (на участках наложения их один на другой) должны быть связаны между собой шнуром или другим материалом.

9.3 Участок жгута в месте перехода с неподвижной части на подвижную должен быть расположен так, чтобы он работал на кручение, а не на изгиб.

Плоские участки при переходе с неподвижной части прибора на подвижную должны работать на изгиб.

Радиус изгиба должен быть не менее указанного в 9.1.

9.4 Перемещающаяся часть жгута в начале и в конце должна быть закреплена. Электроизоляционные материалы, защищающие перемещающиеся участки жгута, должны выступать за края элементов крепления не менее чем на 10 мм.

10 Способы и виды крепления жгутов

10.1 Крепление жгутов в аппаратуре должно быть произведено скобами, хомутами, лентами, шнурами, нитками, клеями и компаундами.

10.2 Выбор расстояния между точками крепления жгута на прямолинейном участке следует проводить в зависимости от диаметра жгута по таблицам 3 и 4.

Таблица 3 - Расстояние между местами крепления жгута скобами или хомутами

В миллиметрах

Диаметр жгута

Расстояние между местами крепления, не более

До 10 включ.

200

Св. 10 до 30 включ.

250

»    30

300

Таблица 4 - Расстояние между местами крепления жгута клеем или компаундом

В миллиметрах

Диаметр жгута

Расстояние между местами крепления

До 5 включ.

От 30 до 50 включ.

Св. 5 до 10 включ.

Св. 50 »   80     »

»   10 »   15     »

»     80 » 100     »

»   15 »   20     »

»   100 » 150   »

»   25

»   150 » 200     »

10.3 Расстояние между местами крепления выходящих из жгута проводов с площадью сечения 0,35 мм2 и менее должно быть не более 50 мм.

10.4 В местах перехода с одной неподвижной плоскости на другую жгут должен быть прикреплен к обеим плоскостям независимо от расстояния между местами крепления, указанного в 10.2 и 10.3.

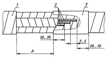
10.5 Основные виды крепления крепежными материалами показаны на рисунках 24 - 27.

10.6 Скобы, ленты и хомуты должны быть выбраны по форме жгута.

10.7 На металлические скобы и хомуты должны быть надеты электроизоляционные трубки, или жгут под скобами (хомутами) должен быть обернут электроизоляционным материалом, который должен выступать за края хомута или скобы на 1 - 3 мм.

10.8 Крепление жгутов клеем или компаундом следует производить в соответствии с рисунком 28.

10.9 Ширина склеивающего шва должна быть не менее 1,4 диаметра жгута или провода.

10.10 Жгуты диаметром 10 мм и более, за исключением уложенных в пазы блока, в местах приклеивания должны быть закреплены шнуром или нитками через отверстия в деталях конструкции.

1 - жгут; 2 - скоба; 3 - прокладка из электроизоляционного материала; 4 - панель, шасси и т.п.

Рисунок 24

1 - жгут; 2 - прокладка из электроизоляционного материала; 3 - скоба; 4 - панель, шасси и т.п.

Рисунок 25

1 - жгут; 2 - лента из алюминия; 3 - скоба; 4 - панель, шасси; 5 - прокладка (обмотка) из электроизоляционного материала

Рисунок 26

1 - жгут; 2 - прокладка (обмотка) из электроизоляционного материала; 3 - лента из алюминия; 4 - панель, шасси; 5 - скоба

Рисунок 27

1 - панель; 2 - компаунд, 3 - жгут

Рисунок 28

ПРИЛОЖЕНИЕ А

(рекомендуемое)

Зависимость шага свивания от сечения проводов

Таблица А.1

Площадь сечения провода, мм2

Шаг свивания, мм

От 0,05 до 0,12 включ.

От 10 до 15 включ.

Св. 0,12 »  0,20     »

Св. 15 »   20     »

» 0,35

»     20 »   25     »

» 0,50

»     25 »   30     »

» 0,75

»     30 »   40     »

От 1,00 до 2,00 включ.

»     40 »   45     »

Для проводов с полиэтиленовой изоляцией шаг свивания следует увеличивать на 30 %

ПРИЛОЖЕНИЕ Б

(рекомендуемое)

Определение диаметра жгута

Б.1 Общие положения

Б.1 1 Определение диаметра жгута следует проводить по номограммам (рисунки Б.1, Б.2) или по формуле (Б.1).

Б.1.2 Определение диаметра жгута с числом проводов до 130 рекомендуется проводить в соответствии с рисунком Б.1.

Б.2 Определение диаметра жгута по номограммам

Б.2.1 Номограмма выражает зависимость диаметра жгута от числа проводов и их диаметров.

Б.2.2 Диаметр жгута, состоящего из проводов различных диаметров, следует определять последовательным переходом с кривых большего диаметра проводов на кривые меньшего диаметра проводов.

Б.2.3 В качестве примера определения диаметра жгута по номограмме приняты следующие исходные данные: жгут состоит из 14 проводов диаметром d = 4 мм, из 12 проводов диаметром d = 3 мм, из 20 проводов диаметром d =1 мм.

Следует определить диаметр жгута.

На оси абсцисс следует найти точку А, соответствующую 14 проводам. Из точки А восстановить перпендикуляр до пересечения с кривой d = 4 мм (точка Б).

Через точку Б следует провести линию, параллельную оси абсцисс, до пересечения с кривой d = 3 мм (точка Б).

На продолжении линии БВ в масштабе оси абсцисс отложить отрезок ВГ, соответствующий п = 12 проводам.

Из точки Г провести линию, параллельную оси ординат, до пересечения с кривой d = 3 мм (точка Д).

Через точку Д следует провести линию, параллельную оси абсцисс, до пересечения с кривой d = 1 мм (точка Е).

На продолжении линии ДЕ в масштабе оси абсцисс отложить отрезок ЕЖ, соответствующий п = 20 проводам.

Из точки восстановить перпендикуляр до пересечения с кривой d = 2 мм (точка И).

Ордината точки И соответствует искомому диаметру жгута.

Искомый диаметр жгута равен 25 мм.

D - диаметр жгута; n - число проводов; d - диаметр проводов по изоляции

Рисунок Б.1 - Номограмма зависимости диаметра жгута от числа проводов и их диаметров

Б.3 Расчет диаметра жгута по формуле

Б.3.1 Диаметр жгута D в миллиметрах следует определять по формуле

,                                        (Б.1)

где п - число проводов, шт.;

Dср - среднее арифметическое значение диаметра провода, мм;

1,2 - 1,3 - коэффициент заполнения.


D - диаметр жгута; п - число проводов, d - диаметр проводов по изоляции

Рисунок Б.2 - Номограмма зависимости диаметра жгута от числа проводов и их диаметров


Таблица Б.1 - К рисунку Б.2

Диаметр провода по изоляции, мм

Марка провода и сечение жилы, мм2

Диаметр провода по изоляции, мм

Марка провода и сечение жилы, мм2

Диаметр провода по изоляции, мм

Марка провода и сечение жилы, мм2

 

0,7

МГШД 0,05

1,9

МШВ 0,5

МГШВЭ 0,14

МПО-33 - 12 0,35

МГШДОП 1,0

МГСЛ 0,5

2,8

МГТФЭ 3 × 0,1

МГШВ 1,5

0,75

МГТФ 0,07

0,8

МГШД 0,07

2,9

МПО-33 - 12 1,5

БПВЛЭ 0,35

МС 36-11 1,5

0,85

МГТФ 0,1

 

0,9

МГШД 0,1

МГТФ 0,14

2,0

МС-36 - 11 0,35

3,0

МПОЭ 38 - 12 0,75

БПВЛ 1,0

МГТФЭ 3 × 0,14

 

2,1

МГТФЭ 2 × 0,07

МГТЛЭ 0,35

МГСХ 0,75

МГШВЭ 0,2

МГШВ 0,5

МГФЭ 0,5

МПОЭ-33 - 12 0,2

1,0

МШВ 0,07

МГШД 0,2

МГШДОП 0,5

МГШДП 0,1

3,1

МПОЭ-33 - 12 1,0

БПВЛЭ 0,5

 

1,1

МГШДОП 0,07

3,3

БПВЛЭ 0,75

3,4

МПОЭ-33 - 12 1,5

БПВЛ 1,5

МС 36-11 2,5

1,2

МГШВ 0,12

МПО-33 - 12 0,1

МГШД 0,35

МГШДСП 0,1

2,2

МШВ 0,75

МПО-33 - 12 0,5

 

2,3

МГШВ 0,75

БПВЛ 0,35

МГТФЭ 2 × 1,0

МГШДОП 1,5

МГСД 1,0

1,3

МГШВ 0,14

МГТФЭ 0,07

МГТФП 0,35

МГШД 0,5

3,6

БПВЛЭ 1,0

БПВЛ 1,93

2,4

МШВ 1,0

МГШВЭ 0,35

МПОЭ-33 - 12 0,35

МС36-11 0,75

1,4

МГТФЭ 0,1

МГШДП 0,35

4

МС 36 - 11 2,5

 

4,2

БПВЛЭ 1,5

1,5

МГШВ 0,2

МГШДОП 0,35

МГШДП 0,5

2,5

МШВ 1,5

4,4

БПВЛЭ 1,93

 

БПВЛ 0,5

МПО-33 - 12 0,75

МГТФЭ 2 × 0,14

МГТФЭ 3 × 0,07

4,6

МС 36-11 6,0

 

1,6

МШВ 0,2

МГТФЭ 0,12

МПО-33 - 12 0,2

4,7

БПВЛ 4,0

БПВЛЭ 2,5

1,7

МГТЛЭ 0,14

2,6

МГШВ 1,0

1,8

МШВ 0,35

МГШВ 0,35

МС-36 - 11 0,2

МГШДОП 0,75

МГСЛ 0,35

МПО-33 - 12 1,0

МС-36 - 11 1,0

5,4

БПВЛ 6,0

МГСЛ 0,75

5,5

БПВЛЭ 4,0

2,7

МГШВЭ 0,5

6,2

БПВЛ 8,0

 

МПОЭ-33 - 12 0,5

БПВЛ 0,75

6,9

БПВЛ 10,0

 

МГТЛЭ 1,0

8,1

БПВЛЭ 10,0

 

Ключевые слова: монтаж, радиоэлектронная аппаратура, приборы, жгут, крепление, конструкция, раскладка, вязка, обмотка, свивание

СОДЕРЖАНИЕ

1 Область применения. 1

2 Нормативные ссылки. 2

3 Определения. 2

4 Общие требования. 2

5 Технические требования к конструкции жгута. 3

6 Технические требования к раскладке проводов в жгуте. 4

7 Технические требования к вязке жгутов. 5

8 Технические требования к обмотке жгута электроизоляционными материалами. 7

9 Технические требования к укладке и креплению жгута в аппаратуре. 10

10 Способы и виды крепления жгутов. 10

Приложение А Зависимость шага свивания от сечения проводов. 12

Приложение Б Определение диаметра жгута. 12

 

 




ГОСТЫ, СТРОИТЕЛЬНЫЕ и ТЕХНИЧЕСКИЕ НОРМАТИВЫ.
Некоммерческая онлайн система, содержащая все Российские Госты, национальные Стандарты и нормативы.
В Системе содержится более 150000 файлов нормативно-технической документации, действующей на территории РФ.
Система предназначена для широкого круга инженерно-технических специалистов.

Рейтинг@Mail.ru Яндекс цитирования

Copyright © www.gostrf.com, 2008 - 2026