Крупнейшая бесплатная информационно-справочная система онлайн доступа к полному собранию технических нормативно-правовых актов РФ. Огромная база технических нормативов (более 150 тысяч документов) и полное собрание национальных стандартов, аутентичное официальной базе Госстандарта. GOSTRF.com - это более 1 Терабайта бесплатной технической информации для всех пользователей интернета. Все электронные копии представленных здесь документов могут распространяться без каких-либо ограничений. Поощряется распространение информации с этого сайта на любых других ресурсах. Каждый человек имеет право на неограниченный доступ к этим документам! Каждый человек имеет право на знание требований, изложенных в данных нормативно-правовых актах!

  


 

СССР

ОТРАСЛЕВОЙ СТАНДАРТ

ВИНТЫ РЕГУЛИРОВОЧНЫЕ,
ГАЙКИ И ОПОРНЫЕ ПЛАСТИНЫ,
ДЛЯ МОНТАЖА ОБОРУДОВАНИЯ.
КОНСТРУКЦИЯ И РАЗМЕРЫ

ОСТ 26-1420-75

Москва

РАЗРАБОТАН Всесоюзным научно-исследовательским и конструкторским институтом химического машиностроения (НИИхиммаш)

Директор                                                                                   Румянцев И.И.

Начальник базового

научно-исследовательского

отдела стандартизации и

руководитель темы                                                                  Дюкин В.В.

Начальник сектора                                                                   Лязгунов А.П.

Исполнители:                                                                           Бутурлинская Т.О.

Осипова П.М.

ВНЕСЕН Техническим управлением Министерства

Начальник Технического

управления                                                                                Васильев A.M.

Начальник Всесоюзного

промышленного объединения                                                Григорьев П.Д.

ПОДГОТОВЛЕН К УТВЕРЖДЕНИЮ Центральным проектно-конструкторским и технологическим бюро научной организации производства, труда и управления

Главный инженер                                                                    Поливанов Б.В.

Заведующий отделом стандартизации                                  Кричевский М.Ю.

УТВЕРЖДЕН:

Заместитель Министра                                                            Руцкой А.Г.

ВВЕДЕН В ДЕЙСТВИЕ ПРИКАЗОМ: 11-3-47/305 от 2.04.76

УТВЕРЖДАЮ

Заместитель Министра

_________ Руцкой А.Г.

«30» 06. 1975 г.

ОТРАСЛЕВОЙ СТАНДАРТ

Винты регулировочные, гайки и опорные пластины
для монтажа оборудования.
Конструкция и размеры

ОСТ 26-1420-75

Введен: впервые

Письмом Министерства                                                          Срок введения установлен

от 2.04.1976 г.                                                                           с 01.07.76 г.

№ 11-3-47/305                                                                          по 01.07.86 г.

(Измененная редакция. Изм. № 1).

Несоблюдение стандарта преследуется по закону

1. Настоящий стандарт распространяется на регулировочные винты, гайки и опорные пластины, применяемые при бесподкладочном монтаже оборудования, изготовляемого отраслью химического машиностроения.

2. Регулировочные винты, гайки являются монтажным инструментом, а опорные пластины являются монтажным приспособлением.

3. Конструкция и размеры регулировочных винтов должны соответствовать указанным на чертеже 1 и табл. 1 или на черт. 1а и табл. 1а.

(Измененная редакция. Изм. № 2).

Черт. 1

(Измененная редакция. Изм. № 2).

Таблица 1

Размеры в мм

Номинальный диаметр резьбы d

Шаг резьбы

Длина винта l

Длина резьбы lo

Высота головки Н

Размер под ключ S

Диаметр описанной окружности D, не менее

Радиус сферы R

Радиус под головкой ¡

Пред. смещение оси головки относительно оси стержня

Допускаемая нагрузка на винт при отклонении от перпендикулярности оси винта к поверхности опорной пластины не более 5°

Масса винта, кг

 

Номин.

Пред. откл.

Номин.

Пред. откл.

не менее

не более

кгс

(кН)

 

12

1,75

120

116

7

±0,29

17

-0,43

18,7

12

0,6

1,6

0,45

170

1,7

0,118

 

16

2,0

140

135

9

22

-0,52

24,3

16

1,6

0,6

400

4,0

0,246

 

20

2,5

150

144

11

±0,35

27

29,9

20

0,8

2,2

770

7,7

0,416

 

24

3,0

160

154

13

32

-1,0

35,0

25

2,2

0,7

1250

12,5

0,645

 

30

3,5

180

172

17

41

45,2

32

1,0

2,7

2450

24,5

1,17

 

36

4,0

200

192

20

±0,42

50

55,4

32

3,2

3900

39,0

1,9

 

42

4,5

200

190

23

60

-1,2

66,4

40

1,2

3,3

0,8

5800

58,0

2,68

 

48

5,0

240

230

26

70

77,7

50

1,6

4,3

8200

82,0

4,18

 

Пример условного обозначения винта диаметром резьбы d = 16 мм, длиной l = 140 мм:

Винт М 16´140 ОСТ 26-1420-75

Черт. 1а

Таблица 1а

Размеры в мм

Номинальный диаметр резьбы d

Шаг резьбы

Длина винта l

Длина резьбы lo

Длина шлица Н

Размер под ключ S

Радиус сферы R

Диаметр стержня заготовки

Допускаемая нагрузка на винт при отклонении от перпендикулярности оси винта к поверхности опорной пластины не более 5°

Масса винта, кг

 

Номин.

Пред. откл.

Номин.

Пред. откл.

кгс

(кН)

 

12

1,75

120

116

7

±0,29

9

-0,2

12

12

170

1,7

0,106

 

16

2,0

140

135

9

13

-0,24

16

16

400

4,0

0,221

 

20

2,5

150

144

11

±0,35

15

20

20

770

7,7

0,70

 

24

3,0

160

154

13

19

-0,28

25

24

1250

12,5

0,568

 

30

3,5

180

172

17

24

-0,34

32

30

2450

24,5

,000

 

36

4,0

200

192

20

±0,42

30

32

36

3900

39,0

1,600

 

42

4,5

200

190

23

36

-0,4

40

42

5800

58,0

2,174

 

48

5,0

240

230

26

41

50

48

8200

82,0

3,410

 

Пример условного обозначения винта диаметром резьбы d = 16 мм, длиной l = 140 мм с квадратной головкой:

Винт М 16´140-1 ОСТ 26-1420-75

4. Конструкция и размеры опорной пластины должны соответствовать указанным на чертеже 2 и в табл. 2

Черт. 2

(Измененная редакция. Изм. № 2).

Таблица 2

Допускаемая нагрузка на винт

Размеры пластин, мм не менее

кгс

кН

а

S

 

1,7

40

6

400

4,0

55

8

770

7,7

70

10

1250

12,5

80

10

2450

24,5

105

12

3900

39,0

125

16

5800

58,0

145

18

8250

82,5

165

20

Пример условного обозначения пластины опорной с размером а = 70 мм и толщиной S = 10 мм:

Пластина опорная 70´70´10 ОСТ 26-1420-75

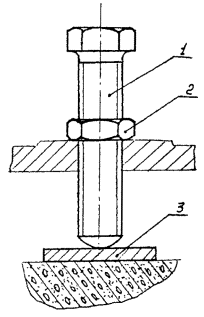
5. Комплект деталей в сборе дан на черт. 3.

1 - винт регулировочный; 2 - гайка по ГОСТ 15521-70; 3 - пластина опорная

Черт. 3

6. Материал: регулировочных винтов - сталь марки 45 по ГОСТ 1050-74;

гаек - сталь марки 25 по ГОСТ 1050-74;

опорных пластин - СтО по ГОСТ 380-71.

Допускается изготовлять винты из стали 35 по ГОСТ 1050-74.

7. Класс прочности винтов не ниже 6.6 по ГОСТ 1759-70

8. Резьба по ГОСТ 24705-81.

(Измененная редакция. Изм. № 1, 2).

9. Поля допусков резьб: регулировочных винтов - 8д

гаек - 7Н по ГОСТ 16093-81.

(Измененная редакция. Изм. № 2).

10. Вид покрытия регулировочных винтов и гаек кадмиевый электролитический с хроматированием. Толщина покрытия 9 мкм.

11. Партия винтов должна испытываться на твердость, растяжение образцов, ударную вязкость и на разрыв; партия гаек - на твердость в соответствии с требованиями ГОСТ 1759-70.

12. Остальные технические требования на регулировочные винты и гайки по ГОСТ 1759-70.

13. Правила приемки винтов и гаек по ГОСТ 17769-83, правила упаковки винтов и гаек, маркировка тары по ГОСТ 18160-72.

(Измененная редакция. Изм. № 2).

14. Маркировка винта - числовое значение диаметра резьбы.

15. Для увеличения срока службы винтов рекомендуется нижнюю выступающую часть винта перед заливкой бетоном, обернуть парафинированной бумагой, рубероидом или другими материалами для предохранения резьбы от попадания бетона.

Начальник Технического

управления                                                                      А.М. Васильев

Начальник Всесоюзного

промышленного объединения                                       П.Д. Григорьев

Заведующий головным отделом

стандартизации ЦПКТБ НОТ                                        М.Ю. Кричевский

Директор НИИхиммаша                                                И.И. Румянцев

3aм. директора НИИхиммаша                                       И.В. Ильгисонис

Начальник БНИОС и

руководитель темы                                                         В.В. Дюкин

Начальник сектора                                                         А.П. Лязгунов

Исполнители:                                                                  Т.С. Бутурлинская

П.М. Осипова

 




ГОСТЫ, СТРОИТЕЛЬНЫЕ и ТЕХНИЧЕСКИЕ НОРМАТИВЫ.
Некоммерческая онлайн система, содержащая все Российские Госты, национальные Стандарты и нормативы.
В Системе содержится более 150000 файлов нормативно-технической документации, действующей на территории РФ.
Система предназначена для широкого круга инженерно-технических специалистов.

Рейтинг@Mail.ru Яндекс цитирования

Copyright © www.gostrf.com, 2008 - 2026