Крупнейшая бесплатная информационно-справочная система онлайн доступа к полному собранию технических нормативно-правовых актов РФ. Огромная база технических нормативов (более 150 тысяч документов) и полное собрание национальных стандартов, аутентичное официальной базе Госстандарта. GOSTRF.com - это более 1 Терабайта бесплатной технической информации для всех пользователей интернета. Все электронные копии представленных здесь документов могут распространяться без каких-либо ограничений. Поощряется распространение информации с этого сайта на любых других ресурсах. Каждый человек имеет право на неограниченный доступ к этим документам! Каждый человек имеет право на знание требований, изложенных в данных нормативно-правовых актах!

  


 

АКЦИОНЕРНОЕ ОБЩЕСТВО
ВСЕРОССИЙСКИЙ НАУЧНО
-ИССЛЕДОВАТЕЛЬСКИЙ
ПРОЕКТНО
-КОНСТРУКТОРСКИЙ ИНСТИТУТ
ТЯЖПРОМЭЛЕКТРОПРОЕКТ

ПРОЕКТИРОВАНИЕ ОСВЕТИТЕЛЬНЫХ ЭЛЕКТРОУСТАНОВОК
ПРОМЫШЛЕННЫХ ПРЕДПРИЯТИЙ

ВНУТРЕННЕЕ ОСВЕЩЕНИЕ

Нормы технологического проектирования

Редакция 1996 года

Согласовано:

Начальник технического отдела

А.А. Шалыгин

Технический директор института

А.Г. Смирнов

Отдел осветительных установок

Начальник отдела

З.К. Горбачева

Ответственный исполнитель

к.т.н. С.А. Клюев

Москва, 1996

ВВЕДЕНИЕ

Утвержденная в 1977 г. и введенная в действие с 1 января 1978 г. «Инструкция по проектированию силового и осветительного электрооборудования промышленных предприятий» СН 357-77 в значительной мере устарела, но еще не исключена из числа действующих нормативных документов по строительству.

В 1994 г. взамен раздела 1 «Общие указания» и раздела 3 «Осветительное электрооборудование» Инструкции СН 357-77 ВНИПИ Тяжпромэлектропроект была выполнена 1-я редакция работы «Проектирование осветительного электрооборудования промышленных предприятий. Внутреннее освещение. Нормы технологического проектирования», в которой был учтен ряд изменившихся требований Правил устройства электроустановок (ПУЭ) 6-го издания 1966 г. [1] и требования действующих норм естественного и искусственного освещения СНиП II-4-79 [2].

В 1996 г. Министерством строительства РФ введены в действие новые нормы СНиП 23-05-96 «Естественное и искусственное освещение» [3] (взамен СНиП II-4-79), что потребовало внесения изменений в указанную работу ВНИПИ Тяжпромэлектропроект 1994 года.

В данной работе, носящей то же название, что и работа 1994 г., но с добавлением «Редакция 1996 г.», учтены требования новых норм СНиП 23-05-95, изменения, внесенные в действующие ПУЭ 6-го издания на 1 января 1996 г., некоторые прогрессивные требования к освещению из раздела 6 «Электрическое освещение» [4] и главы 7.1 «Электроустановки жилых и общественных зданий» [5] проекта ПУЭ 7-го издания, а также учтен многолетний опыт проектирования внутреннего освещения промышленных предприятий.

Данная работа не является утвержденным нормативным документом по строительству, но ее указаниями и рекомендациями можно руководствоваться при проектировании внутреннего освещения промышленных предприятий, административно-бытовых, конторских, лабораторных и проектно-конструкторских помещений промышленных предприятий.

С выходом данной работы работу 1994 г. следует считать не действительной.

1. ОБЩИЕ УКАЗАНИЯ

1.1. Требования настоящих норм должны выполняться при проектировании электрического освещения вновь строящихся и реконструируемых производственных и вспомогательных зданий промышленных и сельскохозяйственных предприятий.

Требования настоящих норм должны выполняться также при проектировании электрического освещения административно-бытовых, конторских, лабораторных, проектно-конструкторских и вспомогательных помещений промышленных предприятий.

Требования норм не распространяются на проектирование электрического освещения подземных объектов (шахт, рудников, транспортных туннелей), транспортных средств, строительных площадок, общественных и жилых зданий, а также территорий всех назначений, дорог, проездов, площадей, улиц.

На освещение помещений и наружных установок со взрывоопасными зонами настоящие нормы распространяются в той мере, в какой они не изменяются, дополняются или уточняются требованиями, содержащимися в работах ВНИПИ Тяжпромэлектропроект «Рекомендации по проектированию освещения помещений со взрывоопасными зонами» (шифр работы М4169 [6], 1994 г.) и «Рекомендации по освещению наружных установок во взрывоопасных зонах» (шифр работы М4166, [7], 1994 г.).

1.2. При проектировании электрического освещения кроме требований настоящих норм должны выполняться требования СНиП 23-05-95 по проектированию естественного и искусственного освещения [3], других нормативных документов, утвержденных или согласованных Министерством строительства РФ и Правил устройства электроустановок (ПУЭ) [1].

1.3. В случаях, предусмотренных Методическими указаниями по профилактическому ультрафиолетовому облучению людей, утвержденными Минздравом СССР в 1990 г. [8], должны предусматриваться облучательные установки длительного действия [9] или должно быть обеспечено питание облучательных установок кратковременного действия (фотариев) [10].

1.4. Объем и содержание проектных материалов по электрическому освещению должны соответствовать указанным СНиП 1.02.01-85 [11] и ГОСТ 21.608-84 [12].

1.5. Выбор экономически целесообразного варианта электрического освещения следует производить по минимуму приведенных затрат, руководствуясь Методикой (основными положениями) определения экономической эффективности использования в народном хозяйстве новой техники, изобретений и рационализаторских предложений [13].

1.6. При проектировании электрического освещения надлежит предусматривать прогрессивные технические решения и новое электрооборудование, освоенное или осваиваемое производством.

Электрооборудование, не освоенное производством, допускается предусматривать только по согласованию с Заказчиком проекта и потенциальным изготовителем оборудования.

1.7. В проекте должны предусматриваться мероприятия по обеспечению возможности выполнения монтажа освещения индустриальными методами и своевременного проведения заготовительных работ в мастерских электромонтажных заготовок.

1.8. Применяемые в осветительных электроустановках электрооборудование и материалы должны удовлетворять требованиям ГОСТов или технических условий на это оборудование и материалы, утвержденных в установленном порядке.

1.9. Конструкции, вид исполнения, способ установки и класс изоляции электрооборудования и материалов должны быть выбраны в соответствии с номинальным напряжением сети и условиями окружающей среды.

1.10. Проект электрического освещения должен быть увязан с проектами силового электрооборудования, электроснабжения, а также с проектами технологического, санитарно-технического и других видов оборудования и коммуникаций.

1.11. Элементы осветительных установок - трансформаторы, источники света, светильники, электрические аппараты, провода, кабели и т.п. должны выбираться такой мощности или для такой длительной допустимой нагрузки, такого сечения, которые необходимы, чтобы предотвращать чрезмерный их нагрев в условиях нормальной эксплуатации. В послеаварийных режимах допускаются перегрузки, приводящие лишь к ускорению старения изоляции; но не угрожающие ее разрушению или расстройством работы установки.

1.12. При проектировании электрического освещения должны быть обеспечены нормы освещенности и показатели качества освещения, бесперебойность действия освещения, удобство обслуживания осветительной установки и управления ею, а в необходимых случаях - соответствие освещения требованиям технической эстетики.

1.13. Вопросы выбора освещенности, требований к качеству освещения, систем освещения, источников света, светильников и их размещения для помещений с видеотерминалами в настоящих нормах не рассматриваются. Эти вопросы должны решаться в соответствии со специальными указаниями и рекомендациями, посвященными освещению таких помещений.

2. СВЕТОТЕХНИЧЕСКАЯ ЧАСТЬ ПРОЕКТА.

ОСВЕЩЕННОСТЬ И КАЧЕСТВО ОСВЕЩЕНИЯ

2.1. Нормы освещенности в помещениях и на рабочих местах и нормы качества освещения (равномерность освещения, ограничение ослепленности и пульсаций освещенности при использовании для освещения разрядных ламп) должны выбираться по главе СНиП 23-05-95 [3], по проектированию естественного и искусственного освещения, а при наличии отраслевых норм искусственного освещения для данной отрасли промышленности или вида производства, утвержденных в установленном порядке, на основании этих норм.

2.2. При проектировании электрического освещения должны учитываться условия естественного освещения в помещениях. В случаях, предусмотренных нормами СНиП 23-05-95 [3] при отсутствии в помещениях естественного освещения должно предусматриваться повышение освещенности, а в помещениях с недостаточным по нормам естественным освещении предусматриваться совмещенное освещение, при котором недостаток естественного света дополняется искусственным.

2.3. При использовании для одного помещения разрядных ламп и ламп накаливания освещенность должна приниматься по нормам для разрядных ламп.

2.4. При системе комбинированного совещания уровень освещенности от общего освещения должен соответствовать уровню, предусмотренному главой СНиП 23-05-95 [3], а также быть достаточным для работ, выполняемых вне зоны, освещаемой светильниками местного освещения.

2.5. Нормы главы СНиП 23-03-95 [3] в отношении доли общего освещения в системе комбинированного освещения, не распространяются на установки, в которых помимо общего освещения в помещениях устраивается дополнительное местное освещение единичных рабочих мест (например, рабочих столов, верстаков) или переносное освещение.

2.6. При использовании для общего и местного освещения различных источников света (разрядных ламп и ламп накаливания) освещенность от общего освещения выбирается по нормам для источников света местного освещения.

2.7. При наличии в помещениях проектируемого объекта рабочих поверхностей, обладающих блеском или зеркально отражающих свет, рекомендуется предусматривать ограничение отраженной блескости в соответствии с рекомендациями, содержащимися в приложении 7 к ранее действующим нормам СНиП II-4-79 [2].

2.8. При необходимости обеспечения цветопередачи рабочих поверхностей, приближенной к условиям естественного освещения, должны применяться источники света в соответствии с рекомендациями приложения «Е» к СНиП 23-03-95 [3].

2.9. На рабочие поверхности не должны по возможности падать тени от корпуса работающего или от производственного оборудования, особенно многократные или не перекрываемые светом других источников. Ослабление теней должно достигаться соответствующим расположением светильников или увеличением доли отраженной составляющей освещенности.

2.10. При проектировании общего освещения (независимо от системы освещения) должна обеспечиваться равномерность распределения освещенности в соответствии с указаниями п. 7.9 СНиП 23.03.95 [3].

2.11. В помещениях, имеющих хороший отражающий свет, ограждающие поверхности (перекрытия, стены) рекомендуется по возможности применение светильников, обеспечивающих достаточную яркость этих поверхностей.

2.12. В случаях, когда по характеру производимых в помещении работ к качеству освещения предъявляются особо высокие или специальные требования и если отсутствуют ранее разработанные способы освещения этих помещений или рабочих мест, рекомендуется проверять предварительно намечаемые решения на опытных установках.

ВИДЫ ОСВЕЩЕНИЯ

2.13. Устройство рабочего освещения обязательно для всех помещений независимо от устройства в них других видов освещения.

2.14. Аварийное освещение разделяется на освещение безопасности и эвакуационное.

2.15. Освещение безопасности предназначается для продолжения работы при аварийном отключении рабочего освещения. Его следует предусматривать в случаях, когда отсутствие освещения и связанное с этим нарушение обслуживания механизмов и оборудования может вызвать взрыв, пожар, отравление людей, длительное расстройство технологического процесса.

Освещение безопасности необходимо также для вспомогательных объектов, обслуживающих производственные помещения, указанные выше, в которых недопустимо отсутствие освещения, если без нормального функционирования этих объектов нарушается работа в производственных помещениях, что может привести к указанным тяжелым последствиям. К числу таких вспомогательных объектов могут относиться помещения узлов связи, диспетчерских, насосных, установок электроснабжения, водоснабжения, теплофикации, вентиляции, кондиционирования воздуха и т.п.

2.16. Эвакуационное освещение предназначается для безопасной эвакуации людей из помещений и возможности ориентировки людей в помещениях при аварийном отключении рабочего освещения. Эвакуационное освещение следует предусматривать в местах, опасных для прохода людей, в проходных помещениях и на лестницах, служащих для эвакуации людей при числе эвакуируемых более 50 чел.; по основным проходам производственных помещений, в которых работает более 50 чел.; в производственных помещениях с постоянно работающими в них людьми, независимо от их числа, где выход людей из помещения при аварийном отключении рабочего освещения связан с опасностью травматизма из-за продолжения работы производственного оборудования; в производственных помещениях без естественного света.

2.17. Освещение безопасности должно создавать на рабочих поверхностях, требующих обслуживания наименьшую освещенность в размере 5 % освещенности, нормируемой для рабочего освещения от общего освещения, но не менее 2 лк. При этом создавать освещенность более 30 лк при разрядных лампах и более 10 лк при лампах накаливания допускается только при наличии соответствующих обоснований.

2.18. Эвакуационное освещение должно обеспечивать наименьшую освещенность на полу основных проходов и на ступенях лестниц 0,5 лк.

Неравномерность эвакуационного освещения (отношение максимальной освещенности к минимальной должно быть не более 40:1.

Светильники освещения безопасности могут использоваться для эвакуационного освещения.

2.19. Во вспомогательных зданиях промышленных предприятий выходы из помещений, где могут находиться одновременно более 100 чел., а также выходы из производственных помещений без естественного света, где могут находиться одновременно более 50 чел. или имеющих площадь более 150 м2, должны быть отмечены указателями.

Дополнительно должны быть отмечены указателями выходы из коридоров и реколаций, примыкающие к перечисленным выше. При этом указатели должны устанавливаться на расстоянии не более 25 м друг от друга, а также в местах поворота коридора.

Указатели выходов могут быть световыми со встроенными в них источниками света, присоединенными к сети эвакуационного освещения или освещения безопасности и не световыми (без источников света) при условии, что обозначение выхода (надпись, знак и т.п.) освещается светильниками эвакуационного освещения или освещения безопасности.

2.20. При технической целесообразности вместо устройства стационарного освещения безопасности и эвакуационного освещения допускается применение ручных светильников с автономными источниками питания (с аккумуляторными батареями или сухими элементами).

2.21. В случаях, когда общее рабочее освещение разделяется по питанию на две примерно равные части с чередованием питания светильников или их рядов от разных сетей и удовлетворением требований к освещению безопасности в отношении типа источников света (см. п. 2.46 настоящих норм), освещенности (п. 2.17 настоящих норм) и источников питания (п. 3.20 настоящих норм), одна из этих частей может рассматриваться как освещение безопасности. При этом часть светильников, обеспечивающих освещенность, требуемую для эвакуационного освещения рекомендуется выделять на питание отдельной сетью для создания минимальной освещенности в нерабочее время (дежурное освещение см. п.п. 2.27, 3.69 настоящих норм).

2.22. Светильники освещения безопасности и эвакуационного освещения рекомендуется по возможности выделять из числа светильников рабочего освещения. Самостоятельные дополнительные светильники освещения безопасности и эвакуационного освещения следует предусматривать в случаях:

а) когда источники света, принятые для рабочего освещения, запрещены к применению для освещения безопасности и эвакуационного освещения (п. 2.45 настоящих норм);

б) когда освещение безопасности и эвакуационное освещение питаются от источника ограниченной мощности;

в) когда светильники освещения безопасности и эвакуационного освещения нормально не горят и включаются автоматически при аварийном отключении рабочего освещения;

г) когда для освещения безопасности и эвакуационного освещения применяются светильники с автономными источниками питания;

д) когда напряжение ламп рабочего освещения и освещения безопасности и эвакуационного освещения различны.

2.23. В помещениях, силовые электроустановки которых питаются по II категории надежности электроснабжения (по ПУЭ [1] ), а также в помещениях с круглосуточной работой, в которых светильники эвакуационного освещения выделены из числа светильников рабочего освещения, рекомендуется повышать освещенность, создаваемую эвакуационным освещением до значений, установленных для освещения безопасности. В частности, в крупных помещениях с круглосуточной работой в целях сокращения протяженности групповой сети рекомендуется, если это возможно по условиям питания, выделение для освещения безопасности и эвакуационного освещения целых рядов светильников общего освещения.

2.24. Освещение безопасности может выполняться в виде местного или локализованного освещения поверхностей, требующих обслуживания при аварийном режиме, с устройством в этом случае в проходах эвакуационного освещения.

2.25. Светильники освещения безопасности и эвакуационного освещения рекомендуется по возможности устанавливать в удалении от оконных проемов.

СИСТЕМЫ ОСВЕЩЕНИЯ

2.26. В помещениях могут применяться системы освещения:

а) общего освещения, равномерного или локализованного (т.е. осуществляемого распределением светового потока с учетом расположения освещаемых поверхностей);

б) комбинированного освещения, состоящего из общего освещения помещений и местного освещения отдельных рабочих мест.

Применение в помещениях одного местного освещения не допускается.

Из светильников общего освещения (рабочего, освещения безопасности и эвакуационного могут при необходимости выделяться светильники дежурного освещения см. п. 3.69 настоящих норм).

Дополнительно к любой системе освещения в случаях, предусмотренных п. 2.33, должно предусматриваться переносное освещение.

2.27. Систему комбинированного освещения следует, как правило, применять для производственных помещений:

при выполнении зрительных работ разрядов I, II, III, IV, Vа и Vб норм СНиП 23-05-95 [3];

при выполнении зрительных работ любых разрядов, если характер этих работ предъявляет требования к качеству освещения, невыполняемые при общем освещении (например, строго определенное или переменное направление света, специальный спектральный состав света и т.п.).

В остальных случаях следует применять систему общего освещения.

2.28. В помещениях, где производятся зрительные работы разрядов II, III, IV, Vа и Vб по СНиП 23-05-95 [3] допускается устройство системы общего освещения при наличии технических, экономических и гигиенических обоснований, а также при условии, что при общем освещении могут быть полностью соблюдены требования к качеству освещения (например, случаи технической невозможности устройства местного освещения в помещениях с очень большой плотностью расположения рабочих мест, с возможностью выполнения работ по всей площади помещения и т.п.).

Для зрительных работ разряда 1 устройство системы общего освещения допускается как исключение только при технической невозможности устройства местного освещения.

2.29. В производственных помещениях, в которых предусматривается местное освещение единичных, изолированно расположенных рабочих мест (например, рабочих столов, верстаков, отдельных щитов и пультов, измерительных приборов и т.п.), в административно-конторских помещениях при устройстве местного освещения столов, а также в помещениях, в которых предусматривается переносное освещение для ремонтных, наладочных и других работ, освещенность от общего освещения должна приниматься в соответствии с характером основных работ, выполняемых в данном помещении. При этом суммарная освещенность рабочих поверхностей, имеющих местное освещение, должна соответствовать нормируемой для комбинированного освещения.

Последнее требование не распространяется на административно-конторские помещения.

2.30. При устройстве в производственных и складских помещениях со стандартным оборудованием общего освещения (в том числе в системе комбинированного освещения) последнее следует выполнять локализованным во всех случаях, когда это дает удешевление установки, уменьшение установленной мощности пли повышение качества освещения, в частности:

а) при необходимости по характеру работы или планировки помещения и здания на различных участках разной освещенности, в том числе при наличии в помещении площадей, специально выделенных для проходов или складирования;

б) при наличии в помещениях крупногабаритного оборудования, создающего затенения рабочих поверхностей или препятствующего равномерному расположению светильников;

в) при наличии в помещении крупных рабочих поверхностей или сосредоточенных групп таких поверхностей с повышенными требованиями к освещению по сравнению с остальной частью помещения или с определенными требованиями к направлению света и к освещению наклонных или вертикальных поверхностей;

г) в складских помещениях со стеллажным хранением материалов.

2.31. В административно-бытовых, конторских, лабораторных, проектно-конструкторских и вспомогательных помещениях, как правило, должно устраиваться общее равномерное освещение, но при известном и постоянном расположении рабочих мест рекомендуется такое расположение рядов люминесцентных светильников, при котором обеспечивается наиболее благоприятное направление света в отношении ограничения отраженной блескости и падающих теней.

2.32. В случаях, когда устройства местного освещения поставляются комплектно с технологическим оборудованием, это должно указываться в проектах освещения и предусматриваться питание этих устройств электроэнергией. В остальных случаях светотехнические, конструктивные и сетевые вопросы устройства местного освещения должны полностью решаться в проекте освещения.

2.33. Штепсельные розетки для присоединения переносных светильников следует предусматривать:

а) в помещениях, имеющих технологическое или санитарно-техническое оборудование, для ремонта или осмотра которого недостаточно общего освещения, а также производственные емкости (бункера, баки, отстойники и т.п.), требующие их осмотра и чистки;

б) в цехах, где необходимо временное увеличение освещенности отдельных поверхностей при выполнении сборочных формовочных и т.п. работ;

в) на ремонтных площадках, в том числе для ремонта кранового оборудования;

г) в галереях и туннелях транспортеров, трубопроводов, шинопроводов и т.п.;

д) в электропомещениях;

е) в административно-конторских, проектно-конструкторских, лабораторных и других аналогичных помещениях.

В помещениях, указанных в подпунктах «а»-«д» расположение штепсельных розеток должно обеспечивать возможность пользования переносными светильниками при длине кабеля, как правило, не более 10-15 м, а в помещениях, указанных в подпункте «а» - возможность пользования настольными светильниками, персональными компьютерами и другими электроприборами оргтехники на любом столе, расположенном у стен или в любом другом месте помещения при длине кабеля не более 2 м.

При длине галереи и туннеля на более 30 м допускается установка штепсельных розеток только по концам галереи или туннеля.

В цехах с оборудованием, местное освещение которого питается от электрической сети, подведенной к этому оборудованию, следует предусматривать штепсельные розетки переносного освещения, не связанные с питанием местного освещения отдельных рабочих мест.

В местах, где ожидается одновременное использование нескольких переносных светильников, рекомендуется устанавливать блоки из нескольким штепсельных розеток.

2.34. Штепсельные розетки должны устанавливаться:

а) в производственных помещениях, как правило, не выше 0,8-1 м;

б) в помещениях административно-конторских, бытовых, проектно-конструкторских, лабораториях и других аналогичных - на высоте, удобной для присоединения к штепсельным розеткам электрических приборов, в зависимости от назначения помещений и оформления интерьеров, но не выше 1 м;

в) в помещениях любого назначения штепсельные розетки могут устанавливаться в специально предназначенных для этого плинтусах, выполненных из несгораемых материалов, а также в полах или над поверхностью пола помещений в специально предназначенных для этого устройствах.

2.35. При выборе числа и расположения штепсельных розеток должна учитываться возможность питания от них ручного электрифицированного инструмента, персональных компьютеров, электроприборов оргтехники, пылесосов, мелких нагревательных приборов при силе тока каждого электроприемника не более 6 А.

ВЫБОР ИСТОЧНИКОВ СВЕТА

2.36. Выбор источников света должен производиться с учетом их световой отдачи, срока службы, спектральных и электрических характеристик.

2.37. В качестве источников света для внутреннего освещения могут применяться:

а) разрядные лампы низкого давления - люминесцентные (ЛЛ) разной цветности;

б) разрядные лампы высокого давления (РЛВД) - дуговые ртутные (типа ДРЛ), дуговые металлогалогенные типов ДРИ и ДРИЗ (зеркальные), натриевые лампы высокого давления (НЛВД) типа ДНаТ;

в) лампы накаливания (ЛН), в том числе галогенные (ГЛН).

2.38. При технической необходимости или по эстетическим соображениям допускается применение в пределах одного помещения источников света разных типов. Для того, чтобы при этом было исключено образование на рабочих поверхностях разноцветных теней, следует обеспечивать созданием каким-либо одним источником света не менее 80 % всей освещенности рабочих мест (например, в светильниках местного освещения) или добиваться однородного спектрального состава света, падающего на рабочие места путем сближения светильников с разными источниками света, использованием отражения света от поверхностей помещения и т.п.

2.39. В целях уменьшения первоначальной стоимости установки и трудозатрат по ее обслуживанию следует по возможности осуществлять укрупнение источников света, т.е. применять лампы возможно большей единичной мощности, в той мере, в какой это может быть осуществлено без ухудшения качества освещения и снижения экономических и эксплуатационных показателей установки.

2.40. Для общего освещения помещений должны преимущественно применяться разрядные лампы. Использование их, как правило, обязательно:

а) для системы общего освещения помещений, в которых выполняются зрительные работы разрядов I-V и VII по главе СНиП 23-05-95 [3];

б) для общего освещения в системе комбинированного;

в) при повышенных требованиях к цветопередаче;

г) в помещениях, предназначенных для работы или занятий подростков или слабовидящих;

д) в административно-бытовых, конторских, лабораторных, проектно-конструкторских помещениях;

е) в помещениях без естественного освещения или с недостаточным по нормам естественным освещением, предназначенных для постоянного пребывания людей.

При этом в случаях, указанных в подпунктах «в» и «д», должны применяться исключительно, а в случаях, указанных в подпункте «г», преимущественно люминесцентные лампы. В остальных случаях выбор типа разрядных ламп должен производиться в соответствии с п. 2.46 настоящих норм.

Замена во всех указанных случаях разрядных ламп лампами накаливания допускается, в виде исключения, при технической невозможности использования разрядных ламп, например, при отсутствии пригодных для данных условий светильников, при требовании полного отсутствия радиопомех, в случаях, указанных в п. 2.44 настоящих норм.

2.41. В случаях, не отмеченных в п. 2.40 настоящих норм, применение для общего освещения разрядных ламп рекомендуется при наличии для этого технических или экономических обоснований, например, при необходимости уменьшить трудоемкость обслуживания освещения при большой высоте и трудном доступе к светильникам, в случае применения гидроудаления пыли и отсутствия светильников для ламп накаливания в струезащищенном исполнении (степень защиты 1Р55 или 5/5 по [15]) и т.п.

2.42. Лампы накаливания для общего освещения допускается применять при технической или экономической нецелесообразности использования разрядных ламп, в частности:

а) в помещениях, в которых производятся работы, относящиеся к разрядам VI и VIII по главе СНиП 23-05-95 [3];

б) для освещения технологических площадок, мостиков, переходов, площадок обслуживания крупного оборудования и т.п.;

в) для освещения помещений с тяжелыми условиями среды, в которых производятся работы любой точности, если отсутствуют светильники с другими источниками света, отвечающие заданной среде;

г) для освещения вспомогательно-бытовых помещений.

2.43. Для местного освещения следует применять лампы накаливания или люминесцентные лампы.

Люминесцентные лампы обязательны при повышенных требованиях к цветопередаче и рекомендуются при большой протяженности рабочих мест и при работах с блестящими поверхностями.

Лампы накаливания рекомендуются при необходимости осуществления определенного или переменного направления света, а также при конструктивной невозможности установки светильников с люминесцентными лампами.

2.44. Применение разрядных ламп всех типов не допускается в установках, питаемых или переключаемых на питание от сети постоянного тока, а также при возможности снижения напряжения до уровня менее 90 % нормального. Применение люминесцентных ламп не допускается, кроме того, в помещениях, где температура воздуха может длительно составлять менее +5 °С.

2.45. Для освещения безопасности и эвакуационного освещения могут использоваться лампы накаливания и люминесцентные лампы.

Лампы накаливания должны применяться в случаях, когда общее рабочее освещение помещения выполняется разрядными лампами высокого давления (типов ДРЛ, ДРИ, ДРИЗ, ДНаТ).

Люминесцентные лампы могут применяться с ограничениями, указанными в п. 2.44 настоящих норм.

2.46. При выборе между различными типами разрядных ламп в случаях, когда согласно п. 2.40 настоящих норм, применение люминесцентных ламп не является обязательным, последним следует отдавать предпочтение при повышенных требованиях к качеству освещения, при ограниченной высоте помещений, и при освещении системой общего освещения помещений, в которых выполняются зрительные работы разрядов I-III по главе СНиП 23-5-95 [3].

В остальных случаях рекомендуется применение разрядных ламп высокого давления (типов ДРЛ, ДРИ, ДРИЗ, ДНаТ).

2.47. Выбор источников света в зависимости от цветовых характеристик их излучения следует производить с учетом рекомендаций приложения «Е» к главе СНиП 23-5-95 [3].

В установках c люминесцентными лампами, в которых не предъявляется повышенных требований к качеству цветопередачи, должны применяться преимущественно люминесцентные лампы белого света типа ЛБ, как обладающее наибольшей световой отдачей.

РАЗМЕЩЕНИЕ СВЕТИЛЬНИКОВ

2.48. Светильники должны быть расположены и установлены таким образом, чтобы обеспечивались:

а) безопасный и удобный доступ к светильникам для обслуживания;

б) создание нормируемой освещенности наиболее экономичным путем:

в) соблюдение требований к качеству освещения (равномерность освещения, направление света, ограничение вредных факторов: теней, пульсаций освещенности, прямой и отраженной блескости);

г) наименьшая протяженность и удобство монтажа групповой сети;

д) надежность крепления светильников.

2.49. При общем равномерном освещении, а по возможности также и при локализованном освещении, светильники с разрядными лампами высокого давления (типов ДРЛ, ДРИ, ДРИЗ, ДНаТ) и с лампами накаливания рекомендуется располагать по вершинам квадратных, прямоугольных (с отношением большей стороны прямоугольника к меньшей на более 1,5) или ромбических (с острым углом при вершине ромба, близким к 60°) полей.

2.50. При установке светильников на фермах следует по возможности сокращать число продольных рядов светильников, допуская в этом случае уменьшенное против оптимального расстояния между светильниками в ряду.

2.51. Светильники с люминесцентными лампами при общем как равномерном, так по возможности и при локализованном освещении, следует преимущественно размещать рядами, параллельными стенам с окнами или рядами колонн или пилястр. Иное расположение допускается:

а) в узких помещениях с окнами на торцевых стенах:

б) в случаях, когда это диктуется размещением производственного оборудования;

в) при работах с блестящими поверхностями, когда следует по возможности размещать ряды светильников параллельно основному направлению осей зрения и располагать их между рядами рабочих мест.

Ряды светильников следует выполнять непрерывными или с разрывами (в свету), не превышающими примерно 0,5 расчетной высоты.

Многоламповые светильники с люминесцентными лампами допускается также размещать в соответствии с указаниями п. 2.49 настоящих норм.

2.52. При общем равномерном освещении соотношение расстояний между соседними светильниками или рядами светильников к высоте их установки над освещаемой поверхностью рекомендуется выбирать в нижеследующих пределах в зависимости от типа кривой силы света светильников по ГОСТ 17677-82 [14]:

Кривая К                                      0,4-0,7

«      Г                                       0,8-1,1

«      Д                                      1,4-1,6

«      М                                     1,8-2,6

«      Л                                      1,6-1,8

Допускается: кроме случаев кривой К, увеличение этих отношений не более, чем на 30 %.

Уменьшение указанных отношений допускается, если это обусловлено конструкцией перекрытия или, если это необходимо для обеспечения нормируемых значений показателя ослепленности и коэффициента пульсации, а также в случаях, когда при указанных отношениях и при предельно возможной мощности ламп не обеспечивается нормативная освещенность.

В последнем случае, а также при необходимости уменьшения коэффициента пульсации в производственных помещениях рекомендуется взамен сближения светильников или их рядов подменять установку в одном пункте сдвоенных или строенных светильников или соответственно сдваивать или страивать ряды люминесцентных светильников.

ПРИМЕЧАНИЕ. В случаях, когда неизвестен тип кривой силы света светильников по указанному ГОСТу, среднее рекомендуемое отношение расстояния между светильниками или их рядами L к расчетной высоте h, рекомендуется приближенно определять по формуле:

L : h = 0,6,

где    Фо- поток светильника в нижней полусфере (для светильников с люминесцентными лампами условно рассчитываемый по поперечной кривой силы света);

Iо - осевая сила света светильника.

2.53. В помещениях с постоянно работающими в них людьми, рекомендуется по возможности избегать однорядного расположения светильников.

2.54. При общем равномерном освещении расстояние от крайних светильников или рядов светильников до стен или осей колонн следует принимать в помещениях, предназначенных для работы, 1:3, а в остальных помещениях - 1:2 стороны поля или расстояния между рядами светильников. При размещении рабочих мест непосредственно у стен или колонн крайние ряды светильников следует в пределах целесообразности приближать к стенам или колоннам, в частности устанавливать светильники на кронштейнах.

2.55. Если длина рядов светильников с люминесцентными лампами превышает высоту их установки над освещаемой поверхностью, то в помещениях с постоянно работающими в них людьми следует предотвращать уменьшение освещенности в конце рядов путем продолжения рядов светильников за пределы площади, на которой фактически производятся работы, примерно на 0,5 высоты установки светильников; удвоения плотности потока ламп (лм/м) у концов рядов на таком же протяжении; сближением или сдваиванием светильников; устройством по концам продольных рядов поперечных замыкающих рядов светильников.

2.56. Светильники локализованного освещения должны размещаться в соответствии с требованиями, обусловленными расположением оборудования и характером работы, к распределению освещенности и направлению света. Локализованное освещение может достигаться путам отказа от симметричного, равномерного размещения светильников в помещении, установки светильников, дополнительных к светильникам общего равномерного освещения, изменением мощности ламп в части этих последних светильников или изменением высоты установки части светильников.

СПОСОБЫ ДОСТУПА К СВЕТИЛЬНИКАМ*

* Все значения высот установки светильников в данном подразделе и далее указаны до нижних точек светильников.

2.57. При установке светильников на высоте не более 5 м над полом их обслуживание разрешается производить со стремянок или приставных лестниц. При этом светильники не должны располагаться над крупным оборудованием, приямками и в других местах, где установка стремянок или приставных лестниц невозможна.

2.58. Для светильников, которые по условиям конструкции зданий и требований, предъявляемых к осветительной установке, не могут быть установлены на высоте, доступной для обслуживания с пола с помощью стремянок или приставных лестниц (п. 2.57 настоящих норм), должны предусматриваться способы доступа для обслуживания, указанные в табл. 1. При этом принятый способ доступа должен указываться в проекте.

2.59. Для обеспечения удобства и безопасности обслуживания светильников рекомендуется принимать следующие высоты их установки, м:

2,1 - в электропомещениях при установке светильников вблизи открытых токоведущих частей;

не более 3,5 - на технологических площадках, мостиках, переходах и т.п. при установке светильников на стенах;

2,5 - на технологических площадках, мостиках, переходах и т.п. при установке светильников на стойках вдоль ограждений;

на уровне настила +0,5 - на мостиках для обслуживания светильников (табл. 1, п. 4).

Установка светильников над мостовыми кранами должна производиться на уровне не менее 1,8 м над настилом моста крана или на уровне нижнего пояса ферм (табл. 1, п. 2).

2.60. При обслуживании светильников со стационарных электротехнических мостиков и площадок (табл. 1, п. 4) должны выдаваться строительные задания проектировщикам строительной части объектов на сооружение мостиков и площадок. При этом следует, по возможности, ориентироваться на утвержденные типовые проекты мостиков и площадок.

2.61. При обслуживании светильников из проходных технических этажей (табл. 1, п. 5) должны выдаваться строительные задания проектировщикам строительной части объектов на проемы в подвесных потолках для светильников.

В случаях, когда подвесной потолок не является несущим, т.е. на рассчитанным на проход по нему людей, необходимо выдавать строительные задания на ходовые мостики на техническом этаже вдоль линий размещения светильников.

Таблица 1

Способы и средства доступа к светильникам

Область применения

1. Передвижные напольные подъемные устройства, самоходные и несамоходные

При установке светильников на высоте от 5 до 15 м в бескрановых пролетах

2. С мостовых грузоподъемных кранов

Цехи с технологическими кранами, работающими в 1 и 2 смены или в 3 смены с выходными днями. Цехи с ремонтными и монтажными кранами

3. С подвесной люльки, навешиваемой на тельфер однобалочного подвесного крана

Пролеты, оборудованные однобалочными подвесными кранами

4. Стационарные металлические электротехнические мостики и площадки

В цехах, оборудованных мостовыми кранами, непрерывно занятыми в производственном процессе. В бескрановых пролетах при невозможности использования передвижных напольных подъемных устройств. В помещениях, освещаемых комплектными осветительными устройствами (КСУ) со щелевыми световодами

5. Из проходного технического этажа, расположенного над подвесным потолком

В помещениях с подвесными потолками и проходным техническим этажом при встраивании светильников в подвесной потолок или устанавливаемыми над подвесным потолком

ТРЕБОВАНИЯ К КРЕПЛЕНИЯМ СВЕТИЛЬНИКОВ

2.62. Подвесные светильники общего освещения, устанавливаемые на потолках или фермах, как правило, должны крепиться к последним со свесом не более 1,5 м. Увеличение свеса этих светильников может предусматриваться в случаях:

а) если это необходимо в целях обеспечения доступа к светильникам для обслуживания;

б) когда это позволяет улучшить экономические показатели установки без ухудшения качества освещения.

При установке светильников с увеличенным свесом конструкция их крепления должна ограничить возможность раскачивания светильников под воздействием потоков воздуха.

2.63. Крепление светильников в производственных помещениях рекомендуется предусматривать как комплектный индустриальный узел, решаемый, как правило, совместно с конструкциями для прокладки сети.

2.64. При обслуживании светильников со стационарных электротехнических мостиков и площадок (табл. 1, п. 4) и из проходных технических этажей (табл. 1, п. 5) конструкции для установки светильников должны обеспечивать два их основных положения - рабочее и положение при обслуживании, например, путем использования специальных поворотных кронштейнов.

При обслуживании светильников из проходного технического этажа (табл. 1, п. 5) могут также применяться светильники, конструкция которых предусматривает два их положения - рабочее и положение при обслуживании.

2.65. Приспособления для подвешивания светильников массой до 25 кг должны выдерживать в течение 10 мин. без повреждений и остаточных деформаций приложенную к ним нагрузку, равную пятикратной массе светильника, а для светильников массой более 25 кг - нагрузку, равную двухкратной массе светильника плюс 80 кг.

2.66. Крепления светильников, устанавливаемых на основаниях, подверженных вибрации, в том числе на мостовых кранах, должны иметь амортизационные приспособления.

2.67. Во взрывоопасных зонах все светильники должны быть жестко укреплены.

2.68. Светильники местного освещения должны быть укреплены жестко или так, чтобы после перемещения они устойчиво сохраняли свое положение.

СВЕТОТЕХНИЧЕСКИЙ ВЫБОР СВЕТИЛЬНИКОВ

2.69. Светотехнические характеристики светильников и, в первую очередь, их светораспределение должны выбираться с учетом обеспечения максимально возможной экономичности установок и сознания нормируемых значений освещенности при высоком качестве освещения. При выборе светильников надлежит руководствоваться их светотехнической классификацией, приведенной в ГОСТ 17677-82 [14], соответственно которому производится выбор светильников по классу светораспределения и типу кривой силы света (см. п. 2.51 настоящих норм).

2.70. В наиболее ответственных случаях, а также при выработке типовых светотехнических решений освещения помещений, выбор светильников должен основываться на технико-экономических сопоставлениях возможных вариантов.

2.71. При общем равномерном освещении горизонтальных поверхностей следует выбирать тем более концентрированное светораспределение, чем более расчетная высота установки светильников над освещаемой поверхностью h и нормируемая освещенность Е.

При наибольших значениях указанных параметров следует выбирать светильники с кривыми сил света К или Г, при средних - Г, при малых - Д. Если при этом требуется повысить соотношение между вертикальной и горизонтальной освещенностью, то следует кривые К заменять кривыми Г, кривые Г - кривыми Д, а последние в ряде случаев кривыми Л.

Кривые М следует, как правило, выбирать только при малых значениях h и Е, если при этом необходимо осветить высокорасположенные поверхности или насколько возможно увеличивать расстояние между светильниками (например, при освещении протяженные галерей или тоннелей).

ПРИМЕЧАНИЕ. При сопоставлении светильников следует учитывать, что наиболее экономичным в отношении расхода энергии является тот светильник, для которого произведение коэффициента использования светового потока в данных условиях на световую отдачу возможной к применению лампы имеет наибольшее значение.

2.72. При освещении вертикальных поверхностей, расположенных по одну сторону от ряда светильников, следует выбирать светильники специального одностороннего светораспределения или устанавливать в наклонном положении светильники с кривыми типов Г или Д. При расположении ряда светильников между двумя рядами вертикальных поверхностей следует, как правило, выбирать кривые типов М или Л.

2.73. При освещении помещений, работы в которых связаны с различением блестящих поверхностей и если опасность возникновения отраженной блескости не может быть исключена выбором размещения светильников, следует, как правило, применять светильники с рассеивателями, а в помещениях небольшой высоты такие светильники с кривой типа Л.

2.74. Защитные углы светильников, а также наличие и тип рассеивателей или экранирующих решеток, должны выбираться с учетом необходимости обеспечить установленные нормами СНиП 23-05-95 [3] или отраслевыми нормами искусственного освещения значения показателя ослепленности или показателя дискомфорта.

2.75. Для освещения производственных помещений должны преимущественно применяться светильники светораспределения П (прямого света), а при хорошо отражающих свет ограждающих поверхностях (перекрытия, стены), если это технически возможно и не связано с существенным увеличением установленной мощности - класса Н (преимущественно прямого света). Для административно -конторских, проектно-конструкторских и лабораторных помещений должны, как правило, применяться светильники светораспределения класса Н.

Светильники остальных классов по светораспределению (Г - рассеянного света, В- преимущественно отраженного света и С - отраженного света) следует применять при наличии повышенных или специальных требований к качеству освещения (смягчение теней, уменьшение прямой и отраженной блескости, освещение разнообразно ориентированных в пространстве поверхностей и т.п.).

2.76. В производственных, административно-конторских, проектно-конструкторских и лабораторных помещениях не допускается, как правило, применение средств и приемов архитектурно-художественного и декоративного освещения; световых карнизов, куполов, ниш, люстр, настенных светильников и т.п. Допускается при особо высоких или специальных требованиях к освещенности и качеству освещения устройство в помещениях световых потолков, перекрытых светорассеивающими поверхностями или экранирующими решетками, а также различных способов освещения отраженным светом.

2.77. В случаях, когда технологическое оборудование поставляется неукомплектованными светильниками местного освещения, светильники должны выбираться и учитываться в светотехнических проектах соответственно типу источника света, принятому для местного освещения (см. п. 2.43 настоящих норм), при этом светильники с люминесцентными лампами, в случаях их использования для освещения поверхностей, обладающих смешанным отражением, или для объектов, рассматриваемых через слой материала, обладающего таким же отражением (калька и т.п.), следует выбирать с рассеивателями.

ВЫБОР СВЕТИЛЬНИКОВ ПО ИХ КОНСТРУКТИВНОМУ
ИСПОЛНЕНИЮ

2.78. Конструктивное исполнение светильников должно обеспечивать их пожарную безопасность и электробезопасность при работе и обслуживании надежность, долговечность и стабильность характеристик в данных условиях среды, а также удобство обслуживания.

При выборе светильников степени их защиты от воздействий окружающей среды следует принимать по ГОСТ 14254-90 [15], а при выборе светильников для различных климатических районов необходимо руководствоваться также ГОСТ 15150-69 [16].

2.79. При выборе светильников для помещений без пожароопасных и взрывоопасных зон, следует учитывать, что степени защиты, установленные ГОСТ 14254-80 [15] не определяют полностью эксплуатационные характеристики светильников в данных условиях среды. В свою очередь последние имеют индивидуальные особенности, не поддающиеся классификационной оценке. Поэтому во всех возможных случаях наряду с требованиями настоящих норм выбор светильников следует также основывать на опыте их эксплуатации в аналогичных условиях, на отраслевых нормативных материалах и на типовых решениях.

2.80. В помещениях особо сырых следует применять светильники со степенью защиты, как правило, но ниже 1Р53 (предпочтительно 1Р54, а в помещениях с химически активной средой - не ниже 1Р54 или 5/4.

Рекомендуются светильники с корпусами, противостоящими возможным воздействиям среды. Желателен уплотненный или раздельный ввод проводников, а при возможности залива водой предпочтителен боковой ввод проводов.

При гидроудалении пыли степень защиты должна быть не ниже 1Р55 или 5/5, причем при отсутствии таких светильников должны применяться только светильники с люминесцентными лампами со степенью защиты не ниже 5/ Х*.

* См. примечание 1 к табл. 2.

2.81. В жарких помещениях допускаются светильники любых степеней защиты, но по возможности следует избегать применения светильников с замкнутыми светопропускающими колпаками.

2.82. Для пыльных помещений степень защиты светильников должна выбираться в зависимости от количества и характера пыли. Предпочтительным является применение светильников со степенью защиты 1Р6Х или 1Р5Х, а в случаях необходимости упрощения обслуживания светильников допускается применение светильников со степенью защиты 6/Х и 5/Х и при нетокопроводящей пыли (в виде исключения) - 1Р2Х. Не рекомендуется применение светильников со степенью защиты 2/Х.

2.83. При выборе светильников для помещений с тяжелыми условиями среды независимо от степени защиты светильника предпочтительным является применение (в порядке от наиболее желательных к менее желательным):

по степени подверженности запылению:

а) светильников с плоским или выпуклым стеклом, закрывающим выходное отверстие светильника и снабженным уплотнением;

б) светильников с замкнутым светопропускающим колпаком, соединенным с корпусом светильника и снабженным уплотнением, без отражателя;

в) таких же светильников, как и в п. «б», но с отражателем;

г) открытых светильников с естественной вентиляцией;

д) открытых светильников без естественной вентиляции.

По степени восстанавливаемости светотехнических характеристик после многократной очистки:

е) светильников, изготовленных с применением силикатной эмали, силикатного стекла, стеклянного зеркала;

ж) таких же светильников, как в п. «е», но из алюминия альзакированного или химически объярченного, стали алюминированной, стекла органического.

По степени устойчивости к химическим воздействиям:

з) светильников, изготовленных с применением фарфора, фаянса, силикатного стекла, пластмассы;

и) светильников, имеющих поверхности, покрытые силикатной эмалью, стекло органическое;

к) светильников, изготовленных с применением алюминия;

л) такие же светильники, как в п. «е», но из стали и чугуна.

2.84. В помещениях пыльных и с химически активной средой наряду с применением светильников соответствующих степеней защиты рекомендуется широкое применение ламп-светильников: ламп накаливания с зеркальной или диффузной колбой, зеркальных металлогалогенных ламп типа ДРИЗ, а также рефлекторных люминесцентных ламп.

Указанные лампы следует устанавливать в открытой арматуре, пригодной для данных условий среды, преимущественно в арматуре со степенью защиты 5/ 3 или 6/ 3.

2.85. Выбор стационарно устанавливаемых светильников в помещениях с пожароопасными зонами должен производиться в соответствии с табл. 2 и с учетом характеристик среды в помещениях.

2.86. Переносные светильники в помещениях с пожароопасными зонами всех классов должны иметь степень защиты не ниже 1Р54, причем, как правило, стекло светильника должно быть перекрыто защитной металлической сеткой.

2.87. Выбор светильников для помещений со взрывоопасными зонами должен производиться в соответствии с указаниями работы шифр М4169 [6].

2.88. Применение светильников для люминесцентных ламп, не укомплектованных конденсаторами для повышения коэффициента мощности, запрещается.

2.89. В помещениях с повышенной опасностью и особо опасных (по гл. 1.1 ПУЭ [1]), освещаемых любыми источниками света, кроме люминесцентных ламп, при высоте установки светильников (до их нижней точки) менее 2,5 м и при питании напряжением выше 42 В, должны применяться светильники, в которых доступ к лампе и токоведущим частям возможен только с помощью инструмента (отвертка, гаечный специальный ключ, плоскогубцы и т.п.).

Исключения указаны в п. 3.6 настоящих норм.

Таблица 2

Пожароопасные зоны класса

Источники света (лампы):

накаливания

разрядные высокого давления (ДРЛ, ДРИ, ДРИЗ, ДНаТ)

люминесцентные

Минимально допустимая степень защиты стационарно установленных светильников)

В помещениях:

 

 

 

П-1, П-П

1Р5Х

1Р2Х*

5/Х*

П-Па, а также П-П при наличии местных нижних отсосов отходов производства и общеобменной вентиляции

2/Х*

1Р2Х**

1Р2Х ***

Наружные установки П-Ш

2/3*

1Р23**

1Р23***

* При наличии сплошного колпака из силикатного стекла.

** При наличии металлической сетки или иного приспособления, препятствующего выпадению ламп.

*** При выполнении ввода в светильник проводниками с негорючей оболочкой или в стальной трубе.

ПРИМЕЧАНИЯ. 1. Степень защиты от воды в случаях, когда она обозначена буквой X, определяется условиями среды.

2. Отдельно установленные ПРА для светильников с разрядными лампами должны иметь степень защиты для всех пожароопасных зон не ниже 1Р44.

3. В складских помещениях светильники с люминесцентными лампами на должны иметь рассеивателей и отражателей из горючих материалов.

2.90. В помещениях с подвесными или подшивными потолками допускается на равных основаниях применение встроенных, потолочных и подвесных светильников, однако при наличии над подвесным потолком проходного помещения (технического этажа) и возможности доступа из него к местам установки светильников следует преимущественно применять встроенные светильники верхнего обслуживания.

2.91. При технико-экономической целесообразности в помещениях с подвесными или подшивными потолками должны применяться встроенные светильники, совмещенные с устройствами приточной или вытяжной вентиляции.

2.92. Из числа возможных к применению светильников должны, как правило, выбираться наиболее удобные для обслуживания, например, светильники, у которых для доступа к лампе не требуется выполнения каких-либо трудоемких операций, например, отвинчивание гаек или винтов.

2.93. При выборе светильников должны учитываться для отдельных групп помещений специфические требования отраслевых или ведомственных нормативных документов, например, обеспечение вакуумной гигиены в цехах электронной промышленности, исключение возможности падения ламп в помещениях для приготовления пищи и хранения пищевых продуктов и т.д.

РАСЧЕТ ОСВЕЩЕНИЯ

2.94. Выбор числа, мощности и расположения светильников следует производить на основе типовых решений для освещаемых помещений и лишь при отсутствии таковых - на основе светотехнического расчета.

2.95. Число и расположение светильников должны, как правило, определяться до выполнения светотехнического расчета в соответствии с требованиями п.п. 2.48-2.68 настоящих норм; светотехническим расчетом должны определяться мощности ламп.

При расчете люминесцентного освещения и расположения светильников рядами до расчета намечается число и расположение рядов, в процессе же расчета производится компоновка рядов, т.е. определение числа, расположения и мощности светильников в ряду.

Во всех случаях предварительно намеченное число и расположение светильников или линий могут корректироваться по результатам расчета освещенности или проверки качественных характеристик освещения.

2.96. При выборе мощности ламп или числа светильников в ряду по результатам расчета освещенности допускается отклонение значений освещенности от значений, требуемых по расчету, в пределах, как правило, до минус 10 % - плюс 20 %.

При расчете показателей ослепленности или дискомфорта, а также коэффициента пульсации освещенности допускается принимать отклонения в сторону ухудшения качества освещения от нормируемых значений в пределах до +10 %, отклонения же в сторону улучшения качества не ограничиваются.

2.97. Расчеты освещенности и качественных характеристик освещения (равномерность распределения освещенности, ограничение ослепленности и пульсаций освещенности при использовании разрядных ламп) могут осуществляться двумя способами:

а) вручную, с использованием имеющихся в светотехнических справочниках и других материалах по расчету освещения вспомогательных графиков, таблиц, типовых решений;

б) автоматическим с применением ЭВМ и разработанных программ расчета освещенности и показателей качества освещения.

Из указанных двух способов расчета предпочтение рекомендуется отдавать автоматическому, как менее трудоемкому, а во многих случаях решающему такие задачи выбора типов источников света, светильников и их расположения.

При невозможности или нецелесообразности использования автоматических расчетов, применяются ручные расчеты в соответствии с рекомендациями п.п. 2.98-2.102 настоящих норм.

2.98. Расчет освещенности должен производиться по точечному методу с приближенным учетом отраженной составляющей освещенности или по методу коэффициента использования.

Применение точечного метода обязательно для расчета общего локализованного освещения, освещения наклонных и вертикальных поверхностей, местного, освещения безопасности и эвакуационного освещения.

Этот метод рекомендуется для расчета общего равномерного освещения в наиболее ответственных случаях, например, при расчете освещения больших цехов, а также при разработке типовых решений.

В остальных случаях, как правило, расчет должен производиться по методу коэффициента использования с широким применением его упрощенных модификаций, обеспечивающий необходимую степень точности.

2.99. При расчете освещения точечным методом и методом коэффициента использования должен вводиться коэффициент запаса, величина которого принимается по табл. 3 СНиП 23-5-95 [3].

2.100. Для расчета освещенности рекомендуется использовать следующие расчетно-вспомогательные таблицы и графики:

а) расчет по точечному методу от светильников, принимаемых за точечным круглосимметричные излучатели, пространственные изолюксы условной горизонтальной освещенности;

б) расчет по точечному методу от излучателей, на являющихся круглосимметричными, изолюксы относительной освещенности на условной плоскости (условные изолюксы);

в) расчет по точечному методу от рядов светильников с люминесцентными лампами - линейные изолюксы;

г) расчет по методу коэффициента использования - таблицы коэффициентов использования, таблицы удельной мощности.

Разного рода упрощенные модификации расчета, в частности, указанные в подпункте «г», могут применяться при совпадении данных, для которых составлены таблицы или графики с условиями решаемой задачи.

2.101. Расчет освещенности от светильников, для которых нет расчетных таблиц или графиков, а имеются только кривые распределения силы света, следует производить:

а) по точечному методу от светильников, принимаемых за точечные круглосимметричные излучатели, с помощью пространственных изолюкс условной горизонтальной освещенности для источника силой света по всем направлениям 100 кд;

б) по точечному методу от рядов светильников с люминесцентными лампами - с помощью линейных изолюкс от источника силой света по всем направлениям 100 кд;

в) по методу коэффициента использования - с помощью таблиц коэффициентов использования для различных значений показателя m, характеризующего форму кривой силы света.

2.102. Определение показателей ослепленности или дискомфорта и коэффициента пульсации освещенности должно производиться на основании инженерных методов расчета этих характеристик.

ОСВЕЩЕНИЕ ПОМЕЩЕНИЙ ЩЕЛЕВЫМИ СВЕТОВОДАМИ

2.103. Для освещения помещений производственных зданий взамен светильников могут использоваться комплектные осветительные устройства (КСУ) со щелевыми световодами [17, 18].

Такое устройство состоит из полой, обычно цилиндрической формы трубы - канала световода диаметром несколько десятков (до 60 и более) сантиметров длиной несколько (до 18 и более) метров. Большая часть внутренней поверхности канала световода покрыта зеркальным слоем, а меньшая часть вдоль канала оставлена не зеркалированной, обычно матированной, пропускающей свет, называемая оптической щелью. К одному из концов канала световода примыкает вводное устройство с источником света - одной или несколькими зеркальными лампами, направляющими световой поток в канал световода. На другом конце канала размешается торцевой элемент, покрытый зеркальным слоем, отражающий свет ламп вводного устройства внутрь канала. Освещение помещения осуществляется световым потоком, выходящим через оптическую щель.

2.104. Щелевые световоды имеют преимущества перед светильниками, заключающиеся в существенном сокращении количества источников света и уменьшением мест их установки благодаря применению во вводных устройствах ламп большой единичной мощности и возможности размещения во вводных устройствах нескольких ламп.

2.105. Применение щелевых световодов в ряде случаев целесообразно для общего освещения больших помещений с нормальными и тяжелыми условиями среды и помещений с пожароопасными и взрывоопасными зонами.

2.106. Выбор между освещением помещений светильниками или щелевыми световодами должен производиться на основании технико-экономических сравнений вариантов с учетом практической возможности размещения в помещении каналов световодов, их вводных устройств, пускорегулирующих аппаратов (ПРА) для разрядных ламп, а также требований к цветности освещения и других местных особенностей освещаемых помещений.

2.107. При решении вопросов практического применения щелевых световодов следует ориентироваться на серийно выпускаемые ПО «Ватра» (г. Тернополь, Украина) комплектные осветительные устройства (КСУ) со щелевыми световодами, выполненными из сшитых или склеенных между собой зеркалированных и светопропускающих полос специальной пленки. Световоды изготовляются в двух вариантах:

а) КСУ1 с размещением вводного устройства с лампами и ПРА и канала световода в освещаемом помещении;

б) КСУ1А с размещением вводного устройства с лампами и ПРА в смежном помещении или снаружи здания, а канала световода в освещаемом помещении и с переходным светопропускающим устройством, заделываемым в стену, соединяющим вводное устройство с трубчатым каналом [18].

2.108. Каждый из вариантов КСУ1 и КСУ1А по размерам каналов и количеству ламп во вводном устройстве выпускается в нескольких модификациях:

а) с каналом диаметром 275 мм, длиной 6 м с одной зеркальной металлогалогенной лампой типа ДРИЗ мощностью 250, 400 или 700 Вт;

б) с каналом диаметром 600 мм, длиной 18 м с четырьмя зеркальными металлогалогенными лампами типа ДРИЗ мощностью 250, 400 или 700 Вт. Число ламп во вводном устройстве при необходимости может быть уменьшено до трех или двух.

Указанная длина канала световода (6 и 18 м) может быть уменьшена путем его укорочения. Для освещения безопасности или эвакуационного освещения одна из ламп ДРИЗ во вводном устройстве может быть заменена зеркальной лампой накаливания необходимой мощности или могут устанавливаться отдельные дополнительные светильники.

Вводные устройства выпускаются НПО «Ветра» на напряжении 380/220 В [18].

2.109. Расчет освещения от щелевых световодов следует выполнять методом коэффициента использования по материалам, опубликованным в [19] или методом, описанным в работе [20].

2.110. При проектировании освещения с применением щелевых световодов необходимо выдавать проектировщикам строительной части объекта строительные задания на площадки, мостики, лестницы и т.п. Для размещения вводных устройств световодов и удобного и безопасного подхода к ним.

2.111. Рекомендации и указания по проектированию освещения в помещениях со взрывоопасными зонами с применение щелевых световодов приведены в работе АО ВНИПИ Тяжпромэлектропроект шифр М4169 [6].

2.112. Для облегчения проектирования освещения с применением щелевых световодов рекомендуется пользоваться двумя сериями альбомов типовых чертежей, распространяемых АО ЦИТП: серия 5.407.93 [21] и серия 5.407.94 [22].

3. ЭЛЕКТРОТЕХНИЧЕСКАЯ ЧАСТЬ ПРОЕКТА НАПРЯЖЕНИЯ

3.1. Номинальные значения напряжения переменного и постоянного тока источников питания и преобразователей (трансформаторов, генераторов, аккумуляторных батарей) и источников света (для разрядных ламп комплектов лампа ПРА), используемого для осветительных установок, указаны в табл. 3.

3.2. Для осветительных сетей применяются следующие системы напряжения переменного тока:

а) 660/380 В с заземленной нейтралью. Используется для питания общего освещения в производственных помещениях, где эта система напряжения принята для силовых электроприемников;

б) 380/220 В с заземленной нейтралью. Наиболее широко используется для промышленных предприятий, общественных и жилых зданий;

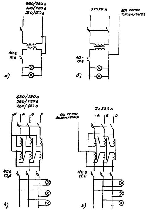
в) 220/127 В с заземленной нейтралью и 3 ´ 220 В без нейтрали - используется на некоторых существующих производственных предприятиях и в общественных зданиях. При реконструкции объектов или их электроустановок рекомендуется переходить на систему 380/220 В;

г) 42 В и 12 В для сетей малого напряжения - однофазные и трехфазные сети.

Применявшееся ранее для трансформаторов, сетей и ламп напряжение 36 В допускается сохранять для существующих объектов, где было применено такое напряжение.

3.3. Для осветительных сетей применяются системы постоянного тока напряжением 220, 127, 110, 40, 12 В. При использовании для питания освещения (в основном освещения безопасности и эвакуационного) аккумуляторных батарей, предназначенных для внутриобъектной связи (телефон, диспетчеризация и т.п.), допускается применение других систем напряжения постоянного тока, но не выше 220 В.

3.4. Напряжение 380 В переменного тока может применяться для общего освещения:

а) для светильников и щелевых световодов (см. п.п. 2.103-2.112 настоящих норм) с разрядными лампами высокого давления, питаемых комплектно с ПРА напряжением 380 В (например, металлогалогенные лампы типа ДРИ, ДРИЗ мощностью 250 Вт и более);

б) для светильников с люминесцентными лампами, имеющих электрические схемы для напряжения 380 В (например, с последовательным соединением ламп, с многофазными ПРА);

в) для многоламповых светильников, лампы которых по условиям эксплуатации разбиваются на несколько включений.

При питании светильников и щелевых световодов напряжением 380 В вводы в светильники и ПРА должны выполняться медными проводниками с изоляцией на напряжение не ниже 660 В; в помещениях с повышенной опасностью и особо опасных все фазные провода, вводимые в светильник или во вводное устройство щелевого световода должны отключаться одновременно.

В случаях, укачанных в подпунктах «а» и «б», допускается ввод в светильник или во вводное устройство щелевого световода фазного напряжения системы 660/380 В с заземленной нейтралью. Ввод в светильник или вводное устройство щелевого световода двух или трех фаз системы 660/380 В запрещается.

Таблица 3

Вид тока

Номинальное напряжение, В

Источников и преобразователей

Сетей и приемников

Переменный

 

 

однофазный

12, 42, 230

12, 40, 220

трехфазный

12, 42, 230, 400, 690

12, 40, 220, 380, 660

Постоянный

12, 230

12, 220

ПРИМЕЧАНИЯ: 1. Для источников и преобразователей указаны междуфазные значения трехфазного тока.

2. Кроме значений, указанных в таблице, допускается применять номинальные напряжения для ранее разработанного оборудования; 36 В (источники, преобразователи, приемники); 133 В (преобразователи); 127 В (приемники).

3. Лампы накаливания общего назначения выпускаются на следующие значения напряжения В: 125-135 (расчетное 130); 215-225 (220); 220-230 (225); 225-235 (230); 235-245 (240). Если при проектировании освещения конкретных объектов преимущественные пределы колебаний напряжения в осветительной сети не известны, рекомендуется предусматривать лампы на 215-225 (220) В.

Светильники, указанные в подпункте «а», должны устанавливаться на высоте не менее 2,5 м от пола, а при обслуживании их с площадок, мостиков, мостовых грузоподъемных кранов, доступных только квалифицированному персоналу, должны устанавливаться, как указано в п. 2.58 настоящих норм.

3.5. Напряжение 220 В допускается применять для светильников общего освещения без ограничения их конструкций и высоты установки в следующих случаях:

а) в помещениях без повышенной опасности;

б) в электропомещениях;

в) для светильников, обслуживаемых с площадок, доступных только квалифицированному персоналу (например, мостики и площадки для обслуживания светильников, электропечей и т.д.), а также мостовых грузоподъемных кранов - при соблюдении требований п. 2.56 настоящих норм;

г) для светильников в лифтовых шахтах.

В помещениях с повышенной опасностью и в особо опасных напряжение 220 В допускается для светильников с люминесцентными лампами, а для светильников с другими источниками света - при установке их на высоте не менее 2,5 м над полом.

В виде исключения из требований подпункта «б» для кабальных тоннелей и кабельных этажей при установке светильников с лампами накаливания на высоте менее 2,5 м рекомендуется применять напряжение не выше 42 В.

3.6. В помещениях с повышенной опасностью и особо опасных при установке светильников на высоте менее 2,5 м от пола, за исключениями, указанными в п. 3.5 настоящих норм, а также за исключением светильников с люминесцентными лампами, должны применяться светильники общего освещения, отвечающие требованиями п. 2.89 настоящих норм или должно применяться напряжение не выше 42 В.

3.7. Для питания светильников местного стационарного освещения с лампами накаливания в помещениях без повышенной опасности должно применяться напряжение не выше 220 В. Для помещений с повышенной опасностью и особо опасных, а также для освещения встроенного в электрические щиты, шкафы, камеры распределительных устройств, технологические бункера и прочее оборудование - напряжение не выше 42 В.

В помещениях с повышенной опасностью и особо опасных для светильников местного стационарного освещения с лампами накаливания допускается напряжение не выше 220 В при питании светильников от линий, защищаемых аппаратами защитного отключения (см. п.п. 1.7.28, 1.7.42 ПУЭ) или при питании каждого светильника через разделяющий трансформатор (см. п. 1.7.44 ПУЭ).

Светильники с люминесцентными лампами при напряжении до 220 В допускается применять для местного освещения во всех помещениях за исключением сырых, особо сырых, жарких и с химически активной средой.

Допускается (в виде исключения) напряжение до 220 В для светильников, специально предназначенных и маркированных для данной области применения:

а) с лампами накаливания, устанавливаемых в помещениях с повышенной опасностью (но не особо опасных) для являющихся составной частью освещения безопасности, питаемого от независимого источника электроэнергии;

б) с люминесцентными лампами, устанавливаемыми в помещениях сырых, особо сырых, жарких и с химически активной средой.

3.8. Питание ручных светильников в помещениях без повышенной опасности допускается предусматривать от сети напряжением не выше 220 В, а в помещениях с повышенной опасностью и в особо опасных не выше 42 В.

При особо неблагоприятных условиях, а именно, когда опасность поражения электрическим током усугубляется теснотой, неудобным положением работающего, соприкосновение с большими заземленными поверхностями и т.п. питание ручных светильников должно предусматриваться от сети напряжением не выше 12 В.

Переносные светильники, предназначенные для подвешивания, настольные, напольные и т.п. приравниваются при выборе напряжения к стационарно устанавливаемым светильникам местного освещения, а светильники, устанавливаемые на переставных стойках, на высоте не менее 2,5 м - к светильникам общего освещения. В последнем случае питание переносных светильников разрешается предусматривать напряжением 380 В.

Сети напряжением 40 В для питания переносного освещения должны предусматриваться, в частности, для следующих объектов: электропомещения, цехи металло- и деревообработки, цехи текстильной и швейной промышленности, прокатные цехи, гаражи, вентиляционные камеры, галереи и тоннели для транспортировки материалов в холодном состоянии и т.д.

Сети напряжением 12 В для питания переносного освещения должны предусматриваться: в котельных, в сталеплавильных цехах, водопроводных тоннелях, галереях и тоннелях для транспортировки раскаленных материалов, для работ внутри бункеров и других производственных емкостей и т.д.

3.9. В случаях, когда разрешается применение напряжения 40 В, не следует применять меньшее напряжение, кроме случаев, когда это необходимо для обеспечения питания индивидуальных трансформаторов местного освещения, поставляемых комплектно с оборудованием.

На рекомендуется также в пределах одного здания предусмотреть применение двух различных напряжений для сетей переносного освещения.

3.10. При расчете потери напряжения в осветительных сетях надлежит руководствоваться следующими требованиями:

а) снижение напряжения у наиболее удаленных ламп (для разрядных ламп у ПРА) должно быть не более 5 % номинального напряжения ламп;

б) наибольшее напряжение у ламп (или ПРА), как правило, не должно быть больше 105 % номинального напряжения ламп;

в) в послеаварийных режимах работы осветительных сетей допускается снижение напряжения у ламп (или ПРА) не более, чем на 10 % и повышение не более, чем на 10 % от номинального напряжения ламп;

г) в сетях напряжением не выше 40 В допускается потеря напряжения до 10 %, считая от выводов низшего напряжения источника питания.

Расчетная потеря напряжения в осветительной сети должна определяться исходя из указанного в подпункте «а» снижения напряжения у наиболее удаленных ламп (или ПРА), как правило, при номинальном напряжении на стороне высшего напряжения питающего трансформаторы с учетом потери напряжения в последнем.

3.11. Для обеспечения надежной работы разрядных ламп напряжение на их ПРА даже в послеаварийном режиме не должно быть ниже 90 % номинального.

3.12. В случаях, когда напряжение на лампах (или ПРА) может длительно превышать 105 % номинального, особенно в установках с преобладанием ламп накаливания, рекомендуется установка в осветительных сетях (преимущественно у групповых щитков) ограничителей напряжения.

3.13. Допустимые значения размахов (изменений) напряжения у ламп (или ПРА) в зависимости от частоты их повторения или интервалов времени между размахами не должны превышать значений, определяемых по графику черт. 1 приложения 3 к ГОСТ 13109-87 [23].

Указанное требование не распространяется на лампы местного освещения, обслуживающие какой-либо определенный механизм, если резкие размахи (изменения) напряжения связаны с работой электродвигателя этого механизма.

Для отдельных установок с резко переменным характером нагрузки (например, прокатные цехи) допускаются резкие размахи напряжения по 1,5 % без ограничения частоты их повторения.

ИСТОЧНИКИ ПИТАНИЯ

3.14. При системе напряжения для силовых и осветительных сетей 380/220 В с заземленной нейтралью питание силовых и осветительных электроприемников должно производиться от общих трансформаторов. Применение отдельных осветительных трансформаторов допускается:

а) в случаях невозможности обеспечить при питании освещения от силовых трансформаторов требований п. 3.13 настоящих норм;

б) при большой плотности осветительной нагрузки, когда может быть экономически оправдано применение для питания освещения самостоятельных трансформаторов.

При этом в случае, указанном в подпункте «а» должна также рассматриваться целесообразность установки общих трансформаторов для освещения и части силовых нагрузок, не вызывающих резких размахов (изменений) напряжения.

3.15. Не рекомендуется использование для питания освещения трансформаторов, работающих в блоке с определенной совокупностью технологических механизмов и отключаемых вместе с питающими их трансформаторами при остановке этих механизмов на ремонт.

При неизбежности такого питания следует предусматривать обеспечение питания освещения при отключении подстанции по перемычке между щитами двух ближайших подстанций, включаемой вручную.

3.16. При использовании для питания силовых электроприемников системы напряжения 660/380 В с заземленной нейтралью питание общего освещения может выполняться от тех же трансформаторов в случаях применения для освещения разрядных ламп высокого давления, как указано в п. 3.4, а настоящих норм, а для питания светильников с другими источниками света и силовых электроприемников, не изготовляемых на напряжение 660 В предусматривать отдельные трансформаторы с вторичным напряжением 380/220 В. При этом должен производиться обоснованный выбор между питанием этих трансформаторов от сети 6-10 кВ или от силовых трансформаторов 660 В.

3.17. Выбор схем соединений обмоток трансформаторов, используемые для совместного питания силовых и осветительных электроприемников, должен выполняться в соответствии со следующими указаниями:

а) если нагрузка на трансформатор от разрядных ламп (включая потери в ПРА) превышает 25 % его номинальной мощности, должны применяться трансформаторы со схемой соединений обмоток «треугольник - звезда с нулем»;

б) если нагрузка на трансформатор от разрядных ламп (включая потери в ПРА) меньше 25 % его номинальной мощности, может применяться трансформатор со схемой соединений обмоток «звезда - звезда с нулем».

3.18. Питание светильников, требующих применения напряжения не выше 42 В, должно производиться от однофазных или трехфазных трансформаторов с первичным напряжением не выше 380 В, с электрически не связанными обмотками высшего и низшего напряжения. Один из выводов или средняя точка или нейтраль на стороне низшего напряжения трансформатора должны быть занулены или заземлены. Применение автотрансформаторов не допускается.

3.19. Питание светильников местного освещения может выполняться от силовой сети производственного оборудования, на котором эти светильники устанавливаются.

3.20. Светильники рабочего освещения и светильники освещения безопасности, а в производственных зданиях баз естественного освещения также светильники эвакуационного освещения, должны питаться от независимых источников, отвечающих требованиям гл. 2.1 ПУЭ [1] или автоматически переключаться на независимый источник при отключении основного источника питания.

Допускается питание рабочего освещения и освещения безопасность от разных трансформаторов одной двухтрансформаторной подстанции при питании трансформаторов от независимых источников.

3.21. В производственных зданиях без естественного освещения в помещениях, где может одновременно находиться 100 и более человек, независимо от наличия аварийного освещения, должно предусматриваться эвакуационное освещение по основным проходам, автоматически переключаемое при прекращении питания освещения безопасности на третий независимый внешний или местный источник (аккумуляторная батарея, дизель-генераторная установка), не используемый в нормальном режиме для питания рабочего освещения, освещения безопасности и эвакуационного освещения, или каждый светильник эвакуационного освещения должен иметь автономный источник питания.

3.22. В особо ответственных случаях (обеспечение обслуживания электроприемников особой группы) освещения безопасности и эвакуационного освещения или части освещения безопасности должно осуществляться от третьего независимого источника энергии, что должно решаться в комплексе с решениями, принятыми для силового электрооборудования.

3.23. Во всех случаях допускается в нормальном режиме электроснабжение питания освещения безопасности от сети рабочего освещения с автоматическим переключением его на соответствующий источник питания при послеаварийных режимах.

3.24. Освещение безопасности должно функционировать во все время действия рабочего освещения или автоматически включаться при аварийном погасании рабочего освежения.

Допускается, чтобы постоянно была включена только часть ламп освещения безопасности, а остальная часть включалась вручную или автоматически.

3.25. Допускается питание освещения безопасности от силовой сети (за исключением производственных зданий без естественного освещения) при условии, что рабочее освещение и силовые электроприемники питаются от независимых источников.

3.26. Светильники эвакуационного освещения производственных зданий с естественным освещением могут питаться от трансформаторов, используемых для питания рабочего освещения самостоятельными линиями, начиная от щита подстанции или распределительных пунктов освещения, а для зданий, не имеющих собственных встроенных или пристроенных подстанций самостоятельными линиями, начиная от вводного распределительного устройства в здание.

3.27. При технической нецелесообразности устройства стационарного освещения безопасности и эвакуационного освещения, за исключением зданий без естественного освещения и в случаях, указанных в п. 3.22 настоящих норм, допускается применение ручных переносных светильников с аккумуляторами или сухими элементами.

ПИТАЮЩАЯ СЕТЬ

3.28. При питании внутреннего освещения от встроенных или пристроенных трансформаторных подстанций (ТП) рабочее освещение и освещение безопасности должны, как правило, питаться самостоятельными линиями питающей сети непосредственно от щитов ТП, а при нецелесообразности использования установленных на щитах ТП ограниченного числа мощных автоматических выключателей (автоматов), обладающих пропускной способностью, значительно превышающей мощность линий питающей осветительной сети, - от размещаемых вблизи ТП щитов-размножителей фидеров (распределительных пунктов с автоматами), а при устройстве дистанционного управления освещения - от щитов, шкафов, ящиков управления с магнитными пускателями и автоматами.

3.29. При магистральной системе питания силовых электроприемников допускается присоединение линий питающей сети всех видов освещения к силовым магистралям (шинопроводам) при условии соблюдения требований настоящих норм к уровню и постоянству напряжения.

3.30. Питание освещения от питающей силовой сети или силовых распределительных пунктов допускается при соблюдении требований настоящих норм к уровню и постоянству напряжения, в частности, для небольших территориально удаленных от ТП зданий, преимущественно при выполнении питающих силовых сетей воздушными линиями.

Присоединение питающих сетей освещения всех видов к распределительной силовой сети, а также использование силовых сетей и пунктов для питания-освещения зданий без естественного освещения запрещается.

3.31. В начале каждой линии питающей сети освещения всех назначений должны быть предусмотрены аппараты защиты и управления.

Если при питании освещения от силовых магистралей, как указано в п. 3.29 настоящих норм, места ответвлений от силовой магистрали и линиям питающей сети неудобны для обслуживания, аппараты защиты и управления могут быть отнесены на расстояние до 30 м по длине электропроводки.

При питании освещения от силовых пунктов линии питающей осветительной сети должны подключаться к вводным зажимам этих пунктов.

3.32. При питании освещения зданий от ТП, расположенных вне этих зданий, в том числе ответвлениями от воздушных линий, на каждом входе в здание должен быть установлен аппарат управления.

3.33. При питании обшей магистралью четырех или более групповых щитков с большим числом групп, на вводе в каждый щиток рекомендуется устанавливать аппарат управления. Для щитков, обслуживающих помещения без естественного освещения, установка аппаратов управления на вводе обязательна при питании обшей линией трех и более щитков.

3.34. Для питающей осветительной сети рекомендуется преимущественно применять магистральную схему, при этом для многоэтажных званий - систему стояков с прокладкой горизонтальных участков сети по одному из этажей. Трассу осветительных линий рекомендуется по возможности совмещать с трассой силовых линий.

3.35. В многопролетных зданиях рекомендуется, как одно из возможных рациональных решений, схема питания освещения, при которой взамен групповых щитков поперек пролетов прокладывается шинная магистраль (распределительных шинопровод), к которой через аппараты защиты и управления присоединяются ответвления к продольным рядам светильников.

Указанные ответвления могут рассматриваться как обычные групповые линии или как распределительные магистрали (см. п. 3.15 настоящих норм).

Если по характеру производства одновременное включение освещения всех пролетов нежелательно, то указанные аппараты управления должны дистанционно управляться с отметки пола.

Одним из определяющих признаков для применения указанной схемы является доступность аппаратов, устанавливаемых на ответвлениях для обслуживания, например, с электротехнических мостиков.

3.36. При проектировании питающих сетей в целях упрощения эксплуатации осветительных установок следует предусматривать возможную централизацию управления освещением, причем одновременное управление освещением допускается только для помещений и их участков, имеющих одновременную потребность в освещении и одинаковые условия естественного освещения.

В централизованно управляемых частях осветительной установки должны предусматриваться также групповые или местные аппараты управления для возможности отключения отдельных участков сети при их обслуживании.

При использовании нескольких источников питания или в случае расположения аппаратов централизованного управления в местах, неудобных для обслуживания, рекомендуется предусматривать дистанционное управление этими аппаратами.

3.36. В случае питания от осветительной сети здания освещения открытых площадок, складов, технологических установок и т.п. для этой цели должны предусматриваться отдельные групповые щитки или групповые линии с централизованным управлением из пункта управления наружным освещением.

Это требование не распространяется на освещение погрузочно-разгрузочных рамп и участков, расположенные под навесами, а также на светильники, установленные перед входами в здание.

3.37. Независимо от требований, изложенных в п.п. 3.31 и 3.35 настоящих норм аппараты защиты в питавшей сети рекомендуется устанавливать в следующих случаях:

а) на вводах в здания; эти аппараты могут быть отнесены в начало линии, питающей только данное здание, или в место ответвления вводных проводников от магистрали;

б) в начале стояков, обслуживающих три и более этажных щитка, кроме случаев, когда стояк питается отдельной линией, в начале которой установлен аппарат защиты.

3.38. При общем тарифе для силовой и осветительной нагрузок не рекомендуется предусматривать отдельного учета электроэнергии, расходуемой на освещение, как по предприятию в целом, так и по отдельным цехам.

3.39. При наличии в здании групп помещений, обособленных в административно-хозяйственном отношении (пищеблоки, здравпункты и т.п.) следует предусматривать отдельный учет электроэнергии, расходуемой электроприемниками этих помещений.

3.40. Аппараты управления в питающей сети должны одновременно отключать все провода цепи, кроме заземленных нулевых.

3.41. Аппараты защиты в питающей сети должны защищать все провода, кроме заземленных нулевых.

3.42. В качестве аппаратов защиты в питающей сети должны применяться автоматические выключатели (автомат) или плавкие предохранители.

3.43. Питание установок кратковременного профилактического ультрафиолетового облучения людей (фотариев), являющихся медицинскими технологическими установками (см. п. 1.3 настоящих норм), в зависимости от местных условий может производиться самостоятельными линиями питающей осветительной или силовой сети.

ГРУППОВАЯ СЕТЬ

3.44. Расположение групповых щитков должно обеспечивать возможно более рациональное и экономически целесообразное построение осветительной сети с учетом размещения источников питания, принятой системы управления освещением и т.п.

Щитки должны размещаться в местах, постоянно доступных для обслуживания.

Щитки, с которых производится оперативное управление освещением, желательно размещать так, чтобы с места их установки были видны управляемые светильники, и по возможности вблизи основного входа в помещение.

3.45. Конструктивное исполнение щитков или шкафов, в которых они установлены, должно удовлетворять условиям среды помещений. Следует по возможности выносить щитки из помещений с тяжелыми условиями среды, а также из помещений с пожаро- и взрывоопасными зонами, размещая их в помещениях с более благоприятными условиями среды.

3.46. В начале каждой групповой линии, в том числе питаемой непосредственно от шинных магистралей (см. п. 3.35 настоящих норм), должны быть установлены аппараты защиты на всех незаземленных проводах, а в групповых линиях, питающих светильники, установленные в помещениях со взрывоопасными зонами класса В-1, также в нулевых проводах двухпроводных групп. В остальных случаях установка аппаратов защиты на заземленных нулевых проводах запрещается.

3.47. Номинальный ток расцепителя автомата или плавкого элемента предохранителя, применяемых для защиты линий групповой сети, не должен превышать 25 А.

В групповых линиях, питающих разрядные лампы мощностью 125 Вт и более или лампы накаливания 300 Вт и более, а также в сетях напряжением не выше 42 В, могут применяться аппараты защиты с номинальным током до 63 А.

При защите групповых линий автоматами с тепловыми или комбинированными расцепителями, установленными в закрытых шкафах или щитках, рабочий ток групповой линии не должен превышать 90 % номинального тока установки автомата.

3.48. Схемы групповых линий при разных системах напряжения осветительной сети приведены на рис. 1, 2, 3, 4. Каждая групповая линия, как правило, должна содержать количество ламп и штепсельных розеток не более указанного в табл. 4 (см. также п. 3.130 настоящих норм).

3.49. В помещениях административно-бытовых, проектно-конструкторских и т.п., где устанавливается большое количество светильников общего освещения и штепсельных розеток, при системах напряжения 380/220 В и 220/127 В с заземленной нейтралью, в целях сокращения протяженности проводников групповой сети взамен однофазных групповых линий рекомендуется предусматривать трехфазные и двухфазные групповые линии с общим рабочим нулевым проводником, защищаемые устанавливаемыми на групповом щитке однополюсными автоматами или плавкими предохранителями. При этом светильники и штепсельные розетки, устанавливаемые в отдельных помещениях или в разных частях одного большого помещения следует питать от разных фаз групповой линии (см. также п. 3.131 настоящих норм).

В указанных помещениях светильники общего освещения и штепсельные розетки следует питать раздельными групповыми линиями или от разных фаз трехфазной или двухфазной групповой линии.

Рис. 1. Схемы групповых линий при системах напряжения 660/380, 380/220 и 220/127 В и питании ОП напряжением соответственно 380, 220 и 127 В.

а - двухпроводная однофазная; б - трехпроводная однофазная для взрывоопасных зон класса В-1 (только для 380/220 и 220/127 В - трехпроводная двухфазна; г, д - четырехпроводная трехфазная.

Рис. 2. Схемы групповых линий при системе 380/220 и 220/127 В и питании ОП напряжением 380 и 220 В;

а - трехпроводная двухфазная;

б - четырехпроводная трехфазная.

Рис. 3. Схемы групповых линий при системах 3 х 220 и 220/127 В при питании ОП напряжением 220 В и отсутствии необходимости заземления или зануления ОП:

а - двухпроводная двухфазная;

б - трехпроводная трехфазная с трехполюсным автоматом;

в - трехпроводная трехфазная с тремя однополюсными автоматами.

Рис. 4 Схемы сети малого напряжения при питании от трансформаторов:

а, б - однофазных; в, г - трехфазных.

3.50. В пределах соблюдения требований п.п. 3.47, 3.48, 3.49 и табл. 4 настоящих норм необходимо осуществлять всемерное укрупнение групповых линий, если это не ухудшает условий эксплуатации (возможность выключения освещения по частям, нахождение мест повреждений и т.д.).

3.51. В цехах большой протяженности при отсутствии необходимости управления освещенном по отдельным участкам рекомендуется применение системы распределительных магистралей, прокладываемых вдоль цеха и выполняемых шинопроводами, кабелями по тросу, проводами на изолирующих опорах и т.п.

Токовая нагрузка и число ламп и светильников для распределительных шинопроводов не ограничивается, но на ответвлениях от них к отдельным светильникам или блокам светильников должны устанавливаться аппараты защиты и управления.

Групповые линии, присоединяемые без щитков непосредственно к питающим линиям (см. п. 3.35 настоящих норм), должны отвечать всем требованиям настоящего подраздела.

3.52. Компенсация реактивной мощности с доведением коэффициента мощности в установках со светильниками с двумя и более люминесцентными лампами до значения не менее 0,9 и с одноламповыми люминесцентными светильниками до значения не ниже 0,85, должна осуществляться конденсаторами в составе ПРА для этих ламп, а в установках с разрядными лампами высокого давления (типов ДРЛ, ДРИ, ДРИЗ, ДНаТ), не имеющих конденсаторов в составе ПРА, как правило, установленными у щитков трехфазными конденсаторами, отдельно для каждой отходящей трехфазной групповой линии [24].

Таблица 4

Групповые линии по рис.

Наибольшее количество ламп, шт.

Лампы накаливания, разрядные лампы высокого давления (типа ДРЛ, ДРИ, ДРИЗ, ДНаТ), штепсельные розетки

Люминесцентные лампы

1

20 на каждую фазуХ

50 на каждую фазуХ

2,а

20

50

2, б

30

75

3, а

20

50

3, б

30

75

4, а, б

20

-

4, в, г

30

-

ХК групповым линиям освещения лестничных клеток, технических этажей, подполий в общественных зданиях разрешается присоединять на фазу до 60 люминесцентных ламп мощностью до 80 Вт и ламп накаливания мощностью до 60 Вт, до 75 люминесцентных ламп мощностью до 40 Вт и до 100 люминесцентных ламп мощностью 20 Вт и меньше.

ПРИМЕЧАНИЯ. 1. Для групповых линий по схемам рис. 1, питающих лампы накаливания в световых карнизах, панелях и т.п. количество ламп на фазу рекомендуется принимать не более 50.

2. Для линий, питающих многоламповые люстры, число ламп на фазу не ограничивается.

3. В случае присоединения ламп и штепсельных розеток к одной групповой линии общее количество ламп и розеток не должно превышать указанное в таблице.

Необходимость компенсации в установках с разрядными лампами высокого давления определяется в индивидуальном порядке в основном в зависимости от общего коэффициента мощности в системе электроснабжения предприятия. В большинстве случаев устройство компенсации является неоправданным, если активная мощность присоединенных к трансформатору разрядных ламп высокого давления не превышает 10 % его номинальной мощности.

3.53. Ограничение пульсаций освещенности в установках с люминесцентными лампами должно достигаться применением антистробоскопических ПРА, а при невозможности применения таковых или недостаточности этой меры соответствующим распределением между фазами сети светильников или отдельных ламп в многоламповых светильниках.

Для этой же цели в установках с разрядными лампами высокого давления обязательно применение трехфазных групповых линий (кроме помещений, для которых нормами главы СНиП 23-05-95 [3] не ограничивается коэффициент пульсаций), доведении пульсации до нормативного значения должно достигаться поочередным присоединением ламп к разным фазам сети, и если выбор расстояния между светильниками оказывается меньше рекомендуемого (см. п. 2.52 настоящих норм), то предпочтительно устанавливать на рекомендуемых расстояниях блоки из 2-3 светильников, присоединяемых к разным фазам сети.

3.54. При устройстве в помещениях профилактических ультрафиолетовых облучательных установок длительного действия (см. п. 1.3 настоящих норм) питание ультрафиолетовых облучателей должно производиться самостоятельными групповыми линиями, присоединяемыми к щиткам рабочего освещения или к самостоятельным щиткам. Должно предусматриваться раздельное управление общим освещением и ультрафиолетовыми облучателями.

3.55. Трассировка линий групповой сети должна обеспечивать удобство монтажа, а при открытой проводке - также наглядность и доступность проводки.

Для линий, прокладываемых в одном направлении, следует по возможности принимать совмещенную трассу и широко практиковать для них объединение нулевых проводов (преимущественно для линий, принадлежащих разным фазам сети). Объединение нулевых проводов рабочего освещения и освещения безопасности, а также нулевых проводов, имеющих защиту (см. п. 3.46 настоящих норм) не допускается.

3.56. Линии скрытой проводки, если это возможно, рекомендуется прокладывать по кратчайшим расстояниям без соблюдения принципа параллельности строительным линиям.

3.57. Общие для нескольких линий нулевые провода или проводка в трубах должны прокладываться совместно с фазными проводами, а при проводке кабелями должны быть заключены в общую оболочку со всеми фазными или хотя бы с частью из них.

3.58. Допускается присоединение штепсельных розеток к групповым линиям, питающим светильники (с учетом требований п. 3.48 и табл. 4 настоящих норм в отношении количества присоединяемых к групповым линиям электроприемников), в которых осуществляется управление освещением местными выключателями. При большом числе розеток рекомендуется питание их отдельными групповыми линиями, если это не связано с существенным увеличением протяженности сети.

3.59. В запираемых помещениях окладов, содержащих горючие материалы или материалы в горючей упаковке, не допускается прокладка линий, не предназначенных для питания электроприемников этих помещений.

3.60. При распределении между фазами однофазных нагрузок следует ограничивать разницу в токах наиболее и наименее нагруженной фазы величиной не более 30 % в пределах одного щитка и 10 % в начале линий питающей сети.

3.61. Аппараты управления в линиях групповой сети должны отключать провода в соответствии с указаниями, приведенными в табл. 5.

Аппараты управления, обслуживающие светильники, установленные в помещениях со взрывоопасными зонами класса В-1, должны одновременно отключать фазный и нулевой провода, вводимые в светильник.

Таблица 5

Род тока

Нейтраль

Напряжение, В

Провода, в которых устанавливаются аппараты управления

Дополнительные указания

управляемая линия

светильник

Переменный трехфазный

Заземлена

630/380

380

Все незаземленные

Одновременное отключение всех незаземленных проводов линии

То же

То же

3´380; 2´380

380

То же

То же

То же

То же

380/220; 220

220

-"-

При напряжении 380/220 и 220/127 В в помещениях со взрывоопасными зонами класса В-1 в однофазных двухпроводных линиях должно обеспечиваться одновременное отключение фазного и нулевого проводов, вводимых в светильник

То же

Заземлена, изолирована или отсутствует

3´220;

220/127

220; 127

-"-

В помещениях без повышенной опасности допускается отдельное отключение каждого фазного провода. В остальных случаях обязательно отключение всех незаземленных проводов линии

То же

Заземлена или отсутствует

3´40; 2´40

40

-"-

 

3´12; 2´12

12

-"-

 

Переменный однофазный

-

2´40

40

-"-

 

2´12

12

-"-

 

Постоянный

-

до 220

до 220

-"-

 

3.62. Выключатели для светильников общего освещения должны устанавливаться на высоте от 0,8 по 1,7 м от пола в допустимых, не загроможденных местах: при установке вблизи дверей их рекомендуется располагать со стороны дверной ручки. В школах и детских учреждениях, в помещениях для пребывания детей - на высоте 1,8 м.

3.63. Выключатели для светильников, устанавливаемых в помещениях с тяжелыми условиями среды, рекомендуется выносить в смежные помещения с лучшими условиями среды.

Выключатели для душевых, раздевалок при них, санитарных узлов (в том числе состоящих из двух помещений) и горячих цехов столовых должны устанавливаться вне этих помещений. Выключатели для светильников, устанавливаемых в запираемых помещениях, рекомендуется устанавливать перед входами в эти помещения.

3.64. Для запираемых помещений складов, содержащих горючие материалы или материалы в горючей упаковке, независимо от аппаратов управления, устанавливаемых внутри складов, должен устанавливаться вне складского помещения общий аппарат управления, в несгораемом ящике с приспособлением для пломбирования - на несгораемой стене, а при ее отсутствии - на отдельной опоре.

3.65. В трехфазных четырехпроводных группах с питанием ламп фазным напряжением рекомендуется присоединять отдельные лампы к фазам сети в следующем порядке: А, В, С, А, В, С - при использовании распределения ламп между фазами для ограничения коэффициента пульсации, а также в случаях, когда при отключении одной или двух фаз требуется сохранять уменьшенную освещенность по всей площади помещения;

А, А...; В, В...; С, С... - если при отключении одной или двух фаз предполагается сохранять полную освещенность на части площади помещения;

А, В, С, С, В, А - в остальных случаях.

В двухфазных линиях порядок присоединения ламп к сети принимается аналогично указанному.

3.66. При трехфазных группах с питанием ламп линейным (междуфазовым) напряжением присоединение ламп к фазам сети следует выполнить в порядке: АВ, АС, ВС, АВ, АС, ВС …

3.67. Включение рабочего освещения со щитков должно предусматриваться в крупных помещениях, в которых устанавливаются отдельный щиток или несколько щитков.

Следует ограничивать применение щитков со смешанными группами, часть которых управляется со щитка, а другая часть - местными выключателями.

3.68. В многоплощадочных встройках производственных корпусов («этажерках»), перегрузочных узлах и других случаях, если различные отметки связаны общностью технологического процесса и обслуживаются общим персоналом, допускается в отступление от рекомендации п. 3.44 настоящих норм управлять освещением всех отметок со щитка, расположенного на одной из отметок.

3.69. При проектировании управления общим рабочим освещением следует:

а) в помещениях с боковым естественным освещением предусматривать отключение светильников рядами, параллельными окнам;

б) на одно отключение объединять только светильники, требующие одновременного действия по условиям производства,

в) в протяженных помещениях с несколькими входами, посещаемых только специальным персоналом (например, водопроводные, кабельные и теплофикационные тоннели), предусматривать управление освещением от каждого входа или части входов;

г) в крупных производственных помещениях (площадью от 200 м2), не используемых круглосуточно и не имеющих освещения безопасности или эвакуационного освещения, а также в проходных помещениях при тех же условиях, и при числе светильников 3 и более, предусматривать возможность отдельного включения небольшой части светильников, создающей по всей площади освещенность в нерабочее время, необходимую для уборки и охраны помещения (дежурное освещение).

Величина освещенности, равномерность и требования к качеству дежурного освещения не нормируются.

3.70. Для возможности обслуживания светильников в отключенном состоянии в помещениях с несколькими светильниками рабочего освещения, не имеющих освещения безопасности или эвакуационного освещения, светильники должны распределяться не менее, чем на два включения.

3.71. Управление освещением безопасности и эвакуационным освещением должно предусматриваться преимущественно со щитков при минимальном числе последних.

Помещения с достаточным естественным освещением и без него должны питаться отдельными группами. Допускается применение для обоих видов помещений общих групп, с установкой дополнительных выключателей для помещений, имеющих естественное освещение. Дополнительные выключатели следует предусматривать для освещения безопасности и эвакуационного освещения в помещениях, в которых люди не находятся постоянно (помещения станций управления, гардеробы, залы для собраний и т.п.).

3.72. Светильники у входов в здания следует присоединять к групповой сети внутреннего освещения, преимущественно к сети эвакуационного освещения или освещения безопасности.

3.73. Светильники местного освещения должны управляться индивидуальными выключателями, являющимися конструктивной частью светильники или размещаемыми на стационарной части электропроводки. При напряжении не выше 42 В для управления допускается использование штепсельных розеток, если они расположены удобно для этой цели.

3.74. Стационарные светильники местного освещения рекомендуется, а переносные или устанавливаемые на переставных стойках - следует присоединять к сети через штепсельные соединения.

Устанавливаемые на переставных стойках светильники, корпусы которых зануляются или заземляются, должны подсоединяться к сети через штепсельные соединения с защитным контактом при помощи гибкого кабеля с отдельной заземляющей жилой.

3.75. Светильники и штепсельные розетки местного и переносного освещения при напряжении 12-42 В, установленные на механизмах индивидуальным электроприводом, должны питаться от индивидуальных стационарных трансформаторов, присоединенных к силовой сети.

При напряжении 220 В (см. п. 3.7 настоящих норм) питание указанных светильников допускается осуществлять ответвлениями от силовой сети механизма, при этом, если номинальный ток аппарата защиты в силовой сети не превышает 25 А, установка отдельного аппарата защиты для осветительной цепи не обязательна.

3.76. Светильники и штепсельные розетки местного и переносного освещения при напряжении 12-42 В, в случаях, не указанных в п. 3.74 настоящих норм, следует питать от групповых трансформаторов, присоединенных к сети рабочего освещения, освещения безопасности или эвакуационного освещения (в последних двух случаях - только отдельными группами), а если указанные трансформаторы используются только для питания стационарного местного освещения - также от силовой сети, отвечающей требованиям п. 3.13 настоящих норм.

Допускается питание светильников переносного совещания также от переносных трансформаторов (см. также п. 3.9 настоящих норм).

3.77. Питание светильников, требующих применения напряжения 42 В и выше, должно производиться от трансформаторов с электрически раздельными обмотками первичного и вторичного напряжения.

Применение автотрансформаторов не допускается.

3.78. Трансформаторы, питающие светильники на напряжение до 42 В, должны быть защищены со стороны высшего напряжения защитными аппаратами на номинальный ток, по возможности близкий к номинальному току трансформатора. Защита должна быть предусмотрена также на отходящих линиях низшего напряжения на всех незаземленных проводах.

Если трансформаторы питаются отдельными группами от щитков и аппарат защиты на щитке обслуживает не более трех трансформаторов, то установка дополнительных аппаратов защиты со стороны высшего напряжения каждого трансформатора не обязательна.

ОПРЕДЕЛЕНИЕ НАГРУЗКИ И ВЫБОР СЕЧЕНИЙ ПРОВОДНИКОВ

3.79. Установленная мощность освещения определяется как сумма следующих составляющих:

а) мощность стационарных светильников, непосредственно или через ПРА, включенных на сетевое напряжение;

б) потери в ПРА для разрядных ламп, принимаемые в процентах мощности ламп:

20 - для люминесцентных ламп;

10 - для разрядных ламп высокого давления (типов ДРЛ, ДРИ, ДРИЗ. ДНаТ) мощностью до 250 Вт;

5 - мощностью 400 Вт и более;

в) номинальная мощность стационарных трансформаторов с вторичным напряжением до 42 В;

г) для административно-бытовых, инженерно-лабораторных, проектно-конструкторских и т.п. корпусов - мощность, потребляемая светильниками, включенными через штепсельные розетки, из расчета 40 Вт на каждую розетку.

3.80. Коэффициент спроса для расчета групповой сети рабочего освещения, освещения безопасности и эвакуационного принимается равным 1.

3.81. Расчетная нагрузка на вводе в здание, а также нагрузка линий питающей сети определяется умножением установленной мощности, подсчитанной согласно п. 3.79 настоящих норм, на коэффициент спроса. При отсутствии данных, основанных на специальных обследованиях, значение последнего следует принимать:

1 - для небольших производственных зданий:

1 - для линий, питающих отдельные групповые щитки;

0,95 - для производственных зданий, состоящих из отдельных крупных помещений;

0,95 - для производственных зданий, состоящих из многих отдельных помещений;

0,8 - для административно-бытовых, инженерно-лабораторных и аналогичных корпусов;

0,6 - для складских зданий, состоящих из многих отдельных помещений.

3.82. Расчетная нагрузка трансформаторов с «вторичным «напряжением 12-42 В определяется как сумма установленной мощности питаемых ими стационарных светильников и нагрузок переносного освещения.

Последняя определяется из расчета 40 Вт на штепсельную розетку с коэффициентом спроса 0,5-1 в зависимости от ожидаемой степени использования переносного освещения.

Для освещения, встроенного в электрические щиты, шкафы или камеры электрических распределительных устройств, расположенных рядами, нагрузка определяется исходя из одновременного производства работ в 2-3 панелях щитов, шкафов или камерах.

3.83. Наименьшие допустимые сечения жил кабелей и проводов по условиям величин номинальных токов аппаратов защити, пропускной способности (длительно допустимой токовой нагрузки) и механической прочности должны соответствовать требованиям ПУЭ [1].

3.84. Защита осветительных сетей должна осуществляться автоматическими выключателями (автоматами) или плавкими предохранителями.

Автоматы могут применяться трех, двух и однополюсные.

3.85. Трехполюсные автоматы должны предусматриваться для:

а) трехфазных линий питающей сети;

б) трехфазных групповых линий, питающих разрядные лампы высокого давления (типов ДРЛ, ДРИ, ДРИЗ, ДНаТ) в случаях, когда к линии присоединяется трехфазный конденсатор для повышения коэффициента мощности (см. п. 3.52 настоящих норм);

в) трехфазных групповых линий без нейтрали, питающих светильники между фазовым (линейным) напряжением 380 и 220 В:

г) трехфазных групповых линий напряжением 660/380 В, питающих светильники с разрядными лампами высокого давления типа ДРИ и ДРИЗ мощностью 250 Вт и выше;

д) трехфазных групповых линий напряжением выше 42 В при использовании автомата не только как аппарата защиты, но и в качестве аппарата управления и необходимости одновременного отключения всех светильников, питаемых линий (см. табл. 5 настоящих норм);

е) трехфазных линий, питающих трехфазные понижающие трансформаторы.

3.86. Двухполюсные автоматы должны предусматриваться для:

а) двухпроводных групповых линий, питающих светильники в помещениях со взрывоопасными зонами класса В-1;

б) двухпроводных групповых линий переменного и постоянного тока напряжением выше 42 В в помещениях с повышенной опасностью и особо опасных в случаях, когда оба провода линии являются не заземленными, а также при использовании автомата не только как аппарата защиты, но и как аппарата оперативного управления освещением (для одновременного отключения обоих проводов линии).

При отсутствии двухполюсных автоматов, в случаях, указанных в п.п. «а» и «б», могут использоваться трехполюсные автоматы.

3.87. Однополюсные автоматы применяются для защита:

а) при системах напряжения 380/220 и 220/127 В с заземленной нейтралью в одно, двух и трехфазных групповых линиях, питающих фазным напряжением светильники с лампами накаливания и люминесцентными лампами, а также разрядные лампы высокого давления (типов ДРЛ, ДНаТ. а также лампы ДРИ мощностью меньше 250 Вт) при отсутствии присоединенных к линии трехфазных конденсаторов для повышения коэффициента мощности;

б) для двухпроводных групповых линий постоянного тока напряжением не выше 220 В в случаях, когда автоматы не используются для оперативного управления освещением;

в) для трехфазных и двухфазных групповых линий напряжением 40 и 12 В, питаемых от трехфазных понижающих трансформаторов;

г) для двухпроводных групповых линий напряжением 40 и 12 В, питаемых от однофазных понижающих трансформаторов.

3.88. При системе напряжения 380/220 В с заземленной нейтралью трехфазные групповые линии с лампами ДРИ и ДРИЗ мощностью 250 Вт и выше, питаемые междуфазовым напряжением 380 В защищать однополюсными автоматами не следует. Для таких линий необходимо применять трехполюсные автоматы (см. рис. 2, б). Для двухфазных групповых линий, питающих указанные лампы при той же системе напряжения, могут применяться однополюсные автоматы при условии, что они не используются для оперативного управления освещением.

3.89. Допускается использовать однополюсные автоматы взамен трехфазных:

а) в отступление от указаний п. 3.84, в настоящих норм - для защиты трехфазных линий, питающих лампы накаливания междуфазным (линейным) напряжением 220 В и не использовании при этом автоматов для оперативного управления освещением;

б) в отступление от п. 3.85 для защиты трехфазных линий, питающих трехфазные понижающие трансформаторы.

3.90. Автоматы, используемые для защиты осветительных сетей, должны иметь обратно зависимые от тока характеристики расцепителя (у которых с возрастанием тока время отключения уменьшается); комбинированные (тепловые и электромагнитные) регулируемые и нерегулируемые; тепловые нерегулируемые.

Автоматы с комбинированными регулируемыми расцепителями, используются преимущественно для щитов низкого напряжения ТП. Автоматы, имеющие только электромагнитный мгновенно действующий расцепитель для осветительных сетей применять не следует.

3.91. Все осветительные сети должны иметь защиту от токов короткого замыкания, а в некоторых случаях также от перегрузки. Соотношения между наибольшими длительно допустимыми токовыми нагрузками проводников и номинальными токами уставок аппаратов защиты для сетей, защищаемых от коротких замыканий и от перегрузки при защите автоматами и плавкими предохранителями должны отвечать требованиям гл. 3.1 ПУЭ [1].

3.92. Защиту от перегрузки должны иметь:

а) сети внутри помещений, выполненные открыто проложенными проводами с горючей наружной оболочкой или изоляцией;

б) осветительные сети в жилых и общественных зданиях, в торговых помещениях, служебно-бытовых помещениях промышленных предприятий, включая сети для бытовых и переносных электроприемников (утюги, чайники, плитки, комнатные холодильники, пылесосы, стиральные и швейные машины и т.п.) при любых видах проводов, кабелей и способах прокладки;

в) во взрыво- и пожароопасных зонах при любых видах проводов и способах прокладки.

3.93. Номинальные токи уставок автоматов и плавких вставок предохранителей следует выбирать по возможности минимальными по расчетным токам защищаемых участков сети с учетом также требований п.п. 3.94 и 3.95 настоящих норм.

При этом сечения проводников, в зависимости от выбранных токов уставок аппаратов защиты, полоны выбираться в соответствии с требованиями ПУЭ [1].

3.94. При выборе номинальных токов уставок аппаратов защиты следует обеспечивать селективность защиты, для чего рекомендуется, чтобы каждый ближайший к источнику питания аппарат защиты имел номинальный ток уставки на 2 ступени выше, чем предшествующий ему со стороны потребителей аппарат.

Допускается минимальная разница на одну ступень.

Данное указание не относится к вводным автоматам групповых щитков, комбинированные расцепители которых следует выбирать на наибольший для данного типа аппарата ток в целях повышения устойчивости автомата к токам короткого замыкания и которые не предназначаются служить аппаратами защиты.

3.95. Для отстройки аппаратов защиты от пусковых токов источников света должны обеспечиваться отношения тока аппарата защиты 1з и расчетного рабочего тока защищаемой линии 1р, указанные в табл. 6.

3.96. Аппараты защиты должны устанавливаться в следующих пунктах осветительной сети:

а) в местах присоединения сети к источникам питания (распределительные щиты ТП, распределительные пункты, силовые магистрали и др., см. п.п. 3.28, 3.29 настоящих норм);

б) на входах в здания;

в) на групповых щитках (в начале групповых линий);

г) в местах уменьшения сечений проводников по направлению к потребителям энергии;

д) со стороны высшего и низшего напряжения понижающих трансформаторов 12-42 В (см п. 3.78 настоящих норм).

3.97. Аппараты защиты в осветительной сети допускается не предусматривать в следующих местах:

а) при снижении сечений по длине линии и на ответвлениях от нее, если защитный аппарат линии защищает также участок со сниженным сечением;

Таблица 6

Аппарат защиты

Отношение тока аппарата защиты к расчетному рабочему току линии (1з : 1р) не менее для ламп

накаливания

ДРЛ, ДРИ, ДРИЗ, ДНаТ

люминесцентных

Плавкие предохранители

1

1,2

1

Автоматические выключатели с тепловыми расцепителями, с уставками:

 

 

 

менее 50 А

1

1,4

1

50 А и выше

1

1

1

Автоматические выключатели с комбинированными расцепителями, с уставками:

 

 

 

менее 50 А

1,4

1,4

1

50 А и выше

1,4

1

1

б) при снижении сечения по длине лини и на ответвлениях от нее, если сниженное сечение не менее половины сечения начального участка линии;

в) в местах ответвлений от линии к электроприемникам малой мощности (светильники, бытовые электроприборы и т.п.), если питающая линия защищается аппаратом с уставкой не более 25 А - без ограничения длины ответвления и его сечения;

г) в местах ответвлений от линий к электроприемникам малой мощности (светильники, бытовые электроприборы и т. п.), если линия защищена аппаратом с уставкой более 25 А, но не более 63 А при длине до 3 м при любом способе прокладки и при прокладке в стальной трубе без ограничения длины.

3.98. Аппараты защиты должны устанавливаться непосредственно в местах присоединения защищаемых проводников к питающей линии. Допускается отнесение аппарата защиты от места ответвления на длину до 6 м и до 3 м при условии соблюдения требований, указанных в табл. 7.

При этом аппарат защиты должен устанавливаться в удобном для обслуживания месте (например, на вводе в распределительный пункт, групповой щиток, в ящик управления и др.).

3.99. Аппараты защиты (расцепители автоматов и плавкие предохранители) в сетях переменного и постоянного тока должны устанавливаться в цепях всех незаземленных проводников.

Уставка аппаратов защиты в нулевых заземленных проводниках запрещается за исключением нулевых проводников однофазных двухпроводных групповых линий, питающих светильники во взрывоопасных зонах класса В-1. Для таких линий установка аппарата защиты в нулевом заземленном проводнике является обязательной.

3.100. Расчет осветительных сетей по потере напряжения должен производиться исходя из уровня напряжения у наиболее удаленных ламп в соответствии с указаниями п. 3.10 настоящих норм.

Таблица 7

Длина ответвления от места его выполнения до аппарата защиты

Требования к выполнению ответвления

Область применения

Сечение проводников

Способ прокладки

До 6 м

Не менее сечения после аппарата защиты

Для проводников с горючей наружной оболочкой или изоляцией в стальных трубах, металлорукавах или коробах;

в остальных случаях (кроме кабельных сооружений, пожаро- и взрывоопасных зон) открыто по конструкциям при условии защиты проводников от возможных механических повреждений

Допускается там, где безусловно необходимо

До 30 м

Не менее сечения, определенного расчетным током, но не менее 10 % пропускной способности питающей линии

Допускается для ответвлений, выполняемых в трудно доступных местах (например, на большой высоте)

Рекомендуется выполнять одновременный комплексный расчет всех звеньев питающей и групповой сетей на общий минимум проводникового металла, а если питающая и групповая сеть проектируются в разное время, то при расчете первой по времени сети следует приближенно учитывать нагрузочные моменты второй.

3.101. Сети дистанционного управления освещением должны рассчитываться исходя из необходимости подведения к катушкам аппаратов дистанционного управления напряжением не ниже 85 % номинального.

3.102. При расчете сетей по потере напряжения допускается пренебрегать реактивным сопротивлением линий и пользоваться таблицами моментов нагрузки (кВт·м) в следующих случаях:

а) при cosj = 1 (лампы накаливания) - всегда;

б) при соsj = 0,9-0,85 (разрядные лампы с компенсацией реактивной мощности) - при проводке кабелями и проводами в трубах до сечения 70 (120) мм2 включительно, а при проводке на изолирующих опорах до сечения 6 (10) мм2 включительно.

В скобках указаны сечения алюминиевых жил, вне скобок - медных.

В остальных случаях реактивное сопротивление линий должно учитываться, и расчет следует производить по токовым моментам (А·м) или моментам нагрузки, но с введением соответствующих коэффициентов.

Во всех случаях при определении рабочего тока линии необходимо учитывать коэффициент мощности.

3.103. При расчете сети по потере напряжения линии питающей сети, как правило, рассматриваются как симметрично нагруженные, кроме тех случаев, когда проектом предусматривается неравномерная загрузка фаз.

В последних случаях расчетная потеря напряжения должна быть обеспечена для ламп наиболее нагруженной фазы, и либо сечения проводов различных фаз принимается различными (при открытой проводке или проводке в трубах, либо все они принимаются равными сечению наиболее нагруженного фазного провода, либо нулевая жила питающей линии используется в качестве фазного провода наименее нагруженной фазы, а одна из фазных жил - в качестве нулевого провода.

3.104. Двух- и трехфазные линии групповой сети при расчете по потере напряжения могут рассматриваться как симметрично нагруженные при условии приближенного равенства нагрузочных моментов всех фаз, входящих в линию, и при этом лишь для следующих линий:

а) питающих многоламповые светильники или блоки из нескольких светильников с равномерной загрузкой фаз в каждой точке присоединения нагрузки;

б) с присоединением светильников к различным фазам в порядке А, В, С, С, В, А - для трехфазных линий и А, В, В, А - для двухфазных линий;

в) с присоединением светильников к различным фазам в порядке А, В, С, А, В, С - для трехфазных линий при числе светильников не менее 9 и А, В, А, В - для двухфазных линий при числе светильников на менее 6.

Остальные линии, в том числе линии с присоединением светильников к различным фазам в порядке А, А...; Б, Б...; С, С... и линии, образованные объединением нулевых проводов нескольких совместно трассируемых групп с местными выключателями, рассчитываются как несимметрично нагруженные и их сечение выбирается применительно к указанным в п. 3.103 настоящих норм.

3.105. Сечения нулевых проводников в сетях с заземленной нейтралью должно отвечать требованиям, указанным в табл. 8.

ВЫПОЛНЕНИЕ СЕТИ

3.106. В осветительных сетях всех напряжений должны применяться провода и кабали с изоляцией, рассчитанной на номинальное напряжение сети.

Таблица 8

Линия

Требования к сечению нулевого рабочего проводника

1

2

Линии питающей сети

 

1. Трехфазная четырехпроволная линия, рассчитанная как симметрично нагруженная, питающая преимущественно:

Пропускная способность рабочего нулевого рабочего проводника должна быть:

а) ЛН

близкая к 50 % сечения фазного проводника

б) ЛЛ

не менее 100 % расчетного тока линии

в) РЛВД с некомпенсированными ПРА

близкая к 50 % сечения фазного проводника

г) РЛВД с компенсированными ПРА

на менее 100 расчетного тока линии

д) ЛЛ и ЛН

не менее суммы, состоящей из 100 % расчетного тока ЛЛ 50 % расчетного тока ЛН

е) ЛЛ и РЛВД с некомпенсированными ПРА

не менее суммы, состоящей из 100 % расчетного тока ЛЛ и 50 % расчетного тока РЛВД

ж) ЛЛ, РЛВД с компенсированными ПРА и ЛН

не менее суммы, состоящей из 100 % расчетного тока ЛЛ и РЛВД и 50 % расчетного тока ЛН

Линии групповой сети

2. Трехфазная четырехпроводная линия, питающая ЛН, рассчитанная как равномерно нагруженная:

 

а) с одновременным отключением фаз

Сечение рабочего нулевого проводника должно быть близким к 50 % сечения фазного проводника

б) с равномерным отключением фаз или с остановкой местных выключателей

Пропускная способность рабочего нулевого проводника должна быть близкой к расчетному току линии

3. Трехфазная четырехпроводная линия, питающая ЛН с неравномерной нагрузкой, с разновременным отключением фаз

Сечение рабочего нулевого проводника должно быть равно сечению фазного проводника наиболее нагруженной фазы

4. Трехфазная четырехпроводная линия, питающая ЛЛ, рассчитанная как равномерно нагруженная с одновременным или разновременным отключением фаз

Пропускная способность рабочего нулевого проводника должна быть близка к расчетному току линии

5. Трехфазная четырехпроводная линия, питающая РЛВД фазным напряжением в светильниках с некомпенсированными ПРА, рассчитанная как на одновременное, так и на разновременное отключение фаз

Сечение рабочего нулевого проводника должно быть близким к 50 % сечения фазного проводника

6. Трехфазная четырехпроводная линия, питающая РЛВД фазным напряжением в светильниках с компенсированными ПРА, рассчитанная как симметрично нагруженная, при одновременном или разновременном отключений фаз

Пропускная способность рабочего нулевого проводника должна быть близкой к расчетному току линии

7. Трехфазная четырехпроводная линия, питающая РЛВД фазным напряжением в светильниках с некомпенсированными ПРА, с одновременным отключением всех фаз и дополнительным подключением к групповой линии у щитка трехфазного конденсатора для повышения коэффициентов мощности*

Сечение рабочего нулевого проводника должно быть близким к 50 % сечения фазного проводника

8. Многофазная многопроводная линия с общим нулевым проводником, питающая любые источники света, с разновременным отключением фаз или имеющая местные выключатели в фазных проводниках

Пропускная способность рабочего нулевого проводника должна быть не менее суммы расчетных токов проводников наиболее нагруженных фаз

9. Двухфазная трехпроводная линия симметрично и несимметрично нагруженная, питающая любые источники света

Сечение рабочего пулевого проводника должно быть равно сечению фазного проводника наиболее нагруженной фазы

10. Однофазная двухпроводная линия, питающая любые источники света

Сечения рабочего нулевого рабочего проводника должно быть равно сечению фазного проводника

* См. п. 3.52 настоящих норм.

ПРИМЕЧАНИЯ. 1. К разрядным лампам высокого давления (РЛВД) относятся лампы типов ДРЛ, ДРИ, ДРИЗ, ДНаТ.

2. Уменьшать сечение рабочего нулевого проводника существенно ниже половины сечения фазных проводников ни для питающих, ни для групповых линий не следует.

Не следует также повышать сечения нулевого рабочего проводника питающих и групповых линий больше сечения фазных проводников.

3. Компенсированными и некомпенсированными ПРА считаются: компенсированными - ПРА для одноламповых светильников с ЛЛ и РЛВД, у которых коэффициент мощности равен 0,85, или около этого для двухламповых светильников с ЛЛ - 0,9 или около этого: не компенсированными - ПРА, у которых коэффициент мощности для светильников с РЛВД равен около 0,5 или ниже.

4. В качестве рабочей нулевой жилы для линий питающей и групповой сетей при заземленной нейтрали разрешается использовать алюминиевую оболочку трехжильного кабеля (кроме взрывоопасных зон) при условии ее нагрузки током не более, чем на 75 % допустимого тока на фазную жилу кабеля.

5. При питании освещения от трансформаторов с изолированной нейтралью напряжением 220/127 В или без нейтрали напряжением 3 х 220 В предусматривается заземление светильников и других металлических нетоковедущих частей осветительной установки. В таких случаях в групповых линиях предусматриваются заземляющие защитные проводники, сечение которых рекомендуется принимать близким к половине сечения рабочих проводников линии или равным ему.

Нулевые рабочие проводники должны иметь изоляцию, равноценною изоляции фазных проводников.

В питающих сетях (за исключением линий, питающих освещение помещений со взрывоопасными зонами), допускается использовать в сетях с заземленной нейтралью в качестве нулевых рабочих проводников алюминиевые оболочки кабелей, которые могут нагружаться током, не превышающим 75 % тока, допустимого для фазной жилы.

3.107. При напряжении сети не выше 42 В в производственных помещениях с нормальными условиями среды допускается использовать в качестве одного из рабочих проводников стальные трубы и тросы электропроводок, открыто проложенные металлические конструкции зданий, производственного оборудования и механизмов.

3.108. В осветительных сетях следует, как правило, применять провода и кабели с алюминиевыми жилами. Провода и кабели с медными жилами должно применяться:

а) для присоединения передвижных и переносных светильников;

б) в помещениях со средой, химически активной по отношению к алюминию;

в) в помещениях со взрывоопасными зонами классов В-1 и В-1а;

г) для прокладки по основаниям, подверженным вибрациям;

д) для зарядки светильников с лампами накаливания и разрядными лампами высокого давления (типов ДРЛ, ДРИ, ДРИЗ, ДНаТ), если вводимые в светильники проводники присоединяются непосредственно к контактным зажимам ламповых патронов;

е) провода и кабели при непосредственной подвеске на них светильников;

ж) для открытой прокладки проходов на чердаках.

3.109. Применяемые в осветительных сетях виды электропроводок должны обеспечивать их надежную и долговременную работу в данных условиях среды, обладать достаточной механической прочностью и по возможности наглядностью и доступностью для обслуживания.

3.110. Следует наиболее широко применять электропроводки, допускающие выполнение электромонтажных работ индустриальными методами: самонесущие провода, тросовые и струнные проводники, прокладка кабелей и проводов на лотках и в коробах, магистральные, распределительные и осветительные шинопроводы.

Применение прокладки проводов на изолирующих опорах (кроме прокладки в виде перекидок между фермами) следует ограничивать, допуская ее, как правило, только для временных установок и сельскохозяйственных объектов.

3.111. В зданиях и помещениях административно-конструкторских, проектно-конструкторских, лабораторных, а также в производственных помещениях с особым режимом по чистоте следует, как правило, применять скрытую электропроводку.

3.112. Следует строго ограничивать применение электропроводок в стальных трубах и предусматривать их, как правило, лишь в помещениях со взрывоопасными зонами классов В-I и В-II и за подвесными потолками из горючих материалов.

3.113. Для прокладки в трубах следует, как правило, применять одножильные провода.

3.114. Для прокладки осветительных сетей используются стальные и пластмассовые трубы.

Стальные водогазопроводные трубы по ГОСТ 3262-75 обыкновенные применяются во взрывоопасных зонах, легкие - в пожароопасных зонах, стальные электросварные трубы по ГОСТ 10701-76 - во всех остальных случаях.

Пластмассовые трубы применяются: трудносгораемые не пластифицируемые (жесткие) поливинилхлоридные (ПВХ); сгораемые полиэтиленовые (ПЭ) и полипропиленовые (ПП). Для открытой прокладки могут использоваться только ПВХ трубы, для скрытой ПВХ, ПЭ и ПП трубы.

3.115. Электропроводку за подвесными и подшивными потолками из несгораемых и трудно сгораемых материалов следует выполнять в ПВХ трубах, из сгораемых материалов - в стальных трубах.

Электропроводка за подвесными потолками из несгораемых и трудносгораемых материалов может выполняться также открыто прокладываемыми за подвесным потолком кабелями при условии возможности их замены.

3.116. Прокладка осветительной сети внутри сборных гипсокартонных перегородок с каркасом из несгораемых и трудно сгораемых материалов должна выполняться проводами в ПВХ трубах или непосредственно кабелем без труб или кабелем в ПЭ и ПП трубах. В перегородках с деревянным каркасом проводка должна выполняться проводами в стальных трубах или гибких металлорукавах.

3.117. При прокладке в стальных и других механически прочных трубах, а также в металлорукавах, коробах, лотках и замкнутых каналах строительных конструкций зданий рекомендуется совместная прокладка проводов и кабелей (за исключением взаиморезервируемых, см. п. 3.118 настоящих норм):

а) цепей, питающих сложный светильник;

б) цепей нескольких групп одного вида освещения с общим числом проводников в одной трубе не более 8;

в) линий напряжением до 42 В вместе с линиями напряжением до 380 В при условии заключения первых в отдельную изолированную трубку,

3.118. Линии освещения безопасности или эвакуационного освещения допускается прокладывать как независимо от линий рабочего освещения (по строительным основаниям, на тросах и т.п.), так и в частичное отступление от требований п. 3.117 настоящих норм, следующими способами:

а) по внешней поверхности корпусов осветительных шинопроводов рабочего освещения;

б) в одном с проводами рабочего освещения коробе для установки светильников с люминесцентными лампами при условии невозможности соприкосновения проводников рабочего освещения и освещения безопасности (эвакуационного);

в) совместно с проводами рабочего освещения в корпусах светильников с люминесцентными лампами, если таковые предназначены для прокладки питающих проводов и при условии невозможности соприкосновения проводников рабочего освещения и освещения безопасности (эвакуационного);

г) на общих с проводниками рабочего освещения тросах или струнах с расстоянием в свету между проводниками рабочего освещения и освещения безопасности (эвакуационного) не менее 20 мм.

В случаях, указанных в подпунктах «б» - «г» кабели и провода должны иметь изоляцию на напряжение не ним 660 В.

3.119. Для зарядки светильников с лампами накаливания и разрядными лампами высокого давления (типов ДРЛ, ДРИ, ДРИЗ, ДНаТ) мощностью выше 100 Вт в случаях, когда вводимые в светильники проводники непосредственно присоединяются к клеммным зажимам ламповых патронов (а не к зажимам контактных колодок или к контактным зажимам, встроенным в светильник штепсельных разъемов), должны, как правило, применяться провода с нагревостойкой изоляцией.

3.120. Для крепления светильников, пускорегулирующих аппаратов, проводов и других элементов осветительной установки следует предусматривать узлы индустриального изготовления.

3.121. Штепсельные розетки, устанавливаемые в запираемых складских помещениях, содержащих горючие материалы или материалы в горючей упаковке, должны иметь степень защиты не ниже 1Р44.

3.122. Выключатели и штепсельные розетки, устанавливаемые скрыто, должны быть заключены в коробки, специальные кожухи или размещаться в отверстиях железобетонных панелей, образованных при изготовлении панелей на заводах стройиндустрии. Применение сгораемых материалов для изготовления крышек, закрывающих отверстия в панелях, не допускается.

3.123. Применение для рабочего освещения и освещения безопасности (и, или эвакуационного) освещения общих групповых щитков (хотя бы с секционированными шинами), а также установка аппаратов дистанционного управления обоими видами освещения (за исключением сигнальных ламп и ключей управления) в общих шкафах запрещается.

3.124. Устанавливаемые в пределах одного здания штепсельные розетки на напряжение 127-220 В и 12-42 В должны иметь конструктивные различия, исключающие возможность включения электроприемника на несоответствующее напряжение, что может достигаться применением для разных напряжений розеток и вилок с различным расположением плоских контактов или с различным типом контактов (цилиндрическими или плоскими).

3.125. Для присоединения переносных электроприемников, требующих зануления или заземления, должны применяться штепсельные розетки и вилки с защитным контактом.

ЗАНУЛЕНИЕ И ЗАЗЕМЛЕНИЕ

3.126. Зануление или заземление металлических нетоковедущих частей осветительных установок должно предусматриваться:

а) зануление в сетях переменного тока с заземленной нейтралью напряжением более 42 В до 660 В и в сетях постоянного тока напряжением более 110 В до 440 В с заземленной средней точкой или с заземленным одним из выводов;

б) заземление - в сетях переменного тока с изолированной нейтралью (или без выведенной нейтрали) и в сетях постоянного тока напряжением более 110 В до 220 В с изолированными выводами.

В осветительных установкам взрывоопасных зон всех классов зануление или заземление должно предусматриваться при всех величинах напряжения (в том числе 42 В и менее переменного тока и 110 В и менее постоянного тока).

3.127. Зануление и заземление необходимо предусматривать в осветительных установках помещений с повышенной опасностью, особо опасных и в наружных осветительных установках.

3.128. В сетях переменного тока с заземленной нейтралью в качестве зануляющего проводника в питающей и групповой сетях используется рабочий нулевой проводник.

3.129. В групповых сетях переменного тока с заземленной нейтралью зануление светильников следует осуществлять:

а) во взрывоопасных зонах класса В-1 - самостоятельные проводником, начиная от группового щитка (см. рис. 1, б и табл. 4);

б) во взрывоопасных зонах классов В-Iа, В-Iб, В-II, В-IIа, В-Iг - самостоятельным проводником, начиная от ближайшей к светильнику ответвительной коробки;

в) при вводе в светильник изолированных незащищенных проводов, тросовых электропроводках кабелем и тросовым самонесущим проводом, изолированным незащищенным проводом на изолирующих опорах - гибким проводом, начиная от ближайшей к светильнику неподвижной опоры или ответвительной коробки;

г) при вводе в светильники с лампами накаливания, люминесцентными лампами, разрядными лампами высокого давления со встроенными внутрь светильника ПРА кабеля, изолированных проводов в трубах, металлорукава или при скрытой электропроводке - ответвлением от рабочего нулевого провода внутри светильника;

д) при светильниках с разрядными лампами высокого давления с независимыми (вынесенными из светильника) ПРА - самостоятельным проводником, начиная от вводимого в ПРА рабочего нулевого провода.

3.130. Однофазные групповые линии, питающие светильники общего освещения и двухполюсные штепсельные розетки с защитным контактом, устанавливаемые в помещениях административно-бытовых, конторских, проектно-конструкторских, лабораторных при системах напряжения 380/220 В и 220/127 В с заземленной нейтралью, должны быть трехпроводными, состоящими из фазного проводника, присоединяемому к групповому щитку через аппарат защиты (автомат, плавкий предохранитель), нулевого рабочего и нулевого защитного проводников. При этом присоединение к щитку нулевого рабочего и нулевого защитного проводников под общий контактный зажим не допускается (см. также п. 3.49 настоящих норм).

3.131. Трехфазные и двухфазные групповые линии, питающие светильники общего освещения и двухполюсные штепсельные розетки с защитным контактом, установленные в помещениях административно-бытовых, конторских, проектно-конструкторских, лабораторных при системах напряжения 380/220 В и 220/127 В с заземленной нейтралью (см. п. 3.49 настоящих норм) должны быть соответственно пяти и четырехпроводными, имеющими 3 или 2 фазных проводника, присоединяемых на групповом щитке через однополюсные аппараты защиты (автоматы или плавкие предохранители) и нулевого рабочего и нулевого защитного проводников. При этом присоединение к щитку нулевого рабочего и нулевого защитного проводников под общий контактный зажим не допускается.

3.132. В групповых сетях постоянного тока с заземленной средней точкой или с одним из заземленных выводов зануление светильников следует осуществлять самостоятельным проводником, начиная от группового щитка.

Заземляющий проводник рекомендуется прокладывать вместе с рабочими проводниками групповой линии.

3.133. В групповых линиях переменного тока с изолированной нейтралью (или без нейтрали) и в групповых линиях постоянного тока без заземленных выводов заземление светильников следует осуществлять самостоятельным проводником, начиная от группового щитка.

Заземляющий проводник рекомендуется прокладывать вместе с рабочими проводниками групповой линии.

3.134. В административно-конторских помещениях, бытовых, инженерных, лабораторных корпусах, медицинских лечебных заведениях, в общественных и жилых зданиях должны предусматриваться двухполюсные штепсельные розетки с третьим защитным контактом для зануления или заземления однофазных переносных бытовых электроприборов, настольных средств оргтехники, электромедицинских приборов и т.п. электроприемников напряжением выше 42 В, имеющих металлические корпуса (см. также п.п. 3.130, 3.131 настоящих норм).

В случаях, когда конструкция принимаемых к установке двухполюсных штепсельных розеток с защитным контактом не позволяет включать в них двухполюсную вилку без защитного контакта, следует предусматривать совместную установку розетки с защитным контактом и, без него. При исчислении количества розеток, присоединяемых к одной фазе групповой линии по табл. 4 настоящих норм такая пара розеток условно принимается за одну розетку.

3.135. Металлические отражатели светильников, укрепленные на корпусах из изолирующих материалов, занулять и заземлять не требуется.

3.136. Зануление или заземление корпусов светильников местного освещения на напряжение выше 42 В должно отвечать следующим требованиям:

а) если между кронштейном и корпусом светильника нет надежного электрического соединения, то оно должно быть осуществлено при помощи специально предназначенного для этой цели проводника;

б) если защитный проводник присоединяется не к корпусу светильника, а к металлической конструкции, на которой светильник укреплен, то между этой конструкцией, кронштейном и корпусом светильника должно быть надежное электрическое соединение;

в) подводка к светильнику в пределах рабочего места должна быть выполнена в трубах или гибких рукавам.

3.137. Зануление и заземление металлических корпусов переносных светильников при напряжении выше 42 В, используемых в помещениях с повышенной опасностью, особо опасных и в наружных установках, должно отвечать следующим требованиям:

а) штепсельные розетки, предназначенные для присоединения таких светильников, должны иметь защитный контакт;

б) зануляющие и заземляющие контактные зажимы штепсельных розеток должны присоединяться к самостоятельным защитным проводникам, как указано в п.п. 3.130, 3.131, 3.132, 3.133 настоящих норм;

в) гибкий кабель переносного светильника должен быть трехжильным. При этом одна из жил предназначается для зануления или заземления, и она не должна использоваться для подвода рабочего тока.

3.138. Для исключения опасности поражения током при замыканиях между обмотками высшего и низшего напряжения понижающих трансформаторов следует занулять или заземлять корпус трансформатора и один из выводов или нейтраль (среднюю точку вторичной обмотки).

ПРИНЯТЫЕ СОКРАЩЕНИЯ

ГЛН - галогенные лампы накаливания

ДНаТ - дуговые натриевые лампы высокого давления

ДРИ - дуговые ртутные металлогалогенные лампы

ДРИЗ - дуговые ртутные металлогалогенные зеркальные лампы

ДРЛ - дуговые ртутные лампы с люминофором

ЛЛ - люминесцентные лампы

ЛН - лампы накаливания

НЛВД - натриевые лампы высокого давления

ПРА - пускорегулирующий аппарат

ПУЭ - Правила устройства электроустановок

РЛВД - разрядные лампы высокого плавления

СНиП - Строительные нормы и правила

ТП - трансформаторная подстанция

СПИСОК ЛИТЕРАТУРЫ

[1]. Правила устройства электроустановок (ПУЭ). Издание 6. М. Энергоатомиздат. 1966, 648 с.

[2]. СНиП II-4-79. Естественное и искусственное освещение. Нормы проектирования (с изменениями). «Светотехника», 1991, № 5, с. 1-31.

[3]. СНиП 23-05-95. Естественное и искусственное освещение.

[4]. Правила устройства электроустановок. (Седьмое издание). Раздел 6 (проект). Электрическое освещение. Инструктивные и информационные материалы по проектированию промышленных электроустановок ВНИПИ Тяжпромэлектропроект, 1994, № I, с. 3; № 2, с.3.

[5]. Правила устройства электроустановок (Седьмое издание). Глава 7.1 (проект). Электроустановки жилых и общественных зданий. Окончательная редакция. Инструктивные и информационные материалы по проектированию промышленных электроустановок ВНИПИ Тяжпромэлектропроект, 1995, № 2, с. 3.

[6]. Рекомендации по проектированию освещения помещений во взрывоопасных зонах. Работа шифр М4169, АО ВНИПИ Тяжпромэлектропроект, 1994, 69 листов.

[7]. Рекомендации по освещению наружных установок во взрывоопасных зонах. Работа шифр М4166, ВНИПИ Тяжпромэлектропроект, 1993, 26 листов.

[8]. Профилактическое ультрафиолетовое облучение людей. Методические указания. «Светотехника», 1989, № 5, с. 1.

[9]. Указания по проектированию и расчету ультрафиолетовых облучательных установок длительного действия «Светотехника». 1989, № 11, с. 22.

[10]. Указания по проектированию, расчету и эксплуатации фотариев. «Светотехника», 1989, № 9, с. 29.

[11]. СНиП 1.02.01-85. Инструкция о составе, порядке разработки, согласования и утверждения проектно-сметной документации на строительство предприятий, зданий и сооружений.

[12]. ГОСТ 21.608-84. Внутреннее электрическое освещение. Рабочие чертежи.

[13]. Методика (основные положения) определения экономической эффективности использования в народном хозяйстве новой техники, изобретений и рационализаторских предложений. М. Экономика, 1977, 48 с.

[14]. ГОСТ 17677-82. Светильники. Общие технические условие.

[15]. ГОСТ 14254-80. Изделия электротехнические. Оболочки. Степени защиты.

[16]. ГОСТ 15150-69. Машины, приборы и другие технические изделия. Исполнения для различных климатических районов. Категории, условия эксплуатации, хранения и транспортировки в части воздействия климатических факторов.

[17]. Ю.Б. Айзенберг, Г.Б. Бухман, В.М. Пятигорский. Новый принцип внутреннего освещения осветительными устройствами со щелевыми световодами. «Светотехника», 1976, № 2, с. 1.

[18]. Ю.Б. Айзенберг, Г.Б. Бухман, С.А. Клюев. Применение комплектных осветительных устройств со щелевыми световодами во взрывоопасных зонах. «Светотехника». 1988, № 4, с.28.

[19]. А.А. Коробко. Коэффициенты использования осветительных установок со щелевыми световодами. «Светотехника», 1988, № 8, с. 26.

[20]. Опыт проектирования осветительных установок со щелевыми световодами. Работа шифр 1511-502. Ротопринт Киевского отделения УГППКИ Тяжпромэлектропроект, 1986, 105 листов.

[21]. Серия 5.407.93. Конструктивные узлы комплектных осветительных устройств (КСУ) со щелевыми световодами для промышленных помещений с нормальными условиями среды и пожароопасными зонами. Выпуск 0 - материалы для проектирования; выпуск 1 - чертежи монтажные, выпуск 2 - чертежи изделий.

[22]. Серия 5.407.94. Конструктивные узлы комплектных осветительных устройств (КСУ) со щелевыми световодами в промышленных помещениях со взрывоопасными зонами. Выпуск 0 -материалы для проектирования; выпуск 1 - чертежи монтажные, выпуск 2 - чертежи изделий.

[23]. ГОСТ 13109-87. Электрическая энергия. Требования к качеству электрической энергии и электрических сетей общего назначения.

[24]. С.А. Клюев. Повышение коэффициента мощности в осветительных установках с разрядными лампами высокого давления. «Светотехника», 1986. № 9, с. 25.

СОДЕРЖАНИЕ

ВВЕДЕНИЕ

1. ОБЩИЕ УКАЗАНИЯ

2. СВЕТОТЕХНИЧЕСКАЯ ЧАСТЬ ПРОЕКТА.

ОСВЕЩЕННОСТЬ И КАЧЕСТВО ОСВЕЩЕНИЯ

ВИДЫ ОСВЕЩЕНИЯ

СИСТЕМЫ ОСВЕЩЕНИЯ

ВЫБОР ИСТОЧНИКОВ СВЕТА

РАЗМЕЩЕНИЕ СВЕТИЛЬНИКОВ

СПОСОБЫ ДОСТУПА К СВЕТИЛЬНИКАМ*

ТРЕБОВАНИЯ К КРЕПЛЕНИЯМ СВЕТИЛЬНИКОВ

СВЕТОТЕХНИЧЕСКИЙ ВЫБОР СВЕТИЛЬНИКОВ

ВЫБОР СВЕТИЛЬНИКОВ ПО ИХ КОНСТРУКТИВНОМУ ИСПОЛНЕНИЮ

РАСЧЕТ ОСВЕЩЕНИЯ

ОСВЕЩЕНИЕ ПОМЕЩЕНИЙ ЩЕЛЕВЫМИ СВЕТОВОДАМИ

3. ЭЛЕКТРОТЕХНИЧЕСКАЯ ЧАСТЬ ПРОЕКТА НАПРЯЖЕНИЯ

ИСТОЧНИКИ ПИТАНИЯ

ПИТАЮЩАЯ СЕТЬ

ГРУППОВАЯ СЕТЬ

ОПРЕДЕЛЕНИЕ НАГРУЗКИ И ВЫБОР СЕЧЕНИЙ ПРОВОДНИКОВ

ВЫПОЛНЕНИЕ СЕТИ

ЗАНУЛЕНИЕ И ЗАЗЕМЛЕНИЕ

ПРИНЯТЫЕ СОКРАЩЕНИЯ

СПИСОК ЛИТЕРАТУРЫ

 

 




ГОСТЫ, СТРОИТЕЛЬНЫЕ и ТЕХНИЧЕСКИЕ НОРМАТИВЫ.
Некоммерческая онлайн система, содержащая все Российские Госты, национальные Стандарты и нормативы.
В Системе содержится более 150000 файлов нормативно-технической документации, действующей на территории РФ.
Система предназначена для широкого круга инженерно-технических специалистов.

Рейтинг@Mail.ru Яндекс цитирования

Copyright © www.gostrf.com, 2008 - 2026