Крупнейшая бесплатная информационно-справочная система онлайн доступа к полному собранию технических нормативно-правовых актов РФ. Огромная база технических нормативов (более 150 тысяч документов) и полное собрание национальных стандартов, аутентичное официальной базе Госстандарта. GOSTRF.com - это более 1 Терабайта бесплатной технической информации для всех пользователей интернета. Все электронные копии представленных здесь документов могут распространяться без каких-либо ограничений. Поощряется распространение информации с этого сайта на любых других ресурсах. Каждый человек имеет право на неограниченный доступ к этим документам! Каждый человек имеет право на знание требований, изложенных в данных нормативно-правовых актах!

  


 

ГОСУДАРСТВЕННЫЙ СТАНДАРТ СОЮЗА ССР

ДЕТАЛИ КРЕПЛЕНИЯ ТРУБОПРОВОДОВ

СКОБЫ ОДНОМЕСТНЫЕ

Конструкция и размеры

ГОСТ 24133-80

ИЗДАТЕЛЬСТВО СТАНДАРТОВ

Москва

ГОСУДАРСТВЕННЫЙ СТАНДАРТ СОЮЗА ССР

Детали крепления трубопроводов

СКОБЫ ОДНОМЕСТНЫЕ

Конструкция и размеры

Pipe-line fastening parts.
Single-seat cramps.
Design and dimensions

ГОСТ
24133-80

Взамен
ГОСТ 16686-71

Постановлением Государственного комитета СССР по стандартам от 25 апреля 1980 г. № 1891 срок введения установлен

с 01.01.81

Ограничение срока действия отменено, ИУС II-12-94

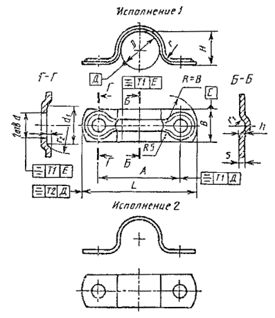
1. Настоящий стандарт распространяется на одноместные скобы диаметром D от 6 до 150 мм.

2. Конструкция и размеры одноместных скоб должны соответствовать указанным на чертеже и в таблице.

Примечания:

1. Все размеры, кроме размеров В и s, обеспечиваются инструментом.

2. Отклонение от центра радиуса R относительно оси поверхности Е не должно быть более 1 мм.

Размеры, мм

D

А ± 0,5

B ´ s для исполнений

Н

L

d

h14

d1

h

r

r1

r2

Масса 1000 шт., кг, для исполнений

применяемость для исполнений

1

2

1

2

1

2

6

24

16 ´ 1,0

16 ´ 2

5

40

5,8

9

1,0

3

2

10

5,3

10,6

 

 

8

26

6

42

5,7

11,4

 

 

10

28

8

44

6,4

12,8

 

 

12

30

10

46

7,0

14,0

 

 

14

38

18 ´ 1,6

18 ´ 3

12

56

7,0

10

1,4

5

3

15,4

28,8

 

 

16

40

14

58

16,6

31,0

 

 

18

42

16

60

17,7

33,1

 

 

20

45

18

63

19,1

35,7

 

 

22

52

22 ´ 1,6

22 ´ 3

20

74

9,0

14

26,6

49,7

 

 

25

55

22

77

28,3

52,9

 

 

28

58

24

80

29,9

55,9

 

 

32

62

28

84

32,7

61,1

 

 

36

65

32

87

35,3

66,0

 

 

40

75

30 ´ 2,0

30 ´ 3

35

105

2,0

6

4

16

71,1

106,7

 

 

45

78

40

108

76,3

114,5

 

 

50

85

45

115

83,2

124,8

 

 

55

90

50

120

11,0

16

2

88,3

132,5

 

 

60

95

55

125

91,3

141,5

 

 

65

105

60

135

102,7

154,1

 

 

70

110

-

60

140

-

-

-

-

-

156,6

 

 

75

115

65

145

165,1

 

 

80

125

30 ´ 4

70

155

13,0

234,7

 

 

85

130

75

160

246.7

 

 

90

135

80

165

253,9

 

 

95

140

85

170

270,9

 

 

100

145

90

175

283,1

 

 

105

150

95

180

295,2

 

 

110

155

100

185

307,3

 

 

115

170

40 ´ 4

105

210

17,0

452,6

 

 

120

170

110

210

456,9

 

 

125

180

115

220

479,0

 

 

130

180

120

930

489,0

 

 

135

190

125

230

511,6

 

 

140

190

130

230

521,7

 

 

145

200

135

240

513,8

 

 

150

200

140

240

553,7

 

 

Пример условного обозначения одноместной скобы пополнения 1 D = 25 мм из стали марки 20 с покрытием Ц9.хр:

Скоба 1- 25- 20-Ц9.хр ГОСТ 24133-80

То же, исполнения 2 из стали марки 12Х18Н10Т с покрытием Хим. Пас.;

Скоба 2-25-12Х18Н10Т-Хим. Пас. ГОСТ 24133-80

3. Технические требования - по ГОСТ 24140-80.

 




ГОСТЫ, СТРОИТЕЛЬНЫЕ и ТЕХНИЧЕСКИЕ НОРМАТИВЫ.
Некоммерческая онлайн система, содержащая все Российские Госты, национальные Стандарты и нормативы.
В Системе содержится более 150000 файлов нормативно-технической документации, действующей на территории РФ.
Система предназначена для широкого круга инженерно-технических специалистов.

Рейтинг@Mail.ru Яндекс цитирования

Copyright © www.gostrf.com, 2008 - 2026