Крупнейшая бесплатная информационно-справочная система онлайн доступа к полному собранию технических нормативно-правовых актов РФ. Огромная база технических нормативов (более 150 тысяч документов) и полное собрание национальных стандартов, аутентичное официальной базе Госстандарта. GOSTRF.com - это более 1 Терабайта бесплатной технической информации для всех пользователей интернета. Все электронные копии представленных здесь документов могут распространяться без каких-либо ограничений. Поощряется распространение информации с этого сайта на любых других ресурсах. Каждый человек имеет право на неограниченный доступ к этим документам! Каждый человек имеет право на знание требований, изложенных в данных нормативно-правовых актах!

  


 

ГОСУДАРСТВЕННЫЙ СТАНДАРТ СОЮЗА ССР

ДЕТАЛИ КРЕПЛЕНИЯ ТРУБОПРОВОДОВ

СКОБЫ ДВУХМЕСТНЫЕ

Конструкция и размеры

ГОСТ 24134-80

ИЗДАТЕЛЬСТВО СТАНДАРТОВ

Москва

ГОСУДАРСТВЕННЫЙ СТАНДАРТ СОЮЗА ССР

Детали крепления трубопроводов

СКОБЫ ДВУХМЕСТНЫЕ

Конструкция и размеры

Pipe-line fastening parts.
Double-seat cramps.
Design and

ГОСТ
24134-80

Взамен
ГОСТ 16688-71

Постановлением Государственного комитета СССР по стандартам от 25 апреля 1980 г. № 1891 срок введения установлен

с 01.01.81

Ограничение срока действия отменено, ИУС II-12-94

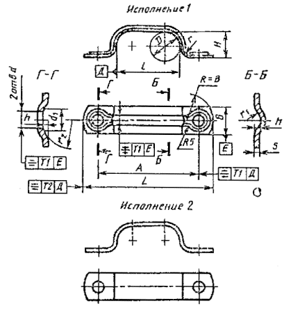
1. Настоящий стандарт распространяется на двухместные скобы диаметром D от 4 до 110 мм.

2. Конструкция и размеры двухместных скоб должны соответствовать указанным на чертеже и в таблице.

Примечания:

1. Все размеры, кроме размеров В и s, обеспечиваются инструментом.

2. Отклонение от центра радиуса R относительно оси поверхности Е не должно быть более 1 мм.

Размеры, мм

D

A ± 0,5

b ´ s для исполнений

Н

L

d

H14

d1

h

l

r

r1

r2

Масса 1000 шт., кг, для исполнения

Применяемость для исполнений

1

2

Номин.

Пред. откл.

1

2

1

2

4

26

16 ´ 1,0

16 ´ 1,6

3

42

5,8

9

1,0

8

±0,6

3

2

10

5,2

8,3

 

 

5

27

4

43

10

5,5

8,8

6

32

16 ´ 2,0

5

48

12

6,2

12,4

8

34

6

50

16

6,7

13,4

10

38

8

54

20

7,6

15,2

12

42

10

58

24

8,5

17,0

14

52

18 ´ 1,6

18 ´ 3

12

70

7,0

10

1,4

28

5

3

18,6

34,8

16

56

14

74

32

20,0

37,4

18

60

16

78

36

21,8

40,8

20

65

18

83

41

23,6

44,1

22

75

22 ´ 1,6

22 ´ 3

20

97

9,0

14

45

32,9

61,5

 

 

25

85

22

104

55

36,6

68,4

28

90

24

112

60

38,7

72,4

32

100

28

122

70

43,2

80,8

36

105

32

127

75

46,3

86,6

40

120

30 ´ 2,0

30 ´ 3

35

150

2,0

85

6

4

16

92,2

138,3

45

130

40

160

95

100,7

151,0

50

140

45

170

105

109,0

163,5

55

150

50

180

11,0

16

115

±1,0

116,5

174,8

60

160

55

190

125

124,8

187,2

65

170

60

200

135

133,2

199,8

70

185

-

60

215

 

145

-

-

-

209,8

75

195

65

225

155

221,9

80

215

30 ´ 4

70

245

13,0

-

165

319,3

85

230

75

260

175

340,7

90

240

80

270

185

357,6

95

250

85

280

195

374,3

100

200

90

290

205

391,2

105

270

95

300

215

408,0

110

280

100

310

225

424,8

Пример условного обозначения двухместной скобы исполнения 1 D = 20 мм из стали марки 20 с покрытием Кд15.хр:

Скоба 1-20-20-Кд15.хр ГОСТ 24134-80

То же, исполнения 2 из стали марки 12Х18Н10Т с покрытием Хим. Пас.:

Скоба 2-20-12Х18Н10Т-Хим.Пас. ГОСТ 24134-80

3. Технические требования - по ГОСТ 24140-80.

 




ГОСТЫ, СТРОИТЕЛЬНЫЕ и ТЕХНИЧЕСКИЕ НОРМАТИВЫ.
Некоммерческая онлайн система, содержащая все Российские Госты, национальные Стандарты и нормативы.
В Системе содержится более 150000 файлов нормативно-технической документации, действующей на территории РФ.
Система предназначена для широкого круга инженерно-технических специалистов.

Рейтинг@Mail.ru Яндекс цитирования

Copyright © www.gostrf.com, 2008 - 2026