Крупнейшая бесплатная информационно-справочная система онлайн доступа к полному собранию технических нормативно-правовых актов РФ. Огромная база технических нормативов (более 150 тысяч документов) и полное собрание национальных стандартов, аутентичное официальной базе Госстандарта. GOSTRF.com - это более 1 Терабайта бесплатной технической информации для всех пользователей интернета. Все электронные копии представленных здесь документов могут распространяться без каких-либо ограничений. Поощряется распространение информации с этого сайта на любых других ресурсах. Каждый человек имеет право на неограниченный доступ к этим документам! Каждый человек имеет право на знание требований, изложенных в данных нормативно-правовых актах!

  


 

ГОСУДАРСТВЕННЫЙ СТАНДАРТ СОЮЗА ССР

ДЕТАЛИ КРЕПЛЕНИЯ ТРУБОПРОВОДОВ

СКОБЫ ЧЕТЫРЕХМЕСТНЫЕ

Конструкция и размеры

ГОСТ 24136-80

ИЗДАТЕЛЬСТВО СТАНДАРТОВ

Москва

ГОСУДАРСТВЕННЫЙ СТАНДАРТ СОЮЗА ССР

Детали крепления трубопроводов

СКОБЫ ЧЕТЫРЕХМЕСТНЫЕ

Конструкция и размеры

Pipe-line fastening parts.
Four-seat cramps.
Design and dimensions

ГОСТ
24136-80

Взамен
ГОСТ 16690-71

Постановлением Государственного комитета СССР по стандартам от 25 апреля 1980 г. № 1891 срок введения установлен

с 01.01.81

Ограничение срока действия отменено, ИУС II-12-94

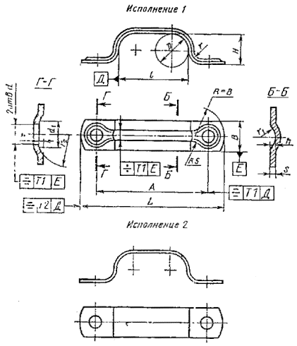
1 Настоящий стандарт распространяется на четырехместные скобы диаметром D от 4 до 50 мм.

2 Конструкция и размеры четырехместных скоб должны соответствовать указанным на чертеже и в таблице.

Примечания:

1. Все размеры, кроме размеров В и s, обеспечиваются инструментом.

2. Отклонение от центра радиуса R относительно оси поверхностей Е не должно быть более 1 мм.

Размеры, мм

D

A ± 0,5

b ´ s для исполнений

Н

L

d

H14

d1

h

1

r

r1

r2

Масса 1000 шт., кг, для исполнений

Применяемость для исполнений

1

2

Номин.

Пред.откл.

1

2

1

2

4

34

16 ´ 1,0

16 ´ 2

3

50

5,8

9

1,0

16

0,6

3

2

10

6,2

12,4

 

 

5

37

4

53

20

6,7

13,4

6

44

5

60

24

7,5

15,0

8

50

6

66

32

8,5

17,0

10

58

8

74

40

10,1

20,2

12

66

10

82

48

11,5

23,0

14

80

18 ´ 1,6

18 ´ 3

12

98

7,0

10

1,4

56

5

3

10

24,9

46,6

 

 

16

88

14

106

64

27,4

51,2

18

96

16

114

72

29,9

55,9

20

110

18

128

85

33,8

63,2

22

125

22 ´ 1,6

22 ´ 3

30

147

9,0

14

90

46,7

87,3

25

140

22

162

105

51,8

96,9

28

150

24

172

115

1,0

55,3

103,4

32

165

28

187

130

61,1

114,2

36

180

32

202

145

66,8

124,9

40

200

30 ´ 2,0

30 ´ 3

35

230

2,0

165

6

4

16

129,8

194,7

45

220

40

250

185

142,1

213,1

50

240

45

270

205

156,0

234,0

Пример условного обозначения четырехместной скобы исполнения 1 D = 20 мм из стали марки Ц9.хр:

Скоба 1-20-20-Ц9.хр ГОСТ 24136-80

То же, исполнение 2 из стали марки 12Х18Н10Т с покрытием Хим.Пас.:

Скоба 2-20- 12Х18Н10Т-Хим.Пас. ГОСТ 24136-80

3. Технические требования - по ГОСТ 24140-80.

 




ГОСТЫ, СТРОИТЕЛЬНЫЕ и ТЕХНИЧЕСКИЕ НОРМАТИВЫ.
Некоммерческая онлайн система, содержащая все Российские Госты, национальные Стандарты и нормативы.
В Системе содержится более 150000 файлов нормативно-технической документации, действующей на территории РФ.
Система предназначена для широкого круга инженерно-технических специалистов.

Рейтинг@Mail.ru Яндекс цитирования

Copyright © www.gostrf.com, 2008 - 2026