Крупнейшая бесплатная информационно-справочная система онлайн доступа к полному собранию технических нормативно-правовых актов РФ. Огромная база технических нормативов (более 150 тысяч документов) и полное собрание национальных стандартов, аутентичное официальной базе Госстандарта. GOSTRF.com - это более 1 Терабайта бесплатной технической информации для всех пользователей интернета. Все электронные копии представленных здесь документов могут распространяться без каких-либо ограничений. Поощряется распространение информации с этого сайта на любых других ресурсах. Каждый человек имеет право на неограниченный доступ к этим документам! Каждый человек имеет право на знание требований, изложенных в данных нормативно-правовых актах!

  


 

ГОСТ Р 41.83-99

(Правила ЕЭК ООН № 83)

ГОСУДАРСТВЕННЫЙ СТАНДАРТ РОССИЙСКОЙ ФЕДЕРАЦИИ

ЕДИНООБРАЗНЫЕ ПРЕДПИСАНИЯ,
КАСАЮЩИЕСЯ ОФИЦИАЛЬНОГО УТВЕРЖДЕНИЯ ТРАНСПОРТНЫХ СРЕДСТВ В ОТНОШЕНИИ ВЫБРОСОВ ЗАГРЯЗНЯЮЩИХ ВЕЩЕСТВ В ЗАВИСИМОСТИ ОТ ТОПЛИВА, НЕОБХОДИМОГО ДЛЯ ДВИГАТЕЛЕЙ

ГОССТАНДАРТ РОССИИ

Москва

Предисловие

1 РАЗРАБОТАН Всероссийским научно-исследовательским институтом стандартизации и сертификации в машиностроении (ВНИИНМАШ) на основе Правил ЕЭК ООН № 83, принятых Рабочей группой по конструкции транспортных средств КВТ ЕЭК ООН

ВНЕСЕН Госстандартом России

2 ПРИНЯТ И ВВЕДЕН В ДЕЙСТВИЕ Постановлением Госстандарта России от 26 мая 1999 г. № 184

3 Настоящий стандарт представляет собой идентичный текст Правил ЕЭК ООН № 83 с поправками серии 03 (с 07.12.96), Пересмотр 1 (документ E/ECE/324-E/ECE/TRANS/505/Rev.l/Add.82/Rev.l, дата вступления в силу 30.12.92) «Единообразные предписания, касающиеся официального утверждения транспортных средств в отношении выбросов загрязняющих веществ в зависимости от топлива, необходимого для двигателей» и включает в себя:

- Пересмотр 1 - Исправление 2 (документ E/ECE/324-E/ECE/TRANS/505/Rev.l/Add.82/Rev.l/ Соrr.2, дата вступления в силу 01.07.94);

- Пересмотр 1 - Поправка 1 (документ E/ECE/324-E/ECE/TRANS/505/Rev.l/Add.82/Rev.l/Amend.1, дата вступления в силу 02.07.95);

- Пересмотр 1 - Поправка 2 (документ E/ECE/324-E/ECE/TRANS/505/Rev.l/Add.82/Rev.l/Amend.2, дата вступления в силу 07.12.96);

- Пересмотр 1 - Поправка 3 (документ E/ECE/324-E/ECE/TRANS/505/Rev.l/Add.82/Rev.l/Amend.3, дата вступления в силу 14.05.98).

4 ВВЕДЕН ВПЕРВЫЕ

СОДЕРЖАНИЕ

1 Область применения. 4

2 Определения. 4

3 Заявка на официальное утверждение. 6

4 Официальное утверждение. 6

5 Предписания и испытания. 7

6 Модификации типа транспортного средства. 13

7 Распространение официального утверждения. 14

8 Соответствие производства. 16

9 Санкции, налагаемые за несоответствие производства. 19

10 Модификация типа транспортного средства и распространение официального утверждения. 19

11 Окончательное прекращение производства. 20

12 Наименования и адреса технических служб, уполномоченных проводить испытания для официального утверждения, и административных органов. 20

13 Переходные положения, касающиеся официального утверждения транспортных средств. 20

Приложение 1 Основные характеристики двигателя и информация, касающаяся проведения испытаний. 23

Приложение 2 Сообщение, касающееся официального утверждения распространения официального утверждения отказа в официальном утверждении отмены официального утверждения окончательного прекращения производства типа транспортного средства в отношении выбросов загрязняющих веществ: уровень выбросов в соответствии с Официальным утверждением А, В или С2) на основании Правил ЕЭК ООН № 83. 27

Приложение 3 Схемы знаков официального утверждения. 28

Приложение 4 Испытание типа I (проверка уровня выбросов отработавших газов после запуска холодного двигателя) 29

1 Введение. 29

2 Испытательный цикл на динамометрическом стенде. 29

2.1 Описание цикла. 29

2.2 Общие условия проведения цикла. 29

2.3 Применение коробки передач. 30

2.4 Допуски. 30

3 Транспортное средство и топливо. 30

3.1 Испытываемое транспортное средство. 30

3.2 Топливо. 31

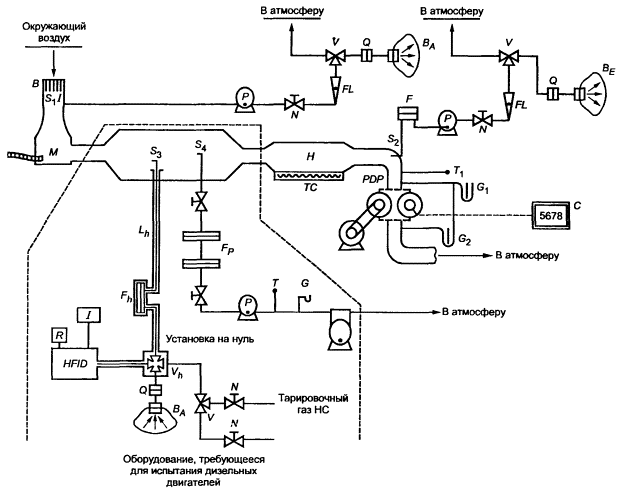
4 Испытательное оборудование. 31

4.1 Динамометрический стенд. 31

4.2 Система отбора проб отработавших газов. 32

4.3 Оборудование для анализа проб. 33

4.4 Измерение объема. 34

4.5 Газы.. 35

4.6 Вспомогательное оборудование. 35

5 Подготовка к испытанию.. 35

5.1 Регулировка инерционной системы в соответствии с инерцией поступательного движения транспортного средства. 35

5.2 Регулировка тормозов. 36

5.3 Подготовка транспортного средства. 36

6 Метод проведения стендовых испытаний. 36

6.1 Особые условия проведения цикла. 36

6.2 Запуск двигателя. 37

6.3 Холостой ход. 37

6.4 Ускорение. 37

6.5 Замедление. 37

6.6 Постоянная скорость. 38

7 Методика отбора проб и анализа газов. 38

7.1 Отбор проб. 38

7.2 Анализ. 38

8 Определение количества выделенных загрязняющих газов и загрязняющих твердых частиц. 38

8.1 Рассматриваемый объем.. 38

8.2 Общая масса выделенных загрязняющих газов и загрязняющих твердых частиц. 39

Дополнение 1 Разбивка рабочего цикла, применяемого при испытании типа I, по времени. 39

1 Испытательный цикл. 39

2 Простой городской цикл (первая часть) 39

3 Внегородской цикл (вторая часть) 43

4 Внегородской цикл (вторая часть) (Транспортные средства небольшой мощности) 44

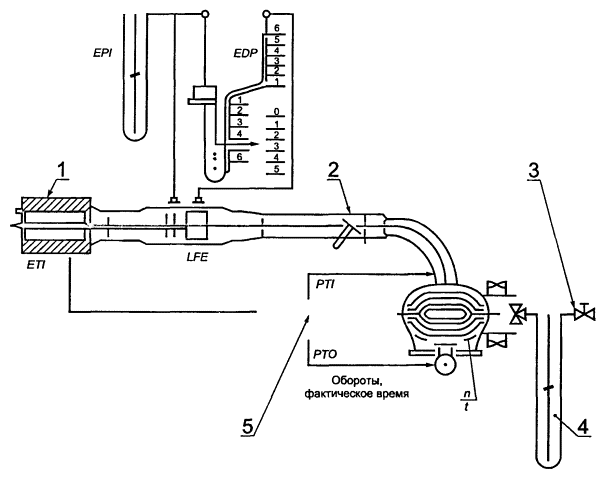
Дополнение 2 Динамометрический стенд. 46

1 Определение динамометрического стенда с постоянной кривой нагрузки. 46

1.1 Введение. 46

1.2 Определение. 46

2 Метод тарирования динамометрического стенда. 46

2.1 Введение. 46

2.2 Тарирование индикатора мощности в зависимости от поглощенной мощности при скорости 80 км/ч. 46

2.3 Тарирование индикатора мощности в зависимости от поглощаемой мощности при других скоростях. 47

2.4 Проверка кривой поглощения мощности динамометрического стенда при разгоне от исходного положения до скорости 80 км/ч. 48

3 Регулировка стенда. 48

3.1 Регулировка в зависимости от разрежения. 48

3.2 Другие методы регулировки. 49

3.3 Альтернативный метод. 49

Дополнение 3 Методы измерения сопротивления поступательному движению транспортного средства. 49

1 Цель. 49

2 Описание трека. 49

3 Атмосферные условия. 49

3.1 Ветер. 49

3.2 Влажность. 49

3.3 Давление и температура. 49

4 Подготовка транспортного средства. 49

4.1 Обкатка. 49

4.2 Проверка. 50

4.3 Подготовка к испытанию.. 50

5 Методы.. 50

5.1 Метод определения изменений энергии при замедлении в режиме свободного качения. 50

5.2 Метод измерения крутящего момента при постоянной скорости. 51

5.3 Средний крутящий момент при различных режимах вождения. 51

5.4 Метод, основанный на измерении замедления с помощью гироскопической платформы.. 52

Дополнение 4 Проверка сил инерции, кроме механической инерции. 53

1 Цель. 53

2 Принцип. 53

2.1 Составление рабочих уравнений. 53

2.2 Допустимая погрешность для расчета общей инерции. 54

3 Спецификация. 54

4 Порядок проверки. 54

5 Техническое примечание. 54

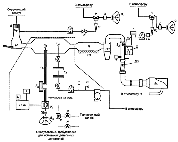
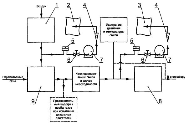
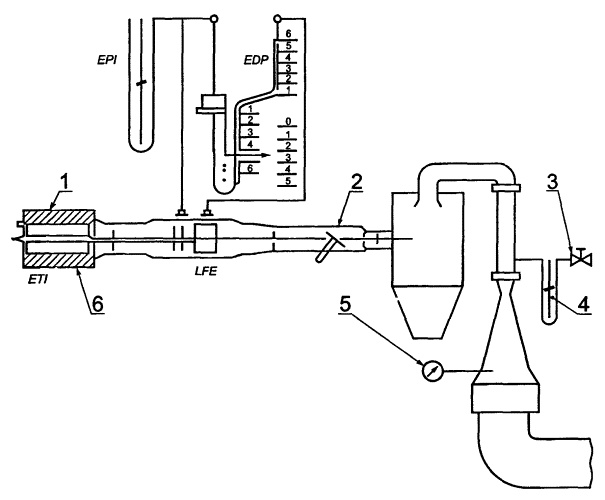
Дополнение 5 Описание систем отбора проб отработавших газов. 55

1 Введение. 55

2 Критерии, применяемые к системе переменного разрежения для измерения выбросов отработавших газов. 55

2.1 Область применения. 55

2.2 Краткое техническое описание. 56

2.3 Специальные предписания. 57

2.4 Дополнительное оборудование для отбора проб для испытания транспортных средств, оснащенных двигателем с воспламенением от сжатия. 58

3 Описание систем.. 59

3.1 Система переменного разрежения с нагнетательным насосом (PDP-CVS) 59

3.2 Система разрежения с трубкой Вентури с критическим потоком (CFV-CVS) 61

3.3 Система переменного разрежения с постоянным контролем расхода с помощью регулирующего устройства (CFO-CVS) 63

Дополнение 6 Метод тарирования приборов. 64

1 Построение тарировочной кривой. 64

2 Проверка чувствительности анализатора FID к углеводородам.. 65

3 Проверка эффективности работы преобразователя NOx 65

4 Тарирование системы отбора проб с постоянным объемом (CVS) 66

Дополнение 7 Общая поверка системы.. 70

Дополнение 8 Расчет общей массы выбросов загрязняющих веществ. 70

1 Общие положения. 70

2 Специальные положения для транспортных средств, оснащенных двигателем с воспламенением от сжатия. 73

Приложение 4А Испытание, аналогичное испытанию типа I, для проверки выбросов после запуска холодного двигателя. 74

Дополнение 1 Рабочий цикл. 80

Дополнение 2 Динамометрический стенд. 84

Дополнение 3 Метод измерения сопротивления поступательному движению транспортного средства во время дорожного испытания и на стенде. 87

Дополнение 4 Проверка сил инерции, кроме механической инерции. 87

Дополнение 5 Описание систем отбора проб загрязняющих газов и загрязняющих твердых частиц. 88

Дополнение 6 Метод тарирования приборов. 88

Дополнение 7 Общая поверка системы.. 88

Дополнение 8 Расчет общей массы выбросов загрязняющих веществ. 88

Дополнение 9 Соответствие производства. 89

Приложение 5 Испытание типа II 90

Приложение 6 Испытание типа III 91

Приложение 7 Испытание типа IV.. 93

Определение выбросов в результате испарения, производимых транспортными средствами, оснащенными двигателем с принудительным зажиганием.. 93

Дополнение 1 Тарирование приборов, используемых для определения выбросов в результате испарения. 100

Приложение 8 Описание ресурсного испытания, позволяющего проверить надежность устройств для предотвращения загрязнения. 103

Приложение 9 Спецификации эталонного топлива. 105

Приложение 10 Внедорожные транспортные средства категорий М1 и N1: определения и процедуры.. 109

Приложение 11 Процедура проверки соблюдения требований в отношении соответствия производства. 111

Приложение 12 Предоставление официального утверждения ЕЭК для транспортного средства, работающего на СНГ или природном газе  114

ГОСУДАРСТВЕННЫЙ СТАНДАРТ РОССИЙСКОЙ ФЕДЕРАЦИИ

ЕДИНООБРАЗНЫЕ ПРЕДПИСАНИЯ, КАСАЮЩИЕСЯ ОФИЦИАЛЬНОГО УТВЕРЖДЕНИЯ ТРАНСПОРТНЫХ СРЕДСТВ В ОТНОШЕНИИ ВЫБРОСОВ ЗАГРЯЗНЯЮЩИХ ВЕЩЕСТВ В ЗАВИСИМОСТИ ОТ ТОПЛИВА, НЕОБХОДИМОГО ДЛЯ ДВИГАТЕЛЕЙ

Uniform provisions concerning the approval of vehicles with regard to the emission of pollutants according to engine fuel requirements

Дата введения 2000-07-01

Настоящий стандарт вводит в действие Правила ЕЭК ООН № 83 (далее - Правила).

1 Область применения

1.1 Настоящие Правила применяют:

1.1.1 к выбросам отработавших газов и выбросам картерных газов всеми транспортными средствами категорий М1* и N1*, оснащенными двигателями с принудительным зажиганием, работающими на этилированном бензине;

*В соответствии с определением, содержащимся в приложении 7 к Сводной резолюции о конструкции транспортных средств (СР.3) (документ TRANS/SC.1/WP.29/78/Amend.3).

1.1.2 к выбросам отработавших газов, выбросам картерных газов, испарениям топлива и сроку службы устройств ограничения загрязнения всех транспортных средств категорий М1* и N1*, оснащенных двигателями с принудительным зажиганием, которые работают на неэтилированном бензине или только на сжиженном нефтяном газе (СНГ), или только на природном газе, или которые могут работать либо на неэтилированном бензине, либо на СНГ, либо на природном газе, и

1.1.3 к выбросам отработавших газов и сроку службы устройств ограничения загрязнения всех транспортных средств категорий М1* и N1*, оснащенных двигателями с воспламенением от сжатия и имеющих не менее четырех колес.

1.1.4 Транспортные средства максимальной массой с полной нагрузкой более 3 500 кг не подпадают под действие требований настоящих Правил в том случае, если они оснащены двигателями, которые отвечают требованиям Правил ЕЭК ООН № 49, включающих самую последнюю серию поправок.

1.2 Любая Договаривающаяся сторона, применяющая настоящие Правила, может определять в рамках своих национальных правил категории транспортных средств, работающих на неэтилированном бензине и соответствующих, таким образом, положениям, содержащимся в 5.3.1.4.2 и 8.3.1.1.2.

1.3 В соответствии с 7.5 изготовитель может обратиться с просьбой о предоставлении официального утверждения в соответствии со спецификациями (см. 5.3.1.4.1) для транспортных средств, предназначенных для работы на неэтилированном бензине, несмотря на требования 1.2.

1.4 Основные методы измерений в настоящих Правилах заимствованы из Правил ЕЭК ООН № 15 с поправками серии 04, и, следовательно, в случае необходимости, при предоставлении официального утверждения на основании настоящих Правил могут использоваться любые результаты испытаний, полученные в соответствии с Правилами ЕЭК ООН № 15 с поправками серии 04.

1.5 Что касается, в частности, транспортных средств, предназначенных для работы на этилированном бензине, то Правила ЕЭК ООН № 15 с поправками серии 04 и настоящие Правила являются идентичными, что обеспечивает автоматический перевод официального утверждения, выданного на основании Правил ЕЭК ООН № 15 с поправками серии 04, в официальное утверждение на основании настоящих Правил (предоставленное согласно 5.3.1.4.1).

2 Определения

В настоящих Правилах применяют следующие термины:

2.1 официальное утверждение транспортного средства: Официальное утверждение типа транспортного средства в отношении ограничения следующих параметров:

2.1.1 ограничение выбросов загрязняющих газов из двигателей и выбросов картерных газов транспортными средствами, работающими на этилированном бензине (Официальное утверждение А);

2.1.2 ограничение выбросов загрязняющих газов из двигателей, испарений топлива, выбросов картерных газов и срока службы устройств ограничения загрязнения транспортных средств, которые работают на неэтилированном бензине или которые могут работать на неэтилированном бензине в сочетании со сжиженным нефтяным газом (СНГ) или природным газом (Официальное утверждение В);

2.1.3 ограничение выбросов загрязняющих газов и загрязняющих твердых частиц, выбросов картерных газов и срока службы устройств ограничения загрязнения транспортных средств, работающих на дизельном топливе (Официальное утверждение С);

2.1.4 ограничение выбросов загрязняющих газов из двигателей, выбросов картерных газов и срока службы устройств ограничения загрязнения транспортных средств, работающих на СНГ или природном газе (Официальное утверждение D).

2.2 топливо, необходимое для двигателя: Тип обычно используемого топлива для питания двигателя:

этилированный бензин,

неэтилированный бензин,

СНГ,

природный газ,

неэтилированный бензин и СНГ,

неэтилированный бензин и природный газ,

дизельное топливо.

2.3 тип транспортного средства: Механические транспортные средства, не имеющие между собой существенных различий в отношении:

2.3.1 эквивалентной инерции, определяемой в зависимости от контрольной массы в соответствии с 5.1 приложений 4 и 4А, и

2.3.2 характеристик двигателя и транспортного средства, определенных в разделе 1 приложения 1 и в приложении 2.

2.4 контрольная масса:

«масса без нагрузки» транспортного средства плюс условная масса 100 кг для испытания в соответствии с приложением 4,

«масса без нагрузки» транспортного средства плюс условная масса 136 кг для испытания в соответствии с приложением 4А;

2.4.1 масса без нагрузки: Масса транспортного средства в снаряженном состоянии без экипажа, пассажиров и нагрузки, но с полностью заправленным топливным баком, обычным штатным набором инструментов и запасным колесом, если они предусмотрены.

2.5 максимальная масса: Технически допустимая максимальная масса, объявленная изготовителем (эта масса может быть больше максимальной массы, допускаемой национальным компетентным органом).

2.6 загрязняющие газы:

оксид углерода

углеводороды:       с учетом коэффициента СН1,85 для бензина,

с учетом коэффициента СН1,86 для дизельного топлива,

с учетом коэффициента СН2,525 для СНГ,

с учетом коэффициента СН4 для природного газа и оксидов азота (выражаются в эквиваленте диоксида азота (NО2)).

2.7 загрязняющие твердые частицы: Компоненты отработавших газов, улавливаемые при максимальной температуре 325 К (52 °С) в разреженных отработавших газах с помощью фильтров, описание которых приводится в приложениях 4 и 4А.

2.8 выбросы отработавших газов:

выбросы загрязняющих газов двигателями с принудительным зажиганием;

выбросы загрязняющих газов и загрязняющих твердых частиц двигателями с воспламенением от сжатия.

2.9 выбросы в результате испарения: Выделения паров углеводородов из топливной системы питания транспортного средства, за исключением тех, которые являются результатом выбросов отработавших газов:

2.9.1 выделения паров из топливного бака представляют собой выбросы углеводородов, вызванные изменением температуры в топливном баке (выражаются в эквиваленте С1Н2,33);

2.9.2 выделения в результате горячего насыщения представляют собой выбросы углеводородов из системы питания транспортного средства, остановленного после периода движения (выражаются в эквиваленте С1Н2,20).

2.10 картер двигателя: Имеющиеся в двигателе или вне его емкости, соединенные с маслоотстойником внутренними или внешними каналами, из которых могут просачиваться газы и пар.

2.11 устройство для запуска холодного двигателя: Устройство, которое временно обогащает в двигателе воздушно-топливную смесь. Таким образом оно облегчает запуск двигателя.

2.12 внедорожные транспортные средства: Транспортные средства, соответствующие характеристикам, определенным в приложении 10.

2.13 вспомогательное устройство запуска двигателя: Устройство, которое облегчает запуск двигателя без обогащения воздушно-топливной смеси в двигателе: запальные свечи, измененная регулировка впрыскивания топлива и т.д.

2.14 рабочий объем двигателя:

2.14.1 для поршневых двигателей - номинальный объем цилиндров;

2.14.2 для роторно-поршневых двигателей (двигатель Ванкеля) - двойной номинальный объем камер сгорания для каждого поршня.

2.15 устройства для предотвращения загрязнения: Устройства транспортного средства, которые контролируют и/или ограничивают выбросы отработавших газов и выбросы в результате испарения.

3 Заявка на официальное утверждение

Выбросы отработавших газов, выбросы в результате испарения и долговечность устройств для предотвращения загрязнения в зависимости от топлива, необходимого для двигателя.

3.1 Заявку на официальное утверждение типа транспортного средства в отношении выбросов отработавших газов, выбросов в результате испарения и долговечности устройств для предотвращения загрязнения подает изготовитель или его уполномоченный представитель.

3.2 К заявке прилагают перечисленные ниже документы в трех экземплярах и указывают следующие данные:

3.2.1 описание типа двигателя, включая все характеристики, перечисленные в приложении 1;

3.2.2 чертежи камеры сгорания и поршня, включая поршневые кольца;

3.2.3 максимальный ход клапанов и углы открытия и закрытия, определенные по отношению к мертвым точкам;

3.2.4 описание системы контроля выбросов в результате испарения, установленной на транспортном средстве;

3.2.5 сведения о транспортном средстве, указанные в приложении 2;

3.2.6 в случае, если транспортное средство оснащено двигателем с принудительным зажиганием, предписания в отношении применения должны соответствовать либо 5.1.2.1 (ограничитель), либо 5.1.2.2 (маркировка) и в этом последнем случае - описание маркировки;

3.2.7 в случае необходимости копии других официальных утверждений с необходимыми данными для распространения официальных утверждений и определения поправочных коэффициентов.

3.3 Техническим службам, уполномоченным проводить испытания для официального утверждения, должно быть представлено транспортное средство, соответствующее типу транспортного средства, подлежащего официальному утверждению, с целью проведения испытаний, предусмотренных в разделе 5.

4 Официальное утверждение

4.1 Если тип транспортного средства, представленного на официальное утверждение в соответствии с настоящими Правилами, удовлетворяет требованиям разделов 5 и 6, то данный тип транспортного средства считается официально утвержденным.

4.2 Каждому официально утвержденному типу транспортного средства присваивается номер официального утверждения, первые две цифры которого указывают серию поправок, соответствующих самым последним крупным техническим изменениям, внесенных в Правила к моменту предоставления официального утверждения. Одна и та же Договаривающаяся сторона не может присвоить этот номер другому типу транспортного средства.

4.3 Стороны Соглашения, применяющие настоящие Правила, уведомляются об официальном утверждении, распространении официального утверждения или об отказе в официальном утверждении типа транспортного средства на основании настоящих Правил посредством карточки, соответствующей образцу, приводимому в приложении 2.

4.3.1 В случае изменения настоящих Правил, например при установлении новых предельных величин, стороны Соглашения уведомляются о том, какие типы транспортных средств, уже получивших официальное утверждение, соответствуют новым положениям.

4.4 На каждом транспортном средстве, соответствующем типу транспортного средства, официально утвержденному на основании настоящих Правил, должен проставляться на видном и легко доступном месте, указанном в регистрационной карточке официального утверждения, международный знак официального утверждения, состоящий из:

4.4.1 круга, в котором проставлена буква Е, за которой следует отличительный номер страны, предоставившей официальное утверждение*;

*1 - Германия, 2 - Франция, 3 - Италия, 4 - Нидерланды, 5 - Швеция, 6 - Бельгия, 7 - Венгрия, 8 - Чешская Республика, 9 - Испания, 10 - Югославия, 11 - Соединенное Королевство, 12 - Австрия, 13 - Люксембург, 14 - Швейцария, 15 - не присвоен, 16 - Норвегия, 17 - Финляндия, 18 - Дания, 19 - Румыния, 20 - Польша, 21 - Португалия, 22 - Российская Федерация, 23 - Греция, 24 - Ирландия, 25 - Хорватия, 26 - Словения, 27 - Словакия, 28 - Беларусь, 29 - Эстония, 30 - не присвоен, 31 - Босния и Герцеговина, 32 - Латвия, 33-36 - не присвоены, 37 - Турция, 38-39 - не присвоены, 40 - бывшая югославская Республика Македония, 41 - не присвоен, 42 - Европейское сообщество (официальные утверждения предоставляются его государствами-членами с использованием их соответствующего символа ЕЭК), 43 - Япония. Последующие порядковые номера присваиваются другим странам в хронологическом порядке ратификации ими Соглашения о принятии единообразных технических предписаний для колесных транспортных средств, предметов оборудования и частей, которые могут быть установлены и (или) использованы на колесных транспортных средствах, и об условиях взаимного признания официальных утверждений, выдаваемых на основе этих предписаний, или в порядке их присоединения к этому Соглашению. Присвоенные им таким образом номера сообщаются Генеральным секретарем Организации Объединенных Наций Договаривающимся сторонам Соглашения.

4.4.2 номера настоящих Правил, буквы R и номера официального утверждения, проставленных справа от круга, описанного в 4.4.1;

4.4.3 указанных ниже дополнительных символов, которые соответствуют обычно устанавливаемым уровням выброса загрязняющих газов в соответствии с требованиями, касающимися топлива, и которые должны проставляться рядом с указанным выше знаком официального утверждения:

А - для уровней выброса загрязняющих газов, обычно устанавливаемых для двигателей, работающих на этилированном бензине;

В - для уровней выбросов загрязняющих газов, выбросов картерных газов, топливных испарений и срока службы устройств ограничения загрязнения, обычно устанавливаемых для двигателей, которые работают на неэтилированном бензине или которые могут работать на неэтилированном бензине в сочетании с СНГ или природным газом;

С - для уровней выбросов загрязняющих газов и твердых частиц и срока службы устройств ограничения загрязнения, обычно устанавливаемых для двигателей, работающих на дизельном топливе;

D - для уровней выбросов загрязняющих газов, выбросов картерных газов и срока службы устройств ограничения загрязнения, обычно устанавливаемых для двигателей, работающих на СНГ или природном газе.

4.5 Если транспортное средство соответствует типу, официально утвержденному на основании одного или нескольких других прилагаемых к Соглашению правил в той же самой стране, которая предоставила официальное утверждение на основании настоящих Правил, то не следует повторять обозначение, предусмотренное в 4.4.1; в этом случае номера Правил, официального утверждения и дополнительные обозначения всех правил, на основании которых было предоставлено официальное утверждение в стране, предоставившей также официальное утверждение на основании настоящих Правил, должны быть расположены в вертикальных колонках справа от обозначения, предусмотренного в 4.4.1.

4.6 Знак официального утверждения должен быть четким и нестираемым.

4.7 Знак официального утверждения помещают рядом с устанавливаемой на двигателе изготовителем табличкой или на ней.

4.8 Примеры схем знаков официального утверждения приводятся в приложении 3.

5 Предписания и испытания*

*В качестве альтернативы условий, изложенных в настоящем разделе, изготовители, годовой объем мирового производства которых составляет менее 10 000 единиц, могут также добиться официального утверждения типа транспортного средства на основе соответствующих технических требований, содержащихся в:

«Code of Federal Regulations, title 40, Part 86, Subparts А и В», который применяется к легким транспортным средствам 1987 г. и который был пересмотрен 1 июля 1989 г. и опубликован «US Government Printing Office», или

«Master Document», в его окончательном варианте от 25 сентября 1987 г. подготовленном на международном совещании в Стокгольме по вопросу о загрязнении атмосферы, вызываемом автотранспортными средствами, и озаглавленном «Control of Air Pollution from Motor Vehicles - General Provisions for Emission Regulations for Light Motor Vehicles» (Борьба с загрязнением атмосферы, вызываемым автотранспортными средствами - общие положения в отношении норм выбросов легкими автотранспортными средствами».

5.1 Общие положения

5.1.1 Компоненты, способные влиять на выделение загрязняющих газов, должны быть спроектированы, сконструированы и установлены таким образом, чтобы в нормальных условиях эксплуатации и несмотря на вибрацию, которой они могут быть подвержены, транспортное средство могло соответствовать требованиям настоящих Правил.

Изготовитель должен принимать такие технические меры, которые, в соответствии с требованиями настоящих Правил, обеспечивают в течение обычного срока службы транспортных средств при нормальных условиях эксплуатации действительно ограниченные уровни выбросов отработавших газов и выбросов в результате испарения. Для выбросов отработавших газов эти условия считаются выполненными, если выполняются соответственно требования 5.3.1.4 и 8.3.1.1.

В случае использования кислородного зонда в системе экспериментального каталитического преобразователя при переходе на установленную скорость или в ходе ускорения необходимо обеспечить, чтобы сохранялся стехиометрический состав топливной смести (лямбда). Однако допускаются временные изменения этого состава, при условии что они также имеют место в ходе испытания, определенного в 5.3.1 и 8.3.1 соответственно, или если эти изменения необходимы для обеспечения безопасности управления транспортным средством и нормальной работы двигателя и элементов, оказывающих влияние на выбросы загрязняющих веществ, или если эти изменения необходимы для запуска холодного двигателя.

5.1.2 Транспортное средство, которое оснащено двигателем с принудительным зажиганием и которое работает на неэтилированном бензине или которое может работать на неэтилированном бензине в сочетании с СНГ или природным газом, должно отвечать требованиям 5.1.2.1 или 5.1.2.2.

5.1.2.1 При условии соблюдения требований 5.1.2.2 конструкция заливной горловины бензиновою бака не должна позволять заполнять его с помощью топливозаправочного пистолета, наружный диаметр наконечника которого равен или превышает 23,6 мм.

5.1.2.2 Пункт 5.1.2.1 не применяется к транспортному средству, в отношении которого соблюдаются два следующих условия, а именно:

5.1.2.2.1 это транспортное средство сконструировано и построено таким образом, чтобы этилированное топливо не оказывало отрицательное воздействие ни на одно устройство для предотвращения выбросов загрязняющих газов, и

5.1.2.2.2 на этом транспортном средстве на хорошо видимом для лица, заполняющего бензиновый бак, месте проставляется легко читаемый и нестираемый символ для неэтилированного бензина, подобный тому, который указан в ИСО 2575-82. Допускается использование дополнительной маркировки.

5.2 Проведение испытаний

В таблице 1 указаны различные возможности официального утверждения типа транспортного средства.

5.2.1 Транспортные средства, оснащенные двигателем с принудительным зажиганием, работающем на бензине или СНГ, должны проходить следующие испытания, указанные в таблице 1:

испытание типа I - имитация среднего уровня выбросов после запуска холодного двигателя;

испытание типа II - выброс оксида углерода в режиме холостого хода;

испытание типа III - выброс картерных газов;

испытание типа IV - испарения топлива;

испытание типа V - срок службы устройств ограничения загрязнения;

испытание типа IV - испарения топлива. Испытания проводить не требуется для транспортных средств, работающих только на СНГ или природном газе (Официальное утверждение D).

5.2.2 Транспортные средства, оснащенные двигателем с воспламенением от сжатия, должны подвергаться следующим испытаниям, указанным в таблице 1:

Таблица 1 - Система официального утверждения

Тип испытания на официальное утверждение

Транспортные средства, работающие на этилированном бензине

(Официальное утверждение А)

Транспортные средства, работающие на неэтилированном бензине, либо на неэтилированном бензине в сочетании с СНГ или природным газом1) (Официальное утверждение В)

Транспортные средства, работающие на дизельном топливе

(Официальное утверждение С)

Транспортные средства, работающие на СНГ или природном газе1)

(Официальное утверждение D)

(аналогично Правилам № 15.04) M1, N1

Транспортные средства категории M12)

Транспортные средства категории N12)

Транспортные средства категории M1

Транспортные средства категории N1

Транспортные средства категории М1

Транспортные средства категории N1

I

Да (масса £ 3,5 т) часть 1

Да (масса £ 3,5 т) часть 1 и часть 23)

Да (масса £ 3,5 т) часть 1 и часть 2

Да (масса £ 3,5 т) часть 1 и часть 2

II

Да

Да (масса > 3,5 т)3)

Да (масса > 3,5 т)

III

Да

Да4)

Да

IV

Да (масса £ 3,5 т)4)

V

Да (масса £ 3,5 т)4)

Да (масса £ 3,5 т)

Да (масса £ 3,5 т)

Распространение официального утверждения

Раздел 7

Раздел 7

Раздел 7; транспортные средства категорий М2 и N2 с исходной массой не более 2 840 кг

Раздел 7

1) Транспортные средства, работающие на СНГ или природном газе, испытывают в соответствии с требованием приложения 12.

2) В соответствии с 5.1.2.1 (заправочная горловина меньшего диаметра) и п. 5.1.2.2 (маркировка).

3) Транспортные средства, которые могут работать на неэтилированном бензине в сочетании с СНГ или природным газом, испытывают с использованием обоих видов топлива.

4) Транспортные средства, которые могут работать на неэтилированном бензине в сочетании с СНГ или природным газом, испытывают только с использованием неэтилированного бензина.

Испытание типа I - имитация среднего уровня выбросов загрязняющих веществ после холодного запуска;

Испытание типа V - проверка срока службы устройств ограничения загрязнения.

5.3 Описание испытаний

5.3.1 Испытание типа I (проверка среднего уровня выбросов выхлопных газов после запуска холодного двигателя)

5.3.1.1 На рисунке 1 показаны различные возможности проведения испытания типа I.

Рисунок 1 - Логическая схема предоставления официального утверждения

Испытание типа I (см. 5.3.1.)

Это испытание должно проводиться на всех транспортных средствах, которые предусмотрены в разделе 1 и максимальная масса которых не превышает 3,5 т.

5.3.1.1.1 Транспортные средства, работающие на СНГ или природном газе (Официальное утверждение D), должны проходить испытание типа I с использованием СНГ или природного газа разного состава, как указано в приложении 12.

Транспортные средства, которые могут работать на бензине в сочетании с СНГ или природным газом (Официальное утверждение В), должны проходить испытание типа I с использованием обоих видов топлива, причем если в качестве топлива используется СНГ или природный газ, то испытание должно проводиться на СНГ или природном газе разного состава, как указано в приложении 12.

5.3.1.1.2 Несмотря на требования 5.3.1.1.1, транспортные средства, которые могут работать как на бензине, так и на газообразном топливе, но в которых бензосистема установлена только для использования в особых случаях или только для запуска двигателя и бензобак которых может содержать не более 15 л бензина, подвергают испытанию типа I, как транспортные средства, которые могут работать только на газообразном топливе.

5.3.1.2 Транспортное средство устанавливают на динамометрическом стенде, оборудованном системой имитации сопротивления движению и инерции.

5.3.1.2.1 За исключением транспортных средств, указанных в 5.3.1.4.1.1 и 5.3.1.4.1.2 (Официальное утверждение А), испытание общей продолжительностью 19 мин 40 с и состоит из двух частей: первой и второй.

Период холостого хода между последним замедлением в последнем простом городском цикле (первая часть) и первым ускорением во внегородском цикле (вторая часть) с согласия изготовителя может быть продлен максимум на 20 с, в течение которых не проводят отбор проб, для облегчения регулировки приборов испытания.

5.3.1.2.2 Первая часть состоит из четырех простых городских циклов. Каждый простой городской цикл состоит из 15 режимов работы (холостой ход, ускорение, постоянная скорость, замедление и т.д.).

5.3.1.2.3 Вторая часть состоит из одного внегородского цикла. Внегородской цикл состоит из 13 режимов работы (холостой ход, ускорение, постоянная скорость, замедление и т.д.).

5.3.1.2.4 Для транспортных средств, предусмотренных в 5.3.1.4.1.1 и 5.3.1.4.1.2 (официальное утверждение А), испытания проводят без перерыва в течение 13 мин. Оно состоит только из четырех простых городских циклов (первая часть).

5.3.1.2.5 Во время испытания отработавшие газы транспортного средства разрежают, а пропорциональную пробу собирают в одну или несколько камер. Отработавшие газы испытываемого транспортного средства разрежают, отбирают и анализируют в соответствии с описываемой ниже процедурой; определяют общий объем разреженных отработавших газов.

При наличии двигателей с воспламенением от сжатия измеряют не только выбросы оксида углерода, углеводородов и оксидов азота, но и выбросы загрязняющих твердых частиц.

5.3.1.3 Испытание проводят по методу, описанному в приложении 4. Сбор и анализ газов, а также сбор и взвешивание твердых частиц следует проводить в соответствии с предписанными методами.

5.3.1.4 При условии соблюдения положений 5.3.1.4.5 и 5.3.1.5 испытания проводят три раза, за исключением транспортных средств, указанных в 5.3.1.4.1.1 и 5.3.1.4.1.2 (официальное утверждение А), результаты каждого испытания умножают на соответствующие поправочные коэффициенты, определенные в 5.3.5. Результирующие массы газообразных выбросов и, в случае наличия транспортных средств, оснащенных двигателями с воспламенением от сжатия, массы твердых частиц, полученные в каждом испытании, должны быть меньше предельных величин, указанных в проводимых ниже таблицах для соответствующих категорий транспортных средств.

5.3.1.4.1 Обычно устанавливаемые уровни выбросов загрязняющих газов для транспортных средств, использующих этилированный бензин (Официальное утверждение А)

5.3.1.4.1.1 Для всех транспортных средств категории М1, оснащенных двигателем с принудительным зажиганием, работающим на этилированном бензине, установлены следующие пределы в зависимости от контрольной массы:

Контрольная масса (KM), кг

Оксид углерода L1, г/испытание

Общая масса выбросов углеводородов и оксидов азота L2, г/испытание

км £ 1020

58

19

1020 < км £ 1250

67

20,5

1250 < км £ 1470

76

22

1470 < км £ 1700

84

23,5

1700 < км £ 1930

93

25

1930 < км £ 2150

101

26,5

2150 < км

110

28

5.3.1.4.1.2 Для всех транспортных средств категории N1, оснащенных двигателем с принудительным зажиганием, работающим на этилированном бензине, предельными значениями являются значения, указанные в 5.3.1.4.1.1; однако для общей массы углеводородов и оксидов азота (L2) эти предельные значения должны быть умножены на коэффициент 1,25.

5.3.1.4.2 Уровни выбросов загрязняющих газов, обычно устанавливаемые для транспортных средств, которые работают на неэтилированном бензине, или СНГ, или природном газе, либо которые могут работать на неэтилированном бензине в сочетании с СНГ или природным газом (Официальное утверждение В или D).

5.3.1.4.2.1 Для транспортных средств, оснащенных двигателем с принудительным зажиганием, работающим на неэтилированном бензине, устанавливают следующие предельные значения:

Категория транспортного средства

Контрольная масса, (КМ), кг

Предельные значения

Масса оксида углерода

Общая масса углеводородов и оксидов азота

L1, г/км

L2, г/км

М1)

Все

2,72/2,2*)

0,97/0,5*)

N12)

Категория I

КМ £ 1250

2,72

0,97

Категория II

1250 < KM £ 1700

5,17

1,4

Категория III

1700 < KM

6,9

1,7

* Поправка серии 03. Дата введения - 01.07.2002.

1) За исключением:

- транспортных средств, предназначенных для перевозки более шести пассажиров, включая водителя;

- транспортных средств, максимальная масса которых превышает 2500 кг.

2) Включая те транспортные средства категории М, которые указаны в сноске1).

5.3.1.4.3 Обычно устанавливаемые уровни выбросов загрязняющих газов для транспортных средств, использующих дизельное топливо (Официальное утверждение С)

5.3.1.4.3.1 Для транспортных средств, оснащенных двигателем с воспламенением от сжатия, работающем на дизельном топливе, устанавливаются следующие предельные значения:

Категория транспортного средства

Контрольная масса, (КМ), кг

Предельные значения

Масса оксида углерода

Общая масса углеводородов и оксидов азота

Масса твердых частиц

L1, г/км

L2, г/км

L4, г/км

М1)

Все

2,72/1,0*)

0,97/0,7*)

0,14/0,08*)

N12)

Категория I

КМ £ 1250

2,72

0,97

0,14

Категория II

1250 < KM £ 1700

5,17

1,4

0,19

Категория III

1700 < KM

6,9

1,7

0,25

*) Поправка серии 03. Дата введения - 01.07.2002.

1) За исключением:

- транспортных средств, предназначенных для перевозки более шести пассажиров, включая водителя;

- транспортных средств, максимальная масса которых превышает 2500 кг.

2) Включая те транспортные средства категории М, которые указаны в сноске".

5.3.1.4.4 Однако для каждого из загрязняющих веществ, указанных в предыдущих пунктах, один из трех полученных результатов может превышать не более чем на 10% предельное значение, указанное в этом пункте для соответствующего транспортного средства, при условии, что среднеарифметическое трех результатов меньше этого предельного значения.

Если указанные пределы превышаются для нескольких загрязняющих веществ (т.е. по массе оксида углерода и/или по общей массе углеводородов и оксидов азота и/или по массе твердых частиц), то эти превышения могут иметь место как в ходе одного и того же испытания, так и при проведении различных испытаний1).

1) Если один из трех результатов, полученных для какого-либо одного из загрязняющих веществ, превышает более чем на 10 % предел, указанный в 5.3.1.4 для указанного транспортного средства, испытание может быть продолжено в условиях, указанных в 5.3.1.4.5.

5.3.1.4.5 Количество испытаний, указанных в 5.3.1.4, по требованию изготовителя может быть увеличено до 10 при условии, что среднее арифметическое () трех результатов, полученных для каждого загрязняющего вещества или для общих выбросов двух загрязняющих веществ, составляет 100-110 % предельного значения. В этом случае после испытаний решение принимают только на основании средних результатов, полученных во время всех десяти испытаний (<L).

5.3.1.5 Количество испытаний, указанных в 5.3.1.4, сокращается при соблюдении указанных выше условий, где V1 означает результат первого испытания и V2 - результат второго испытания, для какого-либо из загрязняющих веществ или общего выброса двух загрязняющих веществ, на которые распространяется ограничение.

5.3.1.5.1 Если значение полученных величин по каждому загрязняющему веществу или по общему выбросу двух загрязняющих веществ, на которые распространяется ограничение, меньше или равно 0,70L(V1£0,70L), проводят только одно испытание.

5.3.1.5.2 Проводят только два испытания, если не удовлетворяются условия 5.3.1.5.1 и для каждого загрязняющего вещества или общего выброса двух загрязняющих веществ, на которые распространяется ограничение, соблюдаются следующие условия:

V1£0,85L; V1+V2£1,70L; V2£L.

5.3.2 Испытание типа II (проверка выброса оксида углерода в режиме холостого хода)

5.3.2.1 Данное испытание проводят на транспортных средствах, оснащенных двигателем с принудительным зажиганием и указанных в 5.3.1.4.1.1 и 5.3.1.4.1.2 (Официальное утверждение А) и на транспортных средствах массой более 3,5 т (Официальные утверждения В и D)

5.3.2.1.1 Транспортные средства, которые могут работать на неэтилированном бензине в сочетании с СНГ или природным газом (Официальное утверждение В), должны проходить испытание типа II с использованием обоих видов топлива.

5.3.2.1.2 Несмотря на требования 5.3.2.1.1, транспортные средства, которые могут работать как на бензине, так и на газообразном топливе, но в которых бензосистема установлена только для использования в особых случаях или только для запуска двигателя и бензобак которых может содержать не более 15 л бензина, должны проходить испытание типа II, как транспортные средства, которые могут работать только на газообразном топливе.

5.3.2.2 В случае проведения испытания в соответствии с приложением 5 содержание оксида углерода в отработавших газах двигателя, работающего в режиме холостого хода, не должно превышать по объему 3,5 % при регулировке, указанной предприятием-изготовителем, или при регулировке, используемой для испытания типа I (Официальное утверждение А), и не должно превышать 4,5 % в диапазоне регулировки, указанном в приложении 5.

5.3.2.3 Соблюдение этого требования контролируют во время испытания, проводимого по методу, указанному в приложении 5.

5.3.3 Испытание типа III (проверка выбросов картерных газов)

5.3.3.1 Это испытание проводят на всех указанных в разделе 1 транспортных средствах, за исключением транспортных средств, оснащенных двигателем с воспламенением от сжатия.

5.3.3.1.1 Транспортные средства, которые могут работать на неэтилированном бензине в сочетании с СНГ или природным газом (Официальное утверждение В), должны проходить испытание типа III только с использованием неэтилированного бензина.

5.3.3.1.2 Несмотря на требования 5.3.3.1.1, транспортные средства, которые могут работать как на бензине, так и на газообразном топливе, но в которых бензосистема установлена только для использования в особых случаях или только для запуска двигателя и бензобак которых может содержать не более 15 л бензина, должны проходить испытание типа III, как транспортные средства, которые могут работать только на газообразном топливе.

5.3.3.2 В ходе проверки в условиях, предусмотренных в приложении 6, система вентиляции картера не должна допускать выброса картерных газов в атмосферу.

5.3.3.3 Соблюдение этого требования контролируют во время испытания, проводимого по методу, указанному в приложении 6.

5.3.4 Испытание типа IV (определение выбросов в результате испарения)

5.3.4.1 Это испытание проводят на всех транспортных средствах, указанных в разделе 1, за исключением транспортных средств, оснащенных двигателем с воспламенением от сжатия, и транспортных средств, указанных в 5.3.1.4.1.1 и 5.3.1.4.1.2 (Официальное утверждение А), а также транспортных средств, работающих на неэтилированном бензине, максимальной массой более 3,5 т и транспортных средств, работающих на СНГ или природном газе (Официальное утверждение D).

5.3.4.2 В ходе проверки в условиях, предусмотренных в приложении 7, выбросы в результате испарения должны составлять менее 2 г на испытание.

5.3.5 Испытание типа V (долговечность устройств для предотвращения загрязнения)

5.3.5.1 Это испытание проводят на всех транспортных средствах, которые указаны в разделе 1 и которые подвергают испытанию, указанному в 5.3.1, за исключением транспортных средств, указанных в 5.3.1.4.1.1 и 5.3.1.4.1.2 (Официальное утверждение А).

5.3.5.1.1 Транспортные средства, которые могут работать либо на неэтилированном бензине в сочетании с СНГ или природным газом (Официальное утверждение В), должны проходить испытание типа V только с использованием неэтилированного бензина.

5.3.5.2 В отступление от требований 5.3.5.1 изготовитель может выбрать для использования поправочные коэффициенты, которые указаны в приводимой ниже таблице, в качестве альтернативного варианта проведения испытания, предусмотренного в 5.3.5.1.

Категория двигателя

Поправочные коэффициенты

СО

НС+NОх

Твердые частицы

i) Двигатель с принудительным зажиганием

1,2

1,2

-

ii) Двигатель с воспламенением от сжатия

1,1

1,0

1,2

По требованию изготовителя техническая служба может провести испытание типа I перед завершением испытания типа V с использованием поправочных коэффициентов, приведенных в таблице. После завершения испытания типа V техническая служба может изменить результаты официального утверждения, указанные в приложении 2, заменой поправочных коэффициентов, указанных в таблице, коэффициентами, измеренными в ходе испытания типа V.

5.3.5.3 Поправочные коэффициенты определяют с помощью процедуры, предусмотренной в 5.3.5.1, или значений, указанных в таблице в пункте 5.3.5.2. Поправочные коэффициенты используют для установления соответствия требованиям 5.3.1.4.2, 5.3.1.4.3, 8.3.1.1.2 и 8.3.1.1.3.

6 Модификации типа транспортного средства

6.1 Любая модификация типа транспортного средства доводится до сведения административного органа, предоставившего официальное утверждение данному типу транспортного средства. Этот орган может:

6.1.1 либо прийти к заключению, что внесенные изменения не будут иметь значительных отрицательных последствий и в любом случае данное транспортное средство по-прежнему удовлетворяет требованиям;

6.1.2 либо потребовать нового протокола испытаний от технической службы, уполномоченной проводить испытания.

6.2 Подтверждение официального утверждения или отказ в официальном утверждении направляют вместе с перечнем изменений сторонам Соглашения, применяющим настоящие Правила, в соответствии с процедурой, предусмотренной в 4.3.

6.3 Компетентные органы, предоставившие распространение официального утверждения, присваивают серийный номер указанному выше распространению и сообщают об этом другим сторонам Соглашения 1958 г., применяющим настоящие Правила, с помощью карточки сообщения, соответствующей образцу, приведенному в приложении 2.

7 Распространение официального утверждения

7.1 Распространения в отношении выбросов отработавших газов (испытания типов I и II)

7.1.1 Типы транспортных средств с различной контрольной массой

Официальное утверждение определенного типа транспортного средства может быть распространено на типы транспортных средств, отличающиеся от официально утвержденного типа только контрольной массой, при соблюдении следующих условий.

7.1.1.1 Транспортные средства, за исключением транспортных средств, указанных в 5.3.1.4.1.1 и 5.3.1.4.1.2 (Официальное утверждение А)

Официальные утверждения могут быть распространены только на те транспортные средства, контрольная масса которых обусловливает необходимость использования ближайшей большей эквивалентной инерции и любой меньшей инерции.

7.1.1.2 В случае транспортных средств категории N1 и транспортных средств категории М, указанных в сноске1) к 5.3.1.4, если контрольная масса типа транспортного средства, на который запрашивают распространение официального утверждения, предполагает необходимость использования маховика эквивалентной инерционной массы, меньше той массы, которую используют для типа транспортного средства, которое уже было официально утверждено, то официальное утверждение распространяется, если масса загрязняющих веществ, измеренная на транспортном средстве, которое уже официально утверждено, находится в пределах, предписанных для транспортного средства, на которое запрашивают распространение официального утверждения.

7.1.1.3 Транспортные средства, за исключением транспортных средств, предусмотренных в 5.3.1.4.1.1 и 5.3.1.4.1.2 (Официальное утверждение А).

7.1.1.3.1 Официальное утверждение может быть распространено только на те транспортные средства, контрольная масса которых обусловливает использование ближайшей большей или ближайшей меньшей эквивалентной инерции.

7.1.1.3.2 Если контрольная масса типа транспортного средства, на который запрашивают распространение официального утверждения, обусловливает использование эквивалентной инерции, большей, чем инерция, соответствующая уже официально утвержденному типу транспортного средства, то распространение официального утверждения разрешается.

7.1.1.3.3 Если контрольная масса типа транспортного средства, на который запрашивают распространение официального утверждения, обусловливает использование эквивалентной инерции, меньшей, чем инерция, соответствующая уже официально утвержденному типу транспортного средства, то распространение официального утверждения разрешается лишь в том случае, если массы загрязняющих веществ, полученные от уже официально утвержденного транспортного средства, находятся в пределах, предписанных для транспортного средства, на которое запрашивают распространение официального утверждения.

7.2 Типы транспортных средств, имеющих иные общие передаточные числа

7.2.1 Официальное утверждение типа транспортного средства может быть распространено на другие типы транспортных средств, отличающиеся от официально утвержденного типа только общими передаточными числами, при соблюдении следующих условий:

7.2.1.1 для каждого из передаточных чисел, используемых при проведении испытания типа I, определяют соотношение

где V1 и V2 обозначают соответственно скорость при 1000 мин-1 двигателя транспортного средства официально утвержденного типа и скорость типа транспортного средства, на который запрашивают распространение официального утверждения.

7.2.2 Если для каждого передаточного числа Е£8%, то распространение официального утверждения предоставляют без проведения повторных испытаний типа I.

7.2.3 Если, по крайней мере, для одного передаточного числа Е>8 % и для каждого передаточного числа Е£13 %, то испытания типа I должны быть повторены, но они могут быть проведены в лаборатории, выбираемой изготовителем, при согласии на то компетентного органа, предоставляющего официальное утверждение. Протокол о проведении испытаний направляют технической службе, уполномоченной проводить испытания для официального утверждения данного типа транспортного средства.

7.3 Типы транспортных средств, имеющие иную контрольную массу и иные общие передаточные числа

Официальное утверждение типа транспортного средства может быть распространено на другие типы транспортных средств, отличающиеся от официально утвержденного типа только контрольной массой и общими передаточными числами, при соблюдении условий, предписанных в 7.1. и 7.2.

7.4 Типы транспортных средств, оснащенных двигателем с принудительным зажиганием, которые отличаются только с точки зрения предписаний, касающихся топлива

Для типа транспортного средства, оснащенного двигателем с принудительным зажиганием, отрегулированным в соответствии с рекомендациями предприятия-изготовителя для работы на неэтилированном бензине, или оснащенного для работы на СНГ или природном газе, или оснащенного таким образом, чтобы он мог работать на неэтилированном бензине в сочетании с СНГ или природным газом, но отвечающим предельным значениям предписаний, касающихся выбросов, определенным в 5.3.1.4.1.1, может выдаваться Официальное утверждение А, предусмотренное в 4.4.3.

В этом случае официальное утверждение распространяется на двигатели, работающие на этилированном бензине.

7.5 Примечание

Если конкретный тип транспортного средства получил официальное утверждение в соответствии с 7.1-7.4, это официальное утверждение не может быть распространено на другие типы транспортных средств.

7.6 Выбросы в результате испарения (испытание типа IV)

7.6.1 Официальное утверждение типа транспортного средства, оснащенного системой контроля выбросов в результате испарения, может быть распространено при следующих условиях:

7.6.1.1 Основной принцип системы, обеспечивающей приготовление топливной смеси (например, инжектор, карбюратор), должен быть одинаковым.

7.6.1.2 Форма топливного бака, а также материал, из которого изготовлен топливный бак, и топливопроводы должны быть идентичными. Диаметр и приблизительная длина топливопроводов должны быть идентичными, причем для испытуемой серии отбирается наиболее неблагоприятный вариант (длина топливопроводов). Техническая служба, несущая ответственность за проведение испытаний, может решить вопрос о том, являются ли приемлемыми различные сепараторы пар/жидкость.

Допуск по объему топливного бака должен составлять ± 10 %. Регулировка предохранительного клапана должна быть идентичной.

7.6.1.3 Метод удержания паров топлива должен быть идентичным, например форма и размер ловушки, субстанция хранения, воздушный фильтр (если его используют для контроля выбросов в результате испарения) и т.д.

7.6.1.4 Объем поплавковой камеры карбюратора должен быть в пределах 10 см3.

7.6.1.5 Метод выпуска скопившихся паров топлива должен быть идентичным (например, дебит, исходная точка или стравленный объем в ходе ездового цикла).

7.6.1.6 Метод обеспечения герметичности и продувки карбюратора должен быть идентичным.

7.6.2 Дополнительные замечания:

i) допускаются двигатели с иным рабочим объемом,

ii) допускаются двигатели иной мощности,

iii) допускаются автоматические или механические коробки передач, два или четыре ведущих колеса,

iiii) допускаются иные формы кузова,

iiiii) допускаются иные размеры колес и пневматических шин.

7.7 Долговечность устройств для предотвращения загрязнения (испытание типа V)

7.7.1 Официальное утверждение определенного типа транспортного средства может быть распространено на другие типы транспортных средств при условии, что сочетание «двигатель/система предотвращения загрязнения» идентичны тому, которое имеется на уже официально утвержденном транспортном средстве.

С этой целью сочетание «двигатель/система предупреждения загрязнения» различных типов транспортных средств будет рассматриваться как относящееся к одной и той же группе, если приводимые ниже параметры этих транспортных средств являются идентичными или не выходят за пределы предписанных значений:

7.7.1.1 Двигатель:

число цилиндров, рабочий объем (±15 %), конфигурация блока цилиндров, количество клапанов, система питания, система охлаждения, топливный цикл.

7.7.1.2 Система предотвращения загрязнения:

Каталитический преобразователь:

количество катализаторов и элементов,

размер и форма катализатора (объем ±10 %),

тип каталитической активности (окисление, трехходовой, ...),

содержание драгоценных металлов (идентичное или большее),

соотношение драгоценных металлов (±15 %),

опоры катализатора (структура и материал),

плотность ячеек,

тип оболочки каталитического элемента,

расположение каталитического преобразователя (местоположение на линии отвода отработавших газов и размеры не должны допускать изменения температуры более чем на 50 К на входе в каталитический преобразователь).

Наддув:

имеется или отсутствует,

тип (импульсный нагнетатель, воздушный насос, ...),

рециркуляция отработавших газов (имеется или отсутствует).

7.7.1.3 Класс инерции: ближайший больший класс инерции и любой меньший класс эквивалентной инерции.

7.7.1.4 Ресурсное испытание может проводиться на транспортном средстве, кузов, коробка скоростей (автоматическая или механическая), размеры колес или пневматических шин которого отличаются от соответствующих показателей транспортного средства, в отношении которого запрашивается официальное утверждение.

8 Соответствие производства

8.1 Каждое транспортное средство, имеющее знак официального утверждения, предписанный на основании настоящих Правил, должно соответствовать официально утвержденному типу транспортного средства в отношении элементов, которые влияют на выделение двигателем загрязняющих отработавших газов и выбросов в виде испарений.

8.2 Как правило, соответствие производства в отношении ограничения выбросов транспортным средством (испытания типов I, II, III и IV) проверяют на основе описания, содержащегося в карточке сообщения и приложениях к ней.

8.2.1 Транспортные средства, работающие на этилированном бензине (Официальное утверждение А)

8.2.1.1 Для проверки соответствия транспортных средств при испытании типа I применяют следующую процедуру.

8.2.1.1.1 Транспортное средство отбирают из данной серии и подвергают испытанию, описанному в 5.3.1.

8.2.1.1.1.1 Предельные значения, указанные в 5.3.1.4.1.1, заменяют следующими значениями:

Контрольная масса (КМ), кг

Масса углерода L1, г/испытание

Общая масса углеводородов и оксидов азота L2, г/испытание

KM £ 1020

70

23,8

1020 < KM £ 1250

80

25,6

1250 < KM £ 1470

91

27,5

1470 < KM £ 1700

101

29,4

1700 < KM £ 1930

112

31,3

1930 < KM £ 2150

121

33,1

2150 < KM

132

35,0

8.2.1.1.1.2 Предельные значения, указанные в 5.3.1.4.1.2, заменяют предельными значениями, указанными в таблице в пункте 8.2.1.1.1.1. Однако значения общей массы углеводородов и оксидов азота умножают на коэффициент 1,25.

8.2.1.1.2 Если отобранное изданной серии транспортное средство не соответствует требованиям 8.2.1.1.1, то предприятие-изготовитель может потребовать проведения измерений на выборке из данной серии транспортных средств, включающих первоначально отобранное транспортное средство. Размер выборки n устанавливает предприятие-изготовитель. Транспортные средства, за исключением первоначально отобранного, подвергают только одному испытанию типа I. Учитываемым результатом для первоначально отобранного транспортного средства является среднее арифметическое результатов трех испытаний типа I, проведенных на этом транспортном средстве. Среднее арифметическое () результатов, полученных для выборки и типового отклонения S1), определяют одновременно для выбросов оксида углерода и для общих выбросов углеводородов и оксидов азота.

1) где X - один из отдельных результатов n.

Выпущенную серию считают соответствующей официально утвержденному типу, если соблюдено следующее условие:

+kS£L,

где L - предельное значение, предписанное в 8.2.1.1.1 для выбросов оксида углерода (L1), суммарных выбросов углеводородов и оксидов азота (L2);

k - статистический коэффициент, зависящий от n и указываемый в приводимой ниже таблице:

n

2

3

4

5

6

7

8

9

10

k

0,973

0,613

0,489

0,421

0,376

0,342

0,317

0,296

0,279

n

11

12

13

14

15

16

17

18

19

k

0,265

0,253

0,242

0,233

0,224

0,216

0,210

0,203

0,198

если n³20, .

8.2.1.2 Если на отобранном из данной серии транспортном средстве необходимо провести испытание типа II или III, то следует соблюдать условия, указанные в 5.3.2.2 и 5.3.3.3.2.

8.2.1.3 В отступление от требований 3.1.1 приложения 4 техническая служба, ответственная за проверку соответствия производства, может с согласия предприятия-изготовителя проводить испытания типов I, II и III на транспортных средствах с пробегом менее 3000 км.

8.2.2 Транспортные средства, которые работают на неэтилированном бензине или СНГ, или природном газе или которые могут работать на неэтилированном бензине в сочетании с СНГ или природным газом (Официальное утверждение В или D) и транспортные средства, которые работают на дизельном топливе (Официальное утверждение С)

Контроль за соответствием производства основан на изучении компетентным органом, занимающимся официальным утверждением, адекватности мер и документально подтвержденных планов контроля в целях обеспечения соответствия транспортных средств серийного производства официально утвержденному типу в отношении выбросов загрязняющих веществ.

Если уровень контроля оказывается неудовлетворительным, компетентный орган, занимающийся официальным утверждением, может провести любое испытание или проверку с использованием серийных транспортных средств.

8.2.2.1 Если необходимо провести испытание типа I и официальное утверждение типа транспортного средства было распространено один или несколько раз, испытание проводят на транспортном средстве (транспортных средствах), описанном (описанных) в первоначальной заявке на официальное утверждение типа.

После представления отобранных транспортных средств компетентному органу предприятие-изготовитель не может производить на них никакие регулировки.

8.2.2.1.1 Три транспортных средства произвольно выбирают из данной серии и испытывают в соответствии с 5.3.1. Коэффициенты ухудшения используют аналогичным образом. Предельные значения указаны в 5.3.1.4.2.1 (Официальное утверждение В) или 5.3.1.4.3.1 (Официальное утверждение С).

8.2.2.1.2 Если компетентный орган удовлетворен представленными предприятием-изготовителем данными об отклонениях от технических норм, испытания проводят в соответствии с разделом 1 приложения 11.

Если компетентный орган не удовлетворен представленными предприятием-изготовителем данными об отклонениях от технических норм, испытания проводят в соответствии с разделом 2 приложения 11.

8.2.2.1.3 Соответствие или несоответствие серийного производства устанавливают по результатам испытания выборки транспортных средств после принятия положительного решения о прохождении испытания в отношении всех загрязняющих веществ или отрицательного решения о прохождении испытания в отношении одного загрязняющего вещества, согласно критериям испытания, указанным в соответствующем разделе приложения 11.

После принятия положительного решения о прохождении испытания в отношении одного загрязняющего вещества это решение не может быть изменено в результате любых дополнительных испытаний, проводимых для принятия решения в отношении других загрязняющих веществ.

Если положительное решение о прохождении испытания в отношении всех загрязняющих веществ или отрицательное решение о прохождении испытания в отношении одного загрязняющего вещества не принимают, испытание проводят на дополнительном транспортном средстве (см. рисунок 2).

Рисунок 2

8.2.2.1.4 В отступление от требований 3.1.1 приложения 4 испытания проводят на новых транспортных средствах.

8.2.2.1.5 Однако по просьбе предприятия-изготовителя испытания могут проводиться на транспортных средствах с пробегом:

i) не более 3000 км - для транспортных средств, оснащенных двигателем с принудительным зажиганием;

ii) не более 15000 км - для транспортных средств, оснащенных двигателем с воспламенением от сжатия.

В этих случаях процедуру обкатки осуществляет предприятие-изготовитель, который обязуется не производить на этих транспортных средствах никаких регулировок.

8.2.2.1.6 Если предприятие-изготовитель обращается с просьбой произвести обкатку км, где Х £ 3000 км для транспортных средств, оснащенных двигателем с принудительным зажиганием, и Х £ 15 000 км для транспортных средств, оснащенных двигателем с воспламенением от сжатия), это испытание можно проводить следующим образом:

i) объем выбросов загрязняющих веществ (тип I) измеряют при нулевом пробеге и при Х км на первом испытуемом транспортном средстве:

ii) коэффициент изменения объема выбросов между значениями при нулевом пробеге и пробеге рассчитывают для каждого из загрязняющих веществ:

Это значение может быть меньше 1.

iii) Последующие испытуемые транспортные средства не подвергают процедуре обкатки, однако объем произведенных ими выбросов при нулевом пробеге корректируют с учетом упомянутого коэффициента изменения.

В этом случае используют следующие значения:

a) значения при работе Х км для первого транспортного средства;

b) значения при нулевом пробеге, умноженные на коэффициент изменения, для других транспортных средств.

8.2.2.1.7 Все эти испытания могут проводиться с использованием коммерческих сортов топлива. Однако по просьбе предприятия-изготовителя можно использовать эталонное топливо, описанное в приложении 9.

8.2.2.2 Если необходимо провести испытание типа III, то его проводят на всех транспортных средствах, отобранных для испытания на соответствие производства типа I (8.2.2.1.1). При этом должны соблюдаться условия, приведенные в 5.3.3.2.

8.2.2.3 Если необходимо провести испытание типа IV, его проводят в соответствии с разделом 7 приложения 7.

9 Санкции, налагаемые за несоответствие производства

9.1 Официальное утверждение типа транспортного средства, предоставленное на основании настоящих Правил, может быть отменено, если не соблюдаются требования 8.1 или отобранное транспортное средство (отобранные транспортные средства) не выдержало (не выдержали) испытаний, предусмотренных в 8.2.

9.2 Если какая-либо сторона Соглашения, применяющая настоящие Правила, отменяет предоставленное ею ранее официальное утверждение, она немедленно уведомляет об этом другие Договаривающиеся стороны, применяющие настоящие Правила, посредством карточки сообщения, соответствующей образцу, приведенному в приложении 2.

10 Модификация типа транспортного средства и распространение официального утверждения

10.1 Любая модификация типа транспортного средства доводится до сведения административного органа, который предоставил официальное утверждение данному типу транспортного средства. Этот орган может:

10.1.1 либо прийти к заключению, что внесенные изменения не будут иметь значительных отрицательных последствий и в любом случае данное транспортное средство по-прежнему удовлетворяет требованиям;

10.1.2 либо потребовать нового протокола испытаний технической службы, уполномоченной проводить испытания.

10.2 Подтверждение официального утверждения или отказ в официальном утверждении направляют вместе с перечнем изменений сторонам Соглашения, применяющим настоящие Правила, в соответствии с процедурой, предусмотренной в 4.3.

10.3 Компетентный орган, распространивший официальное утверждение, присваивает такому распространению соответствующий серийный номер и уведомляет об этом другие стороны Соглашения 1958 г., применяющие настоящие Правила, посредством карточки сообщения, соответствующей образцу, приведенному в приложении 2.

11 Окончательное прекращение производства

Если владелец официального утверждения окончательно прекращает производство какого-либо типа транспортного средства, официально утвержденного в соответствии с настоящими Правилами, он должен информировать об этом компетентный орган, предоставивший официальное утверждение. По получении соответствующего сообщения этот компетентный орган уведомляет об этом другие стороны Соглашения 1958 г., применяющие настоящие Правила, посредством карточки сообщения, соответствующей образцу, приведенному в приложении 2.

12 Наименования и адреса технических служб, уполномоченных проводить испытания для официального утверждения, и административных органов

Стороны Соглашения 1958 г., применяющие настоящие Правила, сообщают Секретариату Организации Объединенных Наций наименования и адреса технических служб, уполномоченных проводить испытания для официального утверждения, а также административных органов, которые предоставляют официальное утверждение и которым следует направлять выдаваемые в других странах регистрационные карточки официального утверждения, распространения официального утверждения, отказа в официальном утверждении или отмены официального утверждения.

13 Переходные положения, касающиеся официального утверждения транспортных средств

13.1 Приводимые ниже положения применяли до 31 декабря 1994 г. в отношении впервые выпущенных в эксплуатацию транспортных средств, тип которых был официально утвержден до 1 июля 1993 г.

13.1.1 По просьбе изготовителя, в соответствии с требованиями 13.1.1.1 и 13.1.1.2, можно проводить испытание, аналогичное испытанию типа I для проверки выбросов после запуска холодного двигателя, в целях официального утверждения типа и проверки соответствия производства транспортных средств категории М1, оснащенных двигателем с рабочим объемом ³ 1400 см3 и работающих на неэтилированном бензине или дизельном топливе.

В этом случае техническая служба проводит аналогичное испытание, описанное в приложении 4А (цикл ЕРА), вместо испытания, приведенного в 5.3.1.

13.1.1.1 Официальное утверждение В транспортных средств категории М1, оснащенных двигателем с рабочим объемом ³ 1400 см3 и работающих на неэтилированном бензине.

Для официального утверждения этого типа транспортного средства предельные значения, содержащиеся в таблице пункта 5.3.1.4.2.1, заменяют следующими:

- масса оксида углерода (L1) - 2,11 г/км;

- масса углеводородов (L2) - 0,25 г/км;

- масса оксидов азота (L3) - 0,62 г/км.

Считается, что эти предельные значения соблюдены, если результаты испытания какого-либо типа транспортного средства не превышают их, причем масса каждого загрязняющего вещества должна быть умножена на соответствующий поправочный коэффициент, взятый из следующей таблицы:

Система контроля выбросов

Поправочный коэффициент

СО

НС

х

Двигатель с принудительным зажиганием, оснащенный окисляющим каталитическим преобразователем

1,2

1,3

1,0

Двигатель с принудительным зажиганием, не оснащенный каталитическим преобразователем

1,2

1,3

1,0

Двигатель с принудительным зажиганием, оснащенный трехходовым каталитическим преобразователем

1,2

1,3

1,1

13.1.1.2 Официальное утверждение С транспортных средств категории М1, оснащенных двигателем с рабочим объемом ³ 1400 см3 и работающих на дизельном топливе.

Для официального утверждения этого типа транспортного средства предельные значения, содержащиеся в таблице пункта 5.3.1.4.3.1, заменяют следующими:

- масса оксида углерода (L1) - 2,11 г/км;

- масса углеводородов (L2) - 0,25 г/км;

- масса оксидов азота (L3) - 0,62 г/км;

- масса твердых частиц (L4) - 0,124 г/км.

Считается, что эти предельные значения соблюдены, если результаты испытания какого-либо типа транспортного средства не превышают их, причем масса каждого загрязняющего вещества должна быть умножена на соответствующий поправочный коэффициент, взятый из следующей таблицы:

Система контроля выбросов

Поправочный коэффициент

СО

НС

х

Твердые частицы

1 Двигатель с воспламенением от сжатия

1,1

1,0

1,0

1,2

13.1.1.3 Если в результате применения других проверочных процедур изготовителем установлено, что существуют конкретные поправочные коэффициенты для конкретного транспортного средства, эти коэффициенты могут применяться вместо предписанных коэффициентов для проверки соблюдения предельных значений, указанных в настоящем пункте.

13.1.1.4 Для проверки соответствия производства могут быть отобраны транспортные средства серийного производства, которые подвергают испытанию, описанному в приложении 4А.

13.1.1.4.1 Транспортное средство считают несоответствующим, если результаты его испытания, скорректированные с помощью поправочных коэффициентов, установленных для официально утвержденного типа транспортного средства на основании положений, содержащихся в разделе 13, превышают одно или несколько предельных значений, указанных в 13.1.1.1 или 13.1.1.2.

13.1.2 Для официального утверждения и проверки соответствия производства транспортных средств категории М1 (Официальное утверждение В), оснащенных двигателем с принудительным зажиганием и рабочим объемом более 2000 см3, испытание проводят в соответствии с методом, описанным в 5.3.1.2.4.

13.1.2.1 С учетом положений, содержащихся в 5.3.1.4.5 и 5.3.1.5, испытание проводят три раза. Для соответствующих категорий транспортных средств полученные значения массы оксида углерода, общей массы углеводородов и оксидов азота и массы оксида азота должны быть меньше приведенных ниже значений (официальное утверждение):

Рабочий объем С, см3

Масса оксида углерода L1, г/испытание

Общая масса углеводородов и оксидов азота L2, г/испытание

Масса оксидов азота L3, г/испытание

С>2000

25

6,5

3,5

13.1.2.2 Для проверки соответствия производства берут автомобиль серийного производства, который подвергают испытанию, описанному в 5.2.2. Однако предельные значения, указанные в 13.1.2.1, заменяют следующими предельными значениями (производство):

Рабочий объем С, см3

Масса оксида углерода L1, г/испытание

Общая масса углеводородов и оксидов азота L2, г/испытание

Масса оксидов азота L3, г/испытание

С>2000

30

8,1

4.4

13.1.3 Официальное утверждение В и С транспортных средств категории М1, оснащенных двигателем с рабочим объемом меньше 1400 см3.

13.1.3.1 Для официального утверждения транспортных средств этой категории применяют следующие предельные значения:

Рабочий объем С, см3

Масса оксида углерода L1, г/испытание

Общая масса углеводородов и оксидов азота L2, г/испытание

Масса оксидов азота*) L4, г/испытание

С<1400

19

5

1,1

*) Для транспортных средств, оснащенных двигателями с воспламенением от сжатия.

13.1.3.2 Для проверки соответствия производства применяют следующие предельные значения:

Рабочий объем С, см3

Масса оксида углерода L1, г/испытание

Общая масса углеводородов и оксидов азота L2, г/испытание

Масса оксидов азота*) L4, г/испытание

С<1400

22

5,8

1,4

*)Для транспортных средств, оснащенных двигателями с воспламенением от сжатия.

13.1.4 По просьбе изготовителя вместо испытаний, указанных в 5.3.1.4.2.1, 5.3.1.4.3.1, 5.3.5, 8.3.1.1.2.1 и 8.3.1.1.3.1, могут быть приняты результаты испытаний, проведенных в соответствии с настоящими требованиями.

13.2 Официальное утверждение транспортных средств, оснащенных двигателем с воспламенением от сжатия и прямым впрыском топлива:

для транспортных средств категории М11) - до 1 июля 1994 г. в случае официального утверждения по типу конструкции и до 31 декабря 1994 г. в случае первой сдачи в эксплуатацию;

1) За исключением:

- транспортных средств, предназначенных для перевозки более шести пассажиров, включая водителя;

- транспортных средств, максимальная масса которых превышает 2500 кг.

для транспортных средств категории N12) - до 1 октября 1994 г. в случае официального утверждения по типу конструкции и до 1 октября 1995 г. в случае первой сдачи в эксплуатацию;

2) Включая те транспортные средства категории М, которые указаны в сноске1)/.

предельными значениями общей массы углеводородов и оксидов азота и массы твердых частиц для транспортных средств, оснащенных двигателем с воспламенением от сжатия и прямым впрыском топлива, являются значения, получаемые посредством умножения значений L2 и L4, указанных в таблицах в пункте 5.3.1.4 (официальное утверждение) и 8.1.1.1 (проверка соответствия производства) на коэффициент 1,4.

13.3 Официальное утверждение В или С транспортных средств, которые оснащены двигателями меньшей мощности и максимальная скорость которых не превышает 130 км/ч:

13.3.1 Для транспортных средств категории М1), максимальная мощность двигателя которых не превышает 30 кВт, а максимальная скорость не превышает 130 км/ч, максимальная скорость движения в условиях внегородского цикла (вторая часть) ограничивается 90 км/ч до 1 июля 1994 г.

1) За исключением:

- транспортных средств, предназначенных для перевозки более шести пассажиров, включая водителя;

- транспортных средств, максимальная масса которых превышает 2500 кг.

13.3.2 Для транспортных средств категории N12), у которых соотношение мощности и веса не превышает 30 кВт/т3), а максимальная скорость не превышает 130 км/ч, максимальная скорость движения в условиях внегородского цикла (вторая часть) ограничивается 90 км/ч до 1 января 1996 г. в случае транспортных средств категории I и до 1 января 1997 г. - в случае транспортных средств категорий II и III.

2) Включая те транспортные средства категории М, которые указаны в сноске1).

3) Технически допустимая масса в груженом состоянии, указанная предприятием-изготовителем.

После этого срока транспортные средства, которые не могут развить ускорение и максимальную скорость до уровня, предписанного в рабочем цикле, следует испытывать при полностью выжатой педали газа до тех пор, пока они не достигнут требуемого рабочего режима. Отклонения от рабочего цикла должны быть зарегистрированы в протоколе испытания.

ПРИЛОЖЕНИЕ 1

(обязательное)

Основные характеристики двигателя и информация, касающаяся проведения испытаний

Следующая информация, при ее наличии, должна предоставляться в трех экземплярах и должна включать резюме.

Чертежи, при их наличии, должны предоставляться в надлежащем масштабе и достаточно подробном виде на листах формата А4 или сложенных до такого формата. Если работу двигателя контролируют с помощью микропроцессора, следует представить соответствующую информацию, касающуюся функционирования такого контроля.

1 Описание двигателя

1.1 Изготовитель __________________________________________________________

1.1.1 Код двигателя, присвоенный изготовителем (проставленный на двигателе или указанный каким-либо иным образом) __________________________________________

1.2 Двигатель внутреннего сгорания __________________________________________

1.2.1 Характеристики двигателя _____________________________________________

1.2.1.1 Принцип работы: принудительное зажигание/воспламенение от сжатия, четырехтактный/двухтактный1)

1.2.1.2 Число и расположение цилиндров, порядок зажигания

1.2.1.2.1 Диаметр цилиндра, мм2)

1.2.1.2.2 Ход поршня, мм2)

1.2.1.3 Рабочий объем, см3 3)

1.2.1.4 Степень сжатия4) ____________________________________________________

1.2.1.5 Чертежи камеры сгорания и верхней части поршня ________________________

1.2.1.6 Число оборотов в режиме холостого хода4) _______________________________

1.2.1.7 Содержание оксида углерода (по объему) в отработавших газах в режиме холостого хода - в процентах (согласно предписаниям изготовителя)3) ________________

1.2.1.8 Максимальная полезная мощность, кВт, при _________ мин-1 _______________

1.2.2 Топливо: этилированный бензин/неэтилированный бензин/дизельное топливо/СНГ/природный газ1).

1.2.3 Метод определения октанового числа неэтилированного бензина _____________

1.2.4 Подача топлива

1.2.4.1 С помощью карбюратора (карбюраторов): да/нет1)

1.2.4.1.1 Марка (марки) ______________________________________________________

1.2.4.1.2 Тип (типы) _________________________________________________________

1.2.4.1.3 Количество ________________________________________________________

1.2.4.1.4 Регулировка4) ______________________________________________________

1.2.4.1.4.1 Жиклеры _________________________________________________________

1.2.4.1.4.2 Диффузоры ______________________________________________________

1.2.4.1.4.3 Уровень в поплавковой камере ______________________________________

1.2.4.1.4.4 Масса поплавка ___________________________________________________

1.2.4.1.4.5 Игла ____________________________________________________________

1.2.4.1.5 Система запуска холодного двигателя: ручной/автоматический1)

1.2.4.1.5.1 Принцип функционирования ________________________________________

1.2.4.1.5.2 Пределы функционирования/регулировки1), 4) __________________________

1.2.4.2 Путем впрыскивания (только для двигателей с воспламенением от сжатия) да/нет1): _____________________________________________________________________

1.2.4.2.1 Описание системы __________________________________________________

1.2.4.2.2 Принцип функционирования (прямое впрыскивание/выпрыскивание в форкамеру/выпрыскивание в вихревую камеру)1)

1.2.4.2.3 Насос высокого давления ____________________________________________

1.2.4.2.3.1 Марка (марки) ____________________________________________________

1.2.4.2.3.2 Тип (типы) _______________________________________________________

1.2.4.2.3.3 Максимальная производительность1), 4), мм3 за один ход или цикл работы насоса при ______________ мин-1 1), 4) или соответствующая диаграмма _______________

1.2.4.2.3.4 Регулировка впрыскивания4) ________________________________________

1.2.4.2.3.5 Кривая впрыскивания4) _____________________________________________

1.2.4.2.3.6 Метод тарирования: на стенде/на двигателе1)

1.2.4.2.4 Регулятор

1.2.4.2.4.1 Тип _____________________________________________________________

1.2.4.2.4.2 Режим прекращения подачи топлива: _________________________________

1.2.4.2.4.2.1 Частота вращения находящегося под нагрузкой двигателя в момент прекращения подачи топлива, мин-1 _____________________________________________

1.2.4.2.4.2.2 Максимальная частота вращения двигателя, не находящегося под нагрузкой, мин-1 ______________________________________________________________

1.2.4.2.4.3 Частота вращения в режиме холостого хода, мин-1 ______________________

1.2.4.2.5 Инжектор (инжекторы) ______________________________________________

1.2.4.2.5.1 Марка (марки) ____________________________________________________

1.2.4.2.5.2 Тип (типы) _______________________________________________________

1.2.4.2.5.3 Давление в момент открытия4), кПа или соответствующая диаграмма _____

1.2.4.2.6 Система запуска холодного двигателя

1.2.4.2.6.1 Марка (марки) ____________________________________________________

1.2.4.2.6.2 Тип (типы) _______________________________________________________

1.2.4.2.6.3 Описание ________________________________________________________

1.2.4.2.7 Вспомогательные устройства запуска двигателя

1.2.4.2.7.1 Марка (марки) ____________________________________________________

1.2.4.2.7.2 Тип (типы) _______________________________________________________

1.2.4.2.7.3 Описание_________________________________________________________

1.2.4.3 Путем впрыскивания (только для двигателей с принудительным зажиганием): да/нет1)

1.2.4.3.1 Описание системы __________________________________________________

1.2.4.3.2 Принцип функционирования: впрыскивание во впускной коллектор (в одной точке/в нескольких точках/прямое впрыскивание/прочее (уточнить))

 

Сведения относятся к системам непрерывного впрыскивания;

в случае других систем представить соответствующие сведения

Устройство для предотвращения сбоев в функционировании. Описание и/или чертеж _

_____________________________________________________________________________

_____________________________________________________________________________

_____________________________________________________________________________

1.2.4.3.3 Марка (марки) ______________________________________________________

1.2.4.3.4 Тип (типы) _________________________________________________________

1.2.4.3.5 Инжекторы: давление в момент открытия4), кПа, или соответствующая диаграмма4) __________________________________________________________________

1.2.4.3.6 Регулировка впрыскивания ___________________________________________

1.2.4.3.7 Система запуска холодного двигателя __________________________________

1.2.4.3.7.1 Принцип (принципы) функционирования _____________________________

1.2.4.3.7.2 Предельные значения параметров функционирования/регулировки1), 4).

1.2.4.4 Насос высокого давления

1.2.4.4.1 Давление4), кПа, или соответствующая диаграмма

1.2.4.5 Система питания на СНГ: да/нет1)

1.2.4.5.1 Номер официального утверждения в соответствии с Правилами ЕЭК ООН № 67 и документация

1.2.4.5.2 Электронный блок управления работой двигателя для системы питания на СНГ

1.2.4.5.2.1 Марка (марки) ____________________________________________________

1.2.4.5.2.2 Тип _____________________________________________________________

1.2.4.5.2.3 Возможности регулировки выбросов _________________________________

1.2.4.5.3 Дополнительная документация

1.2.4.5.3.1 Описание системы защиты каталитического нейтрализатора при переходе с бензина на СНГ или обратно ___________________________________________________

1.2.4.5.3.2 Схема системы (электрические соединения, пневматические соединения, компенсационные шланги и т.д.) _______________________________________________

1.2.4.5.3.3 Чертеж условного обозначения ______________________________________

1.2.4.6 Система питания на природном газе: да/нет1)

1.2.4.6.1 Номер официального утверждения в соответствии с Правилами ЕЭК ООН № 67 __________________________________________________________________________

1.2.4.6.2 Электронный блок управления работой двигателя для системы питания на природном газе

1.2.4.6.2.1 Марка (марки) ____________________________________________________

1.2.4.6.2.2 Тип _____________________________________________________________

1.2.4.6.2.3 Возможности регулировки выбросов _________________________________

1.2.4.6.3 Дополнительная документация

1.2.4.6.3.1 Описание системы защиты каталитического нейтрализатора при переходе с бензина на природный газ или обратно ___________________________________________

1.2.4.6.3.2 Схема системы (электрические соединения, пневматические соединения, компенсационные патрубки и т.д.) ______________________________________________

1.2.4.6.3.3 Чертеж условного обозначения ______________________________________

1.2.5 Зажигание

1.2.5.1 Марка (марки)________________________________________________________

1.2.5.2 Тип (типы) __________________________________________________________

1.2.5.3 Принцип функционирования ___________________________________________

1.2.5.4 Характеристика регулятора опережения зажигания4) _______________________

1.2.5.5 Установка момента зажигания4) ______ до ВМТ ___________________________

1.2.5.6 Размыкание контактов4) _______________________________________________

1.2.5.7 Угол кулачка4) _______________________________________________________

1.2.5.8 Свечи зажигания

1.2.5.8.1 Марка_____________________________________________________________

1.2.5.8.2 Тип _______________________________________________________________

1.2.5.8.3 Зазор между электродами, мм

1.2.5.9 Катушка зажигания

1.2.5.9.1 Марка _____________________________________________________________

1.2.5.9.2 Тип _______________________________________________________________

1.2.5.10 Конденсатор зажигания

1.2.5.10.1 Марка

1.2.5.10.2 Тип ______________________________________________________________

1.2.6 Система охлаждения (жидкостная/воздушная)1)

1.2.7 Система впуска ________________________________________________________

1.2.7.1 Наддув: да/нет1)

1.2.7.1.1 Марка (марки) ______________________________________________________

1.2.7.1.2 Тип (типы) _________________________________________________________

1.2.7.1.3 Описание системы (максимальное давление наддува в кПа, дроссель турбонагнетателя) ____________________________________________________________

1.2.7.2 Внутренний охладитель: да/нет1)

1.2.7.3 Описание и чертежи воздухозаборников и вспомогательного оборудования (распределитель, подогреватель, дополнительные воздухозаборники и т.д.) ___________

_____________________________________________________________________________

1.2.7.3.1 Описание впускного коллектора (включая чертежи и/или фотографии)

1.2.7.3.2 Воздушный фильтр, чертежи: __________ или

1.2.7.3.2.1 Марка (марки) ____________________________________________________

1.2.7.3.2.2 Тип (типы) _______________________________________________________

1.2.7.3.3 Глушитель шума впуска, чертежи: __________ или

1.2.7.3.3.1 Марка (марки) ____________________________________________________

1.2.7.3.3.2 Тип (типы) _______________________________________________________

1.2.8 Выпускная система

1.2.8.1 Описание и чертежи выпускной системы _________________________________

1.2.9 Характеристики распределения или аналогичные данные

1.2.9.1 Максимальный ход клапанов, углы открытия и закрытия или характеристики других возможных систем распределения по отношению к верхней мертвой точке ______

_____________________________________________________________________________

1.2.9.2 Исходные и/или регулировочные зазоры1) ________________________________

1.2.10 Используемая смазка

1.2.10.1 Марка _____________________________________________________________

1.2.10.2 Тип _______________________________________________________________

1.2.11 Меры, принимаемые в целях предотвращения загрязнения воздуха

1.2.11.1 Устройство для рециркуляции картерных газов (описание и чертежи)

1.2.11.2 Дополнительные устройства для предотвращения загрязнения (если они имеются и если они не упомянуты в другой рубрике) ________________________________

1.2.11.2.1 Каталитический преобразователь: да/нет1)

1.2.11.2.1.1 Число катализаторов и элементов ___________________________________

1.2.11.2.1.2 Размеры и форма катализатора (катализаторов) (объем, ...) ______________

1.2.11.2.1.3 Тип каталитического действия _____________________________________

1.2.11.2.1.4 Общее содержание драгоценных металлов ___________________________

1.2.11.2.1.5 Соотношения драгоценных металлов ________________________________

1.2.11.2.1.6 Опора катализатора (структура и материал) __________________________

1.2.11.2.1.7 Плотность ячеек _________________________________________________

1.2.11.2.1.8 Тип оболочки катализатора (катализаторов) __________________________

1.2.11.2.1.9 Расположение каталитического преобразователя (преобразователей) (местоположение на линии отвода отработавших газов и размеры) ___________________

_____________________________________________________________________________

1.2.11.2.1.10 Кислородный датчик: тип ________________________________________

1.2.11.2.1.10.1 Расположение кислородного датчика _____________________________

1.2.11.2.1.10.2 Диапазон работы кислородного датчика ___________________________

1.2.11.2.2 Наддув: да/нет1)

1.2.11.2.2.1 Тип (форсунка, воздушный насос, ...) ________________________________

1.2.11.2.3 Рециркуляция отработавших газов: да/нет1)

1.2.11.2.3.1 Характеристики (производительность, ...) ____________________________

1.2.11.2.4 Системы ограничения выбросов в результате испарения. Полное подробное описание устройств и их регулировка:

Чертеж системы ограничения выбросов в результате испарения ___________________

Чертеж резервуара с активированным углем ____________________________________

Чертеж топливного бака с указанием объема и материала _________________________

1.2.11.2.5 Фильтр для улавливания твердых частиц: да/нет1)

1.2.11.2.5.1 Размеры и форма фильтра для улавливания твердых частиц (объем) ______

1.2.11.2.5.2 Тип фильтра для улавливания твердых частиц ________________________

1.2.11.2.5.3 Расположение фильтра для улавливания твердых частиц (местоположение на линии отвода выхлопных газов и размеры) _____________________________________

1.2.11.2.5.4 Система/метод регенерации. Описание и чертеж ______________________

1.2.11.2.6 Другие системы (описание и функционирование) _______________________

2 Дополнительные сведения, касающиеся условий проведения испытаний

2.1 Сведения, которые необходимо предоставлять в случае испытаний, описываемых в приложении 4А

2.1.1 Моменты переключения передач (с первой на вторую и т.д.) _________________

2.1.2 Методика запуска холодного двигателя ___________________________________

1) Ненужное зачеркнуть.

2) Это значение округляют до 0,1 мм.

3) Это значение рассчитывают при p=3,1416 и округляют до 1 см3.

4) Указать допустимое отклонение.

ПРИЛОЖЕНИЕ 2

(обязательное)

СООБЩЕНИЕ,

[Максимальный формат А4 (210´297 мм)]

 

касающееся 2)

направленное ____________________________________,

наименование административного органа

 

 

ОФИЦИАЛЬНОГО УТВЕРЖДЕНИЯ

РАСПРОСТРАНЕНИЯ ОФИЦИАЛЬНОГО УТВЕРЖДЕНИЯ

ОТКАЗА В ОФИЦИАЛЬНОМ УТВЕРЖДЕНИИ

ОТМЕНЫ ОФИЦИАЛЬНОГО УТВЕРЖДЕНИЯ

ОКОНЧАТЕЛЬНОГО ПРЕКРАЩЕНИЯ ПРОИЗВОДСТВА

типа транспортного средства в отношении выбросов загрязняющих веществ: уровень выбросов в соответствии с Официальным утверждением А, В или С2) на основании Правил ЕЭК ООН № 83

Официальное утверждение № _________________ Распространение № _____________

1 Категория типа транспортного средства (М1, N1, и т.д.)

2 Предписания, касающиеся двигателя в отношении топлива: этилированный бензин/неэтилированный бензин/дизельное топливо/природный газ/СНГ2)

3 Заводская или торговая марка транспортного средства __________________________

4 Тип транспортного средства ______________ Тип двигателя _____________________

5 Предприятие-изготовитель и его адрес _______________________________________

6 В соответствующих случаях фамилия и адрес представителя предприятия-изготовителя _________________________________________________________________

7 Масса транспортного средства без нагрузки ___________________________________

7.1 Контрольная масса транспортного средства _________________________________

8 Максимальная масса транспортного средства _________________________________

9 Число сидячих мест (включая водителя) ______________________________________

10 Трансмиссия

10.1 Механическая, автоматическая или бесступенчатая коробка передач2), 3) ________

10.2 Число передач в коробке передач _________________________________________

10.3 Передаточные числа коробки передач2) ____________________________________

Первая передача N/V _______________________________________________________

Вторая передача N/V ________________________________________________________

Третья передача N/V ________________________________________________________

Четвертая передача N/V _____________________________________________________

Пятая передача N/V _________________________________________________________

Передаточное число конечной передачи _______________________________________

Шины:

размеры _____________________________________________

окружность динамического качения _____________________

Ведущие колеса:

передние, задние, 4´42) _________________________________

11 Транспортное средство представлено для официального утверждения

(дата) _____________________________________________________________________

12 Название технической службы, уполномоченной проводить испытания для официального утверждения ___________________________________________________

13 Дата протокола, выданного технической службой _____________________________

14 Номер протокола ________________________________________________________

15 Официальное утверждение предоставлено/распространено/отменено/в официальном утверждении отказано2) ____________________________________________

16 Испытания типа I

16.1 Результаты испытаний на официальное утверждение: проведены в соответствии с приложением 42), 4)

СО: __________________________________________________ г/испытание или г/км2)

(НС+NОх): ____________________________________________ г/испытание или г/км2)

Твердые частицы: ______________________________________ г/испытание или г/км2)

Коэффициент результатов выбросов для серии двигателей в случае газообразного топлива:

rСО _______ Эталонное топливо _____ относящееся к эталонному топливу __________

rNОх ______ Эталонное топливо ______ относящееся к эталонному топливу _________

rHC+NОх _____ Эталонное топливо _____ относящееся к эталонному топливу _________

16.2 Испытание проведено в соответствии с приложением 4А2)

Испытание, аналогичное испытанию типа I

Результаты испытаний, рассчитанные с использованием поправочных коэффициентов:

СО _________________г/км     НС _______________ г/км   х __________ г/км

Твердые частицы ______________ г/км

Предельные значения:

СО 2,11 г/км НС 0,25 г/км NОх 0,62 г/км Твердые частицы 0,124 г/км

16.3 Испытание типа II2)

СО _________ % в режиме холостого хода ______ мин-1 (измерено на выхлопе)

16.4 Испытание типа III2)

16.5 Испытание типа IV2) ______________ г/испытание

16.6 Испытание типа V2)

Долговечность

категория долговечности (80 000 км/не пройдено2))

поправочные коэффициенты, (DF) рассчитанные/указанные заранее)2)

Указать значения

17 Место проставления на транспортном средстве знака официального утверждения _____________________________________________________________________________

18 Место __________________________________________________________________

19 Дата ___________________________________________________________________

20 Подпись ________________________________________________________________

21 К настоящему сообщению прилагаются следующие документы, на которых проставлен приведенный выше номер официального утверждения:

один заполненный должным образом экземпляр приложения 1 вместе с указанными чертежами и схемами;

 

1) Отличительный номер страны, которая предоставила/распространила/отменила официальное утверждение или отказала в официальном утверждении (см. положения Правил, касающиеся официального утверждения).

2) Ненужное вычеркнуть.

3) Если транспортное средство оснащено автоматической коробкой передач, то следует привести все необходимые технические данные.

4) В случае транспортных средств, работающих на СНГ или природном газе: повторить для всех видов исходного газообразного топлива СНГ или природного газа. В случае транспортных средств, предназначенных для работы на бензине в сочетании с СНГ или природным газом: повторить для бензина и всех видов исходного газообразного топлива СНГ или природного газа.

ПРИЛОЖЕНИЕ 3

(обязательное)

Схемы знаков официального утверждения

Транспортные средства, официально утвержденные в отношении уровней выбросов загрязняющих отработавших газов, обычно устанавливаемых для двигателей, работающих на этилированном бензине (Официальное утверждение А), включая, в соответствующих случаях, некоторые транспортные средства, соответствующие аналогичным предписаниям, но приспособленные также для работы на неэтилированном бензине

Приведенный выше знак официального утверждения, проставленный на транспортном средстве в соответствии с 5.3.1.4.1, указывает, что этот тип транспортного средства официально утвержден в Нидерландах (Е4) на основании Правил ЕЭК ООН № 83, уровень А, под номером официального утверждения 032439. Первые две цифры номера официального утверждения означают, что в момент предоставления официального утверждения Правила ЕЭК ООН № 83 уже включали поправки серии 03.

Транспортные средства, официально утвержденные в отношении уровней выбросов загрязняющих газов, устанавливаемых для двигателей, работающих на неэтилированном бензине или на неэтилированном бензине в сочетании с СНГ или природным газом (Официальное утверждение В)

Приведенный выше знак официального утверждения, проставленный на транспортном средстве в соответствии с 5.3.1.4.2, указывает, что этот тип транспортного средства был официально утвержден в Нидерландах (Е4) на основании Правил ЕЭК ООН № 83, уровень В, под номером официального утверждения 2439. Первые две цифры номера официального утверждения означают, что в момент предоставления официального утверждения Правила ЕЭК ООН № 83 уже включали поправки серии 03.

Транспортные средства, официально утвержденные в отношении уровней выбросов загрязняющих отработавших газов, устанавливаемых для двигателей, работающих на дизельном топливе (Официальное утверждение С)

Приведенный выше знак официального утверждения, проставленный на транспортном средстве в соответствии с 5.3.1.4.3, указывает, что этот тип транспортного средства был официально утвержден в Нидерландах (Е4) на основании Правил ЕЭК ООН № 83, уровень С, под номером официального утверждения 032439. Первые две цифры номера официального утверждения означают, что в момент предоставления официального утверждения Правила ЕЭК ООН № 83 уже включали поправки серии 03.

Транспортные средства, официально утвержденные в отношении уровней выбросов загрязняющих газов, устанавливаемых для двигателей, работающих на СНГ или природном газе (Официальное утверждение D)

Приведенный выше знак официального утверждения, проставленный на транспортном средстве в соответствии с 5.3.1.4.2, указывает, что этот тип транспортного средства официально утвержден в Нидерландах (Е4) на основании Правил ЕЭК OQH № 83, уровень D, под номером официального утверждения 032439. Две первые цифры номера официального утверждения указывают на то, что к моменту предоставления официального утверждения Правила ЕЭК ООН № 83 уже включали поправки серии 03.

ПРИЛОЖЕНИЕ 4

(обязательное)

Испытание типа I

(проверка уровня выбросов отработавших газов после запуска холодного двигателя)

1 Введение

В настоящем приложении приведено описание методики проведения испытания типа I, определенного в 5.3.1 настоящих Правил.

2 Испытательный цикл на динамометрическом стенде

2.1 Описание цикла

Испытательный цикл на динамометрическом стенде приведен в дополнении 1 к настоящему приложению.

2.2 Общие условия проведения цикла

Для определения наилучшего способа приведения в действие органа управления акселератором и тормозами проводят, в случае необходимости, несколько предварительных испытательных циклов таким образом, чтобы реальный цикл воспроизводил теоретический цикл в предписанных пределах.

2.3 Применение коробки передач

2.3.1 Если максимальная скорость на первой передаче составляет менее 15 км/ч, то применяют вторую, третью и четвертую передачи для городского цикла (первая часть) и вторую, третью, четвертую и пятую передачи - для внегородского цикла (вторая часть). Можно также использовать вторую, третью и четвертую передачи для городского цикла (первая часть) и вторую, третью, четвертую и пятую передачи - для внегородского цикла (вторая часть), если в инструкции по эксплуатации рекомендуется трогание с места на горизонтальном участке дороги на второй передаче или если, согласно этой инструкции, первую передачу следует использовать исключительно для движения по труднопроходимой местности, по уклону или для буксировки.

В тех случаях, когда транспортные средства не набирают ускорения и не достигают максимальной скорости, предписанных для испытательного цикла, следует полностью выжимать педаль акселератора до тех пор, пока не будут вновь достигнуты значения заданной кривой. Отклонения от заданных значений для испытательного цикла должны быть занесены в протокол испытания.

2.3.2 Транспортные средства, оснащенные полуавтоматической коробкой передач, испытывают с применением передач, обычно используемых для вождения, а переключение передач осуществляют в соответствии с инструкциями изготовителя.

2.3.3 Транспортные средства, оснащенные автоматической коробкой передач, испытывают при включении самой высокой передачи («ведущая передача»). Акселератор приводится в действие таким образом, чтобы получить по возможности постоянное ускорение, обеспечивающее переключение передач в обычной последовательности. Кроме того, указанные в дополнении 1 точки переключения передач не применяют, и ускорение должно происходить по прямой, соединяющей конец периода холостого хода с началом периода постоянной скорости. При этом должны быть соблюдены допуски, указанные в 2.4.

2.3.4 При испытании транспортных средств, имеющих повышенную передачу (ускоряющая передача), которую может включать водитель, эта передача должна быть выключена в рамках городского цикла (первая часть) и включена в рамках внегородского цикла (вторая часть).

2.4 Допуски

2.4.1 Допускается отклонение ±2 км/ч между указанной скоростью и теоретической скоростью при ускорении, при постоянной скорости и при замедлении, если применяют тормоза транспортного средства. Если замедление транспортного средства происходит быстрее без применения тормозов, то следует придерживаться только 6.5.3. При изменении фазы цикла допускается превышение указанных выше отклонений скорости при условии, что продолжительность отклонений не будет превышать в каждом отдельном случае 0,5 с.

2.4.2 Временной допуск составляет ±1 с. Указанные выше допуски применяют также в начале и в конце каждого периода*) переключения передачи 1 для городского цикла (первая часть) и фаз №№ 3, 5 и 7 внегородского цикла (вторая часть).

*) Следует отметить, что допускаемое время в 2 с включает время для изменения комбинации и, в случае необходимости, определенный объем широты, с тем чтобы совпасть с циклом.

2.4.3 Допуски на скорость и на время объединяют, как указано в дополнении 1.

3 Транспортное средство и топливо

3.1 Испытываемое транспортное средство

3.1.1 Транспортное средство должно быть в исправном состоянии. Оно должно быть обкатанным и пройти не менее 3000 км до начала испытания.

3.1.2 Выхлопное устройство не должно давать утечку газов, которая может уменьшить количество собранного газа; это количество должно точно соответствовать количеству газа, выделяемого двигателем.

3.1.3 В лаборатории допускается проверка герметичности системы впуска, чтобы убедиться в отсутствии случайного впуска воздуха, который может повлиять на процесс карбюрации.

3.1.4 Двигатель и приборы управления транспортного средства должны быть отрегулированы в соответствии с инструкциями изготовителя. Это требование применяют также, в частности, к регулировке холостого хода (частота вращения и содержание СО в отработавших газах), устройству для запуска холодного двигателя и системам очистки отработавших газов.

3.1.5 Испытываемое транспортное средство или аналогичное ему транспортное средство должно быть оборудовано, в случае необходимости, устройством для измерения характеристических параметров, необходимых для регулировки динамометрического стенда в соответствии с 4.1.1.

3.1.6 Техническая служба, уполномоченная проводить испытания, может проверить, соответствует ли транспортное средство техническим данным, указанным изготовителем, приспособлено ли оно к нормальным условиям вождения и, в частности, возможен ли запуск холодного и прогретого двигателя.

3.2 Топливо

При испытании следует использовать соответствующее эталонное топливо, характеристики которого приведены в приложении 9.

В случае СНГ или природного газа применяют требования приложения 12.

4 Испытательное оборудование

4.1 Динамометрический стенд

4.1.1 Стенд должен позволять имитировать дорожную нагрузку и относиться к одному из следующих типов:

стенд с постоянной кривой нагрузки, т.е. технические характеристики обеспечивают воспроизведение постоянной кривой нагрузки;

стенд с изменяемой кривой нагрузки, т.е. стенд, имеющий, по крайней мере, два параметра дорожной нагрузки, с помощью которых можно воспроизводить кривую нагрузки.

4.1.2 Регулировка стенда должна оставаться постоянной во времени. Он не должен создавать заметной вибрации транспортного средства, которая могла бы нарушить его нормальное функционирование.

4.1.3 Стенд должен быть оснащен системами, имитирующими силу инерции и дорожную нагрузку. Эти системы должны быть приведены в действие передним беговым барабаном, если стенд оборудован двумя беговыми барабанами.

4.1.4 Точность

4.1.4.1 Необходимо, чтобы тормозное усилие можно было измерить с точностью ±5 %.

4.1.4.2 Точность установки нагрузки при 80 км/ч при использовании динамометрического стенда с постоянной кривой нагрузки должна быть равна ±5 %. Точность воспроизведения дорожной нагрузки на стенде с регулируемой кривой нагрузки должна быть 5 % при скорости 100, 80 и 60 км/ч и 10 % - при скорости 20 км/ч. Ниже этого показателя поглощение стенда должно быть положительным.

4.1.4.3 Должна быть известна суммарная инерция вращающихся частей (включая, в случае наличия, инерцию имитатора), которая должна быть в пределах ±20 кг класса инерции для испытания.

4.1.4.4 Скорость транспортного средства определяют по скорости вращения барабана (переднего барабана в случае, если динамометр имеет два барабана) с точностью до ±1 км/ч для скоростей свыше 10 км/ч.

4.1.4.5 Расстояние, фактически пройденное транспортным средством, определяют посредством вращения барабана (переднего барабана в случае динамометра с двумя барабанами).

4.1.5 Регулировка нагрузки и инерции

4.1.5.1 Стенд с постоянной кривой нагрузки: имитатор нагрузки должен быть отрегулирован таким образом, чтобы поглощать мощность, передаваемую на ведущие колеса, при постоянной скорости 80 км/ч и возвращать поглощенную мощность при скорости 50 км/ч. Методы установки и регулирования этой нагрузки приведены в дополнении 3.

4.1.5.2 Стенд с изменяемой кривой нагрузки: имитатор нагрузки должен быть отрегулирован таким образом, чтобы поглощать мощность, передаваемую на ведущие колеса, при постоянных скоростях 100, 80, 60, 40 и 20 км/ч и возвращать поглощенную мощность при скорости 50 км/ч. Методы установки и регулирования этой нагрузки приведены в дополнении 3.

4.1.5.3 Инерция

Необходимо наглядно доказать, что стенды с электрическими имитаторами инерции эквивалентны стендам с механическими системами инерции. Средства, с помощью которых определяют эквивалентность, приведены в дополнении 4.

4.2 Система отбора проб отработавших газов

4.2.1 Система отбора проб отработавших газов должна обеспечивать измерение фактической массы выбросов отработавших газов транспортного средства. С этой целью должна использоваться система (CVS) отбора проб постоянного объема. Для этого необходимо, чтобы отработавшие газы транспортного средства постоянно разрежались окружающим воздухом в контролируемых условиях. Система отбора проб постоянного объема и измерения массы выбросов должна удовлетворять двум условиям: должен быть измерен общий объем смеси отработавших газов и разрежающего воздуха и осуществлен беспрерывный отбор пропорциональных по объему проб для анализа. Массу выбросов определяют по пробам концентраций с учетом концентрации данных газов в окружающем воздухе и суммарному потоку за весь период испытания.

Уровень выбросов загрязняющих твердых частиц определяют по частичному потоку, распределяемому в равных пропорциях по всему периоду испытания на основе отделения твердых частиц при помощи соответствующих фильтров и гравиметрического определения этого объема в соответствии с 4.3.2.

4.2.2 Проходящий через систему поток должен быть достаточным для устранения конденсации воды при любых условиях, которые могут сложиться во время испытания, как определено в дополнении 5.

4.2.3 На рисунке 1 приведена общая схема работы системы. В дополнении 5 приведены примеры трех видов систем отбора проб постоянного объема, которые соответствуют требованиям настоящего приложения.

Рисунок 1 - Схема системы отбора проб отработавших газов

4.2.4 Смесь газа и воздуха должна быть однородной на уровне S2 пробоотборника.

4.2.5 Пробоотборник должен обеспечивать правильный отбор проб разреженных отработавших газов.

4.2.6 Система не должна давать утечки газа. Конструкция и материалы не должны влиять на концентрацию загрязняющих веществ, содержащихся в разреженных отработавших газах. Если какой-либо компонент (теплообменник, нагнетатель и т.д.) изменяет концентрацию загрязняющих газов в разреженном газе и устранить этот недостаток невозможно, то пробы загрязняющего вещества отбирают на участке, расположенном перед этим компонентом.

4.2.7 Если испытуемое транспортное средство имеет выхлопную трубу, состоящую из нескольких ответвлений, то соединительные патрубки должны быть подсоединены как можно ближе к транспортному средству.

4.2.8 Колебания статистического давления в выхлопной трубе (трубах) (за глушителем) транспортного средства должны быть в пределах ±1,25 кПа изменения статистического давления, измеряемого во время стендового цикла вождения без подсоединения к выхлопной трубе (трубам) (за глушителем). Систему отбора проб, способную сохранять статистическое давление в пределах ±0,25 кПа, применяют в том случае, если изготовитель в письменном заявлении к административному органу, выдающему официальное утверждение, обоснует необходимость более жесткого допуска. Противодавление измеряют в выпускной трубе как можно ближе к ее концу или в удлинителе того же диаметра.

4.2.9 Различные клапаны, используемые для управления отработавшими газами, должны легко регулироваться и быстро срабатывать.

4.2.10 Пробы газов собирают в камеры проб достаточной вместимости. Эти камеры должны быть изготовлены из таких материалов, чтобы после 20 мин хранения загрязняющий газ изменялся не более чем на ±2 %.

4.3 Оборудование для анализа проб

4.3.1 Требования

4.3.1.1 Анализ загрязняющих веществ проводят с помощью следующих приборов:

оксид углерода (СО) и диоксид углерода (СО2) - газоанализатор недисперсионного типа с поглощением в инфракрасных лучах (NDIR);

углеводороды (НС) в двигателях с принудительным зажиганием - газоанализатор пламенно-ионизационного типа (FID), калиброванный с помощью пропана, значения которого выражаются в эквивалентном числе атомов углерода (С1);

углеводороды (НС) в транспортных средствах, оснащенных двигателями с воспламенением от сжатия, - газоанализатор пламенно-ионизационного типа с датчиком, клапанами, трубопроводом и т.д., нагреваемыми до 463 К (190 °С) ± 10 К (HFID). Он должен быть калиброван с помощью пропана, значения выражают в эквивалентном числе атомов углерода (С1);

оксиды азота (NOх) - либо газоанализатор хемилюминесцентного типа (CLA) с конвертором NOхNO, либо газоанализатор недисперсионного типа с поглощением резонанса в ультрафиолетовых лучах (NDUVR) с конвертором NOх/NO.

Твердые частицы:

Гравиметрический анализ собранных твердых частиц. Твердые частицы улавливают при помощи двух серийных фильтров, установленных на линии прохождения потока анализируемого газа. Масса твердых частиц, собранных на каждой паре фильтров, должна соответствовать значениям, полученным в результате применения формулы

где Vep - пропускная способность фильтра;

Vmix - пропускная способность трубопровода;

М - масса твердых частиц, г/км;

Mlimit - предельное значение массы твердых частиц (применимое предельное значение массы), г/км;

m - масса твердых частиц, осевших на фильтрах, г;

d - фактическое расстояние, пройденное за испытательный цикл, км.

Коэффициент отбора проб твердых частиц (Vep/Vmix) корректируют таким образом, чтобы для М=Mlimit, 1£m£5 мг (при использовании фильтров диаметром 47 мм).

Поверхность фильтров должна быть изготовлена из гидрофобного материала, химически инертного по отношению к компонентам отработавших газов (политетрафторэтилен или аналогичный материал).

4.3.1.2 Точность

Газоанализаторы должны иметь измерительную шкалу, обеспечивающую точность, требуемую для измерений концентраций загрязняющих веществ в пробах отработавших газов.

Погрешность измерения не должна превышать ±3 %, независимо от реального значения тарировочных газов.

Для концентрации менее 100 млн-1 погрешность измерения не должна превышать ±3 млн-1.

Пробы окружающего воздуха измеряют на том же анализаторе и шкале, которые используют для измерения проб разреженных отработавших газов.

Массу собранных твердых частиц определяют с точностью до 1 мкг.

Степень точности (стандартное отклонение) и цена деления шкалы весов, используемых для определения веса фильтров, должны составлять 1 мкг.

4.3.1.3 Ледяная ловушка

Перед анализаторами не допускается помещать какие-либо приспособления для удаления влаги из газа, если не доказано, что они не оказывают влияния на содержание загрязняющих веществ в газовом потоке.

4.3.2 Особые требования, которым должны соответствовать двигатели с воспламенением от сжатия

Следует использовать подогретую линию отбора проб для беспрерывного анализа НС с помощью детектора, основанного на принципе ионизации пламени (HFID) с записывающим устройством (R). Среднюю концентрацию измеряемых углеводородов определяют интегрированием. В ходе испытания температура линии должна поддерживаться 463 К (190 °С) ± 10 К. Линия должна быть снабжена нагретым фильтром (Fн) эффективностью 99 % для частиц ³3 мкм для извлечения твердых частиц из постоянного потока газа, требуемого для анализа.

Время срабатывания системы для отбора проб (движение проб газа от пробоотборника до входного отверстия анализатора) должно быть не более 4 с.

Для обеспечения получения представительной пробы следует использовать детектор (HFID), основанный на принципе ионизации нагретого пламени, вместе с системой, обеспечивающей непрерывный поток газов (теплообменник), если не производится компенсация для различных потоков CFV или CFO.

Устройство отбора проб твердых частиц состоит из канала разрежения, пробоотборника, фильтрующего блока, насоса частичного потока, регуляторов расхода и расходомеров. Частичный поток, используемый для отбора проб твердых частиц, проходит через два последовательно расположенных фильтра. Отборник проб потока газа, в котором происходит отбор проб твердых частиц, должен быть установлен в канале разрежения таким образом, чтобы отобранные пробы потока газов отражали реальную концентрацию исследуемых веществ в однородной смеси воздух/отработавшие газы и температура смеси воздух/отработавшие газы в точке отбора проб не превышала 325 К (52 °С). Отклонения температуры потока газов на уровень расходомера не должны превышать ± 3 К, а массы ± 5 %. Если происходит недопустимое изменение объема потока в связи с чрезмерной нагрузкой на фильтр, испытание должно быть прервано. При возобновлении испытания объем потока следует сократить и/или использовать более крупный фильтр. Фильтры следует извлекать из камеры не менее чем за 1 ч до начала испытания.

Перед испытанием необходимые фильтры для улавливания твердых частиц необходимо обрабатывать (температура, влажность) в пыленепроницаемой оболочке в климатизационной камере не менее 8 и не более 56 ч. После обработки чистые фильтры взвешивают и консервируют до момента их использования.

Если фильтры не используют в течение 1 ч с момента их извлечения из камеры взвешивания, их повторно взвешивают.

Предельное значение 1 ч может быть заменено предельным значением 8 ч, если соблюдено, по крайней мере, одно из двух следующих условий:

фильтр, имеющий стабильную массу, помещают в опечатанный корпус с закрытыми краями и содержат в нем либо фильтр, имеющий стабильную массу, помещают в корпус, который немедленно устанавливают на линию отбора проб, по которой не проходит поток.

4.3.3 Тарирование

Каждый анализатор тарируют по мере необходимости и, в любом случае, за месяц до испытания для официального утверждения и не реже одного раза в 6 мес для проверки соответствия производства.

Метод тарирования анализаторов, упомянутых в 4.3.1, изложен в дополнении 6.

4.4 Измерение объема

4.4.1 Точность метода измерения общего объема разреженных отработавших газов, получаемых в системе отбора проб постоянного объема, должна составлять ± 2 %.

4.4.2 Тарирование системы отбора проб постоянного объема

Тарирование измерительного устройства системы отбора проб постоянного объема производят методом, обеспечивающим соблюдение предписанной точности, и частотой, необходимой для поддержания такой точности.

Пример процедуры тарирования, которая обеспечивает необходимую точность, приведен в дополнении 6. При этом методе используют устройство динамичного измерения потока, которое соответствует высокой скорости потока, отмечаемой во время отбора проб постоянного объема. Это устройство должно обладать точностью, соответствующей принятым национальным или международным стандартам.

4.5 Газы

4.5.1 Чистые газы

Для тарирования и применения при испытании должны быть в наличии следующие чистые газы:

- чистый азот (чистота £ 1 млн С, £ 1 млн СО, £ 400 млн СО2, £ 0,1 млн NО);

- чистый синтетический воздух (чистота £ 1 млн С, £ 1 млн СО, £ 400 млн СО2, £ 0,1 млн NО);

содержание кислорода от 18 % до 21 % объема;

- чистый кислород (чистота ³ 99,5 % объема О2);

- чистый водород (и смесь, содержащая гелий) (чистота £ 1 млн С, £ 400 млн СО2);

- оксид углерода (минимальная чистота 99,5 %);

- пропан (минимальная чистота 99,5 %).

4 5.2 Тарировочные газы

Необходимо использовать газы, имеющие следующую химическую структуру смеси:

- С3Н8 и чистый синтетический воздух (см. 4.5.1 настоящего приложения);

- СО и чистый азот;

- СО2 и чистый азот;

- NО и чистый азот.

(Количество NО2, содержащегося в этом тарировочном газе, не должно превышать 5 % содержания NО).

Реальная концентрация тарировочного газа должна соответствовать номинальному значению с отклонением ± 2 %).

Концентрации, указанные в дополнении 6, могут быть также получены с помощью смесителя-дозатора газа разбавлением чистым азотом или чистым синтетическим воздухом. Смешивающее устройство должно обеспечивать определение концентрации разреженных тарировочных газов с точностью ± 2 %.

4.6 Вспомогательное оборудование

4.6.1 Температура

Параметры температуры, указанные в дополнении 8, измеряют с точностью ± 1,5 К.

4.6.2 Давление

Атмосферное давление измеряют с точностью ± 0,1 кПа.

4.6.3 Абсолютная влажность

Абсолютную влажность (Н) измеряют с точностью ± 5 %.

4.7 Систему отбора образцов газов проверяют с помощью метода, описанного в разделе 3 дополнения 7.

Максимально допустимое отклонение количества введенного газа от количества измеренного газа должно быть 5 %.

5 Подготовка к испытанию

5.1 Регулировка инерционной системы в соответствии с инерцией поступательного движения транспортного средства

Инерционную систему регулируют таким образом, чтобы получить общую инерцию, соответствующую контрольной массе в следующих пределах:

Контрольная масса транспортного средства (КМ), кг

Эквивалентная инерция I, кг

КМ £ 750

680

750 < KM £ 850

800

850 < KM £ 1020

910

1020 < KM £ 1250

1 130

1250 < KM £ 1470

1 360

1470 < KM £1700

1 590

1700 < KM £ 1930

1 810

1930 < KM £ 2150

2040

2150 < KM £ 2380

2270

2380 < KM £ 2610

2270

2610 < KM

2270

5.2 Регулировка тормозов

Тормоза регулируют в соответствии с методом, описанным в 4.1.5. Использованный метод и полученные значения (эквивалентная инерция, характеристический параметр регулировки) указывают в протоколе испытания.

5.3 Подготовка транспортного средства

5.3.1 Для транспортных средств, оснащенных двигателями с воспламенением от сжатия, в целях измерения объема выбросов твердых частиц не более чем за 36 ч и не менее чем за 6 ч до испытания должна быть выполнена вторая часть испытательного цикла (внегородской цикл), описанная в дополнении 1. Должно быть пройдено три цикла подряд. Процедура подготовки динамометрического стенда указана в 5.1 и 5.2.

После этой предварительной подготовки транспортных средств, оснащенных двигателем с воспламенением от сжатия, и перед испытанием транспортные средства, оснащенные двигателем с воспламенением от сжатия или двигателем с принудительным зажиганием, выдерживают в помещении при относительно постоянной температуре 293-303 К (20-30 °С). Выдерживание следует проводить не менее 6 ч и продолжать до тех пор, пока температура моторного масла и охлаждающей жидкости, если такая имеется, не достигнет температуры помещения ± 2 К.

По заявке изготовителя испытание проводят не позднее чем через 30 ч после того, как транспортное средство было помещено в условия нормальной температуры.

Транспортные средства, оснащенные двигателем с принудительным зажиганием, работающим на СНГ или природном газе, или оборудованные таким образом, что они могут работать на бензине в сочетании с СНГ или природным газом, должны между испытаниями с использованием первого газообразного эталонного топлива и второго газообразного эталонного топлива пройти предварительный стабилизационный режим до проведения испытания с использованием второго эталонного топлива. Этот предварительный стабилизационный режим проводят с использованием второго эталонного топлива путем проведения предварительного топливного цикла, состоящего из одной первой части (городская часть) и дважды проводимой второй части (внегородская часть) цикла испытания, описание которого приводится в дополнении 1. По просьбе предприятия-изготовителя и с согласия технической службы продолжительность этого предварительного цикла может быть увеличена. Установка динамометрического стенда - в соответствии с 5.1 и 5.2 настоящего приложения.

5.3.2 Давление воздуха в шинах должно соответствовать давлению, предписанному изготовителем для проведения предварительного дорожного испытания с целью регулировки тормозов. При испытании на динамометрическом стенде с двумя беговыми барабанами давление в шинах может быть увеличено на 50 % по сравнению с рекомендациями изготовителя. Фактическое давление указывают в протоколе испытания.

6 Метод проведения стендовых испытаний

6.1 Особые условия проведения цикла

6.1.1 В ходе испытания температура испытательной камеры должна быть от 293 до 303 К (от 20 до 30 °С). Абсолютная влажность (Н) воздуха в испытательной камере или воздуха, поступающего в двигатель, должна соответствовать формуле

5,5£Н£12,2 г Н2О/кг сухого воздуха.

6.1.2 Во время испытания транспортное средство должно быть, в основном, в горизонтальном положении, чтобы избежать любых аномалий в распределении топлива.

6.1.3 Испытание проводят с поднятым капотом, если это технически возможно. При необходимости для поддержания нормальной температуры двигателя запускают дополнительное вентиляционное устройство для обдува радиатора (водяное охлаждение) или воздухозаборника (воздушное охлаждение).

6.1.4 Для оценки правильности выполнения циклов в ходе испытания регистрируют скорость в зависимости от времени.

6.2 Запуск двигателя

6.2.1 Двигатель запускают с использованием предусмотренных для этой цели устройств запуска согласно инструкциям изготовителя, содержащимся в руководстве для водителей, прилагаемом к серийным транспортным средствам.

6.2.2 Двигатель работает на холостом ходу в течение 40 с. Первый испытательный цикл начинают по истечении указанного выше периода холостого хода в 40 с.

6.2.3 В случае использования СНГ в качестве топлива допускается запуск двигателя с использованием бензина и его переключение на СНГ после заранее установленного периода времени, который не может быть изменен водителем.

6.3 Холостой ход

6.3.1 Коробка передач с ручным или полуавтоматическим управлением.

6.3.1.1 Во время холостого хода включают сцепление, причем рычаг коробки передач находится в нейтральном положении.

6.3.1.2 Для обеспечения ускорения в соответствии с нормальным циклом за 5 с до ускорения, следующего за каждые периодом холостого хода в рамках простого городского цикла (первая часть), включают первую передачу транспортного средства и выключают сцепление.

6.3.1.3 Первый период холостого хода в начале простого цикла (первая часть) состоит из 6 с холостого хода при нейтральной передаче с включенным сцеплением и 5 с работы при включенной первой передаче с выключенным сцеплением.

Два указанных выше периода холостого хода следуют непосредственно один за другим. Период холостого хода в начале внегородского цикла (вторая часть) состоит из 20 с холостого хода при включенной первой передаче с выключенным сцеплением.

6.3.1.4 Для периода холостого хода в середине каждого простого городского цикла (первая часть) соответствующее время составляет 16 с при нейтральной передаче и 5 с при первой передаче с выключенным сцеплением.

6.3.1.5 Период работы на холостом ходу между двумя последовательными простыми городскими циклами (первая часть) составляет 13 с работы при нейтральной передаче с включенным сцеплением.

6.3.1.6 В конце периода замедления (остановка транспортного средства на беговых барабанах) внегородского цикла (вторая часть) продолжительность периода холостого хода составляет 20 с, в течение которых рычаг коробки передач находится в нейтральном положении и сцепление включено.

6.3.2 Коробка передач с автоматическим управлением

После первоначального включения селектор не используют в течение всего испытания, за исключением случая, указанного в 6.4.3, или за исключением случая, когда селектор позволяет включить повышающую (ускоряющую) передачу при наличии таковой.

6.4 Ускорение

6.4.1 Ускорение должно быть выполнено таким образом, чтобы его значение было по возможности постоянным на всем протяжении данной фазы.

6.4.2 Если ускорение невозможно выполнить в установленное время, то необходимое дополнительное время следует, по возможности, вычесть из времени, отведенного на переключение передачи и, во всяком случае, из следующего периода постоянной скорости.

6.4.3 Коробка передач с автоматическим управлением

Если ускорение невозможно выполнить в установленное время, то селектор передач следует использовать в соответствии г. требованиями к коробке передач с ручным управлением.

6.5 Замедление

6.5.1 Любое замедление в рамках простого городского цикла (первая часть) выполняют снятием ноги с акселератора, причем сцепление остается включенным. Сцепление следует выключать, не используя рычаг переключения передач, на скорости 10 км/ч.

Любое замедление в рамках внегородского цикла (вторая часть) выполняют снятием ноги с акселератора, причем сцепление остается включенным. Для последующего замедления сцепление следует выключать, не используя рычаг переключения передач, на скорости 50 км/ч.

6.5.2 Если период замедления превышает время, предусмотренное для соответствующей фазы, следует использовать тормоза транспортного средства, чтобы не нарушить хронометраж цикла.

6.5.3 Если период замедления меньше предусмотренного для соответствующей фазы, то хронометраж теоретического цикла должен быть восстановлен за счет периода постоянной скорости или холостого хода, переходящего в последующую операцию.

6.5.4 В конце периода замедления (остановка транспортного средства на беговых барабанах) в рамках простого городского цикла (первая часть) рычаг коробки передач переводят в нейтральное положение и сцепление включают.

6.6 Постоянная скорость

6.6.1 Следует избегать «пульсации» или закрытия дроссельной заслонки при переходе от ускорения к постоянной скорости.

6.6.2 Режим постоянной скорости достигается удержанием акселератора в неизменном положении.

7 Методика отбора проб и анализа газов

7.1 Отбор проб

Отбор проб производят с момента начала первого простого городского цикла (первая часть), определенного в 6.2.2, и до конца последнего периода холостого хода в рамках внегородского цикла (вторая часть) или завершающего периода холостого хода последнего простого городского цикла (первая часть) в зависимости от типа проводимого испытания

7.2 Анализ

7.2.1 Анализ отработавших газов, содержащихся в каждой камере, проводят по возможности незамедлительно и, во всяком случае, не позднее 20 мин после окончания испытательного цикла. Отработавшие фильтры должны быть помещены в специальную камеру не позднее чем через 1 ч после завершения испытания и выдержаны в ней от 2 до 36 ч. Затем их взвешивают.

7.2.2 Перед анализом каждой пробы шкалу анализатора, которая должна быть использована для каждого загрязняющего вещества, устанавливают на нуль с помощью соответствующего газа, не содержащего загрязняющих веществ.

7.2.3 Анализаторы регулируют по тарировочной кривой с помощью потока газов с номинальной концентрацией от 70 % до 100 % по шкале.

7.2.4 Вновь проверяют нулевые показатели анализаторов. Если показания отличаются больше чем на 2 % по шкале от показаний, указанных в 7.2.2, то процедуру повторяют.

7.2.5 Затем производится анализ проб.

7.2.6 После анализа с помощью таких же газов вновь проверяют установку на нуль и точки номинальной концентрации. Если в результате проверки отклонение не превышает 2% требований 7.2.3, то результаты анализов считают правильными.

7.2.7 Во всех пунктах настоящего раздела показатели потока и давления различных газов должны быть такими же, какие использовались во время тарирования анализаторов.

7.2.8 Показатели содержания газа при каждом измерении снимают после стабилизации измерительного прибора. Массу углеводородов, выбрасываемую дизельным двигателем, вычисляют по совокупным показаниям детектора HFID, с поправкой, в случае необходимости, на изменения потока, как показано в дополнении 5.

8 Определение количества выделенных загрязняющих газов и загрязняющих твердых частиц

8.1 Рассматриваемый объем

Рассматриваемый объем следует корректировать, чтобы соответствовать условиям в 110,33 кПа и 273,2 К.

8.2 Общая масса выделенных загрязняющих газов и загрязняющих твердых частиц

Массу М каждого загрязняющего вещества, выделенного транспортным средством во время испытания, определяют умножением объемной концентрации на объем данного газа с учетом следующих значений плотности при вышеуказанных эталонных условиях;

Для оксида углерода (СО)                                                  d = 1,25 г/л

Для углеводородов:

бензина (СН1,85)                                                               d = 0,619 г/л

дизельного топлива (СН1,86)                                           d = 0,619 г/л

СНГ (СН2,525)                                                                    d = 0,649 г/л

природного газа (СН4)                                                    d = 0,714 г/л

Для оксидов азота (NО2)                                                d = 2,05 г/л

Массу m загрязняющих твердых частиц, выделенных транспортным средством во время испытания, определяют взвешиванием масс частиц, осевших на двух фильтрах: m1 - для первого фильтра и m2 - для второго фильтра:

- если 0,95(m1+m2)£m1, m=m1,

- если 0,95(m1+m2)>m1, m=m1+m2,

- если m2> m1, то испытание считают непройденным.

В дополнении 8 приведены расчеты, касающиеся различных методов определения количества выделенных загрязняющих газов и загрязняющих твердых частиц, которые сопровождаются примерами.

ДОПОЛНЕНИЕ 1

(к приложению 4)

Разбивка рабочего цикла, применяемого при испытании типа I, по времени

1 Испытательный цикл

Испытательный цикл, состоящий из первой части (городской цикл) и второй части (внегородской цикл), показан на рисунке 1.1.

2 Простой городской цикл (первая часть)

См. рисунок 1.2 и таблицу 1.1.

DP - начало отбора проб;

FP - завершение отбора проб;

PL - транспортные средства с двигателями небольшой мощности

Рисунок 1.1 - Рабочий цикл для испытания типа I

2.1 Разбивка по фазам

 

Время, с

 

Процент

Холостой ход

60

 

30,8

Движение транспортного средства

 

 

35,4

на холостом ходу

 

 

с включенным (на одной из комбинаций)

 

 

сцеплением

9

 

4,6

Переключение передач

9

 

4,1

Ускорение

36

 

18,5

Периоды постоянной скорости

57

 

29,2

Замедление

25

 

12,8

 

195 с

 

100,0 %

2.2 Разбивка по использованию коробки передач

 

Время, с

 

Процент

Холостой ход

60

 

30,8

Движение транспортного средства

 

 

35,4

на холостом ходу

 

 

с включенным (на одной из комбинаций)

 

 

сцеплением

9

 

4,6

Переключение передач

8

 

4,1

Ускорение

24

 

12,3

Периоды постоянной скорости

53

 

27,2

Замедление

41

 

21,0

 

195 с

 

100,0 %

2.3 Общая информация

Средняя скорость во время испытания                                     19,0 км/ч

Фактическое время движения                                                    195 с

Теоретическое расстояние, пройденное за цикл                     1013 км

Теоретическое расстояние, пройденное за четыре цикла       4 052 км

Таблица 1.1- Простой городской испытательный цикл на динамометрическом стенде (первая часть)

Номер операции

Операция

Фаза

Ускорение, м/с2

Скорость, км/ч

Продолжительность каждой

Общая продолжительность (нарастающий итог), с

Используемая передача при наличии механической коробки передач

операции, с

фазы, с

1

Холостой ход

1

 

 

11

11

11

6 с РМ + 5 с К1

2

Ускорение

2

1,04

0-15

4

4

15

1

3

Постоянная скорость

3

-

15

9

8

23

1

4

Замедление

4

-0,69

15-10

2

5

25

1

5

Замедление с выключенным сцеплением

4

-0,92

10-0

3

28

К1

6

Холостой ход

5

-

-

21

21

49

16 с РМ + 5 с К1

7

Ускорение

6

0,83

0-15

5

12

54

1

8

Переключение передачи

6

 

 

2

56

 

9

Ускорение

6

0,94

15-32

5

61

2

10

Постоянная скорость

7

-

32

24

24

85

2

11

Замедление

8

-0,75

32-10

8

11

93

2

12

Замедление с включенным сцеплением

8

-0,92

10-0

3

96

К1

13

Холостой ход

9

0-15

0-15

21

 

117

16 с РМ + 5 с К1

14

Ускорение

10

-

-

5

26

122

1

15

Переключение передачи

10

-

-

2

124

 

16

Ускорение

10

0,62

15-35

9

133

2

17

Переключение передачи

10

-

-

2

135

 

18

Ускорение

10

0,52

35-50

8

143

3

19

Постоянная скорость

11

-

50

12

12

155

3

20

Замедление

12

-0,52

50-35

8

8

163

3

21

Постоянная скорость

13

-

35

13

13

176

3

22

Переключение передачи

14

-

-

2

12

178

 

23

Замедление

14

-0,86

32-10

7

185

2

24

Замедление с выключенным сцеплением

14

-0,92

10-0

3

188

К2

25

Холостой ход

15

-

-

7

7

195

7 с РМ

Примечание - РМ - коробка передач в нейтральном положении при включенном сцеплении, К1, К2 - коробка передач при включенной первой или второй передаче с выключенным сцеплением.


Рисунок 1.2 - Простой городской цикл при испытании типа I


3 Внегородской цикл (вторая часть)

См. рисунок 1.3 и таблицу 1.2.

3.1 Разбивка по фазам

 

Время, с

 

Процент

Холостой ход

20

 

5,0

Движение транспортного средства на холостом ходу

 

 

 

с включенным (на одной из комбинаций) сцеплением

20

 

5,0

Переключение передач

6

 

1,5

Ускорение

103

 

25,8

Периоды постоянной скорости

209

 

52,2

Замедление

42

 

10,5

 

400 с

 

100,0%

3.2 Разбивка по использованию коробки передач

Холостой ход

20 с

 

5,0

Движение транспортного средства на холостом ходу

 

 

 

с включенным (на одной из комбинаций) сцеплением

20 с

 

5,0

Переключение передач

6 с

 

1,5

Первая передача

5 с

 

1,3

Вторая передача

9 с

 

2,2

Третья передача

8 с

 

2,0

Четвертая передача

99 с

 

24,8

Пятая передача

233 с

 

58,2

 

400 с

 

100,0%

Таблица 1.2 - Внегородской цикл (вторая часть) испытания типа I

Номер операции

Операция

Фаза

Ускорение, м/с2

Скорость, км/ч

Продолжительность каждой

Общая продолжительность (нарастающий итог), с

Используемая передача при наличии механической коробки передач

операции, с

фазы, с

1

Холостой ход:

1

 

 

20

20

20

К11)

2

Ускорение:

2

0,83

0-15

5

41

25

1

3

Переключение передачи

2

 

 

2

27

-

4

Ускорение

2

0,62

15-35

9

36

2

5

Переключение передачи

2

 

 

2

38

-

6

Ускорение

2

0,52

35-50

8

46

3

7

Переключение передачи

2

 

 

2

48

-

8

Ускорение

2

0,43

50-70

13

61

4

Q

Постоянная скорость

3

 

70

50

50

111

5

10

Замедление

4

-0,69

70-50

8

8

119

4 с 5 + 4 с 4

11

Постоянная скорость

5

 

50

69

69

178

4

12

Ускорение

6

0,43

50-70

13

13

201

4

13

Постоянная скорость

7

 

70

50

50

251

5

14

Ускорение

8

0,24

70-100

35

35

286

5

15

Постоянная скорость

9

 

100

30

30

316

52)

16

Ускорение

10

0,28

100-120

20

20

336

52)

17

Постоянная скорость

11

 

120

10

10

346

52)

18

Замедление

12

-0,69

120-80

16

34

362

52)

19

Замедление

12

-1,04

80-50

8

370

52)

20

Замедление с выключенным сцеплением

12

1,39

50-0

10

380

К51)

21

Холостой ход

13

-

-

20

20

400

РМ1)

1) РМ - коробка передач в нейтральном положении при включенном сцеплении. К1, К2 - коробка передач при включенной первой или второй передаче с выключенным сцеплением.

2) Если транспортное средство оснащено коробкой передач, имеющей более пяти передач, дополнительные передачи могут использоваться в соответствии с рекомендациями изготовителя.

Рисунок 1.3 - Внегородской цикл (вторая часть) испытания типа I

3.3 Общая информация

Средняя скорость во время испытания                         62,6 км/ч

Фактическое время движения                                        400 с

Теоретическое расстояние, пройденное за цикл         6,955 км

Максимальная скорость                                                  120 км/ч

Максимальное ускорение                                               0,833 м/с2

Максимальное замедление                                             -1,389м/с2

4 Внегородской цикл (вторая часть) (Транспортные средства небольшой мощности)

См. рисунок 1.4 и таблицу 1.3.

4.1 Разбивка по фазам

 

Время, с

 

Процент

Холостой ход

20

 

5,0

Движение транспортного средства

 

 

 

на холостом ходу

 

 

 

с включенным (на одной из комбинаций) сцеплением

20

 

5,0

Переключение передач

6

 

1,5

Ускорение

72

 

18,0

Периоды постоянной скорости

252

 

63,0

Замедление

30

 

7,5

 

400 с

 

100,0 %

4.2 Разбивка по использованию коробки передач

Холостой ход

20 с

 

5,0

Движение транспортного средства

 

 

 

на холостом ходу

 

 

 

с включенным (на одной из комбинаций) сцеплением

20 с

 

5,0

Переключение передач

6 с

 

1,5

Первая передача

5 с

 

1,3

Вторая передача

9 с

 

2,2

Третья передача

8 с

 

2,0

Четвертая передача

99 с

 

24,8

Пятая передача

233 с

 

58,2

 

400 с

 

100,0 %

4.3 Общая информация

Средняя скорость во время испытания                            59,3 км/ч

Фактическое время движения                                           400 с

Теоретическое расстояние, пройденное за цикл            6,594 км

Максимальная скорость                                                     90 км/ч

Максимальное ускорение                                                  0,833 м/с2

Максимальное замедление                                                -1,389 м/с2

Таблица 1.3 - Внегородской цикл (транспортные средства небольшой мощности) (вторая часть) испытания типа I

Номер операции

Операция

Фаза

Ускорение, м/с2

Скорость, км/ч

Продолжительность каждой

Общая продолжительность (нарастающий итог), с

Используемая передача при наличии механической коробки передач

операции, с

фазы, с

1

Холостой ход

1

 

 

20

20

20

К11)

2

Ускорение

2

0,83

0-15

5

41

25

1

3

Переключение передачи

2

 

 

2

27

-

4

Ускорение

2

0,62

15-35

9

36

2

5

Переключение передачи

2

 

 

2

38

-

6

Ускорение

2

0,52

35-50

8

46

3

7

Переключение передачи

2

 

 

2

49

-

8

Ускорение

2

0,43

50-70

13

61

4

9

Постоянная скорость

3

 

70

50

50

111

5

10

Замедление

4

-0,69

70-50

8

8

119

4 с 5 + 4 с 4

11

Постоянная скорость

5

 

50

69

69

118

4

12

Ускорение

6

0,43

50-70

13

13

201

4

13

Постоянная скорость

7

 

70

50

50

251

5

14

Ускорение

8

0,24

70-90

24

24

275

5

15

Постоянная скорость

9

 

90

83

83

358

5

16

Замедление

10

-0,69

90-80

4

22

.362

5

17

Замедление

10

-1,04

80-50

8

370

5

18

Замедление

10

1,39

50-00

10

380

К51)

19

Холостой ход

11

-

 

20

20

400

РМ1)

1) РМ - коробка передач в нейтральном положении при включенном сцеплении.

К1, К5 - коробка передач при включенной первой или второй передаче с выключенным сцеплением.

Рисунок 1.4 - Внегородской цикл (транспортные средства небольшой мощности) (вторая часть) испытания типа I

ДОПОЛНЕНИЕ 2

(к приложению 4)

Динамометрический стенд

1 Определение динамометрического стенда с постоянной кривой нагрузки

1.1 Введение

Если на динамометрическом стенде нельзя воспроизвести общее сопротивление поступательному движению по дороге между скоростями 10 и 100 км/ч, то рекомендуется использовать динамометрический стенд, имеющий приведенные характеристики.

1.2 Определение

1.2.1 Динамометрический стенд может иметь один или два барабана.

Передний барабан должен приводить в движение прямо или косвенно инерционные массы и энергопоглощающее устройство.

1.2.2 После регулировки тормозов при 80 км/ч с помощью одного из методов, описанных в разделе 3, значение К может быть определено по формуле Ра=KV3.

Мощность, поглощенную тормозами (Ра) и в результате внутреннего трения в ходовой части за период от исходного положения до скорости транспортного средства 80 км/ч, рассчитывают следующим образом:

если V>12 км/ч:

Ра=KV3±5% KV3±5% РV80

(не являясь отрицательными).

если V£12 км/ч:

Ра будет находиться в интервале между 0 и Ра=KV312±5% KV312±5% РV80

(не являясь отрицательным),

где К - характеристика динамометрического стенда, a PV80 - мощность, поглощаемая при 80 км/ч.

2 Метод тарирования динамометрического стенда

2.1 Введение

В настоящем дополнении приведен метод, используемый для измерения мощности, поглощаемой динамометрическим стендом. Поглощенная мощность включает мощность, которая теряется в результате трения, и мощность, которую поглощает тормоз.

Барабан динамометра раскручивают до скорости, выходящей за пределы диапазона испытательных скоростей. Затем устройство, используемое для пуска динамометра, отключается, и скорость вращения ведущего барабана уменьшается.

Кинетическая энергия барабанов поглощается тормозом и теряется на трение. В этом методе не учитывают влияние внутреннего трения, вызываемого самими барабанами с транспортным средством или без него. Если задний барабан свободен, то влияние внутреннего трения не учитывают.

2.2 Тарирование индикатора мощности в зависимости от поглощенной мощности при скорости 80 км/ч

Применяют следующую процедуру (см. также рисунок 2.1).

2.2.1 Измерить скорость вращения барабана, если это еще не сделано. Для этого можно использовать пятое колесо, счетчик оборотов или какой-либо другой метод.

2.2.2 Установить транспортное средство на динамометр или использовать какой-либо другой метод разгона динамометра.

2.2.3 Подключить маховик или какое-либо другое имитирующее инерцию устройство для конкретного класса инерции, который будет использоваться.

2.2.4 Разогнать динамометр до скорости 80 км/ч.

2.2.5 Отметить указанную мощность (Рi).

2.2.6 Разогнать динамометр до скорости 90 км/ч.

2.2.7 Отключить устройство, используемое для разгона динамометра.

2.2.8 Отметить время, в течение которого вращение динамометра замедляется от скорости 85 км/ч до скорости 75 км/ч.

2.2.9 Установить энергопоглощающее устройство на другой уровень.

2.2.10 Повторить операции, указанные в 2.2.4-2.2.9, столько раз, сколько это необходимо, для того чтобы охватить весь диапазон развиваемых в дорожных условиях мощностей.

Рисунок 2.1 - График мощности, поглощаемой динамометрическим стендом

2.2.11 Подсчитать поглощаемую мощность по формуле

где Ра - поглощаемая мощность, кВт;

М1 - эквивалентная инерция, кг (исключая инерцию заднего свободного барабана);

V1 - начальная скорость, м/с (85 км/ч=23,61 м/с);

V2 - конечная скорость, м/с (75 км/ч=20,83 м/с);

t - время, за которое вращение барабана замедляется с 85 до 75 км/ч.

2.2.12 На рисунке 2.2 показан график зависимости мощности, развиваемой при 80 км/ч, от мощности, поглощаемой при аналогичной скорости.

2.2.13 Процедуры, указанные в 2.2.3-2.2.12, повторяют для всех используемых классов инерции.

2.3 Тарирование индикатора мощности в зависимости от поглощаемой мощности при других скоростях

Процедуры, указанные в 2.2, повторяют столько раз, сколько это необходимо для выбранных скоростей.

Рисунок 2.2 - График, показывающий зависимость мощности, развиваемой при 80 км/ч, от мощности, поглощаемой при 80 км/ч

2.4 Проверка кривой поглощения мощности динамометрического стенда при разгоне от исходного положения до скорости 80 км/ч

2.4.1 Установить транспортное средство на динамометр или использовать какой-либо другой метод разгона динамометра.

2.4.2 Установить динамометр на поглощаемую мощность Ра при скорости 80 км/ч.

2.4.3 Отметить поглощаемую мощность при скоростях 100, 80, 60, 40 и 20 км/ч.

2.4.4 Построить кривую Ра(V) и проверить ее соответствие требованиям 1.2.2 настоящего дополнения.

2.4.5 Повторить процедуру указанную в 2.4.1-2.4.4, для других значений мощности Ра при скорости 80 км/ч и для других значений инерции.

2.5 Аналогичную методику используют для тарирования усилия или крутящего момента.

3 Регулировка стенда

3.1 Регулировка в зависимости от разрежения

3.1.1 Введение

Настоящий метод не является предпочтительным. Его используют только на стендах с постоянной кривой нагрузок для определения установки поглощаемой нагрузки при 80 км/ч и не используют для транспортных средств, оснащенных двигателем с воспламенением от сжатия.

3.1.2 Контрольно-измерительные приборы

Разрежение (или абсолютное давление) во впускном коллекторе транспортного средства измеряют с точностью ±0,25 кПа. Необходимо обеспечить возможность постоянной записи этих показаний или записи с интервалами не более 1 с. Показания скорости следует записывать постоянно с точностью ±0,4 км/ч.

3.1.3 Дорожное испытание

3.1.3.1 Необходимо обеспечить соблюдение требований раздела 4 дополнения 3 к настоящему приложению.

3.1.3.2 Вести транспортное средство с постоянной скоростью 80 км/ч, осуществляя запись показаний скорости и разрежения (абсолютного давления) в соответствии с требованиями 3.1.2.

3.1.3.3 Повторить процедуру, изложенную в 3.1.3.2, три раза в каждом направлении. Все шесть пробегов транспортного средства должны быть выполнены в течение 4 ч.

3.1.4 Сокращение объема данных и критерий допустимости

3.1.4.1 Изучить результаты, полученные в соответствии с 3.1.3.2 и 3.1.3.3 (продолжительность движения со скоростью менее 49,5 км/ч или более 50,5 км/ч не должна превышать 1 с). Для каждого пробега необходимо фиксировать уровень разрежения с интервалами в 1 с, а также рассчитывать средний уровень разрежений (n) и стандартное отклонение (s), причем для осуществления этого расчета необходимо использовать не меньше 10 показаний разрежения.

3.1.4.2 Стандартное отклонение не должно превышать 10 % среднего значения (n) для каждого пробега.

3.1.4.3 Рассчитать среднее значение (n) для шести пробегов (три пробега в каждом направлении).

3.1.5 Регулировка стенда

3.1.5.1 Подготовка

Проделать операции, указанные в 5.1.2.2.1-5.1.2.2.4 дополнения 3 к настоящему приложению.

3.1.5.2 Регулировка нагрузки

После прогрева вести транспортное средство с постоянной скоростью 80 км/ч; при этом осуществляется регулировка нагрузки динамометра для воспроизведения показания разрежения (n), полученного в соответствии с 3.1.4.3. Отклонение от этого показания не должно превышать 0,25 кПа. Для проведения этой операции следует использовать те же контрольно-измерительные приборы, которые использовали во время дорожного испытания.

3.2 Другие методы регулировки

Регулировка стенда может быть проведена при постоянной скорости 80 км/ч в соответствии с требованиями дополнения 3 к настоящему приложению.

3.3 Альтернативный метод

С согласия изготовителя можно применять следующий метод:

3.3.1 Тормоза регулируют таким образом, чтобы поглощать мощность, передаваемую на ведущие колеса при постоянной скорости 80 км/ч, в соответствии со следующей таблицей;

Контрольная масса транспортного средства (КМ), кг

Мощность, поглощаемая стендом, Ра, кВт

КМ £ 750

4,7

750 < KM £ 850

5,1

850 < KM £ 1020

5,6

1020 < KM £ 1250

6,3

1250 < KM £ 1470

7,0

1470 < KM £ 1700

7,5

1700 < KM £ 1930

8,1

1930 < KM £ 2150

8,6

2150 < KM £ 2380

9,0

2380 < KM £ 2610

9,4

2610 < KM

9,8

3.3.2 Для транспортных средств, иных чем легковые автомобили, с контрольной массой более 1700 кг или транспортных средств со всеми ведущими колесами, постоянно функционирующими в таком режиме, значения мощности, приведенные в таблице пункта 3.3.1, умножают на коэффициент 1,3.

ДОПОЛНЕНИЕ 3

(к приложению 4)

Методы измерения сопротивления поступательному движению транспортного средства

1 Цель

Цель приведенных методов заключается в измерении сопротивления поступательному движению транспортного средства по дороге при постоянной скорости и имитации этого сопротивления на динамометрическом стенде в соответствии с условиями 4.1.5 настоящего приложения.

2 Описание трека

Трек должен быть ровным и достаточной длины, чтобы позволить произвести указанные ниже измерения. Уклон должен быть постоянным в пределах ±0,1 % и не превышать 1,5 %.

3 Атмосферные условия

3.1 Ветер

Средняя скорость ветра при испытании не должна превышать 3 м/с, а средняя скорость порывов не должна превышать 5 м/с. Кроме того, перпендикулярная треку векторная составляющая скорости ветра не должна превышать 2 м/с. Скорость ветра измеряют на высоте 0,7 м от поверхности дороги.

3.2 Влажность

Дорога должна быть сухой.

3.3 Давление и температура

Плотность воздуха во время испытаний не должна отклоняться более чем на ±7,5 % от контрольных условий Р=100 кПа и Т=293,2 К.

4 Подготовка транспортного средства

4.1 Обкатка

Транспортное средство должно быть в нормальном рабочем состоянии и отрегулировано после обкатки не менее 3000 км. Шины должны быть обкатаны одновременно с транспортным средством или иметь глубину протектора в пределах 90-50 % первоначальной глубины.

4.2 Проверка

Для целей рассматриваемого использования необходимо проверить следующие элементы в соответствии с инструкциями изготовителя:

колеса, ободья колес, шины (марка, тип, давление),

геометрическую схему переднего моста,

регулировку тормозов (устранение вредного сопротивления);

смазку передней и задней осей;

регулировку подвески и горизонтальность транспортного средства, и т.д.

4.3 Подготовка к испытанию

4.3.1 Транспортное средство должно быть загружено до своей контрольной массы. Горизонтальный уровень транспортного средства должен соответствовать уровню, получаемому, когда центр тяжести груза расположен посередине между точками R передних боковых мест и на прямой линии, проходящей через эти точки.

4.3.2 При дорожных испытаниях окна транспортного средства должны быть закрыты. Все крышки системы кондиционирования воздуха, фар и т.д. должны быть в нерабочем положении.

4.3.3 Транспортное средство должно быть чистым.

4.3.4 Непосредственно перед началом испытания транспортное средство должно быть разогрето соответствующим образом до нормальной рабочей температуры.

5 Методы

5.1 Метод определения изменений энергии при замедлении в режиме свободного качения

5.1.1 На треке

5.1.1.1 Испытательное оборудование и допустимая погрешность Время измеряют с погрешностью менее 0,1 с. Скорость измеряют с погрешностью менее 2 %.

5.1.1.2 Методика испытания

5.1.1.2.1 Разогнать транспортное средство до скорости, превышающей на 10 км/ч выбранную скорость испытания V.

5.1.1.2.2 Установить коробку передач в нейтральное положение.

5.1.1.2.3 Измерить время t1, необходимое транспортному средству для замедления со скорости

V2=V+DV км/ч до V1-DV км/ч при DV£5 км/ч.

5.1.1.2.4 Провести аналогичное испытание в противоположном направлении: t2.

5.1.1.2.5 Определить среднее T из значений t1 и t2.

5.1.1.2.6 Повторить эти испытания несколько раз, пока статистическая точность (р) среднего  будет составлять 2 % или менее (р£1 %).

Статистическую точность р определяют по формуле

где t - коэффициент, указанный в таблице ниже;

s - стандартное отклонение;

n - число испытаний.

n

4

5

6

7

8

9

10

11

12

13

14

15

t

3,2

2,8

2,6

2,5

2,4

2,3

2,3

2,2

2,2

2,2

2,2

2,2

1,6

1,25

1,06

0,94

0,85

0,77

0,73

0,66

0,64

0,61

0,59

0,57

5.1.1.2.7 Мощность Р, кВт, рассчитывают по формуле

где V - скорость во время испытания, м/с;

DV - отклонение скорости от скорости V, м/с;

М - контрольная масса, кг;

Т - время, с.

5.1.2 На стенде

5.1.2.1 Измерительное оборудование и допустимая погрешность

Оборудование должно быть идентичным тому, которое использовали на треке.

5.1.2.2 Методика испытания

5.1.2.2.1 Установить транспортное средство на динамометрическом стенде.

5.1.2.2.2 Отрегулировать давление шин (холодных) ведущих колес в соответствии с требованиями динамометрического стенда.

5.1.2.2.3 Отрегулировать эквивалентную инерцию стенда.

5.1.2.2.4 Разогреть соответствующим образом транспортное средство и стенд до рабочей температуры.

5.1.2.2.5 Выполнить операции, указанные в 5.1.1.2, (исключая 5.1.1.2.4 и 5.1.1.2.5), заменив при этом М на I в формуле пункта 5.1.1.2.7.

5.1.2.2.6 Отрегулировать тормозное устройство в соответствии с требованиями 4.1.4.2 настоящего приложения.

5.2 Метод измерения крутящего момента при постоянной скорости

5.2.1 На треке

5.2.1.1 Измерительное оборудование и допустимая погрешность

Крутящий момент измеряют с помощью соответствующего измерительного прибора, имеющего точность в пределах 2 %.

Точность измерения скорости должна быть в пределах 2 %.

5.2.1.2 Методика испытания

5.2.1.2.1 Разогнать транспортное средство до выбранной постоянной скорости V.

5.2.1.2.2 Отметить крутящий момент С(t) и скорость влечение периода времени не менее 10 с с помощью оборудования класса 1000 стандарта ИСО 970.

5.2.1.2.3 Изменения в крутящем моменте С(t) и скорости в зависимости от времени не должны превышать 5 % в течение каждой секунды периода измерения.

5.2.1.2.4 Крутящий момент Сt1 представляет собой средний крутящий момент, полученный по формуле

5.2.1.2.5 Провести испытание в противоположном направлении и определить Сt2.

5.2.1.2.6 Определить среднее этих двух крутящих моментов Сt1 и Сt2, т.е. Сt.

5.2.2 На стенде

5.2.2.1 Измерительное оборудование и допустимая погрешность

Оборудование должно быть идентичным тому, которое использовали на треке.

5.2.2.2 Методика испытания

5.2.2.2.1 Выполнить операции, указанные в 5.1.2.2.1-5.1.2.2.4.

5.2.2.2.2 Выполнить операции, указанные в 5.2.1.2.1-5.2.1.2.4.

5.2.2.2.3 Отрегулировать тормозное устройство в соответствии с требованиями 4.1.4.2.

5.3 Средний крутящий момент при различных режимах вождения

5.3.1 Данный метод представляет собой факультативное дополнение к методу постоянной скорости по 5.2.

5.3.2 С помощью этой динамической процедуры определяют средний крутящий момент . Это достигается усреднением фактических показателей крутящего момента с учетом продолжительности процедуры испытания транспортного средства по определенному циклу вождения. Затем средний крутящий момент делят на разность времени.

В результате

(при М(t)>0).

 рассчитывают по результатам шести испытаний.

Рекомендуемая скорость отбора проб по показателю  - не меньше двух проб в секунду.

5.3.3 Регулировка динамометра

Нагрузку динамометра устанавливают с помощью метода, описанного в 5.2. Если после этого показатель  стенда не соответствует показателю  дороги, то необходимо провести регулировку инерции, пока разность не будет находиться в пределах ± 5 %.

Примечание - Настоящий метод может быть использован только для стендов, имеющих электрический имитатор инерции или точную регулировку.

5.3.4 Критерий допустимости

Стандартное отклонение шести измерений должно быть не более 2 % средней величины.

5.4 Метод, основанный на измерении замедления с помощью гироскопической платформы

5.4.1 На треке

5.4.1.1 Измерительное оборудование и допустимая погрешность

Скорость измеряют с погрешностью менее 2 %.

Замедление измеряют с погрешностью менее 1 %.

Уклон трека измеряют с погрешностью менее 1 %.

Время измеряют с погрешностью менее 0,1 с.

Горизонтальный уровень транспортного средства определяют на исходной горизонтальной поверхности; сопоставлением можно определить уклон дороги (a1).

5.4.1.2 Методика испытания

5.4.1.2.1 Разогнать транспортное средство до скорости, превышающей на 5 км/ч выбранную скорость испытания V.

5.4.1.2.2 Отметить замедление скорости между V+0,5 км/ч и V-0,5 км/ч.

5.4.1.2.3 Рассчитать среднее замедление при скорости V по формуле

где  - среднее замедление при скорости V в одном направлении полосы движения;

t - время замедления со скорости V+0,5 км/ч до скорости V-0,5 км/ч;

 - изменение замедления в зависимости от времени;

g=9,81 м/с-2.

5.4.1.2.4 Провести то же испытание в другом направлении и определить .

5.4.1.2.5 Рассчитать среднее значение для испытания i по формуле

5.4.1.2.6 Провести достаточное число испытаний, как указано в 5.1.1.2.6, заменив T на Г, где

5.4.1.2.7 Рассчитать среднюю поглощенную силу FТР по формуле

FТР=МГ,

где М - контрольная масса транспортного средства, кг;

Г - предварительно рассчитанное среднее замедление.

5.4.2 На стенде

5.4.2.1 Измерительное оборудование и допустимая погрешность

Используют измерительное оборудование стенда, определенное в разделе 2 дополнения 2 к настоящему приложению.

5.4.2.2 Методика испытания

5.4.2.2.1 Регулировка усилия на уклоне при постоянной скорости

На динамометрическом стенде общее сопротивление можно представить

FТР=FТОР+FОС,

где FТОР - сила, поглощенная тормозами динамометрического стенда (указана на индикаторном устройстве);

FТР - средняя поглощенная треком сила, определяемая в 5.4.1.2.7;

FОС - сила вращения ведущей оси:

a) измеряют, по возможности, на динамометрическом стенде.

Испытываемое транспортное средство с рычагом переключения передач в нейтральном положении разгоняют на динамометрическом стенде до скорости испытания; после этого с помощью устройства измерения нагрузки на динамометрическом стенде измеряют общее сопротивление вращению ведущей оси;

b) определяют для динамометрических стендов, которые не позволяют производить измерений. Для стендов с двумя барабанами сопротивление поступательному движению RR равно значению, определенному ранее на дороге. Для стендов с одним барабаном сопротивление поступательному движению RR равно значению, определенному на дороге и умноженному на коэффициент R, который равен соотношению между массой ведущей оси и общей массой транспортного средства.

Примечание - определяют с помощью кривой F=f(V).

Методы а) и b) применяют для динамометрических стендов, оснащенных устройством компенсации сопротивления трению.

5.4.2.2.2 Провести тарирование индикатора силы для выбранной скорости стенда с беговыми барабанами в соответствии с определением, приведенным в разделе 2 дополнения 2 к настоящему приложению.

5.4.2.2.3 Выполнить операции, аналогичные указанным в 5.1.2.2.2.1-5.1.2.2.4.

5.4.2.2.4 Установить силу F, указанную на индикаторе тормозного устройства, для выбранной скорости.

5.4.2.2.5 Выполнить достаточное число испытаний, как указано в 5.1.1.2.6, заменив T на FTOP.

ДОПОЛНЕНИЕ 4

(к приложению 4)

Проверка сил инерции, кроме механической инерции

1 Цель

Метод, приведенный в настоящем дополнении, позволяет проверить удовлетворительность сохранения имитированной общей инерции стенда во время различных фаз испытательного цикла.

2 Принцип

2.1 Составление рабочих уравнений

Поскольку на стенде отражаются изменения скорости вращения бегового барабана (беговых барабанов), сила на поверхности бегового барабана (беговых барабанов) может быть выражена формулой

F=I×g=IM×g+F1,

где F - сила на поверхности бегового барабана (беговых барабанов);

I - общая инерция стенда (эквивалентная инерция транспортного средства: сравни в таблице пункта 5.1 настоящего приложения);

IM - инерция механической массы стенда;

g - ускорение, касательное к поверхности бегового барабана;

F1 - сила инерции.

Примечание - В дополнении приводится объяснение этой формулы, касающейся стендов для механической имитации инерции.

Таким образом, общую инерцию можно выразить формулой

где IM - может быть рассчитана или измерена обычными методами;

F1 - может быть измерена на стенде;

g - может быть рассчитано по окружной скорости бегущих барабанов.

Общую инерцию I определяют во время испытания на ускорение или замедление с показателями, которые выше или равны показателям, полученным в ходе испытательного цикла.

2.2 Допустимая погрешность для расчета общей инерции

Методы испытания и расчета должны позволять определять общую инерцию I с относительной погрешностью (DI/I) менее 2 %.

3 Спецификация

3.1 Масса общей имитированной инерции I должна быть равна теоретическому значению эквивалентной инерции (см. 5.1 настоящего приложения) в следующих пределах:

3.1.1 ± 5 % теоретического значения - для каждого мгновенного значения.

3.1.2 ± 2 % теоретического значения - для каждого среднего значения, рассчитанного для каждого последовательного этапа цикла.

3.2 Допускается изменение предела, приведенного в 3.1.1, до ± 50 % в течение 1 с при запуске двигателя и в течение 2 с - во время переключения скоростей транспортного средства, оборудованного коробкой передач с ручным управлением.

4 Порядок проверки

4.1 Проверку осуществляют в ходе каждого испытания в течение всего цикла, определенного в 2.1 настоящего приложения.

4.2 Однако, если требования, приведенные в разделе 3, соблюдаются с мгновенными ускорениями, которые, по крайней мере, в три раза больше или меньше значений, полученных на последовательных этапах теоретического цикла, то необходимость проведения описанной выше проверки отпадает.

5 Техническое примечание

Объяснение составления рабочих уравнений

5.1 Равновесие сил на дороге:

5.2 Равновесие сил на динамометре с механической имитацией инерции:

5.3 Равновесие сил на динамометре с немеханической имитацией инерции:

В этих формулах:

СR - крутящий момент двигателя на дороге;

Сm - крутящий момент двигателя на стенде с механическим имитатором инерции:

Сe - крутящий момент двигателя на стенде с электрическим имитатором инерции;

Jr1 - момент инерции передачи транспортного средства, возвращающийся на ведущие колеса;

Jr2 - момент инерции неведущих колес;

JRm - момент инерции стенда с механическим имитатором инерции;

JRe - момент механической инерции стенда с электрическим имитатором инерции;

М - масса транспортного средства при движении по дороге;

I - эквивалентная инерция стенда с механическим имитатором инерции;

IM - механическая инерция стенда с электрическим имитатором инерции;

FS - равнодействующая сила при постоянной скорости;

С1 - равнодействующий крутящий момент от инерции, имитируемой электрическим способом;

F1 - равнодействующая сила инерции, имитируемой электрическим способом;

 - угловое ускорение ведущих колес;

 - угловое ускорение неведущих колес;

 - угловое ускорение механического стенда;

 - угловое ускорение электрического стенда;

g - линейное ускорение;

r1 - радиус под нагрузкой ведущих колес;

r2 - радиус под нагрузкой неведущих колес;

Rm - радиус бегущих барабанов механического стенда;

Re - радиус бегущих барабанов электрического стенда;

k1 - коэффициент, зависящий от передаточного числа при редуцировании, различной инерции передач и «эффективности»;

k2 - передаточное число «эффективности»;

k3 - передаточное число «эффективности».

5.4 Предположив, что оба типа стендов (см. 5.2 и 5.3) имеют одинаковые характеристики, можно получить формулу

k3(IMg+F1)r1=k3Igr1,

откуда

ДОПОЛНЕНИЕ 5

(к приложению 4)

Описание систем отбора проб отработавших газов

1 Введение

1.1 Существуют несколько типов устройств для отбора проб, которые могут соответствовать требованиям 4.2 приложения 4. Устройства, описанные в 3.1, 3.2 и 3.3, считаются приемлемыми, если они отвечают основным критериям, применяемым к принципу переменного разрежения.

1.2 Лаборатория должна указывать в своем сообщении, какая система отбора проб была использована при проведении испытания.

2 Критерии, применяемые к системе переменного разрежения для измерения выбросов отработавших газов

2.1 Область применения

В настоящем разделе определяют характеристики функционирования системы отбора проб отработавших газов, предназначенной для измерения фактической массы выбросов отработавших газов транспортного средства в соответствии с положениями настоящих Правил.

Принцип отбора газов переменного разрежения для измерения массы выбросов газа требует соблюдения условий 2.1.1-2.1.3.

2.1.1 Отработавшие газы транспортного средства должны постоянно разрежаться окружающим воздухом в контролируемых условиях.

2.1.2 Должен быть точно измерен общий объем отработавших газов и разрежающего воздуха.

2.1.3 Для анализа отбирают пробы разреженных отработавших газов и разрежающего воздуха в постоянной пропорции.

Массу выбросов газа определяют в зависимости от концентраций пропорциональных проб и общего объема, измеряемого в ходе испытания. Концентрации проб корректируют с учетом содержания загрязняющих веществ в окружающем воздухе.

Кроме того, для транспортных средств, оснащенных двигателем с воспламенением от сжатия, определяют выбросы твердых частиц.

2.2 Краткое техническое описание

На рисунке 5.1 приведена схема устройства системы отбора проб газов.

2.2.1 Отработавшие газы транспортного средства должны разрежаться достаточным количеством окружающего воздуха, чтобы не допустить конденсацию воды в системе отбора газов и изменения их объема.

2.2.2 Система отбора проб отработавших газов должна предусматривать возможность измерения средних объемных концентраций компонентов СО2, СО, НС и NОх, а также, в случае транспортных средств, оснащенных двигателем с воспламенением от сжатия, выбросов твердых частиц, содержащихся в отработавших газах, выделяемых транспортным средством в ходе цикла испытания.

2.2.3 Смесь воздуха и отработавших газов на уровне пробоотборника должна быть однородной (см. 2.3.1.2).

2.2.4 Пробоотборник должен обеспечивать отбор представительных проб разреженных отработавших газов.

2.2.5 Система должна предусматривать возможность измерения общего объема разреженных отработавших газов.

2.2.6 Система, используемая для отбора проб, не должна давать утечки газа. Система для отбора проб газов переменного разрежения и материалы, из которых она изготовлена, не должна влиять на концентрацию загрязняющих веществ, содержащихся в разреженных отработавших газах. Если какой-либо элемент системы (теплообменник, центробежный сепаратор, вентилятор и т.д.) изменяет концентрацию загрязняющих веществ в разреженных газах и устранить этот недостаток невозможно, то отбор проб загрязняющего вещества должен производиться на участке, расположенном перед этим элементом.

2.2.7 Если испытуемое транспортное средство оснащено системой отвода отработавших газов с несколькими выхлопными трубами, то они должны быть соединены патрубками при помощи коллектора, устанавливаемого как можно ближе к транспортному средству.

2.2.8 Пробы газа отбирают в камеры для проб достаточной вместимости, обеспечивающие беспрепятственный поток газа во время взятия пробы. Эти камеры должны быть изготовлены из материалов, не влияющих на концентрацию загрязняющих газов (см. 2.3.4.4).

2.2.9 Система переменного разрежения должна быть сконструирована таким образом, чтобы обеспечить возможность отбора проб отработавших газов без существенного изменения противодавления в выпускном отверстии выхлопной трубы (см. 2.3.1.1).

1 - воздушный фильтр (факультативно); 2 - камера для забора окружающего воздуха (забор производится во время испытания); 3 - камера для отбора разреженных отработавших газов (отбор производится во время испытания); 4 - расходомер; 5 - фильтр; 6 - регулятор расхода; 7 - насос; 8 - впускное устройство/устройство для измерения объема; 9 - смесительная камера

Рисунок 5.1 - Схема системы переменного разрежения для измерения выбросов отработавших газов

2.3 Специальные предписания

2.3.1 Система сбора и разрежения отработавших газов

2.3.1.1 Труба, соединяющая одну или несколько выпускных труб транспортного средства и смесительную камеру, должна быть максимально короткой; в любом случае она не должна:

изменять статическое давление в одном или нескольких выпускных отверстиях выпускной трубы испытываемого транспортного средства, составляющего ±0,75 кПа при 50 км/ч или более +1,25 кПа на протяжении всего испытания по отношению к значению статического давления, зарегистрированному в момент отсутствия каких-либо соединений выпускной трубы транспортного средства с внешними элементами. Давление измеряют в выпускной трубе или в насадке аналогичного диаметра как можно ближе к концу трубы;

изменять характеристики отработавших газов или влиять на них.

2.3.1.2 Должна быть предусмотрена смесительная камера, в которой отработавшие газы транспортного средства и разрежающий воздух смешиваются таким образом, чтобы на выходе этой камеры образовывалась однородная смесь.

Однородность смеси в любом поперечном срез на уровне пробоотборника не должна отличаться более чем на ±2 % среднего значения, полученного, по меньшей мере, в пяти точках, расположенных на равном расстоянии по диаметру потока газа. Давление внутри смесительной камеры не должно отличаться более чем на ±0,25 кПа от атмосферного давления, с тем чтобы свести к минимуму влияние на условия, существующие на выходе выпускной трубы, а также ограничить падение давления в системе кондиционирования разрежающего воздуха, если таковую используют.

2.3.2 Впускное устройство/устройство для измерения объема.

Для этого устройства может быть предусмотрено несколько фиксированных скоростей, позволяющих обеспечить поток, достаточный для предотвращения конденсации воды. Этого, как правило, можно добиться созданием в камере для проб концентрированной смеси разреженных отработавших газов и СО2, занимающего менее 3 % объема.

2.3.3 Измерение объема

2.3.3.1 Устройство для измерения объема должно сохранять точность тарирования в пределах ±2 % во всех условиях функционирования. Если это устройство не может компенсировать изменения температуры смеси отработавших газов и разрежающего воздуха в момент измерения, необходимо использовать теплообменник для поддержания температуры в пределах ±6 К от предусмотренной рабочей температуры.

При необходимости для защиты устройства для измерения объема можно использовать центробежный сепаратор.

2.3.3.2 Непосредственно перед устройством для измерения объема устанавливают температурный датчик. Точность и прецизионность этого температурного датчика должны составлять ±1 К, а время реагирования - 0,1 с при изменении указанной температуры на 62 % (величина, измеряемая в силиконовом масле).

2.3.3.3 В ходе испытания точность и прецизионность измерений давления должна составлять ±0,4 кПа.

2.3.3.4 Перепад давления в системе по сравнению с атмосферным давлением измеряют перед и, при необходимости, за устройством для измерения объема.

2.3.4 Отбор проб газа

2.3.4.1 Разреженные отработавшие газы

2.3.4.1.1 Отбор проб разреженных отработавших газов осуществляют перед впускным устройством, но за прибором кондиционирования (если такой используют).

2.3.4.1.2 Величина расхода не должна отклоняться от среднего значения более чем на ±2 %.

2.3.4.1.3 Поток проб газа должен быть не менее 5 л/мин и не должен превышать более чем на 0,2 % значение потока разреженных отработавших газов.

2.3.4.1.4 К системе отбора проб постоянной массы следует применять эквивалентную предельную величину.

2.3.4.2 Разрежающий воздух

2.3.4.2.1 Пробу разрежающего воздуха из постоянного потока отбирают поблизости от места впуска окружающего воздуха (за фильтром, если в устройстве имеется такой фильтр).

2.3.4.2.2 Этот воздух не должен смешиваться с отработавшими газами, поступающими из зоны, где происходит смешивание.

2.3.4.2.3 Поток разреженного воздуха должен быть сопоставим с расходом разреженных отработавших газов.

2.3.4.3 Отбор проб

2.3.4.3.1 Материалы, используемые для отбора проб, должны быть такими, чтобы не изменять концентрацию загрязняющих газов.

2.3.4.3.2 Для удаления твердых частиц из пробы можно использовать фильтры.

2.3.4.3.3 Для нагнетания проб в камеру или камеры для проб используют насосы.

2.3.4.3.4 Для создания потоков, требуемых для отбора проб, используют регуляторы расхода и расходомеры.

2.3.4.3.5 Можно использовать герметичные быстро запирающиеся соединительные элементы, расположенные между трехходовыми клапанами и камерами для сбора проб газа; эти соединения должны автоматически закрываться со стороны камеры для сбора газа. Можно также использовать другие системы для доставки проб в газоанализатор (например трехходовые запорные краны).

2.3.4.3.6 Различные клапаны, используемые для направления потока проб газов, должны быть регулируемыми и быстродействующими.

2.3.4.4 Хранение проб

Для сбора проб газа используют камеру для проб достаточной вместимости, чтобы не уменьшать расход газа. Материал, из которого изготовлены камеры, не должен воздействовать более чем на ±2 % на концентрацию собранных загрязняющих газов, измеряемую через 20 мин.

2.4 Дополнительное оборудование для отбора проб для испытания транспортных средств, оснащенных двигателем с воспламенением от сжатия

2.4.1 В отличие от метода отбора проб газа в случае транспортных средств, оснащенных двигателем с принудительным зажиганием, точки отбора проб углеводородов и твердых частиц расположены в канале разрежения.

2.4.2 Для сокращения тепловых потерь в отработавших газах в промежутке между моментом их выхода из выпускной трубы и входа в канал разрежения длина патрубка, используемого для этой цели, не должна превышать 3,6 м (6,1 м, если он термически изолирован). Его внутренний диаметр не должен превышать 105 мм.

2.4.3 В канале разрежения, состоящем из прямой трубы, изготовленной из электропроводящего материала, должны быть созданы турбулентные условия потока (число Рейнольдса не должно быть меньше 4000 единиц), чтобы обеспечить однородность разреженных отработавших газов в точках отбора проб, а также отбора представительных проб газа и частиц. Диаметр канала разрежения должен быть не менее 200 мм. Система должна быть заземлена.

2.4.4 Система для отбора проб твердых частиц состоит из пробоотборника, расположенного в канале разрежения, и двух последовательно расположенных фильтров. Быстродействующие клапаны располагают за и перед фильтрами и в направлении потока.

Схема пробоотборника должна соответствовать схеме, указанной на рисунке 5.2.

Рисунок 5.2 - Схема пробоотборника твердых частиц

2.4.5 Пробоотборник твердых частиц должен соответствовать следующим требованиям:

он должен быть установлен поблизости от оси канала на расстоянии, составляющем приблизительно 10 диаметров канала, за точкой хода потока отработавших газов и должен быть внутренним диаметром не менее 12 мм;

расстояние между конусом пробоотборника и фильтродержателем должно быть не менее пяти диаметров пробоотборника, не более 1020 мм.

2.4.6 Прибор для измерения потока испытываемого газа состоит из насосов, регуляторов расхода и расходомеров.

2.4.7 Система отбора проб углеводородов состоит из пробоотборника, подогреваемых патрубка для сбора проб, фильтра и насоса. Пробоотборник должен быть установлен на одинаковом расстоянии от впускного отверстия, в которое входят отработавшие газы, и от пробоотборника твердых частиц, чтобы не допустить смещения проб. Его внутренний диаметр должен быть не менее 4 мм.

2.4.8 Температура всех подогреваемых элементов должна поддерживаться посредством нагревательной системы на уровне 473 К (200 °С) ± 10 К.

2.4.9 Если компенсация изменений расхода невозможна, должен быть предусмотрен теплообменник и устройство для регулирования температуры, обладающие характеристиками, указанными в 2.3.3.1, для обеспечения постоянного потока в системе и, следовательно, равномерности потока проб газа.

3 Описание систем

3.1 Система переменного разрежения с нагнетательным насосом (PDP-CVS) (рисунок 5.3)

3.1.1 Нагнетательный поршневой насос - пробоотборник проб постоянного объема (PDP-CVS) соответствует требованиям настоящего приложения благодаря измерению при постоянной температуре и постоянном давлении, поддерживаемых во всех частях насоса. Общий объем измеряют подсчетом оборотов тарированного нагнетательного поршневого насоса. Пропорциональные пробы отбирают с помощью насосов, расходомера и клапана регулирования расходов при постоянной скорости потока.

3.1.2 На рисунке 5.3 приведено схематическое изображение такой системы отбора проб. Поскольку точность результатов может быть обеспечена системой любой конфигурации, требование точного воспроизведения схемы не является существенным. Дополнительные составные части, такие как контрольно-измерительные приборы, клапаны, соленоиды и переключатели, могут быть использованы для получения дополнительной информации и координации функционирования сложной системы.

3.1.3 В оборудование для сбора газа входят следующие компоненты:

3.1.3.1 фильтр (D) для разрежения воздуха, который, в случае необходимости, можно предварительно разогревать. Этот фильтр состоит из активированного древесного угля между двумя слоями бумаги и используется для уменьшения и стабилизации концентрации углеводородов в разрежающем воздухе, поступающем извне;

3.1.3.2 смесительная камера (М), в которой создается однородная смесь отработавших газов и воздуха;

Рисунок 5.3 - Схема системы отбора проб постоянного объема с нагнетательным насосом (PDP-CVS)

3.1.3.3 теплообменник (Н) мощности, достаточной для поддержания в течение испытания температуры смеси отработавших газов и воздуха, измеренной в точке непосредственно перед нагнетательным поршневым насосом, на уровне температуры ±6 К от расчетной рабочей температуры. Это устройство не должно влиять на концентрацию загрязняющих веществ в разреженных газах, отобранных для анализа;

3.1.3.4 система регулирования температуры (ТС), используемая для предварительного нагрева теплообменника перед испытанием и для контроля за его температурой в течение испытания, с тем чтобы отклонения от предусмотренной температуры находились в пределах ±6 К;

3.1.3.5 поршневой нагнетательный насос (PDP), используемый для перемещения потока смеси воздуха и отработавших газов постоянного объема; производительность насоса должна быть достаточной для того, чтобы препятствовать конденсации воды в системе при всех рабочих условиях, которые могут возникнуть в ходе испытания. Обычно для этого используют поршневой нагнетательный насос с производительностью:

3.1.3.5.1 вдвое больше максимального расхода отработавших газов, выделяемых в течение фаз ускорения испытательного цикла, или

3.1.3.5.2 достаточной для обеспечения того, чтобы объемная концентрация СО2 в камере разреженной смеси отработавших газов была менее 3 % (по объему) для бензина и дизельного топлива, менее 2,2 % (по объему) - для СНГ и менее 1,5 % (по объему) - для природного газа;

3.1.3.6 температурный датчик (Т1) (точность и прецизионность ±1 К), устанавливают в точке непосредственно перед поршневым нагнетательным насосом; он предназначен для постоянного контроля за температурой смеси разреженных отработавших газов в ходе испытания;

3.1.3.7 манометр (G1) (точность и прецизионность ±0,4 кПа), устанавливаемый непосредственно перед устройством для измерения объема и используемый для регистрации градиента давления между смесью газов и окружающим воздухом;

3.1.3.8 второй манометр (G2) (точность и прецизионность ±0,4 кПа), устанавливаемый таким образом, чтобы можно было определять перепад давления между впускным и выпускным отверстиями насоса;

3.1.3.9 два пробоотборника (S1 и S2), предназначенные для постоянного отбора проб разрежающего воздуха и разреженной смеси отработавших газов и воздуха;

3.1.3.10 фильтр (F) для извлечения твердых частиц из потока газов, используемых для анализа;

3.1.3.11 насосы (Р) для забора постоянного потока разрежающего воздуха, а также разреженной смеси отработавших газов и воздуха в ходе испытания;

3.1.3.12 регуляторы расхода (N), предназначенные для обеспечения постоянного единообразного потока проб газов, забираемых в течение испытания с помощью пробоотборников S1 и S2; расход газа должен быть таким, чтобы в конце каждого испытания количество проб было достаточным для анализа (приблизительно 10 л/мин);

3.1.3.13 расходомеры (FL), предназначенные для регулирования и контроля постоянного потока проб газов в ходе испытания;

3.1.3.14 быстродействующие клапаны (V) для направления постоянного потока проб газа в камеры для сбора проб или в атмосферу;

3.1.3.15 герметичные быстро закрывающиеся соединительные элементы (Q) между быстродействующими клапанами и камерами для проб; соединение должно автоматически закрываться со стороны камеры для проб; в качестве альтернативного варианта могут применяться другие способы доставки проб в анализатор (например трехходовые запорные краны);

3.1.3.16 камеры (В) для сбора проб разреженных отработавших газов и разрежающего воздуха в ходе испытания; они должны иметь достаточную емкость, чтобы не уменьшать поток проб газа; материал, из которого изготовлены камеры, должен быть таковым, чтобы не воздействовать ни на сами измерения, ни на химический состав проб газа (например слоистые полиэтиленовые или полиамидные пленки или фтористые полиуглеводороды);

3.1.3.17 цифровой счетчик (С) для регистрации числа оборотов нагнетательного поршневого насоса в ходе испытания.

3.1.4 Дополнительное оборудование, необходимое для испытания транспортных средств, оснащенных двигателем с воспламенением от сжатия.

В соответствии с требованиями 4.3.1.1 и 4.3.2 настоящего приложения при испытании транспортных средств, оснащенных двигателем с воспламенением от сжатия, должно использоваться дополнительное оборудование, обведенное на рисунке 5.3 пунктирной линией:

Fh - разогреваемый фильтр;

S3 - точка отбора проб рядом со смесительной камерой;

Vh - разогреваемый многоходовой клапан;

Q - быстродействующий соединитель для допуска образцов ВА атмосферного воздуха для анализа на HFID;

HFID - разогреваемый анализатор, основанный на принципе ионизации пламени;

R и I - устройство объединения и регистрации моментальных концентраций углеводородов;

Lh - подогретая линия отбора проб.

Температура всех нагреваемых элементов должна поддерживаться на уровне 463 К (190 °С) ± 10 К.

Система отбора проб твердых частиц:

S4 - пробоотборник в канале разрежения;

Fp - фильтрующее устройство, состоящее из двух последовательно расположенных фильтров, соединительное устройство для других групп, состоящее из двух параллельно расположенных фильтров, линия отбора проб, насосы, регуляторы расхода, расходомеры.

3.2 Система разрежения с трубкой Вентури с критическим потоком (CFV-CVS) (рисунок 5.4)

3.2.1 Использование трубки Вентури с критическим расходом в процедуре отбора проб CVS основано на принципах механики потока для потока критической скорости. Изменяемую скорость потока смеси разрежающего и отработавших газов поддерживают на уровне звуковой скорости, которая прямо пропорциональна квадратному корню температуры газа. В ходе испытания за потоком ведут постоянный контроль, его параметры фиксируют и обобщают с помощью компьютера.

Если используют дополнительное устройство переменного разрежения с критическим расходом, то необходимо обеспечить пропорциональность проб газов. Требования настоящего приложения соблюдаются, если давление и температура во впускных отверстиях обоих устройств переменного разрежения равны и объем потока газа, направляемого для отбора проб, пропорционален общему объему получаемой смеси разреженных отработавших газов.

3.2.2 На рисунке 5.4 приведено схематичное изображение такой системы отбора проб. Поскольку точность результатов может быть обеспечена системой любой конфигурации, требование точного воспроизведения схемы не является существенным. Дополнительные составные части, такие как контрольно-измерительные приборы, клапаны, соленоиды и переключатели, могут быть использованы для получения дополнительной информации и координации функционирования сложной системы.

3.2.3 В оборудование для сбора проб входят следующие компоненты:

3.2.3.1 фильтр (D) для разрежающего воздуха, который, в случае необходимости, можно предварительно разогревать; фильтр состоит из активированного древесного угля, проложенного двумя слоями бумаги, и используется для уменьшения и стабилизации концентрации углеводородов в разрежающем воздухе, поступающем извне;

3.2.3.2 смесительная камера (М), в которой создают однородную смесь отработавших газов и воздуха;

3.2.3.3 циклонный сепаратор (CS) для извлечения твердых частиц;

3.2.3.4 два пробоотборника (S1 и S2) для отбора проб разрежающего воздуха и разреженных отработавших газов;

3.2.3.5 пробоотборная трубка Вентури (SV) с критическим потоком для отбора пропорциональных проб разреженных отработавших газов в пробоотборнике S2;

3.2.3.6 фильтр (F) для извлечения твердых частиц из потока газов, направляемых для анализа;

3.2.3.7 насосы (Р) для забора части потока воздуха и разреженных отработавших газов в камеры в ходе испытания;

3.2.3.8 регулятор потока (N) для создания постоянного потока проб газов, отбираемых в ходе испытания из пробоотборника S1; расход газа должен быть таковым, чтобы в конце каждого испытания количество проб было достаточным для анализа (приблизительно 10 л/мин);

3.2.3.9 амортизатор (PS) установленный в системе отбора проб;

3.2.3.10 расходомеры (FL) для регулирования и контроля потока проб газов в ходе испытания;

3.2.3.11 быстродействующие соленоидные клапаны (V) для направления постоянного потока проб газов в камеры для сбора проб или в атмосферу;

3.2.3.12 герметические быстрозакрывающиеся соединительные элементы (Q) между трехходовыми клапанами и камерами для проб; соединительные элементы должны автоматически закрываться со стороны камеры для сбора проб; в качестве альтернативного варианта могут применяться другие способы доставки проб газов в анализатор (например, трехходовые запорные краны);

3.2.3.13 камеры (В) для сбора проб разреженных отработавших газов и разрежающего воздуха в ходе испытания; они должны иметь достаточную вместимость, чтобы не уменьшать потока проб; камеры должны быть изготовлены из такого материала, который не воздействовал бы отрицательно ни на сами изменения, ни на химический состав проб газов (например, слоистые полиэтиленовые или полиамидные пленки или фтористые полиуглеводороды);

3.2.3.14 манометр (G) с точностью и прецизионностью ± 0,4 кПа;

3.2.3.15 температурный датчик (Т) (точность и прецизионность ± 1 К) с временем срабатывания 0,1 с при изменении температуры на 62 % (согласно измерению в силиконовом масле);

3.2.3.16 измерительная трубка Вентури с критическим потоком (MV) для измерения объема потока разреженных отработавших газов;

3.2.3.17 вентилятор (BL), обладающий мощностью, достаточной для впуска всего объема разреженных отработавших газов.

3.2.3.18 Пропускная способность системы CFV-CVS должна быть такой, чтобы при любых рабочих условиях, которые могут возникнуть в ходе испытания, не происходило конденсации воды. Это обычно обеспечивается за счет использования вентилятора (BL), производительность которого:

3.2.3.18.1 в два раза превышает максимальный расход газов, выделенных в ходе фазы ускорения ездового цикла;

3.2.3.18.2 достаточна для обеспечения того, чтобы объемная концентрация СО2 в камере разреженной смеси отработавших газов была менее 3 %.

3.2.4 Дополнительное оборудование, необходимое для испытания транспортных средств, оснащенных двигателем с воспламенением от сжатия.

В соответствии с требованиями 4.3.1.1 и 4.3.2 настоящего приложения при испытании транспортных средств, оснащенных двигателем с воспламенением от сжатия, следует использовать дополнительное оборудование, обведенное на рисунке 5.4 пунктирной линией.

Fh - разогреваемый фильтр;

S3 - точка отбора проб рядом со смесительной камерой;

Vh - разогреваемый многоходовой клапан;

Q - быстродействующий соединитель для допуска образцов ВА атмосферного воздуха для анализа на HFID;

HFID - разогреваемый анализатор, основанный на принципе ионизации пламени;

R и I - устройство объединения и регистрации моментальных концентраций углеводородов;

Lh - подогреваемая линия отбора проб.

Температуру всех нагреваемых элементов следует поддерживать 463 К (190 °С) ± 10 К.

Если выравнивание колебаний потока осуществить невозможно, для обеспечения постоянного потока через трубку Вентури (MV) и, следовательно, пропорционального потока через S3 необходимо использовать теплообменник (H) и систему регулирования температуры (ТС), которые описаны в 3.1.3 настоящего дополнения.

Рисунок 5.4 - Схема системы отбора проб постоянного объема с трубкой Вентури с критическим расходом (система CFV-CVS)

Система отбора проб твердых частиц:

S4 - пробоотборник в канале разрежения,

Fp - фильтрующее устройство, состоящее из двух последовательно расположенных фильтров; соединительное устройство для других групп, состоящее из двух параллельно расположенных фильтров, линия отбора проб, насосы, регуляторы расхода, расходомер.

3.3 Система переменного разрежения с постоянным контролем расхода с помощью регулирующего устройства (CFO-CVS) (рисунок 5.5) (только для транспортных средств, оснащенных двигателем с принудительным зажиганием)

3.3.1 В оборудование для отбора проб газов входят:

3.3.1.1 патрубок для отбора проб газов, соединяющий выпускную трубу транспортного средства с самим устройством;

3.3.1.2 устройство для отбора проб, состоящее из насоса для впуска разреженной смеси отработавших газов и воздуха;

3.3.1.3 смесительная камера (М), в которой создается однородная смесь отработавших газов и воздуха;

3.3.1.4 теплообменник (H) мощности, достаточной для поддержания в течение испытания температуры смеси газа, отработавших газов и воздуха, измеренной в точке непосредственно перед входным отверстием расходомера, на уровне от расчетной рабочей температуры ± 6 К. Это устройство не должно влиять на концентрацию загрязняющих веществ в разреженных газах, отобранных для анализа.

Если это условие не выполняется для некоторых загрязняющих веществ, то отбор проб следует произвести перед циклоном для одного или нескольких рассматриваемых загрязняющих веществ.

Рисунок 5.5 - Схема системы переменного разрежения с постоянным контролем расхода с помощью регулирующего устройства (система CFO-CVS)

В случае необходимости используют устройство для контроля температуры (TС) в целях предварительного разогрева теплообменника перед испытанием и поддержания его температуры в течение испытания на уровне расчетной рабочей температуры ± 6 К;

3.3.1.5 два пробоотборника (S1 и S2) для отбора проб с помощью насосов (Р), расходомеров (FL) и, в случае необходимости, фильтров (F), используемых для сброса твердых частиц из газов, подвергаемых анализу;

3.3.1.6 один насос для разрежающего воздуха и другой - для разреженной смеси;

3.3.1.7 устройство для измерения объема с регулирующим отверстием;

3.3.1.8 температурный датчик (T1) (точность и прецизионность ± 1 К), установленный в точке непосредственно перед устройством для измерения объема; он предназначен для постоянного контроля температуры разреженной смеси отработавших газов в течение испытания;

3.3.1.9 манометр (G1) (точность и прецизионность ± 0,4 кПа), устанавливаемый непосредственно перед устройством для измерения объема и используемый для регистрации перепада давления между смесью газов и окружающим воздухом;

3.3.1.10 другой манометр (G2) (точность и прецизионность ± 0,4 кПа), устанавливаемый таким образом, чтобы можно было регистрировать перепад давления между впускным и выпускным отверстиями насоса;

3.3.1.11 регуляторы расхода (N), предназначенные для обеспечения постоянного единообразного потока проб газа, отбираемых во время испытания из пробоотборников S1 и S2. Расход газа должен быть таким, чтобы в конце каждого испытания количество проб было достаточным для анализа (приблизительно 10 л/мин);

3.3.1.12 расходомеры (FL) для регулирования и контроля постоянного потока проб газов в ходе испытания;

3.3.1.13 трехходовые клапаны (V) для направления постоянного потока проб газа в камеры для сбора проб газа или в атмосферу;

3.3.1.14 герметичные быстрозапирающиеся соединительные элементы (Q), расположенные между трехходовыми клапанами и камерами для сбора проб газа; соединение должно автоматически закрываться со стороны камеры для сбора проб газа. Можно также использовать другие способы доставки проб в анализатор (например, трехходовые запорные краны);

3.3.1.15 камеры (В) для сбора проб разреженных отработавших газов и разрежающего воздуха в ходе испытания. Они должны быть достаточной вместимости, чтобы не уменьшать расход газа. Материал, из которого изготовлены камеры, должен быть таким, чтобы не воздействовать ни на сами измерения, ни на химический состав проб газа (например, слоистые полиэтиленовые или полиамидные пленки или фтористые полиуглеводороды).

ДОПОЛНЕНИЕ 6

(к приложению 4)

Метод тарирования приборов

1 Построение тарировочной кривой

1.1 Каждый обычно используемый рабочий диапазон измерений тарируют в соответствии с требованиями 4.3.3 настоящего приложения в следующем порядке.

1.2 Тарировочную кривую анализатора строят с помощью, по меньшей мере, пяти тарировочных точек, расположенных как можно более равномерно. Номинальная концентрация тарировочного газа наибольшей концентрации должна составлять не менее 80 % полной шкалы.

1.3 Тарировочную кривую рассчитывают с помощью метода «наименьших квадратов». Если полученная в результате полиномиальная степень больше 3, количество тарировочных точек должно быть, по крайней мере, равным этой полиномиальной степени +2.

1.4 Для каждого тарировочного газа тарировочная кривая не должна отклоняться от номинального значения более чем на 2 %.

1.5 Линия тарировочной кривой

Линия тарировочной кривой и тарировочные точки позволяют проверить правильность проведения тарирования. Следует указывать различные характерные параметры анализатора, в частности:

шкалу,

чувствительность,

точку нуля,

дату проведения тарирования.

1.6 Если технической службе будет продемонстрировано и она будет удовлетворена тем, что другие приборы (например, компьютер, переключатель диапазонов с электронной регулировкой и т.д.) могут обеспечивать эквивалентную точность, то эти приборы могут быть использованы.

1.7 Проверка тарирования

1.7.1 Каждый обычно используемый рабочий диапазон измерений необходимо проверять перед каждым анализом в соответствии со следующей процедурой.

1.7.2 Тарирование проверяют с помощью газа для установки на нуль и эталонного газа, номинальное значение которого находится в пределах 80-95 % предполагаемого анализируемого значения.

1.7.3 Если для двух рассматриваемых точек полученное значение не отличается от теоретического более чем на ± 5 % полной шкалы, то параметры регулировки можно изменить. В противном случае строят новую Тарировочную кривую в соответствии с разделом 1 настоящего добавления.

1.7.4 После испытания газ с нулевым значением и тот же эталонный газ используют для повторной проверки. Анализ считают приемлемым, если разность двух результатов измерений составляет менее 2 %.

2 Проверка чувствительности анализатора FID к углеводородам

2.1 Оптимизация чувствительности детектора

Детектор должен быть отрегулирован в соответствии с инструкциями изготовителя. В целях оптимизации чувствительности в наиболее часто используемом диапазоне измерений используют смесь пропан-воздух.

2.2 Тарирование анализатора углеводородов

Анализатор тарируют с помощью смеси пропан - воздух и очищенного синтетического воздуха. См. 4.5.2 настоящего приложения (тарировочные газы).

Тарировочную кривую определяют в соответствии с 1.1-1.5 настоящего дополнения.

2.3 Коэффициенты чувствительности для различных углеводородов и рекомендуемые пределы

Коэффициент чувствительности (Rf) для определенного углеводорода выражают в виде соотношения значения С1, полученного с помощью детектора, и концентрации эталонного газа, выраженной в частицах С, млн-1.

Концентрация испытательного газа должна быть достаточной для получения чувствительности, соответствующей приблизительно 80 % общего отклонения для избранного диапазона чувствительности. Концентрация должна быть известна с точностью до ± 2 % гравиметрического стандарта, выраженного в объеме. Кроме того, сосуды с газом в течение 24 ч выдерживают при температуре 293-303 К (20-30 °С) перед началом проверки.

Коэффициенты чувствительности определяют во время включения анализатора и в интервалах, в течение которых выполняют основные операции по обслуживанию. Используемые испытательные газы и рекомендуемые коэффициенты чувствительности приводятся ниже:

метан и очищенный воздух

1,00 £ эталонное топливо £ 1,15

или

1,00 £ эталонное топливо

 

£ 1,05 транспортных средств, работающих на природном газе

пропилен и очищенный воздух: 0,90 £ Rf £ 1,00

толуол и очищенный воздух: 0,90 £ Rf £ 1,00

Коэффициент чувствительности (Rf), равный 1,00, соответствует смеси пропан-очищенный воздух.

2.4 Проверка кислородной интерференции и рекомендуемые пределы

Коэффициент чувствительности следует определять в соответствии с 2.3. Используемые испытательные газы и рекомендуемые коэффициенты чувствительности приведены ниже:

пропан и азот: 0,95 £ Rf £ 1,05.

3 Проверка эффективности работы преобразователя NOx

Эффективность работы преобразователя, используемого для преобразования NO2 в NO, проверяют следующим образом.

Эту проверку можно произвести с помощью озонатора, используя испытательную схему, показанную на рисунке 6.1, и описываемую ниже процедуру.

1 - соленоидный клапан-регулятор потока; 2 - озонатор; 3 - соединительное устройство анализатора; 4 - трансформатор с переменным коэффициентом трансформации; 5 - вариатор

Рисунок 6.1

3.1 Анализатор CLD тарируют на наиболее часто применяемую измерительную шкалу в соответствии с инструкциями изготовителя с использованием газа с нулевым значением и эталонного газа (концентрация NО в котором должна соответствовать приблизительно 80 % полной шкалы, а концентрация NО2, в смеси газов должна составлять менее 5 % концентрации NО). Анализатор NОх должен быть установлен на режим NО, чтобы эталонный газ не проходил через преобразователь. Отмечают показанную концентрацию.

3.2 Кислород или синтетический воздух постоянно добавляется к потоку эталонного газа через Т-образный штуцер до тех пор, пока показываемая концентрация будет приблизительно на 10 % меньше отмеченной тарировочной концентрации, приведенной в 3.1, настоящего дополнения. Отмечают показанную концентрацию (с). В течение этой операции озонатор должен быть отключен.

3.3 Далее включают озонатор для производства такого количества озона, которое необходимо для понижения концентрации NО до 20 % (минимум 10 %) тарировочной концентрации, указанной в 3.1. Отмечают показанную концентрацию (d).

3.4 Затем анализатор NOx переключают на режим NOx, при котором смесь газов (состоящая из NO, NO2, O2 и N2) проходит через преобразователь. Отмечают показанную концентрацию (а).

3.5 Озонатор отключают. Смесь газов, указанная в 3.2, проходит через преобразователь в детектор. Отмечают показанную концентрацию (b).

3.6 При отключенном озонаторе перекрывают поток кислорода или синтетического воздуха. В этом случае значение NOx, показываемое анализатором, должно не более чем на 5 % превышать значение, предусмотренное в 3.1.

3.7 Эффективность работы преобразователя NOx рассчитывают по формуле

Эффективность (%)=

3.8 Коэффициент полезного действия преобразователя должен быть не менее 95 %.

3.9 Коэффициент полезного действия преобразователя следует контролировать не менее одного раза в неделю.

4 Тарирование системы отбора проб с постоянным объемом (CVS)

4.1 Систему CVS следует тарировать с помощью точного газового счетчика и ограничивающего устройства. Поток, проходящий через систему, должен быть измерен при разных показаниях давления и измеряемых контрольных параметрах системы, относящихся к потоку.

4.1.1 Можно использовать счетчики газа различных типов, например калиброванную трубку Вентури, пластинчатый расходомер, тарированный турбинный счетчик при условии, что они являются системами динамичного измерения и соответствуют требованиям 4.4.1 и 4.4.2 настоящего приложения.

4.1.2 В следующих разделах подробно изложены методы тарирования систем PDP и CFV с использованием пластинчатого расходомера, который обеспечивает достаточную точность, а также статистической проверки правильности тарирования.

4.2 Тарирование нагнетательного поршневого насоса (PDP)

4.2.1 В изложенной процедуре тарирования приведены общее описание оборудования, последовательность испытания и различные параметры, которые измеряют для определения расхода потока в системе CVS-насос. Все параметры, относящиеся к насосу, измеряют одновременно с параметрами, относящимися к расходомеру, который подключен к насосу последовательно. Затем рассчитываемый расход (выраженный в м3/мин на входном отверстии насоса, абсолютное давление и температура) может быть определен по отношению к функции корреляции, которая является показателем конкретного сочетания параметров насоса. Затем определяют линейное уравнение, которое относится к подаваемому насосом потоку и корреляционной функции. В том случае, если CVS имеет многоскоростной привод, необходимо провести тарирование для каждой используемой скорости.

4.2.2 Эта процедура тарирования основана на измерении абсолютных значений параметров насоса и расходомера, которые соответствуют скорости потока в каждой точке. Для обеспечения точности и непрерывности кривой тарирования необходимо соблюдать три условия:

4.2.2.1 давление, создаваемое насосом, измеряют на выходных отверстиях насоса, а не во внешнем трубопроводе входного и выходного отверстия насоса. Краны давления, установленные в верхнем и нижнем центре панели привода насоса, испытывают фактическое давление, создаваемое в отдельных частях насоса, и поэтому отражают абсолютные перепады давления;

4.2.2.2 во время тарирования необходимо поддерживать постоянный уровень температуры. Пластинчатый расходомер реагирует на колебания температуры во входном отверстии, которые являются причиной разброса снимаемых данных. Постепенное изменение температуры на ± 1 К допустимо, если оно происходит в течение нескольких минут;

4.2.2.3 Все соединения между расходомером и насосом CVS не должны допускать утечки газов.

4.2.3 Во время испытания на выброс отработавших газов измерение одних и тех же параметров насоса дает возможность пользователю рассчитывать скорость потока по управлению тарирования.

4.2.3.1 На рисунке 6.2 настоящего дополнения приведен один из возможных вариантов испытательного стенда. Внесение в него изменений возможно при условии, если эти изменения одобрены административным органом, предоставляющим официальное утверждение, как отвергающее установленным требованиям. Если применяют испытательный стенд, схематически изображенный на рисунке 5.3 дополнения 5, то данные приводят со следующей точностью:

барометрическое давление (приведенное) (PВ)                                  ± 0,03 кПа

внешняя температура (Т)                                                                       ± 0,2 К

температура воздуха в LFE (ETI)                                                          ± 0,15 К

снижение давления на напорной стороне LFE (EPI)                         ± 0,01 кПа

перепад давления на матрице LFE (EDP)                                            ± 0,0015 кПа

температура воздуха на входном отверстии (PTI) насоса CVS         ± 0,2 К

температура воздуха на выходном отверстии (РТО) насоса CVS     ± 0,2 К

снижение давления на входном отверстии (PPI) насоса CVS           ± 0,22 кПа

высота нагнетания на выходном отверстии (РРО) насоса CVS        ± 0,22 кПа

обороты насоса за время периода (n) испытания                               ± 1 оборот

фактическая длительность периода (не менее 250 с) (t)                   ± 0,1 с

4.2.3.2 После подсоединения системы, как показано на рисунке 6.2 настоящего дополнения, установить переменный ограничитель в крайнее положение открытия и до начала тарирования включить на 20 мин насос CVS.

4.2.3.3 Частично закрыть клапан ограничителя расхода для незначительного увеличения разрежения на входном отверстии насоса (около 1 кПа), что позволит получить минимум шесть показаний для общего тарирования. Затем дать системе стабилизироваться в течение 3 мин и повторить сбор данных.

4.2.4 Анализ данных

4.2.4.1 Скорость воздушного потока (Qs) в каждой точке испытания рассчитывают в стандартных единицах (м3/мин) по данным расходомера с применением метода, предписанного изготовителем.

1 - фильтр; 2 - клапан-ограничитель расхода; 3 - клапан регулирования колебаний (амортизатор); 4 - манометр; 5 - индикатор температуры

Рисунок 6.2 - Порядок подсоединения приборов для тарирования PDP-CVS

4.2.4.2 Затем скорость воздушного потока переводят в поток, подаваемый насосом (V0) м3 на один оборот при абсолютном давлении и температуре на входном отверстии насоса

где V0 - скорость потока, подаваемого насосом, при Tp и Рp, м3/оборот;

Qs - воздушный поток при 101,33 кПа и 273,2 К, м3/мин;

Тp - температура (К) на входном отверстии насоса;

Рp - абсолютное давление (кПа) на входном отверстии насоса;

n - скорость работы насоса, мин-1.

Для того, чтобы компенсировать взаимодействие изменений давления в насосе, вызываемых скоростью его работы и скоростью проскальзывания насоса, рассчитывают корреляционную функцию (X0) между скоростью работы насоса (n), перепадом давления между входным и выходным отверстиями насоса и абсолютным давлением на выходном отверстии насоса по формуле

где X0 - корреляционная функция;

DРp - перепад давления между входным и выходным отверстиями насоса, кПа;

Рe - абсолютное давление на выходном отверстии насоса (РРО+Рe), кПа.

Выравнивание методом наименьших квадратов производят для того, чтобы получить тарировочные уравнения следующего вида:

V0=D0-M(X0),

n=А-В(DPp),

где D0, М, А и В - постоянные угловые коэффициенты, описывающие кривые.

4.2.4.3 Систему CVS, имеющую многоскоростной привод, следует тарировать по каждой используемой скорости. Тарировочные кривые, определенные для скоростей, должны быть приблизительно параллельными, а значения на координатной оси D0 должны увеличиваться по мере снижения скорости потока, нагнетаемого насосом.

1 - фильтр; 2 - переменный ограничитель потока; 3 - клапан регулирования колебаний; 4 - манометр; 5 - вакуумный манометр; 6 - термометр

Рисунок 6.3 - Порядок подсоединения приборов для тарирования CFV-CVS

Если тарирование проведено тщательно, то рассчитанные по уравнению значения должны быть в пределах ±0,5 % измеряемой величины V0. Значения М у насосов разные. Тарирование необходимо проводить в начале эксплуатации насоса и после капитального ремонта.

4.3 Тарирование устройства переменного разрежения с критическим потоком (CFV)

4.3.1 Тарирование CFV основано на уравнении критического потока для трубки Вентури

где Qs - поток;

KV - коэффициент тарирования;

Р - абсолютное давление, кПа;

Т - абсолютная температура, К.

Поток газа является функцией от температуры и давления на входном отверстии. Процедура тарирования, описываемая ниже, определяет коэффициент тарирования по измеренным величинам давления, температуры и воздушного потока.

4.3.2 При тарировании электронных узлов системы CFV необходимо соблюдать процедуру, рекомендованную изготовителем.

4.3.3 Для тарирования потока трубки переменного разрежения с критическим потоком необходимо произвести измерения, причем указанные ниже данные должны приводиться со следующей точностью:

барометрическое давление (уточненное) (РB)                            ± 0,03 кПа

температура воздуха в LFE, расходомер (ETI)                            ± 0,15 °С

снижение давления на напорной стороне (LFE) (EPI)              ± 0,01 кПа

перепад давления на матрице (EDP) LFE                                   ± 0,0015 кПа

воздушный поток (Qs)                                                                   ± 0,5 %

снижение давления (PPI) на входном отверстии CFV               ± 0,02 кПа

температура на входном отверстии трубки Вентури (TV)         ± 0,2 °С.

4.3.4 Оборудование должно быть установлено так, как показано на рисунке 3 настоящего дополнения, и проверено на утечку газа. Любая утечка на участке между устройством измерения потока и трубкой Вентури будет значительно влиять на точность тарирования.

4.3.5 Переменный ограничитель потока устанавливают в положение «Открыто», включают компрессор, и система стабилизируется. Снимают показания со всех приборов.

4.3.6 С помощью ограничителя регулируют поток и снимают, по крайней мере, восемь показаний скорости критического потока в трубке Вентури.

4.3.7 Данные, собранные в ходе тарирования, используют в нижеследующих расчетах. Скорость воздушного потока Qs в каждой точке испытания рассчитывают по данным расходомера с использованием метода, предписанного изготовителем.

Для каждой точки испытания рассчитывают коэффициент тарирования как функцию давления на входном отверстии трубки Вентури.

где Qs - скорость потока, м3/мин при 273,2 К и 101,33 кПа;

TV - температура на входном отверстии трубки Вентури, К;

РV - абсолютное давление на выходном отверстии трубки Вентури, кПа.

Для потока со скоростью звука показатель KV будет иметь сравнительно постоянное значение. По мере снижения давления (увеличение вакуума) трубка Вентури прочищается, и показатель KV снижается. Внесение изменения в результирующую KV не допускается.

Средний показатель KV и стандартное отклонение рассчитывают не менее чем для восьми точек на критическом участке.

Если стандартное отклонение превышает 0,3 % среднего значения KV, то необходимо произвести корректировку.

ДОПОЛНЕНИЕ 7

(к приложению 4)

Общая поверка системы

1 Для проверки соответствия требованиям 4.7 настоящего приложения общую точность системы отбора проб CVS и аналитической системы определяют введением известной массы загрязняющего газа в систему, которая работает в режиме имитации обычного испытания с последующим проведением анализа и расчета загрязняющей массы по формуле, которая приведена в дополнении 8 к настоящему приложению и в которой, в качестве исключения, плотность пропана следует принимать равной 1,967 г/л при нормальных условиях. Следующие два метода поверки обеспечивают достаточную степень точности.

2 Измерение постоянного потока чистого газа (СО или С3Н8) путем использования регулирующего отверстия с критическим расходом

2.1 Известное количество чистого газа (СО или С3Н8) подают в систему CVS через входное отверстие критического расхода. Если давление во входном отверстии достаточно высокое, то скорость потока q, которую регулируют с помощью отверстия критического расхода, не зависит от давления на выходе регулирующего отверстия (критического расхода). Если при этом отклонение превышает 5 %, необходимо установить место и причину неправильной работы системы. Система CVS работает в режиме имитации обычного испытания на выброс отработавших газов в течение приблизительно 5-10 мин. Газ, собираемый в камере для сбора проб, анализируют с помощью обычного оборудования, результаты анализов сравнивают с образцами концентрации газа, которые были определены ранее.

3 Измерение ограниченного количества чистого газа (СО или С3Н8) с помощью гравиметрического метода

3.1 Для поверки системы CVS может быть использована следующая гравиметрическая процедура. Вес малого цилиндра, наполненного либо оксидом углерода, либо пропаном, определяют с точностью ± 0,01 г. Система CVS работает в режиме имитации обычного испытания на выброс отработавших газов приблизительно 5-10 мин, в течение которых в систему подается СО или пропан. Количество использованного чистого газа определяют по разности показаний взвешивания. Затем газ, собранный в камере, анализируют с помощью оборудования, обычно используемого для анализа отработавших газов. После этого полученные результаты сравнивают с показателями концентрации, рассчитанными ранее.

ДОПОЛНЕНИЕ 8

(к приложению 4)

Расчет общей массы выбросов загрязняющих веществ

1 Общие положения

1.1 Определение массы

1.1.1 Выделенную массу газообразных загрязняющих веществ рассчитывают по формулам:

mi=Vmix Qi kн Сi 10-6, когда выделенная масса выражается в г/испытание;

 когда выделенная масса выражается в г/км;

где mi - выделенная масса загрязняющего вещества i, г/испытание;

Mi - выделенная масса загрязняющего вещества i, г/км;

Vmix - объем разреженных отработавших газов, л/испытание, приведенный к стандартным условиям (273,2 К и 101,33 кПа);

Qi - плотность загрязняющего вещества i, г/л, при нормальной температуре и давлении (273,2 К и 101,33 кПа);

kн - коэффициент поправки на влажность, используемый для расчета массы выделяемых оксидов азота. Поправку на влажность не применяют для НС и СО;

Сi - концентрация загрязняющего вещества i в разреженных отработавших газах, млн-1, скорректированная на количество загрязняющего вещества i, содержащегося в разрежающем воздухе;

d - реальное расстояние, пройденных во время испытания, км.

1.2 Определение объема

1.2.1 Расчет объема в случае использования устройства переменного разрежения с постоянным контролем расхода с помощью регулировочного отверстия или трубки Вентури. Постоянно регистрируют параметры объемного потока и рассчитывают общий объем для всего времени испытания.

1.2.2 Расчет объема в случае использования нагнетательного поршневого насоса. Объем разреженных отработавших газов, измеренный в системах, включающих нагнетательный поршневой насос, рассчитывают по формуле

V=V0N,                                                                (1)

где V - объем разреженных отработавших газов, л/испытание (до корректировки);

V0 - объем газа, доставленный нагнетательным поршневым насосом при испытательных условиях, литр на один оборот;

N - число оборотов насоса за одно испытание.

1.2.3 Коррекция объема разреженных отработавших газов на обычные условия

Объем разреженных отработавших газов корректируют по формуле

                                                       (2)

в которой

                                        (3)

где РB - барометрическое давление, кПа, в испытательной камере;

Рi - разрежение на уровне воздухозаборника нагнетательного поршневого насоса, кПа, по отношению к окружающему барометрическому давлению;

Тр - средняя температура разреженных отработавших газов, поступающих в нагнетательный поршневой насос в ходе испытания, К.

1.3 Расчет скорректированной концентрации загрязняющих газов в камере для сбора проб

                                                   (4)

где Сi - концентрация загрязняющего вещества i в разреженном отработавшем газе, млн.-1, скорректированная в соответствии с количеством i, содержащимся в разбавляющем воздухе;

Сe - измеренная концентрация загрязняющего вещества i в разреженном отработавшем газе, млн-1;

Сd - концентрация загрязняющего вещества i в используемом для разрежения воздуха, млн-1;

DF - коэффициент разрежения.

Коэффициент разрежения рассчитывают следующим образом:

Для бензина и дизельного топлива:                                                                          (5а)

Для СНГ:                                                                                                                       (5b)

Для природного газа:                                                                                                  (5с)

В этих уравнениях:

ССО2 - концентрация СО2 в разреженном отработавшем газе, содержащемся в камере для сбора проб, выраженная в процентах объема;

СНС - концентрация НС в разреженном отработавшем газе, содержащемся в камере для сбора проб, млн-1 углеродного эквивалента;

ССО - концентрация СО в разреженном отработавшем газе, содержащемся в камере для сбора проб, млн-1.

1.4 Определение коэффициента поправки на влажность для NО

Для корректировки воздействия влажности на результаты, полученные для оксидов азота, применяют формулу

                                              (6)

в которой

                                                   (6)

где Н - абсолютная влажность, 1 г воды на 1 кг сухого воздуха;

Ra - относительная влажность окружающего воздуха, %;

Рd - упругость насыщенного водяного пара при температуре окружающего воздуха, кПа;

PB - атмосферное давление в помещении, кПа.

1.5 Пример

1.5.1 Данные

1.5.1.1 Окружающие условия:

температура окружающего воздуха 23 °С = 296,2 К;

барометрическое давление РB=101,33 кПа;

относительная влажность Rа=60 %;

упругость насыщенного водяного пара при 23 °С Рd=3,20 кПа.

1.5.1.2 Измеренный и приведенный к стандартным условиям объем (см. раздел 1) V=51,961 м3.

1.5.1.3 Показания анализатора

Измеряемый параметр

Проба разреженного отработавшего газа

Проба разбавляющего воздуха

НС1)

92 млн-1

3,0 млн-1

СО

470 млн-1

0 млн-1

NOx

70 млн-1

0 млн-1

СО2

1,6 объема, %

0,03 объема, %

1) В млн-1 углеродного эквивалента.

1.5.2 Расчет

1.5.2.1 Коэффициент поправки на влажность kн (см. формулу (6))

H= 11,9959,

kн=1,0442.

1.5.2.2 Коэффициент разбавления DF (см. формулу (5))

DF=8,091

1.5.2.3 Расчет скорректированной концентрации загрязняющих газов в камере для сбора проб:

НС, общая выделенная масса (см. формулы (4) и (1))

Ci=89,371

QНС=0,619 для бензина или дизельного топлива,

QНС=0,649 для СНГ,

QНС=0,714 для природного газа,

МСО, общая выделенная масса (см. формулу (1))

QCO=1,25,

х, общая выделенная масса (см. формулу (1))

Q=2,05,

2 Специальные положения для транспортных средств, оснащенных двигателем с воспламенением от сжатия

2.1 При расчете выделенной массы НС для двигателей с воспламенением от сжатия среднюю концентрацию НС определяют следующим образом:

                                                          (7)

где  - интеграл показателей нагретой системы FID в ходе испытания (t2-t1);

Сe - измеренная концентрация НС в разреженных газах, млн-1 Сi.

Сi непосредственно заменяет СHC во всех соответствующих уравнениях.

2.2 Определение твердых частиц

Выбросы твердых частиц Mp, г/км, рассчитывают по формуле

в том случае, если пробы газов выводят за пределы канала, или

 в том случае, если пробы газов рециркулируют в канале,

где Vmix - объем разреженных отработавших газов, (см. 1.1) при обычных условиях;

Vep - объем отработавших газов, прошедший через фильтры улавливания твердых частиц при обычных условиях;

Рe - масса твердых частиц, задержанных фильтром;

d - реальное расстояние, преодоленное во время испытания, км;

Мp - выброс твердых частиц, г/км.

ПРИЛОЖЕНИЕ 4А

(обязательное)

Испытание, аналогичное испытанию типа I, для проверки выбросов после запуска холодного двигателя

1 Введение

В настоящем приложении приведено описание методики проведения испытания типа I, определенного в разделе 13 настоящих Правил.

2 Испытательный цикл на динамометрическом стенде

2.1 Описание цикла

Рабочий цикл на динамометрическом стенде изложен ниже, в таблице и на графике в дополнении 1 к настоящему приложению.

2.2 Общие условия

Для определения наилучшего способа приведения в действие акселератора и, при необходимости, тормоза проводят несколько предварительных пробных циклов, чтобы обеспечить приближение к теоретическому циклу в предписанных пределах.

2.3 Трансмиссия

2.3.1 Все условия испытания при отсутствии иных указаний должны соответствовать рекомендациям изготовителя.

2.3.2 Транспортные средства, оснащенные колесом с муфтой свободного хода или повышенной передачей, если нет иных указаний, испытывают с использованием этих характеристик в соответствии с рекомендациями изготовителя.

2.3.3 В периоды работы в режиме холостого хода селектор автоматической трансмиссии находится в положении «Drive», а колеса заторможены. В случае механических трансмиссий передача включена, сцепление выключено, за исключением первого периода работы в режиме холостого хода.

Транспортное средство должно двигаться при минимальном ходе педали акселератора, чтобы соблюдалась необходимая скорость.

2.3.4 Ускорение должно осуществляться медленно, при этом следует соблюдать порядок и процедуру смены передачи. В случае механических трансмиссий водитель отпускает педаль акселератора во время каждой смены передачи и производит смену передачи с минимальной потерей времени. Если транспортное средство не может разгоняться с указанной скоростью, необходимо развивать максимально возможную мощность до тех пор, пока скорость не достигнет предписанного значения в этот момент в цикле вождения.

2.3.5 Замедление осуществляют с отключенной передачей с использованием тормозов или педали акселератора, если это необходимо для поддержания требуемой скорости. Транспортные средства с механической трансмиссией испытывают с включенным сцеплением и на той же передаче, что и в предыдущем испытании; в случае транспортных средств с механической трансмиссией в периоды замедления до 0 сцепление должно быть выключено, когда скорость становится менее 24,1 км/ч, двигатель работает неравномерно или он может остановиться.

2.3.6 Механическая трансмиссия

2.3.6.1 В случае транспортных средств, оснащенных механической трансмиссией, смену передач осуществляют в соответствии с процедурами, предусмотренными изготовителем, при условии согласия со стороны технической службы, уполномоченной проводить испытания.

2.4 Допуски

2.4.1 Цикл движения на динамометрическом стенде приведен в дополнении 1. Он определен с помощью точного чертежа, на котором установлена взаимосвязь между определенной скоростью и временем. Цикл состоит из ряда неповторяющихся этапов функционирования в режиме холостого хода, ускорения, работы в устойчивом режиме и замедления для различных отрезков времени и различных скоростей.

2.4.2 Существуют следующие допуски по скорости:

верхний предел на 3,2 км/ч превышает наивысшую точку на графике в пределах 1 с указанного времени;

нижний предел на 3,2 км/ч ниже низшей точки на чертеже в пределах 1 с указанного времени;

колебания скорости сверх допусков (которые могут произойти во время смены передач) являются приемлемыми, если они не превышают 2 с во всех случаях;

скорости ниже предписанных являются приемлемыми, если транспортное средство функционирует с максимально возможной мощностью в таких случаях;

допуск по скорости соответствует указанному выше, за исключением верхнего и нижнего пределов, которые составляют 6,4 км/ч;

на рисунках приведен диапазон допусков по скорости, приемлемых для типовых точек. На рисунке А приведены отрезки кривой скорости, которая увеличивается или снижается от начала к концу интервала продолжительностью 2 с. На рисунке В приведены отрезки кривой скорости, которая включает максимальные и минимальные значения.

Рисунок А

Рисунок В

3 Транспортное средство и топливо

3.1 Испытываемые транспортные средства

3.1.1

3.1.2

3.1.3

3.1.4

3.1.5

3.1.6

Аналогично 3.1.1-3.1.6 приложения 4.

3.2 Топливо

При испытании используют эталонное топливо, характеристики которого приведены в приложении 9, или эквивалентное эталонное топливо, используемое компетентными органами на экспортных рынках Сообщества.

4 Испытательное оборудование

4.1 Динамометрический стенд

4.1.1 Стенд должен позволять имитировать дорожную нагрузку в пределах одной из следующих классификаций:

стенд с постоянной кривой нагрузки, т.е. стенд, физические характеристики которого обеспечивают воспроизведение постоянной кривой нагрузки;

стенд с изменяемой кривой нагрузки, т.е. стенд, имеющий, по меньшей мере, два параметра дорожной нагрузки, с помощью которых можно воспроизводить кривую нагрузки.

стенды с изменяемой кривой можно рассматривать в качестве стендов, имеющих постоянную кривую нагрузки, если они соответствуют требованиям к стендам с постоянной кривой нагрузки, и используются в качестве таковых.

4.1.2

4.1.3

Аналогично 4.1.2 и 4.1.3 приложения 4.

4.1.4 Точность

4.1.4.1 Аналогично 4.1.4.1 приложения 4.

4.1.4.2 Для стенда с постоянной кривой нагрузки точность регулировки нагрузки стенда для воспроизведения дорожных условий должна составлять 5 % при 80,5 км/ч.

Для стенда с изменяемой кривой нагрузки точность регулировки нагрузки стенда для воспроизведения дорожных условиях должна составлять 5 % при 80,5; 60 и 40 км/ч и 10 % - при 20 км/ч.

4.1.4.3

4.1.4.4

Аналогично 4.1.4.3 и 4.1.4.4 приложения 4.

4.1.5 Регулировка кривой нагрузки стенда и инерции

4.1.5.1 Стенд с постоянной кривой нагрузки: имитатор нагрузки должен быть отрегулирован для поглощения избыточной мощности на ведущих колесах при постоянной скорости 80,5 км/ч. Альтернативный метод определения и регулировки этой нагрузки приведен в разделе 3 дополнения 2 и в дополнении 5.

4.1.5.2 Стенд с изменяемой кривой нагрузки: тормоз должен быть отрегулирован для поглощения избыточной мощности на ведущих колесах при постоянных скоростях 20, 40, 60 и 80,5 км/ч. Методы, с помощью которых устанавливают и регулируют тормоза, приведен в разделе 3 дополнения 2 и в дополнении 3.

4.1.5.3 Аналогично 4.1.5.3 приложения 4.

4.2

4.3

4.4

4.5

4.6

4.7

Аналогично 4.2-4.7 приложения 4.

5 Подготовка испытания

5.1 Регулировка инерционной системы в соответствии с инерцией поступательного движения транспортного средства

Контрольная масса (КМ) транспортного средства, кг

Эквивалентная инерция, кг

КМ £ 480

450

480 < KM £ 540

510

549 < KM £ 600

570

600 < KM £ 650

620

650 < KM £ 710

680

710 < KM £ 770

740

770 < KM £ 820

800

820 < KM £ 880

850

880 < KM £ 940

910

940 < KM £ 990

960

990 < KM £ 1050

1020

1050 < KM £ 1110

1080

1110 < KM £ 1160

1130

1160 < KM £ 1220

1190

1220 < KM £ 1280

1250

1280 < KM £ 1330

1300

1330 < KM £ 1390

1360

1390 < KM £ 1450

1420

1450 < KM £ 1500

1470

1500 < KM £ 1560

1530

1560 < KM £ 1620

1590

1620 < KM £ 1670

1640

1670 < KM £ 1730

1700

1730 < KM £ 1790

1760

1790 < KM £ 1870

1810

1870 < KM £ 1980

1930

1980 < KM £ 2100

2040

2100 < KM £ 2210

2150

2210 < KM £ 2320

2270

2320 < KM £ 2440

2380

2440 < KM

2490

Можно использовать инерционные маховики, электрические и другие средства для имитации испытательной массы, как указано в таблице. Если определенная эквивалентная испытательная масса на используемом стенде отсутствует, необходимо воспользоваться эквивалентной испытательной массой, следующей непосредственно за той, которая имеется (не превышающей 115 кг).

Примечание - Контрольной массой транспортного средства является масса транспортного средства в снаряженном состоянии (минус стандартная масса водителя) плюс стандартная масса, равная 136 кг.

5.2 Аналогично п. 5.2 приложения 4

5.3 Кондиционирование транспортного средства

5.3.1 Перед испытанием транспортное средство выдерживают в помещении при относительно постоянной температуре от 293 до 303 К (от 20 до 30 °С).

Выдерживают транспортное средство не менее 6 ч в случае измерения температуры масла двигателя или не менее 12 ч - без измерения температуры.

По требованию предприятия-изготовителя испытание проводят не позднее чем через 36 ч после того, как транспортное средство было помещено в условия нормальной для него температуры.

5.3.2 Аналогично 5.3.2 приложения 4.

6 Методика стендовых испытаний

6.1

6.1.2

6.1.3

6.1.4

Аналогично 6.1-6.1.4 приложения 4.

6.2 Испытание и отбор проб

6.2.1 Перед испытанием на выброс отработавших газов транспортное средство должно быть укрыто от осадков (например от дождя или росы). Полное испытание на стенде включает пробег после запуска холодного двигателя на расстоянии 12,1 км и имитацию пробега после запуска разогретого двигателя. Транспортное средство находится на стенде в течение 10-минутного перерыва между испытаниями с запуском холодного двигателя и запуском разогретого двигателя. Испытание с запуском холодного двигателя подразделяют на два этапа. Первый этап при запуске холодного двигателя, называемый «промежуточным», заканчивается в конце замедления, спустя 505 с цикла движения. Второй этап, называемый «устойчивым» этапом, соответствует остальной части цикла движения, включая остановку двигателя. Испытание с запуском разогретого двигателя включает также два этапа. Первый этап при запуске разогретого двигателя, называемый «промежуточным», заканчивается в той же точке цикла движения, что и первый этап испытания при запуске холодного двигателя. Предполагается, что второй этап испытания при запуске разогретого двигателя, называемый «устойчивым», соответствует второму этапу испытания с запуском холодного двигателя. Поэтому испытание с запуском разогретого двигателя завершают в конце первого этапа (505 с).

6.2.2 При каждом испытании необходимо произвести следующие операции:

6.2.2.1 Поместить ведущие колеса транспортного средства на стенд, не запуская при этом двигатель. Установить на нуль и включить счетчик оборотов барабана.

6.2.2.2 Открыть капот моторного отсека транспортного средства и установить вентилятор охлаждения.

6.2.2.3 Вентили распределителя проб установить в положение «готовность к работе», соединить освобожденные пробоотборные камеры с системами сбора проб разреженных отработавших газов и разреженного воздуха.

6.2.2.4 Включить CVS (если устройство еще не включено), пробоотборные насосы, регистратор температуры, вентилятор системы охлаждения транспортного средства и регистратор анализа подогретых углеводородов (только для дизельного двигателя). (Теплообменник системы отбора проб с постоянным объемом, если он используется, должен быть подогрет до его рабочей температуры). Линия постоянного отбора анализатора дизельных углеводородов и фильтр (в случае необходимости) должны быть разогреты до температуры (463±10) К (190±10) °С.

6.2.2.5 Отрегулировать поток проб до требуемого уровня (не менее 0,28 м/ч) и установить на нуль приборы измерения газового потока.

Примечание - Поток проб в системе CFV-CVS определяют с использованием принципа Вентури.

6.2.2.6 Соединить гибкий выпускной патрубок с выпускной трубой (выпускными трубами) транспортного средства.

6.2.2.7 Включить устройство измерения газового потока, установить вентили распределителя проб таким образом, чтобы поток проб направлялся в «промежуточную» пробоотборную камеру для отработавших газов и в «промежуточную» пробоотборную камеру для разрежающего воздуха (включить интегратор системы анализа дизельных углеводородов и, в случае необходимости, обозначить диаграмму регистратора), установить вентили во время отбора проб таким образом, чтобы обеспечивалось питание фильтров улавливания твердых частиц на переходном этапе, повернуть ключ зажигания и запустить двигатель.

6.2.2.8 Через 15 с после запуска двигателя включить трансмиссию.

6.2.2.9 Через 20 с после запуска двигателя приступить к начальному этапу ускорения транспортного средства, предусмотренному в цикле движения.

6.2.2.10 Обеспечить функционирование транспортного средства в соответствии с циклом движения на стенде.

6.2.2.11 В конце замедления, которое предусмотрено по истечении 505 с. одновременно изменить направление потоков проб с «промежуточных» камер на «устойчивые» камеры, произвести подпитку фильтров улавливания твердых частиц для устойчивого этапа, отключить устройство № 1 измерения газового потока (и интегратор № 1 дизельных углеводородов) (обозначить диаграмму регистрации этих углеводородов) и включить устройство № 2 измерения газового потока (и интегратор № 2 дизельных углеводородов). До начала ускорения, предусмотренного на 510-й секунде, отметить частоту вращения барабана или вала двигателя и установить счетчик на нуль, либо использовать второй счетчик. Затем по возможности быстрее переместить промежуточные пробы отработавших газов и разрежающего воздуха в анализирующую систему и обработать пробы таким образом, чтобы было обеспечено устойчивое считывание показаний, касающихся проб отработавших газов, на всех анализаторах через 20 мин после завершения пробоотборного этапа испытания.

6.2.2.12 Выключить двигатель через 2 с после завершения последнего замедления (на 1369-й секунде).

6.2.2.13 Через 5 с после остановки двигателя одновременно отключить устройство № 2 измерения газового потока (и интегратор № 2 дизельных углеводородов) (обозначить, в случае необходимости, диаграмму регистрации углеводородов) закрыть вентили для фильтров улавливания твердых частиц для устойчивого этапа и установить винтили пробоотборника в положение «готовность к работе». Зарегистрировать частоту вращения барабана или вала двигателя и установить счетчик на нуль. Затем по возможности быстрее переместить «устойчивые» пробы отработавших газов и разрежающего воздуха в анализирующую систему и обработать пробы таким образом, чтобы было обеспечено устойчивое считывание показателей, касающихся проб отработавших газов, на всех анализаторах через 20 мин после завершения пробоотборного этапа испытания.

6.2.2.14 Сразу после завершения периода отбора проб отключить вентилятор системы охлаждения и закрыть капот моторного отсека.

6.2.2.15 Отключить CVS или отсоединить выхлопной патрубок от выпускной трубы транспортного средства.

6.2.2.16 Повторить операции, указанные в 6.2.2.2-6.2.2.10 для испытания с запуском разогретого двигателя, за исключением случаев, когда необходима только одна отсоединенная пробоотборная камера для отработавших газов и одна камера для разрежающего воздуха.

Точно так же в случае транспортных средств, оснащенных двигателем с воспламенением от сжатия, для испытания с запуском разогретого двигателя требуется только одна пара фильтров улавливания твердых частиц.

Операция, описанная в 6.2.2.7, начинается через 9-11 мин после завершения пробоотборного периода испытания с запуском холодного двигателя.

6.2.2.17 В конце замедления, которое предусмотрено по истечении 505 с, отключить одновременно устройство № 1 измерения газового потока (и интегратор № 1 дизельных углеводородов) (обозначить, если это необходимо, диаграмму регистрации этих углеводородов), закрыть вентили для фильтров улавливания твердых частиц и установить вентиль распределителя проб в положение «готовность к работе» (остановка двигателя не относится к пробоотборному периоду испытания с запуском холодного двигателя).

Зарегистрировать частоту вращения барабана или вала двигателя.

6.2.2.18 По возможности быстрее переместить «промежуточные» пробы отработавших газов, полученные при запуске разогретого двигателя, и разрежающего воздуха в анализирующую систему и обработать пробы таким образом, чтобы было обеспечено устойчивое считывание показаний, касающихся проб отработавших газов, на всех анализаторах в течение 20-минутного периода, следующего за окончанием пробоотборного этапа испытания.

6.3 Запуск и повторный запуск двигателя

6.3.1 Транспортные средства, работающие на бензине

Настоящий пункт относится только к транспортным средствам, оснащенным двигателем, работающим на бензине.

6.3.1.1 Двигатель должен быть запущен в соответствии с требованиями изготовителя, которые содержатся в инструкции по эксплуатации серийных транспортных средств. Начальный период работы в режиме холостого хода продолжительностью 20 с начинается с момента запуска двигателя.

6.3.1.2 Использование стартера

Транспортные средства, оснащенные автоматическими стартерами, эксплуатируют в соответствии с требованиями изготовителя, которые содержатся в инструкции по эксплуатации серийных транспортных средств.

Транспортные средства, оснащенные ручными стартерами, эксплуатируют в соответствии с требованиями изготовителя, которые содержатся в инструкции по эксплуатации серийных транспортных средств.

6.3.1.3 Трансмиссию включают через 15 с после запуска двигателя. При необходимости используют тормоза для воспрепятствования вращению ведущих колес.

6.3.1.4 Оператор может использовать стартер, педаль акселератора и т.д., когда это необходимо для поддержания двигателя в режиме работы.

6.3.1.5 Если в требованиях изготовителя, которые содержатся в инструкции по эксплуатации серийных транспортных средств, не определена процедура запуска разогретого двигателя, двигатель (двигатель с автоматическим или ручным стартером) должен быть запущен нажатием приблизительно наполовину педали акселератора до тех пор, пока двигатель не начнет работать.

6.3.2 Дизельные транспортные средства

Двигатель запускают в соответствии с требованиями изготовителя, которые содержатся в инструкции по эксплуатации серийных транспортных средств. Первоначальный период работы в режиме холостого хода продолжительностью 20 с начинается с момента запуска двигателя. Трансмиссию включают через 15 с после запуска двигателя. При необходимости применяют тормоза для воспрепятствования вращению ведущих колес.

6.3.3 Если транспортное средство не заводится через 10 с после того, как был включен стартер, делают перерыв и выясняют причину отказа. Устройство измерения газового потока на пробоотборнике с постоянным объемом (как правило, расходомер роторного типа) или CFV (а также интегратор углеводородов в случае испытания дизельных транспортных средств) останавливают, а вентили распределителя проб устанавливают в положение «готовность к работе» в течение этого периода диагностики. Кроме того, в течение этого периода необходимо остановить CVS либо отсоединить выхлопной патрубок от выхлопной трубы транспортного средства. Если отказ двигателя при запуске обусловлен эксплуатационной ошибкой, транспортное средство должно быть снова подготовлено для испытания с запуском холодного двигателя.

6.3.3.1 Если отказ при запуске происходит на этапе испытания с запуском холодного двигателя и обусловлен неудовлетворительным функционированием транспортного средства, то могут быть приняты меры по устранению неисправности при условии, что их продолжительность не превышает 30 мин и испытание может быть продолжено. Все пробоотборные системы должны быть снова включены в момент повторного запуска двигателя. Хронологический отсчет цикла движения начинают с момента запуска двигателя. Если отказ при запуске обусловлен неудовлетворительным функционированием транспортного средства и запустить двигатель транспортного средства не представляется возможным, испытание отменяют.

6.3.3.2 Если отказ при запуске происходит на этапе испытания с запуском разогретого двигателя и обусловлен неудовлетворительным функционированием транспортного средства, транспортное средство должно начать функционирование в течение 1 мин после поворота ключа зажигания. Все пробоотборные системы должны быть снова включены в момент повторного запуска двигателя. Хронологический отсчет цикла движения начинают с момента запуска двигателя. Если двигатель транспортного средства не может быть запущен в течение 1 мин с момента поворота ключа зажигания, испытание отменяют.

6.3.4 Если происходит «ложный запуск», оператор должен повторить рекомендуемую процедуру запуска (например снова включить стартер и т.д.).

6.3.5 Остановка двигателя

Если двигатель останавливается во время периода работы в режиме холостого хода, он должен быть немедленно снова запущен и испытание должно продолжиться. Если двигатель не может быть снова запущен так, чтобы транспортное средство могло осуществить следующее ускорение в соответствии с предписаниями и без нарушения временного графика, цикл движения должен быть остановлен. Он снова начинается после повторного запуска двигателя транспортного средства.

Если двигатель останавливается в любом другом режиме работы помимо холостого хода, цикл движения останавливают, а затем производят повторный запуск и разгон транспортного средства до скорости, требуемой в этой точке цикла движения, и испытание продолжают.

Если двигатель транспортного средства не заводится в течение 1 мин, испытание отменяют.

7 Процедура проведения анализов

7.1 Аналогично 7.2.2 приложения 4.

7.2 Аналогично 7.2.3 приложения 4.

7.3 Аналогично 7.2.4 приложения 4.

7.4 Аналогично 7.2.5 приложения 4.

7.5 Аналогично 7.2.6 приложения 4.

7.6 Аналогично 7.2.7 приложения 4.

7.7 Аналогично 7.2.8 приложения 4.

7.8 Загруженные фильтры улавливания твердых частиц должны быть помещены в камеру не позднее чем через 1 ч после завершения испытания на газы, доведены там до кондиции в течение 2-56 ч и затем взвешены.

8 Определение количества выбросов загрязняющих газов и загрязняющих твердых частиц

8.1

8.2

Аналогично 8.1 и 8.2 приложения 4.

ДОПОЛНЕНИЕ 1

(к приложению 4А)

Рабочий цикл

t, с

n, км/ч

t, с

n, км/ч

t, с

n, км/ч

t, с

n, км/ч

t, с

n, км/ч

t, с

n, км/ч

t, с

n, км/ч

0

0,0

20

0,0

40

24,0

60

38,9

80

41,4

100

48,8

120

24,8

1

0,0

21

4,8

41

24,5

61

39,6

81

42,0

101

49,4

121

19,5

2

0,0

22

9,5

42

24,9

62

40,1

82

43,0

102

49,7

122

14,2

3

0,0

23

13,8

43

25,7

63

40,2

83

44,3

103

49,9

123

8,9

4

0,0

24

16,5

44

27,5

64

39,6

84

46,0

104

49,7

124

3,5

5

0,0

25

23,0

45

30,7

65

39,4

85

47,2

105

48,9

125

0,0

6

0,0

26

27,2

46

34,0

66

39,8

86

48,0

106

48,0

126

0,0

7

0,0

27

27,8

47

36,5

67

39,9

87

48,4

107

48,1

127

0,0

8

0,0

28

29,1

48

36,9

68

39,8

88

48,9

108

48,6

128

0,0

9

0,0

29

33,3

49

36,5

69

39,6

89

49,4

109

49,4

129

0,0

10

0,0

30

34,9

50

36,4

70

39,6

90

49,4

110

50,2

130

0,0

11

0,0

31

36,0

51

34,3

71

40,4

91

49,1

111

51,2

131

0,0

12

0,0

32

36,2

52

30,6

72

41,2

92

48,9

112

51,8

132

0,0

13

0,0

33

35,6

53

27,5

73

41,4

93

48,8

113

52,1

133

0,0

14

0,0

34

34,6

54

25,4

74

40,9

94

48,9

114

51,8

134

0,0

15

0,0

35

33,6

55

25,4

75

40,1

95

49,6

115

51,0

135

0,0

16

0,0

36

32,8

56

28,5

76

40,2

96

48,9

116

46,0

136

0,0

17

0,0

37

31,9

57

31,9

77

40,9

97

48,1

117

40,7

137

0,0

18

0,0

38

27,4

58

34,8

78

41,8

98

47,5

118

35,4

138

0,0

19

0,0

39

24,0

59

37,3

79

41,8

99

48,0

119

30,1

139

0,0

Продолжение табл.

t, с

n, км/ч

t, с

n, км/ч

t, с

n, км/ч

t, с

n, км/ч

t, с

n, км/ч

t, с

n, км/ч

t, с

n, км/ч

140

0,0

160

0,0

180

41,5

200

67,8

220

80,5

240

91,2

260

87,1

141

0,0

161

0,0

181

43,8

201

70,0

221

81,4

241

91,2

261

86,6

142

0,0

162

0,0

182

42,6

202

72,6

222

82,1

242

90,9

262

85,9

143

0,0

163

0,0

183

38,6

203

74,0

223

82,9

243

90,9

263

85,3

144

0,0

164

5,3

184

36,5

204

75,3

224

84,0

244

90,9

264

84,7

145

0,0

165

10,6

185

31,2

205

76,4

225

85,6

245

90,9

265

83,8

146

0,0

166

15,9

186

28,5

206

76,4

226

87,1

246

90,9

266

84,3

147

0,0

167

21,2

187

27,7

207

76,1

227

87,9

247

90,9

267

83,7

148

0,0

168

26,6

188

29,1

208

76,0

228

88,4

248

90,8

268

83,5

149

0,0

169

31,9

189

29,9

209

75,6

229

88,5

249

90,3

269

83,2

150

0,0

170

35,7

190

32,2

210

75,6

230

88,4

250

89,8

270

82,9

151

0,0

171

39,1

191

35,7

211

75,6

231

87,9

251

88,7

271

83,0

152

0,0

172

41,5

192

39,4

212

75,6

232

87,9

252

87,9

272

83,4

153

0,0

173

42,5

193

43,9

213

75,6

233

88,2

253

87,2

273

83,8

154

0,0

174

41,4

194

49,1

214

76,0

234

88,7

254

86,9

274

84,5

155

0,0

175

40,4

195

53,9

215

76,3

235

89,3

255

86,4

275

85,3

156

0,0

176

39,8

196

58,3

216

77,1

236

89,6

256

86,3

276

86,1

157

0,0

177

40,2

197

60,0

217

78,1

237

90,3

257

86,7

277

86,9

158

0,0

178

40,6

198

63,2

218

79,0

238

90,6

258

86,9

278

88,4

159

0,0

179

40,9

199

65,2

219

79,7

239

91,1

259

87,1

279

89,2

Продолжение табл.

t, с

n, км/ч

t, с

n, км/ч

t, с

n, км/ч

t, с

n, км/ч

t, с

n, км/ч

t, с

n, км/ч

t, с

n, км/ч

280

89,5

300

79,0

320

44,3

340

0,0

360

49,0

380

58,7

400

0,0

281

90,1

301

78,2

321

39,9

341

0,0

361

50,9

381

58,6

401

0,0

282

90,1

302

77,4

322

34,6

342

0,0

362

51,7

382

57,9

402

0,0

283

89,8

303

76,0

323

32,3

343

0,0

363

52,3

383

56,5

403

4,2

284

88,8

304

74,2

324

30,7

344

0,0

364

54,1

384

54,9

404

9,5

285

87,7

305

72,4

325

29,8

345

0,0

365

55,5

385

53,9

405

14,5

286

86,3

306

70,5

326

27,4

346

0,0

366

55,7

386

50,5

406

20,1

287

84,5

307

68,6

327

24,9

347

1,6

367

56,2

387

46,7

407

25,4

288

82,9

308

66,8

328

20,1

348

6,9

368

56,0

388

41,4

408

30,7

289

82,9

309

64,9

329

17,4

349

12,2

369

55,5

389

37,0

409

36,0

290

82,9

310

62,0

330

12,9

350

17,5

370

55,8

390

32,7

410

40,2

291

82,2

311

59,5

331

7,6

351

22,9

371

57,1

391

28,2

411

41,2

292

80,6

312

56,6

332

2,3

352

27,8

372

57,9

392

23,3

412

44,3

293

80,5

313

54,4

333

0,0

353

32,2

373

57,9

393

19,3

413

46,7

294

80,6

314

52,3

334

0,0

354

36,2

374

57,9

394

14,0

414

48,3

295

80,5

315

50,7

335

0,0

355

38,1

375

57,9

395

8,7

415

48,4

296

79,8

316

49,2

336

0,0

356

40,6

376

57,9

396

3,4

416

48,3

297

79,7

317

49,1

337

0,0

357

42,8

377

57,9

397

0,0

417

47,8

298

79,7

318

48,3

338

0,0

358

45,2

378

58,1

398

0,0

418

47,2

299

79,7

319

46,7

339

0,0

359

46,3

379

58,6

399

0,0

419

46,3

Продолжение табл.

t, с

n, км/ч

t, с

n, км/ч

t, с

n, км/ч

t, с

n, км/ч

t, с

n, км/ч

t, с

n, км/ч

t, с

n, км/ч

420

45,1

440

0,0

460

54,1

480

56,6

500

21,2

520

25,7

540

406

421

40,2

441

0,0

461

56,0

481

56,3

501

16,6

521

28,5

541

40,2

422

34,9

442

0,0

462

56,5

482

56,5

502

11,6

522

30,6

542

40,2

423

29,6

443

0,0

463

57,3

483

56,6

503

6,4

523

32,3

543

40,2

424

24,3

444

0,0

464

58,1

484

57,1

504

1,6

524

33,6

544

39,3

425

19,0

445

0,0

465

57,9

485

56,6

505

0,0

525

35,4

545

37,2

426

13,7

446

0,0

466

58,1

486

56,3

506

0,0

526

37,0

546

31,9

427

8,4

447

0,0

467

58,3

487

56,3

507

0,0

527

38,3

547

26,6

428

3,1

448

5,3

468

57,9

488

56,3

508

0,0

528

39,4

548

21,2

429

0,0

449

10,6

469

57,5

489

56,0

509

0,0

529

40,1

549

15,9

430

0,0

450

15,9

470

57,9

490

55,7

510

0,0

530

40,2

550

10,6

431

0,0

451

21,2

471

57,9

491

55,8

511

1,9

531

40,2

551

5,3

432

0,0

452

26,6

472

57,3

492

53,9

512

5,6

532

40,2

552

0,0

433

0,0

453

31,0

473

57,1

493

51,5

513

8,9

533

40,2

553

0,0

434

0,0

454

37,2

474

57,0

494

46,4

514

10,5

534

40,2

554

0,0

445

0,0

455

42,5

475

56,6

495

45,1

515

13,7

535

40,2

555

0,0

436

0,0

456

44,7

476

56,6

496

41,0

516

15,4

536

41,2

556

0,0

437

0,0

457

46,8

477

56,6

457

36,2

517

16,9

537

41,5

557

0,0

438

0,0

458

50,7

478

56,6

498

31,9

518

19,2

538

41,8

558

0,0

439

0,0

459

53,1

479

56,6

499

26,6

519

22,5

539

41,2

559

0,0

Продолжение табл.

t, с

n, км/ч

t, с

n, км/ч

t, с

n, км/ч

t, с

n, км/ч

t, с

n, км/ч

t, с

n, км/ч

t, с

n, км/ч

560

0,0

580

28,5

600

34,8

620

0,0

640

0,0

660

41,2

680

0,0

561

0,0

581

28,2

601

35,4

621

0,0

641

0,0

661

41,8

681

0,0

562

0,0

582

27,4

602

36,0

622

0,0

642

0,0

662

43,9

682

0,0

563

0,0

583

27,2

603

36,2

623

0,0

643

0,0

663

43,1

683

0,0

564

0,0

584

26,7

604

36,2

624

0,0

644

0,0

664

42,3

684

0,0

565

0,0

585

27,4

605

36,2

625

0,0

645

0,0

665

42,5

685

0,0

566

0,0

586

27,5

606

36,5

626

0,0

646

3,2

666

42,6

686

0,0

567

0,0

587

27,4

607

38,1

627

0,0

647

7,2

667

42,6

687

0,0

568

0,0

588

26,7

608

40,4

628

0,0

648

12,6

668

41,8

688

0,0

569

5,3

589

26,6

609

41,8

629

0,0

649

16,4

669

41,0

689

0,0

570

10,6

590

26,6

610

42,6

630

0,0

650

20,1

670

38,0

690

0,0

571

15,9

591

26,7

611

43,5

631

0,0

651

22,5

671

34,4

691

0,0

572

20,9

592

27,4

612

42,0

632

0,0

652

24,6

672

29,8

692

0,0

573

23,5

593

28,3

613

36,7

633

0,0

653

28,2

673

26,4

693

0,0

574

25,7

594

29,8

614

31,4

634

0,0

654

31,5

674

23,3

694

2,3

575

27,4

595

30,9

615

26,1

635

0,0

655

33,8

675

18,7

695

5,3

576

27,4

596

32,5

616

20,8

636

0,0

656

35,7

676

14,0

696

7,1

577

21,4

597

33,8

617

15,4

637

0,0

657

37,5

677

9,3

697

10,5

578

28,2

598

34,0

618

10,1

638

0,0

658

39,4

678

5,6

698

14,8

579

28,5

599

34,1

619

4,8

639

0,0

659

40,7

679

3,2

699

18,2

Продолжение табл.

t, с

n, км/ч

t, с

n, км/ч

t, с

n, км/ч

t, с

n, км/ч

t, с

n, км/ч

t, с

n, км/ч

t, с

n, км/ч

700

21,7

720

24,1

740

41,0

760

15,1

780

44,3

800

45,1

820

50,9

701

23,5

721

19,3

741

42,6

761

10,0

781

45,1

801

45,9

821

50,7

702

26,4

722

14,5

742

43,6

762

4,8

782

45,5

802

48,3

822

49,2

703

26,9

723

10,0

743

44,4

763

2,4

783

46,5

803

49,9

823

48,3

704

26,6

724

7,2

744

44,9

764

2,4

784

46,5

804

51,5

824

48,1

705

26,6

725

4,8

745

45,5

765

0,8

785

46,5

805

53,1

825

48,1

706

29,3

726

3,4

746

46,0

766

0,0

786

46,3

806

53,1

826

48,1

707

30,9

727

0,8

747

46,0

767

4,8

787

45,9

807

54,1

827

48,1

708

32,3

728

0,8

748

45,5

768

10,1

788

45,5

808

54,7

828

47,6

709

34,6

729

5,1

749

45,4

769

15,4

789

45,5

809

55,2

829

47,5

710

36,2

730

10,5

750

45,1

770

20,8

790

45,5

810

55,0

830

47,5

711

36,2

731

15,4

751

44,3

771

25,4

791

45,4

811

54,7

831

47,2

712

35,6

732

20,1

752

43,1

772

28,2

792

44,4

812

54,7

832

46,5

713

36,5

733

22,5

753

41,0

773

29,6

793

44,3

813

54,6

833

45,4

714

37,5

734

25,7

754

37,8

774

31,4

794

44,3

814

54,1

834

44,6

715

37,8

735

29,0

755

34,6

775

33,3

795

44,3

815

53,3

835

43,5

716

36,2

736

31,5

756

30,6

776

35,4

796

44,3

816

53,1

836

41,0

717

34,8

737

34,6

757

26,6

777

37,3

797

44,3

817

52,3

837

38,1

718

33,0

738

37,2

758

24,0

778

40,2

798

44,3

818

51,5

838

35,4

719

29,0

739

39,4

759

20,1

779

42,6

799

44,4

819

51,3

839

33,0

Продолжение табл.

t, с

n, км/ч

t, с

n, км/ч

t, с

n, км/ч

t, с

n, км/ч

t, с

n, км/ч

t, с

n, км/ч

t, с

n, км/ч

840

30,9

860

46,7

880

46,8

900

43,3

920

36,4

940

40,2

960

3,2

841

30,9

861

46,8

881

46,7

901

42,8

921

37,7

941

39,6

961

8,5

842

32,3

862

46,7

882

46,5

902

42,6

922

38,6

942

39,6

962

13,8

843

33,6

863

45,2

883

45,9

903

42,6

923

38,9

943

38,8

963

19,2

844

34,4

864

44,3

884

45,2

904

42,6

924

39,3

944

39,4

964

24,5

845

35,4

865

43,5

885

45,1

905

42,3

925

40,1

945

40,4

965

28,2

846

36,4

866

41,5

886

45,1

906

42,2

926

40,4

946

41,2

966

29,9

847

37,3

867

40,2

887

44,4

907

42,2

927

40,6

947

40,4

967

32,2

848

38,6

868

39,4

888

43,8

908

41,7

928

40,7

948

38,6

968

34,0

849

40,2

869

39,9

889

42,8

909

41,2

929

41,0

949

35,4

969

35,4

850

41,8

870

40,4

890

43,5

910

41,2

930

40,6

950

32,3

970

37,0

851

42,8

871

41,0

891

44,3

911

41,7

931

40,2

951

27,2

971

39,4

852

42,8

872

41,4

892

44,7

912

41,5

932

40,3

952

21,9

972

42,3

853

43,1

873

42,2

893

45,1

913

41,0

933

40,2

953

16,6

973

44,3

854

43,5

874

43,3

894

44,7

914

39,6

934

39,8

954

11,3

974

45,2

855

43,8

875

44,3

895

45,1

915

37,8

935

39,4

955

6,0

975

45,7

856

44,7

876

44,7

896

45,1

916

35,7

936

39,1

956

0,6

976

45,9

857

45,2

877

45,7

897

45,1

917

34,8

937

39,1

957

0,0

977

45,9

858

46,3

878

46,7

898

44,6

918

34,8

938

39,4

958

0,0

978

45,9

859

46,5

879

47,0

899

44,1

919

34,9

939

40,2

959

0,0

979

44,6

Продолжение табл.

t, с

n, км/ч

t, с

n, км/ч

t, с

n, км/ч

t, с

n, км/ч

t, с

n, км/ч

t, с

n, км/ч

t, с

n, км/ч

980

44,3

1000

37,8

1020

12,2

1040

0,0

1060

32,2

1080

29,0

1100

0,0

981

43,0

1001

38,6

1021

6,9

1041

0,0

1061

35,1

1081

24,1

1101

0,2

982

43,1

1002

39,6

1022

1,6

1042

0,0

1062

37,0

1082

19,8

1102

1,0

983

42,6

1003

39,9

1023

0,0

1043

0,0

1063

38,6

1083

17,9

1103

2,6

984

41,8

1004

40,4

1024

0,0

1044

0,0

1064

39,9

1084

17,1

1104

5,8

985

41,4

1005

41,9

1025

0,0

1045

0,0

1065

41,2

1085

16,1

1105

11,1

986

40,6

1006

41,2

1026

0,0

1046

0,0

1066

42,6

1086

15,3

1106

16,1

987

38,6

1007

41,0

1027

0,0

1047

0,0

1067

43,1

1087

14,6

1107

20,6

988

35,4

1008

40,2

1028

0,0

1048

0,0

1068

44,1

1088

14,0

1108

22,5

989

34,6

1009

38,8

1029

0,0

1049

0,0

1069

44,9

1089

13,8

1109

23,3

990

34,6

1010

38,1

1030

0,0

1050

0,0

1070

45,5

1090

14,2

1110

25,7

991

35,1

1011

37,3

1031

0,0

1051

0,0

1071

45,1

1091

14,5

1111

29,1

992

36,2

1012

36,9

1032

0,0

1052

0,0

1072

44,3

1092

14,0

1112

32,2

993

37,0

1013

36,2

1033

0,0

1053

1,9

1073

43,5

1093

13,8

1113

33,8

994

36,7

1014

35,4

1034

0,0

1054

6,4

1074

43,5

1094

12,9

1114

34,1

995

36,7

1015

34,8

1035

0,0

1055

11,7

1075

42,3

1095

11,3

1115

34,3

996

37,0

1016

33,0

1036

0,0

1056

17,1

1076

39,4

1096

8,0

1116

34,4

997

36,5

1017

28,2

1037

0,0

1057

22,4

1077

36,2

1097

6,8

1117

34,9

998

36,5

1018

22,9

1038

0,0

1058

27,4

1078

34,6

1098

4,2

1118

36,2

999

36,5

1019

17,5

1039

0,0

1059

29,8

1079

33,2

1099

1,6

1119

37,0

Продолжение табл.

t, с

n, км/ч

t, с

n, км/ч

t, с

n, км/ч

t, с

n, км/ч

t, с

n, км/ч

t, с

n, км/ч

t, с

n, км/ч

1120

38,3

1140

41,8

1160

0,0

1180

32,2

1200

10,5

1220

34,6

1240

9,7

1121

39,4

1141

41,0

1161

0,0

1181

26,9

1201

15,8

1221

35,1

1241

6,4

1122

40,2

1142

39,6

1162

0,0

1182

21,6

1202

19,3

1222

35,4

1242

4,0

1123

40,1

1143

37,8

1163

0,0

1183

16,3

1203

20,8

1223

35,2

1243

1,1

1124

39,9

1144

34,6

1164

0,0

1184

10,9

1204

20,9

1224

34,9

1244

0,0

1125

40,2

1145

32,2

1165

0,0

1185

5,6

1205

20,3

1225

34,6

1245

0,0

1126

40,9

1146

28,2

1166

0,0

1186

0,3

1206

20,6

1226

34,6

1246

0,0

1127

41,5

1147

25,7

1167

0,0

1187

0,0

1207

21,1

1227

34,4

1247

0,0

1128

41,8

1148

22,5

1168

0,0

1188

0,0

1208

21,1

1228

32,3

1248

0,0

1129

42,5

1149

17,2

1169

3,4

1189

0,0

1209

22,5

1229

31,4

1249

0,0

1130

42,8

1150

11,9

1170

8,7

1190

0,0

1210

24,9

1230

30,9

1250

0,0

1131

43,3

1151

6,6

1171

14,0

1191

0,0

1211

27,4

1231

31,5

1251

0,0

1132

43,5

1152

1,3

1172

19,3

1192

0,0

1212

29,9

1232

31,9

1252

1,6

1133

43,5

1153

0,0

1173

24,6

1193

0,0

1213

31,7

1233

32,2

1253

1,6

1134

43,5

1154

0,0

1174

29,9

1194

0,0

1214

33,8

1234

31,4

1254

1,6

1135

43,3

1155

0,0

1175

34,0

1195

0,0

1215

34,6

1235

28,2

1255

1,6

1136

43,1

1156

0,0

1176

37,0

1196

0,0

1216

35,1

1236

24,9

1256

1,6

1137

43,1

1157

0,0

1177

37,8

1197

0,3

1217

35,1

1237

20,9

1257

2,6

1138

42,6

1158

0,0

1178

37,0

1198

2,4

1218

34,6

1238

16,1

1258

4,8

1139

42,5

1159

0,0

1179

36,2

1199

5,6

1219

34,1

1239

12,9

1259

6,4

Продолжение табл.

t, с

n, км/ч

t, с

n, км/ч

t, с

n, км/ч

t, с

n, км/ч

t, с

n, км/ч

t, с

n, км/ч

t, с

n, км/ч

1260

8,0

1276

37,0

1292

40,2

1308

23,8

1324

0,0

1340

13,0

1356

32,2

1261

10,1

1277

38,0

1293

40,9

1309

18,5

1325

0,0

1341

18,3

1357

31,5

1262

12,9

1278

38,8

1294

41,2

1310

13,2

1326

0,0

1342

21,2

1358

29,8

1263

16,1

1279

39,4

1295

41,4

1311

7,9

1327

0,0

1343

24,3

1359

28,2

1264

16,9

1280

39,4

1296

41,8

1312

2,6

1328

0,0

1344

27,0

1360

26,6

1265

15,3

1281

38,6

1297

42,2

1313

0,0

1329

0,0

1345

29,5

1361

24,9

1266

13,7

1282

37,8

1298

43,5

1314

0,0

1330

0,0

1346

31,4

1362

22,5

1267

12,2

1283

37,8

1299

44,71

1315

0,0

1331

0,0

1347

32,7

1363

17,7

1268

14,2

1284

37,8

1300

45,5

1316

0,0

1332

0,0

1348

34,3

1364

12,9

1269

17,7

1285

37,8

1301

46,7

1317

0,0

1333

0,0

1349

35,2

1365

6,4

1270

22,5

1286

37,8

1302

46,8

1318

0,0

1334

0,0

1350

35,6

1366

4,0

1271

27,4

1287

37,8

1303

46,7

1319

0,0

1335

0,0

1351

36,0

1367

0,0

1272

31,4

1288

38,6

1304

45,1

1320

0,0

1336

0,0

1352

35,4

1368

0,0

1273

33,8

1289

38,8

1305

39,8

1321

0,0

1337

0,0

1353

34,8

1369

0,0

1274

35,1

1290

39,4

1306

34,4

1322

0,0

1338

2,4

1354

34,0

1370

0,0

1275

35,7

1291

39,8

1307

29,1

1323

0,0

1339

7,7

1355

33,0

1371

0,0

ДОПОЛНЕНИЕ 2

(к приложению 4А)

Динамометрический стенд

1 Определение

1.1 Введение

Если на динамометрическом стенде нельзя воспроизвести общее сопротивление поступательному движению по дороге между скоростями 10 и 80,5 км/ч, то рекомендуется использовать динамометрический стенд, имеющий приведенные характеристики.

2 Метод тарирования динамометрического стенда

2.1 Аналогично 2.1 дополнения 2 к приложению 4.

2.2 Тарирование индикатора мощности при 80,5 км/ч

2.2.1 Динамометрический стенд следует тарировать не менее одного раза в месяц, если его проверку не производят, по меньшей мере, один раз в неделю в целях определения необходимости тарирования. Тарирование производят при 80,5 км/ч в соответствии с процедурой, описываемой ниже. При измерении часть мощности теряется на трение и поглощение тормозом. Барабан динамометра раскручивается до скорости, выходящей за пределы диапазона скоростей испытания. Затем устройство, используемое для запуска разгона динамометра, отключают и барабан (барабаны) вращается (вращаются) по инерции. Кинетическая энергия барабанов поглощается тормозом и трением. В этом методе не учитывают влияние внутреннего трения, вызываемого самими барабанами под нагрузкой и без нагрузки; не учитывают также трение заднего барабана, когда он находится в свободном положении.

2.2.1.1 Измерить скорость вращения ведущего барабана, если это еще не сделано. Для этого можно использовать пятое колесо, счетчик оборотов, а также другие соответствующие средства.

2.2.1.2 Установить транспортное средство на динамометр или использовать какой-либо другой метод разгона динамометра.

2.2.1.3 Подключить маховик или какую-либо другую имитационную инерционную систему, приспособленную или наиболее часто используемую на стенде категории массы транспортного средства. В случае необходимости тарирование может проводиться для транспортных средств других категорий массы.

2.2.1.4 Разогнать динамометр до скорости 80,5 км/ч.

2.2.1.5 Зарегистрировать указанную мощность.

2.2.1.6 Разогнать динамометр до скорости 96,9 км/ч.

2.2.1.7 Отключить устройство, используемое для разгона динамометра.

2.2.1.8 Отметить время, в течение которого вращение динамометра замедлится со скорости 88,5 км/ч до скорости 72,4 км/ч.

2.2.1.9 Отрегулировать тормоз для другого значения поглощения мощности.

2.2.1.10 Повторить операции 2.2.1.1-2.2.1.9 столько раз, сколько это необходимо, для того чтобы покрыть весь диапазон развиваемых мощностей.

2.2.1.11 Подсчитать поглощаемую мощность (см. 2.2.3).

2.2.1.12 Построить график зависимости мощности, развиваемой при 80,5 км/ч, от поглощаемой мощности, как указано на рисунке А.

2.2.2 Проверку функционирования осуществляют на стенде свободным вращением барабанов при одном или нескольких различных значениях инерции (ЛС) и сравнением продолжительности вращения по инерции с продолжительностью, зарегистрированной в ходе последнего тарирования. Если разность этих отрезков времени составляет более 1 с, необходимо произвести новое тарирование.

2.2.3 Расчеты

Фактически поглощаемую динамометром мощность Ра рассчитывают по формуле

где Ра - мощность, кВт;

W - сила, эквивалентная инерции, кг;

V1 - начальная скорость, м/с;

V2 - конечная скорость, м/с;

t - время, необходимое для снижения скорости при свободном вращении с 88,5 км/ч до 72,4 км/ч

Рисунок А

2.3 Аналогично 2.3 дополнения 2 к приложению 4.

3 Регулировка стенда

3.1 Метод разрежения

3.1.1 Введение

Настоящий метод не является предпочтительным. Его применяют только на стендах с постоянной кривой нагрузки для определения регулировки нагрузки при 80,5 км/ч и не применяют для двигателей с воспламенением от сжатия.

3.1.2 Контрольно-измерительные приборы

Разрежение (или абсолютное давление) во впускном коллекторе транспортного средства измеряют с точностью ±0,025 кПа. Необходимо обеспечить возможность постоянной регистрации этого параметра или регистрации с интервалами не более чем в 1 с. Скорость следует регистрировать постоянно с точностью ±0,4 км/ч.

3.1.3 Испытания на треке

3.1.3.1 Необходимо обеспечить соблюдение требований раздела 4 дополнения 3 к настоящему приложению.

3.1.3.2 Вести транспортное средство с постоянной скоростью 80,5 км/ч, регистрируя показания скорости и разрежение (или абсолютное давление) в соответствии с требованиями 3.1.2.

3.1.3.3 Повторить операцию, описанную в 3.1.3.2, три раза в каждом направлении. Все шесть пробегов должны быть выполнены в течение 4 ч.

3.1.4 Обобщение объема данных и критерии допустимости

3.1.4.1 Изучить результаты, полученные во время операций, предписанных в 3.1.3.2 и 3.1.3.3 (продолжительность движения со скоростью менее 79,5 км/ч или выше 81,0 км/ч не должна превышать 1 с). Для каждого пробега необходимо фиксировать разрежение с интервалами в 1 с, а также рассчитывать среднее разрежение (n) и стандартное отклонение (s); этот подсчет производят на основе не менее 10 показаний разрежения.

3.1.4.2 Стандартное отклонение не должно превышать 10 % среднего значения () для каждого пробега.

3.1.4.3 Рассчитать среднее значение () для шести пробегов (три пробега в каждом направлении).

3.1.5 Регулировка стенда

3.1.5.1 Подготовительные операции

Выполнить операции, указанные в 5.1.2.2.1-5.1.2.2.4 дополнения 3 к настоящему приложению.

3.1.5.2 Регулировка тормоза

После прогрева разогнать транспортное средство до постоянной скорости 80,5 км/ч, отрегулировать нагрузку таким образом, чтобы можно было получить значение разрежения (n) в соответствии с 3.1.4.3. Отклонение от этого значения не должно превышать 0,25 кПа. Для этой операции используют контрольно-измерительные приборы, которые применяли во время испытания на треке.

3.2 Другие методы регулировки

Регулировку стенда можно осуществлять при постоянной скорости 80,5 км/ч, в соответствии с положениями дополнения 3 к настоящему приложению.

3.3 Альтернативный метод

3.3.1 Тормоз регулируют таким образом, чтобы можно было воспроизвести мощность, поглощаемую при реальной скорости 80,5 км/ч. Для определения поглощения мощности на стенде необходимо учитывать трение.

Описываемый ниже метод был разработан для небольших динамометрических стендов с номинальным диаметром барабанов 220 мм и расстоянием между барабанами 432 мм, а также для больших динамометрических стендов с номинальным диаметром барабана 1219 мм. Стенды, барабаны которых имеют другие характеристики, можно также использовать с согласия технической службы.

3.3.2 Регулировку стенда для воспроизведения нагрузки на дороге определяют по эквивалентной испытательной массе, площади результирующего момента вращения, форме кузова, выступающих частей и типу шин в соответствии с указанной ниже формулой.

3.3.2.1 Для легких транспортных средств, испытываемых на стенде с двумя барабанами

РL=аА+Р+tw,

где РL - регулировка для 80,5 км/ч, кВт;

A - площадь результирующего момента вращения, м2.

Результирующий момент вращения определяют по поверхности ортогональной проекции транспортного средства, включая покрышки и элементы подвески, но исключая выступающие части транспортного средства на перпендикулярную плоскость к продольной плоскости транспортного средства и поверхности, на которой находится транспортное средство. Эту поверхность измеряют в сотых долях квадратного метра с помощью метода, предварительно одобренного технической службой, уполномоченной проводить испытания;

Р - корректирующий коэффициент для выступающих частей, приведенный в таблице 1 настоящего пункта;

w - эквивалентная испытательная масса транспортного средства, кг;

а - 3,45 для транспортных средств с двухобъемным кузовом, 4,01 для всех других типов легких транспортных средств;

t - 0,0 для транспортных средств, оснащенных шинами с радиальным каркасом, 4,93´10-4 для всех других транспортных средств.

Считается, что транспортное средство имеет «клиновидный» кузов, если проекция части поверхности задка (А), опускающейся под наклоном менее 20° по отношению к горизонтальной линии, составляет менее 25 % площади результирующего момента вращения. Кроме того, эта поверхность должна быть гладкой, сплошной и не должна иметь никаких местных переломов, превышающих 4°. Пример клиновидного кузова приведен на рисунке 1.

Рисунок 1

Таблица 1 - Значение выступающих частей (Р) по отношению к совокупной фронтальной площади выступающих частей (АР)

АР, м2

Р

АР < 0,03

0,0

0,03 £ АР < 0,06

0,30

0,06 £ АР < 0,08

0,52

0,08 £ АР < 0,11

0,75

0,11 £ АР < 0,14

0,97

0,14 £ АР < 0,17

1,19

0,17 £ АР <0,19

1,42

0,19 £ АР < 0,22

1,64

0,22 £ АР < 0,25

1,87

0,25 £ АР < 0,28

2,09

0,28 £ АР

2,31

Фронтальную площадь выступающих частей А определяют аналогично результирующему моменту вращения транспортного средства, т.е. общая поверхность ортогональных проекций зеркал заднего вида, ручек, устанавливаемых на крыше багажных полок, и других выступающих частей на плоскость, перпендикулярную продольной плоскости транспортного средства и поверхности, на которой находится транспортное средство. Под выступающей частью подразумевается любой закрепленный на транспортном средстве предмет, выступающий более чем на 2,54 см над поверхностью кузова и проецируемая площадь которого превышает 0,00093 м2; эту площадь подсчитывают с помощью метода, утвержденного технической службой, уполномоченной проводить испытания. Любые неподвижные элементы, относящиеся к стандартному оборудованию транспортного средства, включают в общую фронтальную площадь выступающих частей. Поверхность любых дополнительных приспособлений также учитывают при подсчете, если ожидается, что более 33 % этой серии транспортных средств будут продавать с этими дополнительными приспособлениями.

3.3.2.2 При регулировке тормоза стенда для легких транспортных средств значение Ар округляют до 0,1 м2.

3.3.2.3 При испытании легких транспортных средств на стенде с одним большим барабаном применяют следующую формулу:

РL=аА+Р+(8,22´10-4+0,33t)w.

Все обозначения этого уравнения определены в 3.3.2.1.

ДОПОЛНЕНИЕ 3

(к приложению 4А)

Метод измерения сопротивления поступательному движению транспортного средства во время дорожного испытания и на стенде

(Аналогично дополнению 3 к приложению 4)

ДОПОЛНЕНИЕ 4

(к приложению 4А)

Проверка сил инерции, кроме механической инерции

(Аналогично дополнению 4 к приложению 4)

ДОПОЛНЕНИЕ 5

(к приложению 4А)

Описание систем отбора проб загрязняющих газов и загрязняющих твердых частиц

Настоящее дополнение аналогично дополнению 5 к приложению 4, за исключением следующего:

Пункт 2.2.4 изменить следующим образом:

«2.2.4 Система отбора проб твердых частиц включает один пробоотборник, расположенный в канале разрежения, три фильтрующих устройства, состоящие из двух последовательно расположенных фильтров, на которые может быть направлен поток проб газов, отобранных на каком-либо этапе испытания. Поток проб газов проходит последовательно через эти три фильтрующие устройства в ходе «промежуточного этапа после запуска холодного двигателя», «устойчивого этапа после запуска холодного двигателя» и «промежуточного этапа после запуска разогретого двигателя».

Пункт 3 изменить следующим образом:

«3 Описание систем

Системы, соответствующие системам, описанным в разделе 3 дополнения 5 к приложению 4, с тем единственным отличием, что три камеры для сбора проб отработавших газов и окружающего воздуха расположены параллельно таким образом, чтобы они могли поочередно питаться потоком проб газов через быстродействующие клапаны.

Во время проверки транспортных средств, оснащенных дизельным двигателем, три группы фильтров для измерения твердых частиц располагают параллельно».

ДОПОЛНЕНИЕ 6

(к приложению 4А)

Метод тарирования приборов

(Аналогично дополнению 6 к приложению 4)

ДОПОЛНЕНИЕ 7

(к приложению 4А)

Общая поверка системы

(Аналогично дополнению 7 к приложению 4)

ДОПОЛНЕНИЕ 8

(к приложению 4А)

Расчет общей массы выбросов загрязняющих веществ

1 Массу выбросов загрязняющих газов рассчитывают по уравнению

где Мi - масса выбросов загрязняющего вещества i, г/км;

МicT - масса выбросов загрязняющего вещества i, г, в ходе первого этапа (переходный этап с запуском холодного двигателя);

МiHT - масса выброса загрязняющего вещества i, г, в ходе последнего этапа (переходный этап с запуском прогретого двигателя);

Мis - масса выброса загрязняющего вещества i, г, в ходе второго этапа (устойчивый этап);

ScT - расстояние, км, преодолеваемое в ходе первого этапа;

SHT - расстояние, км, преодолеваемое в ходе последнего этапа;

Ss - расстояние, км, преодолеваемое в ходе второго этапа.

2 Массу выбросов загрязняющих веществ рассчитывают по формуле

Mi=VmixQikHCi10-6,

где Mi - масса выброса загрязняющего вещества i, г, на этап;

Vmix - объем разреженных отработавших газов, л, на этап, приведенный к стандартным условиям (273,2 К и 101,33 кПа);

Qi - плотность загрязняющего вещества i, г/л, при нормальной температуре и давлении (273,2 К и 101,33 кПа);

kH - коэффициент поправки на влажность, используемый для расчета массы выбросов оксидов азота. Для НС и СО поправку на влажность не применяют;

Сi - концентрация загрязняющего вещества i в разреженных газах, млн, скорректированная на количество загрязняющего вещества i, содержащегося в разрежающем воздухе.

3 Специальные положения, касающиеся транспортных средств, оснащенных двигателями с воспламенением от сжатия

3.1 Измерение НС

Выбросы НС в ходе различных этапов испытания определяют в соответствии с методом, описание которого содержится в 2.1 дополнения 8 к приложению 4.

3.2 Измерение твердых частиц

Выбросы твердых частиц на различных этапах испытания определяют в соответствии с методом, описание которого содержится в 2.2 дополнения 8 к приложению 4.

Общую массу выбросов рассчитывают в соответствии с разделом 1 настоящего дополнения.

ДОПОЛНЕНИЕ 9

(к приложению 4А)

Соответствие производства

Совокупное количество транспортных средств, проходящих испытания

Решение о принятии (количество отрицательных результатов) (порог принятия)

Решение об отказе (количество отрицательных результатов) (порог отказа)

Совокупное количество транспортных средств, проходящих испытания

Решение о принятии (количество отрицательных результатов) (порог принятия)

Решение об отказе (количество отрицательных результатов) (порог отказа)

1

1)

2)

31

14

20

2

1)

2)

32

14

20

3

1)

2)

33

15

21

4

1)

2)

34

15

21

5

0

2)

35

16

22

6

0

6

36

16

22

7

1

7

37

17

23

8

2

8

38

17

23

9

2

8

39

18

24

10

3

9

40

18

24

11

3

9

41

19

25

12

4

10

42

19

26

13

4

10

43

20

26

14

5

11

44

21

27

15

5

11

45

21

27

16

6

12

46

22

28

17

6

12

47

22

28

18

7

13

48

23

29

19

7

13

49

23

29

20

8

14

50

24

30

21

8

14

51

24

30

22

9

15

52

25

31

23

9

15

53

25

31

24

10

16

54

26

32

25

11

16

55

26

32

26

11

17

56

27

33

27

12

17

57

27

33

28

12

18

58

28

33

29

13

19

59

28

33

30

13

19

60

32

33

1) На настоящем этапе принятие серии невозможно.

2) На настоящем этапе отказ в принятии серии невозможен.

Процедура отбора проб, используемая в соответствии с приложением 4А

Процедура отбора проб, применяемая для испытания в соответствии с приложением 4А

ПРИЛОЖЕНИЕ 5

(обязательное)

Испытание типа II

(контроль выброса оксида углерода в режиме холостого хода)

1 Введение

В настоящем приложении приведен метод проведения испытания типа II, определенного в 5.3.2 настоящих Правил

2 Условия проведения измерений

2.1 В качестве топлива берется эталонное топливо, характеристики которого приведены в приложении 9.

2.2 Испытание типа II

2.2.1 В случае Официального утверждения А испытание типа II проводят сразу же по завершении городского цикла (первая часть) испытаний типа I с двигателем, работающим в режиме холостого хода, без использования устройства запуска холодного двигателя. Непосредственно перед каждым измерением содержания оксида углерода производят элементарный городской цикл, указанный в 2.1 приложения 4.

2.2.2 В случае Официального утверждения В транспортных средств массой более 3,5 т окружающая температура воздуха в ходе испытания должна быть 293-303 К (20-30 °С). Двигатель разогревают до тех пор, пока температура охлаждающей жидкости и смазки и давление в системе смазки не достигнут устойчивого состояния.

2.3 При испытаниях транспортных средств с коробкой передач, имеющей ручное или полуавтоматическое управление, рычаг переключения устанавливают в нейтральное положение при включенном сцеплении.

2.4 При испытаниях транспортных средств с автоматической трансмиссией селектор устанавливают в нейтральное или «стояночное» положение.

2.5 Регулировочные элементы холостого хода

2.5.1 Определение

В настоящих Правилах под «регулировочными элементами холостого хода» подразумевают приспособления для изменения режима холостого хода двигателя, которыми легко можно манипулировать, пользуясь лишь инструментами, указанными в 2.5.1.1. В частности, регулировочными элементами не считают калибровочные устройства расхода топлива и воздуха, если их регулировка требует снятия крепежных упоров, что, как правило, невозможно без вмешательства профессионального механика.

2.5.1.1 Инструменты, которые могут быть использованы при наладке регулировочных элементов холостого хода: отвертки (обычная или крестовидная), ключи (накидной, плоский или разводной), плоскогубцы, ключи Аллена.

2.5.2 Определение точек измерения

2.5.2.1 В случае официального утверждения А сначала производят измерения при регулировке, используемой для испытаний типа I;

в случае официального утверждения В транспортных средств массой более 3,5 т сначала производят измерение при регулировке, соответствующей условиям, указанным предприятием-изготовителем.

2.5.2.2 Для каждого регулировочного элемента с непрерывным регулированием определяют достаточное число характерных положений.

2.5.2.3 Измерение содержания оксида углерода в отработавших газах производят при всех возможных положениях регулировочных элементов, однако для элементов с непрерывным регулированием следует принимать во внимание лишь положения, указанные в 2.5.2.2.

2.5.2.4 Результаты испытания типа II считают удовлетворительными, если выполнено одно из двух следующих условий:

2.5.2.4.1 ни одно из значений, полученных в соответствии с 2.5.2.3, не превышает предельного значения;

2.5.2.4.2 максимальное содержание, полученное при непрерывном регулировании одного из регулировочных элементов и фиксированном положении других элементов, не превышает предельного значения, причем это условие должно выполняться при различных комбинациях регулировочных элементов, кроме того элемента, который регулировался непрерывно.

2.5.2.5 Возможные положения регулировочных элементов ограничивают:

2.5.2.5.1 с одной стороны, большим из двух следующих значений: самой низкой скоростью вращения, которая может быть достигнута при работе двигателя на холостом ходу, и скоростью вращения, рекомендованной изготовителем, минус 100 мин-1.

2.5.2.5.2 с другой стороны, наименьшим из трех следующих значений: наиболее высокой частотой вращения, которая может быть достигнута путем регулировки элементов холостого хода; частотой вращения, рекомендованной изготовителем, плюс 250 мин-1; скоростью включения автоматического сцепления.

2.5.2.6 Кроме того, положения регулировочных элементов, не совместимые с правильной работой двигателя, не следует принимать в качестве точек измерения. В частности, если двигатель оснащен несколькими карбюраторами, все карбюраторы должны быть в одном и том же положении регулировки.

3 Отбор проб газов

3.1 Пробоотборный зонд вводят в трубу, соединяющую глушитель транспортного средства с камерой, как можно ближе к глушителю.

3.2 Концентрации СО (ССО) и СО2СО2) определяют по показаниям измерительного прибора с использованием соответствующей калибровочной кривой.

3.3 Скорректированная концентрация оксида углерода для четырехтактных двигателей составляет

3.4 Концентрация ССО (см. 3.2), измеренная по формуле, содержащейся в 3.3, не нуждается в корректировании, если общее число измерений концентрации (ССОСО2) для четырехтактных двигателей равна, по крайней мере, 15.

ПРИЛОЖЕНИЕ 6

(обязательное)

Испытание типа III

(контроль выбросов картерных газов)

1 Введение

В настоящем приложении приведена методика проведения испытания типа III, определенного в 5.3.3 настоящих Правил.

2 Общие требования

2.1 Испытание типа III проводят в соответствии с положениями, указанными в таблице 1 настоящих Правил.

2.2 Испытанию подвергают двигатели с надежным уплотнением, за исключением двигателей, конструкция которых такова, что даже при наличии незначительной утечки газов возникают недопустимые отклонения, влияющие на их работу (например двигатели с двумя горизонтально расположенными противолежащими цилиндрами).

3 Условия проведения испытаний

3.1 Холостой ход регулируют в соответствии с рекомендациями изготовителя.

3.2 Измерения проводят при следующих трех режимах работы двигателя:

Номер режима

Скорость транспортного средства, км/ч

1

На холостом ходу

2

50±2

3

50±2

Номер режима

Мощность, поглощаемая тормозом

1

Не поглощается

2

Мощность, соответствующая регулировке для испытаний типа I

3

Мощность, соответствующая режиму № 2, умноженная на коэффициент 1,7

4 Метод испытания

4.1 Для указанных в 3.2 режимов проверяют надежную работу вентиляционной системы картера.

5 Метод проверки вентиляционной системы картера

5.1 Отверстия двигателя должны оставаться в том положении, в каком они находятся.

5.2 Давление внутри картера измеряют в надлежащем месте, через отверстие щупа уровня масла при помощи манометра с наклонной трубкой.

5.3 Транспортное средство считают соответствующим требованиям, если при каждом из режимов, определенных в 3.2, давление, измеренное в картере, не превышает атмосферного давления в момент измерения.

5.4 При испытании, проводимом в соответствии с описанным выше методом, давление во впускном трубопроводе измеряют с точностью ±1 кПа.

5.5 Скорость транспортного средства, указываемую динамометром, измеряют с точностью ±2 км/ч

5.6 Давление в картере измеряют с точностью ±0,01 кПа.

5.7 Если при каком-либо из режимов, упомянутых в 3.2, измеренное в картере давление превышает атмосферное, то при наличии соответствующей просьбы изготовителя проводят дополнительное испытание, определение которого дается в разделе 6.

6 Метод дополнительного испытания

6.1 Отверстия двигателя должны оставаться в том положении, в котором они находятся.

6.2 К отверстию щупа уровня масла подсоединяют непроницаемую для картерных газов эластичную камеру вместимостью около 5 л. Перед каждым измерением эта камера должна быть порожней.

6.3 Перед каждым измерением камеру перекрывают. Ее открывают в сторону картера на 5 мин для каждого режима измерения, упомянутого в 3.2.

6.4 Транспортное средство считают выдержавшим испытание, если при каждом из упомянутых в 3.2 режимов измерений не наблюдается видимого надувания камеры.

6.5 Примечание

6.5.1 Если конструкция двигателя такова, что нет возможности провести испытание в соответствии с методами, указанными в 6.1-6.4, то измерения производят в соответствии с настоящей методикой со следующими изменениями:

6.5.2 до испытания все отверстия, за исключением отверстия, необходимого для сбора газов, перекрывают;

6.5.3 камеру располагают на соответствующем отводе, который не вызывает дополнительных потерь давления, и подсоединяют к системе рециркуляции устройства непосредственно у отверстия для отсасывания газов из картера.

a - прямая рециркуляция при слабом разрежении; b - непрямая рециркуляция при слабом разрежении; с - прямая двухканальная рециркуляция; d - вентиляция чартера с применением рециркулирующего клапана (камера должна быть присоединена к вентиляционному отверстию); i - соединение отводной трубки и камеры

ИСПЫТАНИЕ ТИПА III

ПРИЛОЖЕНИЕ 7

(обязательное)

Испытание типа IV

Определение выбросов в результате испарения, производимых транспортными средствами, оснащенными двигателем с принудительным зажиганием

1 Введение

В настоящем приложении приведено описание методики проведения испытания типа IV в соответствии с 5.3.4 настоящих Правил. Эта процедура касается метода определения утечки углеводородов в результате испарения, происходящего в системах подачи топлива на транспортных средствах, оснащенных двигателями с принудительным зажиганием.

2 Описание испытания

2.1 Испытание на выбросы в результате испарения (рисунок 7.1) включает четыре этапа:

подготовка к испытанию;

определение утечки в результате испарения в топливном баке;

ездовой городской цикл (первая часть) и внегородской цикл (вторая часть);

определение утечки в результате горячего насыщения.

2.2 Для получения общего результата испытания необходимо сложить массу утечки углеводородов в результате испарения в топливном баке и массу утечки углеводородов в результате горячего насыщения.

3 Транспортное средство и топливо

3.1 Транспортное средство

3.1.1 Транспортное средство должно быть в исправном состоянии; оно должно быть обкатанным и должно преодолеть не менее 3000 км до начала испытания. В течение этого периода система контроля за выбросами в результате испарения должна быть подсоединена и исправно функционировать, а поглотитель топливных паров должен быть приведен в обычное рабочее состояние без удаления нагрузки и без чрезмерной нагрузки.

3.2 Топливо

3.2.1 При испытании используют соответствующее эталонное топливо, указанное в приложении 9.

4 Испытательное оборудование

4.1 Динамометрический стенд

Динамометрический стенд должен соответствовать требованиям, содержащимся в приложении 4.

4.2 Камера для измерения выбросов в результате испарения

4.2.1 Камера для измерения выбросов в результате испарения должна представлять собой газонепроницаемый корпус прямоугольной формы, способный вместить испытываемое транспортное средство. Должен обеспечиваться доступ к этому транспортному средству с любой стороны. Когда камера герметично закрыта, она должна быть газонепроницаемой в соответствии с дополнением 1 к настоящему приложению. Внутренняя поверхность корпуса должна быть непроницаемой для углеводородов. По меньшей мере, одна из поверхностей должна быть изготовлена из гибкого и непроницаемого материала, чтобы компенсировать колебания давления, вызываемые незначительными изменениями температуры. Стенки должны быть сконструированы таким образом, чтобы способствовать хорошему отводу тепла. Температура стенки не должна быть ниже 293 К (20 °С) в любой точке в ходе испытания.

4.3 Система анализа

4.3.1 Анализатор углеводородов

4.3.1.1 Воздух внутри камеры контролируют с помощью анализатора углеводородов, основанного на принципе ионизации пламени (FID). Пробу газов отбирают в центре боковой стенки или крыши камеры, и всякий производный поток вновь направляют в камеру, предпочтительно в точку, расположенную непосредственно под смешивающим вентилятором.

4.3.1.2 Время срабатывания анализатора углеводородов должно быть менее 1,5 с для 90 % всей шкалы показаний. Стабильность показаний анализатора по всей шкале должна превосходить 2 % для нуля и для (80±20) % всей шкалы в течение 15 мин для всех рабочих диапазонов.

4.3.1.3 Повторяемость показаний анализатора по всей шкале, выражаемая в виде стандартного отклонения, должна превосходить 1 % для нуля и для (80±20) - % всей шкалы для всех используемых диапазонов.

Рисунок 7.1 - Определение выбросов в результате испарения

Период движения 3000 км (без стравливания паров/чрезмерной нагрузки). Произвести паровую очистку транспортного средства (при необходимости)

Примечания

1 Системы контроля за выбросами в результате испарения - подробные пояснения.

2 Выбросы отработавших газов могут быть измерены во время испытания на динамометрическом стенде, однако не могут быть использованы для утверждения. Для целей утверждения проводят отдельные испытания на выбросы отработавших газов.

4.3.1.4 Рабочие диапазоны анализатора выбирают таким образом, чтобы получить наилучшее разрешение с учетом всех процедур измерений, отбора проб и контроля утечек.

4.3.2 Система регистрации, подсоединенная к анализатору углеводородов.

4.3.2.1 Анализатор углеводородов должен быть снабжен устройством, позволяющим регистрировать выходные электрические сигналы либо на градуированной ленте, либо с помощью любой другой системы обработки данных с частотой не менее одного раза в минуту. Это регистрирующее устройство должно иметь рабочие характеристики, по крайней мере, эквивалентные регистрируемым сигналам, и обеспечивать непрерывную регистрацию результатов. Такая регистрация должна ясно показывать начало и окончание этапов подогрева топливного бака и этапов горячего насыщения, а также промежутки времени между началом и окончанием каждого испытания.

4.4 Подогрев топливного бака

4.4.1 Топливо в баке (баках) должно быть подогрето с использованием одного источника тепла с регулируемой мощностью; для этой цели можно, например, использовать электроодеяло мощностью 2000 Вт. Система подогрева должна равномерно передавать тепло стенкам бака ниже уровня топлива, не вызывая при этом перегрева топлива в каком-либо месте. Тепло не должно передаваться парам, содержащимся в баке над уровнем топлива.

4.4.2 Устройство подогрева топливного бака должно обеспечивать однородное нагревание содержащегося в баке топлива таким образом, чтобы его температура, начиная с 289 К (16 °С), повышалась на 14 К за 60 мин, при этом температурный датчик должен быть расположен так, как указано в 5.1.1 Система подогрева должна позволять регулировать температуру топлива в пределах ±1,5 К по сравнению с требуемой температурой на этапе подогрева топливного бака.

4.5 Регистрация температур

4.5.1 Температуру в камере измеряют в двух точках с помощью температурных датчиков, подсоединенных последовательно, чтобы показывать среднее значение. Точки измерения находятся внутри камеры на расстоянии приблизительно 0,1 м от ее стенок на вертикальной оси симметрии каждой боковой стенки и на высоте (0,9±0,2) м.

4.5.2 Температуру топлива регистрируют в топливном(ых) баке (баках) с помощью датчика (датчиков), установленного(ых) в топливном(ых) баке (баках) в соответствии с требованиями 5.1.1.

4.5.3 Для всех измерений выбросов в результате испарения регистрация значений температуры или ввод этих значений в систему обработки данных должны производиться с частотой не менее одного раза в минуту.

4.5.4 Система регистрации температур должна функционировать с точностью ±1,0 К и обеспечивать возможность регистрации температуры, начиная с 0,4 К.

4.5.5 Регистрация, осуществляемая системой обработки данных, должна позволять определять время с точностью ±15 с.

4.6 Вентиляторы

4.6.1 Один или несколько вентиляторов или воздуходувных устройств при открытых дверях камеры должны обеспечивать возможность снижения концентрации углеводородов внутри камеры до уровня концентрации в окружающем воздухе.

4.6.2 Камера должна быть оборудована одним или несколькими вентиляторами или воздуходувными устройствами, расход которых может составлять 0,1-0,5 м3×с-1, для обеспечения полного смешивания элементов воздушной среды в камере. Во время осуществления изменений должна быть обеспечена возможность равномерного распределения температуры и концентрации углеводородов в камере. Транспортное средство, помещенное в камеру, не должно непосредственно подвергаться воздействию потока воздуха, создаваемого вентиляторами или воздуходувными устройствами.

4.7 Газы

4.7.1 Для тарирования и функционирования оборудования должны быть в наличии следующие чистые газы:

Чистый синтетический воздух:

£ 1 млн-1 эквивалента С1, £ 1 млн-1 СО, £ 400 млн-1 СО2, £ млн-1 NО) (объемная доля кислорода 18-21 %);

Подпиточный газ для анализатора углеводородов:

(40±2 % водорода; остальная часть - гелий, с предельной концентрацией 1 млн-1 С1, (эквивалент углерода) и предельной концентрацией 400 млн-1 СО2);

Пропан (С3Н8) - минимальная чистота 99,5 %.

4.7.2 Газы, используемые для тарирования и измерения, должны состоять из смесей пропана (С3Н8) и чистого синтетического воздуха. Реальная концентрация тарировочного газа должна соответствовать номинальному значению с точностью ±2 %. Точность концентрации разреженных газов, полученных с помощью смесителя - дозатора газа, должна быть в пределах ±2 % номинального значения. Значения концентрации, указанные в дополнении 1, могут быть также получены с помощью смесителя - дозатора газа использованием в качестве разрежающего газа синтетического воздуха.

4.8 Дополнительное оборудование

4.8.1 Абсолютную влажность в зоне проведения испытания измеряют с точностью ±5 %.

4.8.2 Давление внутри зоны проведения испытания измеряют с точностью ±0,1 кПа.

5 Процедура испытания

5.1 Подготовка испытания

5.1.1 Транспортное средство подготавливают к испытанию следующим образом. Выхлопная система транспортного средства не должна допускать утечки. Перед испытанием может быть произведена паровая очистка транспортного средства. Топливный бак транспортного средства должен быть оснащен температурным датчиком, позволяющим измерять температуру в точке, находящейся в центре объема топлива, содержащегося в баке (баках), когда он (они) наполнен(ы) на 40 % своей вместимости.

Должны быть установлены дополнительные соединительные элементы и переходные устройства, позволяющие осуществить полное опорожнение топливного бака.

5.1.2 Транспортное средство помещают в зону проведения испытания, температура окружающего воздуха в которой находится в пределах 293-303 К (20-30 °С).

5.1.3 Удаляют из бака пары топлива посредством движения в течение 30 мин со скоростью 60 км/ч на динамометрическом стенде, оборудованном в соответствии с требованиями дополнения 2 к приложению 4, или пропусканием через бак потока воздуха (при комнатной температуре и влажности), расход которого идентичен расходу, получаемому в ходе движения со скоростью 60 км/ч. Затем бак загружают при проведении двух дневных испытаний на выбросы.

5.1.4 Топливный(ые) бак(и) опорожняют при помощи сливного(ых) отверстия(ий), предусмотренного(ых) для этой цели. Следует, однако, следить за тем, чтобы не допустить излишнего удаления нагрузки с устройств контроля за испарением, установленных на транспортном средстве, или чрезмерной нагрузки этих устройств. Для этой цели, как правило, достаточно снять пробку(ки) топливного(ых) бака(ов).

5.1.5 Топливный(ые) бак(и) вновь наполняют топливом, предусмотренным для испытания, при температуре 283-287 К (10-14 °С) на (40±2) % номинальной емкости бака(ов). Пробка(ки) бака(ов) не должна(ы) вставляться в данный момент.

5.1.6 В случае транспортных средств, оборудованных несколькими топливными баками, все баки должны быть одинаковым образом подогреты, как указано ниже. Температуры топливных баков должны быть одинаковыми с расхождением в пределах ±1,5 К.

5.1.7 Топливо может быть искусственным образом подогрето до температуры начала измерения, т.е. до 289 (16 °С) ±1 К.

5.1.8 Как только температура топлива достигнет 287 К (14 °С), бак(и) должен (должны) быть закрыт(ы). Когда температура топливного(ых) бака(ов) достигнет 289 (16 °С) ±1 К, начинают этап линейного увеличения температуры на (14±0,5) К за (60±2) мин. В ходе этого подогрева температура топлива должна соответствовать значению, рассчитанному в соответствии с приведенным ниже уравнением, с точностью ±1,5 К:

Tr=T0+0,2333t,

где Tr - требуемое значение температуры, К;

T0 - первоначальная температура бака, К;

t - время, истекшее с начала увеличения температуры бака, мин.

Регистрируют время, потребовавшееся для увеличения температуры, а также значение увеличения температуры.

5.1.9 По истечении не более 1 ч начинают операции по сливу топлива и наполнению топливного бака, как указано в 5.1.4-5.1.7.

5.1.10 Через 2 ч после окончания первого периода подогрева бака приступают ко второй операции подогрева топливного бака, как указано в 5.1.8, и осуществляют подогрев, регистрируя увеличение температуры и время этого увеличения.

5.1.11 Через 1 ч после окончания второго увеличения температуры бака транспортное средство устанавливают на динамометрический стенд и проводят первую часть ездового цикла и дважды последовательно - вторую часть этого цикла. В ходе этой операции измерения выбросов газов не производят.

5.1.12 Через 5 мин по завершении предварительной подготовки в соответствии с 5.1.11 закрывают капот двигателя, снимают транспортное средство с динамометрического стенда и помещают его в зону насыщения. Транспортное средство выдерживают в этой зоне не менее 10 и не более 36 ч. По истечении этого периода температура моторного масла и охлаждающей жидкости должна быть в пределах ±2 К от температуры окружающей среды.

5.2 Испытание на выбросы в результате испарения в баке

5.2.1 Операция, описанная в 5.2.4, может быть начата не ранее чем через 9 ч и не позднее чем через 35 ч после завершения ездового цикла в ходе предварительной подготовки.

5.2.2 Камеру для измерения продувают в течение нескольких минут непосредственно перед испытанием до получения устойчивой остаточной концентрации углеводородов. Установленный(ые) в камере смешивающий) вентилятор(ы) также должен (должны) быть включен(ы).

5.2.3 Сразу же после испытания анализатор углеводородов должен быть установлен на нуль и тарирован.

5.2.4 Топливный(ые) бак(и) опорожняют в соответствии с 5.1.4 и вновь наполняют испытательным топливом при температуре 283-287 К (10-14 °С) на (40±2) % номинальной вместимости бака(ов). Пробка(и) бака транспортного средства не должна(ы) вставляться в этот момент.

5.2.5 В случае транспортных средств, оборудованных несколькими топливными баками, все баки подогревают аналогичным образом, как указано ниже. Температуры баков должны быть одинаковыми с расхождением в пределах ±1,5 К.

5.2.6 Испытываемое транспортное средство помещают в испытательную камеру с отключенным двигателем, а также открытыми окнами и багажником. Подсоединяют датчики, расположенные в топливном(ых) баке(ах), а также, при необходимости, устройство для подогрева бака(ов). Незамедлительно начинают регистрировать температуру топлива и температуру воздуха в камере. Если вентилятор продувки еще функционирует, его отключают в этот момент.

5.2.7 Топливо может быть подогрето искусственным путем до температуры 289 К (16 °С) ±1 К, требующейся для начала измерения.

5.2.8 Как только температура топлива достигает 287 К (14 °С), топливный(ые) бак(и) должен (должны) быть закрыт(ы), равно как и сама камера, для обеспечения ее газонепроницаемости.

5.2.9 Как только температура топлива достигнет 289 К (16 °С) ±1 К, измеряют концентрацию углеводородов, а также барометрическое давление и температуру для получения соответствующих первоначальных значений СHCi, Рi и Тi для проведения испытания по увеличению температуры топливного бака;

приступают к этапу линейного увеличения температуры на (14±0,5) К за (60±2) мин. В ходе этого подогрева температура топлива должна соответствовать значениям, определяемым в соответствии с приведенной ниже формулой, с точностью ±1,5 К

Тr0+0,2333t,

где Тr - требуемое значение температуры, К;

Т0 - первоначальная температура бака, К;

t - время, истекшее с начала испытания по увеличению температуры бака, мин.

5.2.10 Анализатор для определения содержания углеводородов устанавливают на нулевую отметку и тарируют непосредственно перед окончанием испытания.

5.2.11 Если температура за время испытания, равное (60±2) мин, повышается на (14±0,5) К, то измеряют окончательное значение концентрации углеводородов в камере (СHC,f). Регистрируют отрезок времени, за который произошло повышение температуры, а также окончательное значение температуры и окончательное значение барометрического давления Тf и Рf при горячем насыщении.

5.2.12 Прекращают подачу тепла, и открывают дверь камеры, отключают систему подогрева и термический датчик находящегося в камере прибора. После этого можно закрыть двери и багажник транспортного средства и, остановив его двигатель, высвободить его из камеры.

5.2.13 Затем транспортное средство готовят к предстоящим циклам вождения и для проведения испытания на выброс в результате испарения после горячего насыщения. Испытание с запуском холодного двигателя проводят после испытания на образование паров в баке, но не позднее чем через 1 ч.

5.2.14 Техническая служба может прийти к заключению, что установка системы подачи топлива на транспортном средстве может привести к выбросам в атмосферу в любой точке. В этом случае следует провести по согласованию с технической службой техническое исследование, чтобы убедиться в том, что пары поглощаются абсорбером, и они должным образом удаляются во время работы транспортного средства.

5.3 Ездовой цикл

5.3.1 Определение выбросов в результате испарения заканчивается измерением выбросов углеводородов за время горячего насыщения, равное 60 мин, после четырех простых городских циклов (первая часть) и одного внегородского цикла (вторая часть). После испытания на наличие утечки в результате образования паров в баке транспортное средство устанавливают, толкая его или перемещая каким-либо иным образом, на динамометрический стенд при остановленном двигателе. Затем проводят четыре простых городских цикла (первая часть) и один внегородской цикл (вторая часть) так, как они описаны в приложении 4. В ходе этой операции можно измерить выбросы отработавших газов, однако полученные таким образом результаты не используют для получения официального утверждения в соответствии с нормами выбросов отработавших газов (испытание типа I).

5.4 Испытание на выбросы в результате испарения после горячего насыщения

5.4.1 До завершения фазы вождения измерительную камеру необходимо подвергнуть промывке в течение нескольких минут, пока не будет получена устойчивая остаточная концентрация углеводородов. Вентилятор(ы) - смеситель(и) камеры должен (должны) также быть включен(ы).

5.4.2 Анализатор углеводородов устанавливают на нулевую отметку и тарируют непосредственно перед испытанием.

5.4.3 По завершении ездового цикла капот двигателя закрывают и разъединяют все соединения между транспортным средством и испытательным стендом. Затем транспортное средство подгоняют при работающем двигателе к измерительной камере, в минимальной степени используя педаль акселератора. Двигатель включают до того, как в измерительную камеру проникает какая-либо часть транспортного средства. Время остановки двигателя фиксирует система регистрации количества выбросов в результате испарения, и начинается регистрация температуры. В этот момент открывают, если они уже не открыты, окна и багажник транспортного средства.

5.4.4 Транспортное средство с остановленным двигателем вталкивают или перемещают каким-либо иным способом в измерительную камеру.

5.4.5 Двери камеры герметично закрывают через 2 мин после остановки двигателя и не позднее чем через 7 мин после завершения ездового цикла.

5.4.6 Отсчет времени, равного (60±0,5) мин и необходимого для испытания на горячее насыщение, начинается с момента герметичного закрытия камеры. Затем измеряют концентрацию углеводородов, температуру и барометрическое давление, чтобы иметь соответствующие начальные значения СHCi, Рi и Тi в целях испытания на горячее насыщение. Эти значения используют в расчетах выбросов в результате испарения (раздел 6). В ходе испытания на горячее насыщение температура окружающей среды в камере не должна опускаться ниже 296 К (23 °С), подниматься выше 304 К (31 °С) в течение 60 мин.

5.4.7 Анализатор для определения содержания углеводородов устанавливают на нулевую отметку и тарируют непосредственно перед истечением времени испытания, составляющего (60±0,5) мин.

5.4.8 По завершении времени испытания, равного (60±0,5) мин, измеряют концентрацию углеводородов в камере, а также температуру и барометрическое давление. Таким образом получают соответствующие окончательные значения СHC,f, Рf и Тf для испытания на горячее насыщение, которые затем используют в расчетах, указанных в разделе 6. На этом процедуру испытания на определение выбросов в результате испарения завершают.

6 Расчеты

6.1 Испытания выбросов в результате испарения, описанные в разделе 5, позволяют рассчитать выбросы углеводородов в результате испарения на стадиях образования паров в баке и горячего насыщения. Для каждой из этих стадий рассчитывают потери в результате испарения по начальным и окончательным значениям концентрации углеводородов, температуры и давления, а также по объему камеры.

Применяют следующую формулу:

где МHC - масса углеводородов, выделенных за время испытания, г;

CHC - измеренное значение концентрации углеводородов в камере (промилле (объем) в эквиваленте Сl);

V - чистый объем камеры за вычетом объема транспортного средства с открытыми окнами и багажником. Если объем транспортного средства не определен, вычитают объем, равный 1,42 м3;

Т - температура окружающей среды в камере, К;

Р - абсолютное давление в испытательной камере, КПа;

Н/С - соотношение водород/углерод;

k=1,2(12+H/C),

при том понимании, что:

i - показатель начального значения;

f - показатель окончательного значения;

Н/С - принимают равным 2,33 для потерь в результате образования паров в баке;

Н/С - принимают равным 2,20 для потерь в результате горячего насыщения.

6.2 Общий результат испытания

Общее значение выбросов углеводородов (по массе) равно

Mtotal=MTH+MHS,

где Mtotal - общие выбросы (по массе) из транспортного средства, г;

MTH - выбросы углеводородов (по массе) на этапе повышения температуры в баке, г;

MHS - выбросы углеводородов (по массе) на этапе горячего насыщения.

7 Проверка соответствия производства

7.1 Что касается контроля, производимого в конце производственного процесса, то обладатель официального утверждения может продемонстрировать соответствие производства путем отбора образцов транспортных средств, которые должны соответствовать следующим требованиям.

7.2 Испытания на герметичность

7.2.1 Сапуны системы контроля выбросов должны быть изолированы.

7.2.2 Давление в системе подачи топлива следует поддерживать на уровне (3,630±0,1) кПа.

7.2.3 Давление должно быть стабилизировано до того, как система подачи топлива изолируется от источника давления.

7.2.4 После изоляции системы подачи топлива давление не должно опускаться ниже 0,490 кПа за 5 мин.

7.3 Испытания сапунов

7.3.1 Сапуны системы контроля выбросов должны быть изолированы.

7.3.2 Давление в системе подачи топлива должно поддерживаться на уровне (3,630±0,1) кПа.

7.3.3 Давление должно быть стабилизировано до того, как систему подачи топлива изолируют от источника давления.

7.3.4 Выводы сапунов на системах контроля выбросов должны восстанавливаться в заводских условиях.

7.3.5 Давление в системе подачи топлива должно падать ниже 0,980 кПа за время, составляющее более 30 с, но не превышающее 2 мин.

7.4 Испытания системы выпуска

7.4.1 На входе системы выпуска устанавливают механизм, позволяющий делать измерения расхода воздуха, равного 1 л/мин, а к входному отверстию системы выпуска подсоединяют через клапан прибор для измерения давления с размерами, оказывающими незначительное воздействие на систему выпуска, или в качестве альтернативы.

7.4.2 Изготовитель может использовать расходомер по своему выбору, если этот прибор допускается компетентным органом.

7.4.3 Транспортное средство должно функционировать таким образом, чтобы мог быть обнаружен любой конструкционный дефект системы выпуска, способный затруднить выпуск, и чтобы могли быть зафиксированы сопутствующие этому обстоятельства.

7.4.4 Во время работы двигателя, функционирующего в пределах, указанных в 7.4.3, расход воздуха определяют следующим образом:

7.4.4.1 после подключения аппаратуры, указанной в 7.4.1, должно наблюдаться падение атмосферного давления до уровня, указывающего, что в систему контроля выбросов в результате испарения за время, составляющее менее 1 мин, проник 1 л воздуха или:

7.4.4.2 если используют другую аппаратуру для измерения расхода воздуха, необходимо предусмотреть возможность регистрации расхода, равного 1 л/мин.

7.5 Компетентный орган, выдавший официальное утверждение, может в любой момент проверить методы проверки соответствия производства, применяемые к каждой единице продукции.

7.5.1 Инспектор должен отбирать достаточное число образцов.

7.5.2 Инспектор может испытывать транспортные средства, применяя требования 8.4 или 8.5 настоящих Правил.

7.5.3 Если в случае применения требований 8.5 настоящих Правил результаты испытаний транспортных средств превышают предельные значения, указанные в 5.3.4.2, то изготовитель может просить о применении процедуры, изложенной в 8.4 настоящих Правил.

7.5.3.1 Изготовитель не должен получать разрешение на регулировку, ремонт или модификацию какого-либо из транспортных средств до тех пор, пока не будут выполнены требования 8.4 настоящих Правил и пока информация об этих работах не передана на сборочный конвейер и не зафиксирована в процедурах проверки.

7.5.3.2 Изготовитель может просить о проведении одного дополнительного испытания транспортного средства, у которого, как предполагается, были изменены характеристики, касающиеся выбросов в результате испарения, после того или иного технического вмешательства, которое указано в 7.5.3.1.

7.6 Если требования 7.5 не выполнены, то компетентный орган должен удостовериться, что приняты все меры к тому, чтобы как можно быстрее было восстановлено соответствие производства.

ДОПОЛНЕНИЕ 1

(к приложению 7)

Тарирование приборов, используемых для определения выбросов в результате испарения

1 Частотность и способы тарирования

1.1 Вся аппаратура должна быть тарирована перед ее использованием и проходить затем тарирование так часто, насколько это необходимо, и обязательно в течение месяца, который предшествует проведению испытания на официальное утверждение по типу конструкции. Используемые методы тарирования изложены в настоящем дополнении.

2 Тарирование камеры

2.1 Первоначальное определение внутреннего объема камеры

2.1.1 Перед первым использованием камеры необходимо определить ее внутренний объем, действуя следующим образом. Тщательно измеряют внутренние размеры камеры с учетом каждой неровности, например ребра жесткости. По сделанным измерениям определяют внутренний объем камеры.

2.1.2 Значение чистого внутреннего объема получают путем вычета 1,42 м3 из внутреннего объема камеры. Вместо 1,42 м3 можно также вычесть объем испытуемого транспортного средства с открытыми окнами и багажником.

2.1.3 Затем проверяют герметичность камеры использованием процедуры, приведенной в 2.3. Если найденная масса пропана не соответствует массе нагнетаемого газа с точностью ± 2 %, необходимо принять соответствующие меры для устранения дефекта.

2.2 Определение остаточных выбросов в камере

Эта операция позволяет установить, не содержится ли в камере какое-либо вещество, способное выделять значительное количество углеводородов. Такую проверку производят перед вводом камеры в эксплуатацию, а также после любой произведенной в камере работы, следствием которой могут быть остаточные выделения, но не реже одного раза в год.

2.2.1 Тарировать анализатор (если необходимо), установить его на нуль и заново тарировать.

2.2.2 Продуть камеру, пока не будет получена стабильная величина для измерения концентрации углеводородов. Включить вентилятор(ы) - смеситель(и), если это еще не сделано.

2.2.3 Герметично закрыть камеру и измерить остаточную концентрацию углеводородов, а также температуру и барометрическое давление. Таким образом получают начальные значения СHCi, Pi и Тi, которые будут использованы для расчета остаточных параметров в камере.

2.2.4 Затем в камере на 4 ч включают вентилятор(ы) - смеситель(и).

2.2.5 По истечении 4 ч в камере с помощью использовавшегося ранее анализатора измеряют концентрацию углеводородов. Измеряют также температуру и барометрическое давление. Таким образом получают окончательные значения СHCf, Pf и Тf.

2.2.6 Затем рассчитывают изменение массы углеводородов в камере за время испытания, как указано в 2.4. Остаточное выделение углеводородов в камере не должно превышать 0,4 г.

2.3 Тарирование камеры и испытание на задержку углеводородов

Тест на тарирование и задержку углеводородов в камере позволяет проверить рассчитанный объем (2.1) и помогает также изменить степень возможной утечки.

2.3.1 Продуть камеру до получения устойчивой концентрации углеводородов. Включить вентилятор(ы)-смеситель(и), если это еще не сделано. Установить анализатор на нуль, тарировать его, если необходимо.

2.3.2 Герметично закрыть камеру и измерить остаточную концентрацию, температуру и барометрическое давление. Таким образом получают начальные значения СHCi, Pi и Тi, которые необходимо использовать для тарирования камеры.

2.3.3 В камеру подается около 4 г пропана. Эта масса пропана должна измеряться с точностью ±0,5 % измеренной величины.

2.3.4 Через 5 мин, которые необходимы для перемешивания газовой среды в камере, измерить концентрацию углеводородов, температуру и барометрическое давление. Таким образом получают окончательные значения СHCf, Pf и Тf для тарирования камеры.

2.3.5 На основе измеренных величин, указанных в 2.3.2 и 2.3.4, и формулы, содержащейся в 2.4, рассчитать массу содержащегося в камере пропана. Это значение должно соответствовать измеренной массе пропана в соответствии с 2.3.3 с точностью ±2 %.

2.3.6 Не менее чем через 4 ч, которые необходимы для перемешивания газовой среды в камере, измерить и зарегистрировать окончательные значения концентрации углеводородов, температуры и барометрического давления.

2.3.7 С помощью формулы, указанной в 2.4, рассчитать массу углеводородов, основываясь на значениях, которые были получены в соответствии с требованиями 2.3.6 и 2.3.2. Эта масса не должна отличаться более чем на 4 % от массы углеводородов, полученной в соответствии с требованиями 2.3.5.

2.4 Расчеты

Расчет чистой величины изменения массы углеводородов, содержащихся в камере, позволяет определить остаточное процентное содержание углеводородов в камере и степень их выделения. Начальные и окончательные значения концентрации углеводородов, температуры и барометрического давления используют в следующей формуле для расчета изменения массы:

где МHC - масса углеводородов, г;

СHC - концентрация углеводородов в камере, в эквиваленте углерода (один промилле углерода = три промилле пропана);

V - объем камеры, м3;

Т - температура окружающей среды в камере, К;

Р - барометрическое давление, кПа;

k=17,6,

при том понимании, что:

i - показатель начального значения;

f - показатель окончательного значения.

3 Проверка анализатора углеводородов типа FID (пламенно-ионизационный детектор)

3.1 Настройка анализатора на оптимальную чувствительность

Анализатор FID настраивают в соответствии с инструкциями изготовителя. В целях оптимизации чувствительности в наиболее часто используемом диапазоне измерений используют смесь пропан-воздух.

3.2 Тарирование анализатора углеводородов

Анализатор тарируют с помощью смеси пропан-воздух и очищенного синтетического воздуха. См. 4.5.2 приложения 4 (тарировочные газы).

Тарировочную кривую определяют в соответствии с требованиями 4.1 и 4.5 настоящего дополнения.

3.3 Проверка кислородной интерференции и рекомендуемые пределы

Коэффициент чувствительности (Rf) для конкретного вида углеводородов представляет собой отношение между концентрацией, которую показывает анализатор типа FID и которая выражается в углеродном эквиваленте (С1), и концентрацией тарировочного газа в баллоне, выраженной в углеродном эквиваленте (С1).

Концентрация тарировочного газа должна быть достаточной для получения чувствительности, соответствующей приблизительно 80 % полной шкалы для обычно используемых рабочих диапазонов. Объемная концентрация должна быть известна с точностью ±2 %.

Кроме того, сосуд с газом должен в течение 24 ч выдерживаться при температуре 293-303 К (20-30 °С).

Коэффициенты чувствительности определяют во время включения анализатора и затем во время основных операций по обслуживанию.

В качестве тарировочного газа следует использовать смесь пропана с очищенным воздухом, которая, как считается, дает коэффициент чувствительности, равный 1,00.

Испытательный газ, используемый для кислородной интерференции, и рекомендуемые пределы коэффициента чувствительности являются следующими:

Пропан и азот 0,95£Rf£1,05.

4 Тарирование анализатора углеводородов

Каждый обычно используемый рабочий диапазон тарируют в следующем порядке.

4.1 Тарировочную кривую анализатора строят с помощью не менее пяти тарировочных точек, расположенных как можно более равномерно. Номинальная концентрация тарировочного газа наибольшей концентрации должна быть не менее 80 % полной шкалы.

4.2 Тарировочную кривую рассчитывают с помощью метода наименьших квадратов. Если полученная в результате полиномиальная степень больше 3, число тарировочных точек должно быть, по крайней мере, равным этой полиномиальной степени плюс 2.

4.3 Для каждого тарировочного газа тарировочная кривая не должна отклоняться от номинального значения более чем на 2 %.

4.4 Используя коэффициенты полинома, указанного в 4.2, выстраивают таблицу истинных значений концентрации по отношению к указанным значениям, с интервалами, равными не более 1 % полной шкалы. Такая таблица должна выстраиваться для каждой шкалы анализатора. В этой таблице должны быть также другие данные, в частности:

дата тарирования;

значения, показанные потенциометром, установленным на нуль и тарированным (когда такие значения имеются);

номинальная шкала;

контрольные данные для каждого используемого тарировочного газа;

истинное значение и показанное значение для каждого используемого тарировочного газа с разницей в процентах;

топливо анализатора FID и его тип;

давление воздуха в анализаторе FID;

тарировочное давление в анализаторе FID.

4.5 Можно применять другие методы (например, использование компьютера, переключение диапазонов с электронной регулировкой и т.д.), если технической службе будет продемонстрировано, что эти методы обеспечивают эквивалентную точность.

ПРИЛОЖЕНИЕ 8

(обязательное)

Описание ресурсного испытания, позволяющего проверить надежность устройств для предотвращения загрязнения

1 Введение

В настоящем приложении описано испытание, позволяющее проверить надежность устройств для предотвращения загрязнения, установленных на транспортных средствах, оснащенных двигателями с принудительным зажиганием и двигателями с воспламенением от сжатия, в ходе ресурсного испытания, рассчитанного на 80000 км пробега.

2 Испытываемое транспортное средство

2.1 Транспортное средство должно быть в исправном состоянии, а его двигатель и устройство для предотвращения загрязнения - новыми. Транспортное средство может быть тем же, которое использовалось для испытания типа I; данное испытание проводят не менее чем через 3000 км пробега.

Рисунок 8.1 - Программа вождения

3 Топливо

Ресурсное испытание проводят с использованием неэтилированного бензина или дизельного топлива, имеющихся в продаже.

4 Техническое обслуживание и регулировка транспортных средств

Техническое обслуживание и регулировку испытываемого транспортного средства, а также использование его органов управления проводят в соответствии с указаниями изготовителя.

5 Работа транспортного средства на треке, дороге или динамометрическом стенде

5.1 Рабочий цикл

Во время работы на треке, дороге или на динамометрическом стенде пробег должен осуществляться по схеме, приведенной на рисунке 8.1.

Программа ресурсного испытания состоит из 11 циклов по 6 км каждый:

в течение первых девяти циклов транспортное средство останавливают четыре раза в середине цикла, каждый раз оставляя двигатель работать на холостом ходу в течение 15 с;

обычные ускорение и замедление;

пять замедлений в середине каждого цикла с переходом от скорости цикла к скорости, равной 32 км/ч, и новое постепенное ускорение до скорости цикла;

скорость десятого цикла постоянна и составляет 89 км/ч;

одиннадцатый цикл начинают из положения «Стоп» с максимального ускорения до скорости 113 км/ч. На полпути производят обычное торможение до полной остановки, после чего в течение 15 с двигатель работает вхолостую, а затем делают второе максимальное ускорение.

Затем эту программу повторяют с самого начала. Максимальная скорость каждого цикла указана в таблице 8.1.

5.1.1 По просьбе изготовителя в качестве альтернативного варианта может быть использовано дорожное испытание. Такие альтернативные программы должны быть предварительно утверждены технической службой и в них должны быть использованы те же средние скорости, распределения скорости, число остановок на один километр, а также число ускорений на один километр, что и в программе вождения на треке или на динамометрическом стенде, в соответствии с указаниями 5.1 и таблицы 8.1.

5.1.2 Ресурсное испытание или измененное по выбору изготовителя ресурсное испытание проводят до тех пор, пока пробег транспортного средства составит не менее 80000 км.

5.2 Испытательное оборудование

5.2.1 Динамометрический стенд

5.2.1.1 Если ресурсное испытание проводят на динамометрическом стенде, то это должно позволить осуществить цикл, описанный в 5.1. Стенд должен, в частности, быть оснащен системами, имитирующими силу инерции и дорожную нагрузку.

5.2.1.2 Тормоза должны быть отрегулированы таким образом, чтобы поглощать мощность, передаваемую на ведущие колеса при постоянной скорости 80 км/ч. Используемые способы определения этой мощности и регулировки тормозов идентичны тем, которые описаны в дополнении 3 к приложению 4.

5.2.1.3 Система охлаждения транспортного средства должно быть такой, чтобы позволять функционировать всему комплексу при температурах, аналогичных температурам, достигаемым при движении по дороге (масло, вода, выхлопная система и т.д.).

5.2.1.4 Если есть необходимость использования некоторых видов регулировки и характеристик динамометрического стенда, то они должны быть идентичны тем, которые описаны в приложении к настоящим Правилам (например, имитаторы инерции могут быть механическими или электронными).

5.2.1.5 Во время испытания разрешается, если необходимо, перемещать транспортное средство на другой динамометрический стенд с целью проведения испытаний по измерению выбросов.

5.2.2 Испытание на треке или дороге

Если испытание проводят на треке или до-юге, то контрольная масса транспортного средства должна, по меньшей мере, быть равной массе, используемой при испытаниях на динамометрическом стенде.

Таблица 8.1 - Максимальная скорость циклов

Цикл

Скорость цикла, км/ч

1

64

2

48

3

64

4

64

5

56

6

48

7

56

8

72

9

56

10

89

11

113

6 Измерение выбросов загрязняющих веществ

В начале испытания (0 км) и каждые 10000 км (±400 км) или чаще, с регулярными интервалами до 80000 км, измеряют выбросы отработавших газов в соответствии с испытанием типа I по циклу, описанному в 5.3.1 настоящих Правил. Должны соблюдаться предельные значения, указанные в 5.3.1.4.2.1 или 5.3.1.4.3.1 настоящих Правил. Однако выбросы загрязняющих веществ можно также измерять в соответствии с требованиями, содержащимися в 13.1 настоящих Правил.

Вычерчивают диаграмму всех результатов выбросов отработавших газов в зависимости от пробега, округленного до ближайшего километра, вместе с соответствующей прямой регрессии, рассчитанной с помощью метода наименьших квадратов. При расчете прямой регрессии испытания при 0 км не учитывают.

Данные учитывают для расчета поправочного коэффициента лишь в том случае, если точки интерполяции, 6400 км и 80000 км, на этой прямой находятся в пределах, указанных выше.

Данные остаются действительными, если прямая регрессии пересекает предельное значение с отрицательной крутизной (точка интерполяции 6400 км выше точки интерполяции 80000 км), причем точная точка 80000 км остается ниже предельных величин.

Множительный поправочный коэффициент для выбросов отработавших газов (DEF) рассчитывают (по каждому загрязняющему веществу) следующим образом:

где Mi1 - масса выброса загрязняющего вещества i, г/км, интерполяция 6400 км.

Mi2 - масса выброса загрязняющего вещества i, г/км, интерполяция 80000 км.

Интерполированные значения следует брать с точностью до четырех десятичных знаков, а затем делить одни на другие для получения поправочного коэффициента.

Результат округляют до трех десятичных знаков. Если поправочный коэффициент меньше единицы, его принимают равным единице.

ПРИЛОЖЕНИЕ 9

(обязательное)

Спецификации эталонного топлива

1 Технические характеристики эталонного топлива, применяемого для испытания транспортных средств, оснащенных двигателем с принудительным зажиганием

Эталонное топливо: СЕС RF-01-A-84

Тип: бензин высшего качества, этилированный 2), 5)

Характеристики

Пределы и единицы4)

Метод ASTM*

Метод ИСО

Теоретическое октановое число, не менее

98,0

D 2699

5164-77

Плотность при 15 °С, не менее

0,741 кг/л

D 1298

3675-76

не более

0,755 кг/л

 

 

Давление пара по Рейду:

 

 

 

не менее

0,56 бар

D 323

3007-86

не более

0,64 бар

 

 

Перегонка1):

 

D 86

3405-75

- начальная точка кипения, не менее

24 °С

 

 

не более

40 °С

 

 

- точка 10 %-ного объема, не менее

42 °С

 

 

не более

58 °С

 

 

- точка 50 %-ного объема, не менее

90 °С

 

 

не более

110 °С

 

 

- точка 90 %-ного объема, не менее

150 °С

 

 

не более

170 °С

 

 

- конечная точка кипения, не менее

185 °С

 

 

не более

205 °С

 

 

- осадок, не более

2 % объема

 

 

Анализ углеводородов:

 

D 1319

DIS 3837

- олефины, не более

20 % объема

 

 

- ароматические масла, не более

45 % объема

 

 

- предельные углеводороды

Остальные

 

 

Стойкость против окисления3), не менее

480 мин

D 525

DP 7536

Растворенные смолы, не более

4 мг/100 мл

D 381

6246-81

Содержание серы, не более

0,04 % массы

D 1266, D 2622 или D 2785

2192-84

Содержание свинца, не менее

0,10 г/л

D 3341

3830-81

Тип противонагарной присадки, не более

0,40 г/л

 

 

Тип алкила свинца

Смесь для двигателей не указана

 

 

Соотношение углерод/водород

Без изменений

 

 

* Акроним принадлежит American Society for Testing Materials, 1916 Race Street, Philadelphia, Pennsylvania 19105, United States of America.

1) Указанные значения соответствуют общим количествам: процент дистиллированного количества и процент потерянного количества.

2) Это топливо должно состоять лишь из основных продуктов перегонки, обычно производимых на европейских нефтеперерабатывающих заводах.

3) Это топливо может содержать антиокислители и пассиваторы, обычно используемые для стабилизации отходов нефтеперерабатывающих заводов, однако детергенты, диспергаторы или растворители присутствовать в нем не должны.

4) Значения, указанные в технических характеристиках, являются «истинными значениями». При определении предельных значений были использованы условия стандарта ASTM D 3244 «Определение основы для обсуждения качества нефтепродуктов», а при установлении минимальной величины принималась во внимание минимальная разность 2R по отношению к нулевому значению; при установлении максимальной и минимальной величин минимальная разность этих значений составляет 4R (R-воспроизводимость).

Несмотря на эту систему измерения, которая необходима по статистическим причинам, производитель топлива должен тем не менее стремиться к нулевому показателю в случае, если указанный максимальный показатель равен 2R, и к среднему показателю в случае, если существуют максимальные и минимальные пределы.

В случае, если необходимо проверить, соблюдены ли технические характеристики, следует применять условия стандарта ASTM D 3244.

5) Если изготовитель рекомендует применение смеси масла с бензином, например в случае двухтактного двигателя, то к этому эталонному топливу следует добавить рекомендованный тип масла в концентрации, указанной изготовителем. Если не приводится никакой рекомендации в отношении двухтактного двигателя, то следует использовать двухпроцентную концентрацию эталонного масла СЕС RL 58, экземпляр технических характеристик которого прилагается.

2 Технические характеристики эталонного топлива, применяемого для испытания транспортных средств, оснащенных двигателем с принудительным зажиганием

Эталонное топливо: СЕС RF-08-A-85

Тип: бензин высшего качества, неэтилированный (кислородные добавки запрещены)

Наименование параметра

Пределы и единицы2)

Метод ИСО

Метод ASTM3)

минимум

максимум

Теоретическое октановое число

95,0

 

ИСО 5164-77*

D 1699

Моторное октановое число

85,0

 

ИСО 5163-77

D 2700

Плотность при 15 °С

0,748

0,762

ИСО 3675-76

D 1298

Давление пара по Рейду

0,56 бара

0,64 бара

ИСО 3675-86

D 323

Перегонка4):

 

 

ИСО 3405-75**

D 86

- начальная точка кипения

24 °С

40 °С

 

D 86

- точка 10 %-ного объема

42 °С

58 °С

 

D 86

- точка 50 %-ного объема

90 °С

110 °С

 

D 86

- точка 90 %-ного объема

155 °С

180 °С

 

D 86

- конечная точка кипения

190 °С

215 °С

 

D 86

Осадок

 

2%

 

D 1319

Состав углеводородов:

 

 

 

 

- олефины

 

20 % объема

DIS 3837

 

- ароматические масла

(включая 5 % максимального объема бензола)1)

45 % объема

 

D 3606/D 2267

- предельные углеводороды

 

Остальное

 

D 1319

Соотношение углерод/водород

Соотношение

соотношение

 

 

Стойкость против окисления5)

480 мин

 

 

 

Растворенные смолы

 

4 мг/100 мл

DO 7536

D 525

Содержание серы

 

0,04 % массы

ИСО 6246-81

D 381

Окисление меди при 50 °С

 

1

ИСО 2192-84

D 1266 / D 2611 / D 2785

Содержание свинца

 

0,005 г/л

ИСО 2160-85

D 130

Содержание фосфора

 

0,0013 г/л

ИСО 3830-81

D 3237

D 3231

*DIS 5164 пересматривается, эквивалент ASTM 2699-1986.

**Пересматривается.

1) Для производства этого топлива следует использовать лишь основные продукты перегонки, обычно производимые на европейских нефтеперерабатывающих заводах.

2) Топливо может содержать присадки в концентрациях, обычно предлагаемых на рынках топлива.

Значения, указанные в технических характеристиках, являются «истинными значениями». При определении предельных значений были использованы условия стандарта ASTM D 3244 «Определение основы для обсуждения качества нефтепродуктов», а при установлении минимальной величины принималась во внимание минимальная разность 2R по отношению к нулевому значению; при установлении максимального и минимального значений минимальная разность их составляет 4R (R=воспроизводимость).

Несмотря на эту систему измерения, которая необходима по статистическим причинам, производитель топлива должен тем не менее стремиться к нулевому показателю в случае, если указанный максимальный показатель равен 2R, и к среднему показателю в случае, если существуют максимальные и минимальные пределы.

В случае, если необходимо проверить, соблюдены ли технические характеристики, следует применять условия стандарта ASTM D 3244.

3) Эквивалентные методы ИСО будут применяться для всех указанных характеристик после их публикации.

4) Указанные значения соответствуют приведенному в парообразное состояние количеству (процент восстановленного количества и процент потерянного количества).

5) Топливо может содержать антиокислители и дезактиваторы металлов, обычно используемые для стабилизации циркулирующих потоков бензина на нефтеперерабатывающих заводах, но не должно содержать никаких детергентов, диспергаторов или жидких смазок.

3 Технические характеристики эталонного топлива, используемого для испытания транспортных средств, оснащенных двигателем с воспламенением от сжатия

Эталонное топливо СЕС RF-03-A-841)

Тип: дизельное топливо

Наименование параметра

Пределы и единицы2)

Метод ИСО

Метод ASTM3)

Цетановое число4), не менее

53

DIS 5165

D 613

не более

59

ИСО 3675-76

 

Плотность при 15 °С кг/л, не менее

0,45

 

D 1298

не более

0,835

 

 

Перегонка 5):

 

ИСО 3405-75"

 

- точка 50 %-ного объема, не менее

245 °С

 

D 86

- точка 90 %-ного объема, не менее

320 °С

 

 

не более

340 °С

 

 

- конечная точка кипения, не более

370 °С

 

 

Точка воспламенения, не менее

55 °С

ИСО 2719-73

D 93

Точка закупорки холодного фильтра, не более

-5 °С

 

EN 116 (CEN)

Вязкость при 40 °С, не менее

2,5 мм2

 

 

не более

3,5 мм2

 

 

Содержание серы6), не менее

(указать)

ИСО 3104-76

D 1266/D 2622

не более

0,3 % массы

 

или D 2785

Окисление медной пластины, не более

1

ИСО 2192-84

D 130

Углеродистый остаток по Конрадсону (10 %), не более

0,2 % массы

ИСО 2160-85

D 189

Содержание золы, не более

0,01 % массы

ИСО 6615-85

D 482

Содержание воды, не более

0,05 % массы

ИСО 62-82

D 993/D 1744

Число нейтрализации (сильная кислота), не более

0,20 мг КОН/г

ИСО 3733-76

 

Стойкость против окисления7), не более

2,5 мг/100 мл

ИСО 6618-87

D 2274

Присадки8)

-

 

 

* DIS 5165 пересматривается, эквивалентен ASTM D 613.

** Пересматривается.

1)Если необходимо рассчитать тепловой КПД двигателя или транспортного средства, теплоту сгорания дизельного топлива можно получить по следующей формуле:

Удельное количество теплоты (теплота сгорания) (чистое) в МДж/кг=(46,423-8,792d2+3,170d)[1-(х+у+s)] +9,420s-2,499х,

где d - плотность, измеренная при 288 К (15 °С);

х - содержание воды, по массе (процентное содержание, деленное на 100);

у - содержание шлаков, по массе (процентное содержание, деленное на 100);

s - содержание серы, по массе (процентное содержание, деленное на 100).

2) Значения, указанные в технических характеристиках, являются «истинными значениями». При определении предельных значений были использованы условия стандарта ASTM D 3244 «Определение основы для обсуждения качества нефтепродуктов», а при установлении минимальной величины принималась во внимание минимальная разность 2R по отношению к нулевому значению; при установлении максимального и минимального значений минимальная разность этих значений составляет 4R (R = воспроизводимость).

Несмотря на эту систему измерения, которая необходима по статистическим причинам, производитель топлива должен тем не менее стремиться к нулевому показателю в случае, если указанный максимальный показатель равен 2R, и к среднему показателю в случае, если существуют максимальные и минимальные пределы.

В случае, если необходимо проверить, соблюдены ли технические характеристики, следует применять условия стандарта ASTM D 3244.

3) Эквивалентные методы ИСО будут применяться для всех указанных характеристик после их публикации.

4) Интервал, указанный для цетана, не согласуется с минимумом, равным 4R. Однако в случае спора между поставщиком и пользователем могут применяться условия стандарта ASTM D 3244, если только будет сделано достаточно число измерений для получения результата необходимой точности, так как такая процедура более надежна, чем однократное измерение.

5) Указанные значения соответствуют общему приведенному в парообразное состояние количеству (процент восстановленного количества и процент потерянного количества).

6) По просьбе изготовителя дизельное топливо с максимальным весовым содержанием серы 0,05 % может использоваться как типичное по качеству топливо, которое будет предлагаться на рынке топлива в будущем, для испытаний, касающихся как официального утверждения, так и соответствия производства.

7) Хотя стойкость против окисления контролируется, вполне возможно, что срок годности продукта ограничен. Рекомендуется консультироваться с поставщиком в вопросах, касающихся условий хранения и срока годности.

8) Это дизельное топливо можно производить из непосредственных дистиллятов или крекинг-дистиллятов; разрешается обессеривание. Топливо не должно содержать ни металлических присадок, ни средств, повышающих цетановое число.

4 Технические характеристики эталонных видов топлива (СНГ)

Наименование показателя

Топливо А

Топливо В

Метод испытания

Состав, % (по объему):

 

 

ИСО 7941

С3

30±2

85±2

 

С4

Равное количество

Равное количество

 

3, >С4, %, не более

2

2

 

олефины

9±3

12±3

 

Испаряющийся остаток, млн-1, не более

50

50

NFM 41-015

Содержание воды

Отсутствует

Отсутствует

Визуальный осмотр

Содержание серы, млн-1 (по массе*), не более

50

50

ЕН 24260

Сероводород

Отсутствует

Отсутствует

 

Коррозия медного покрытия номинальная

Класс 1

Класс 1

625 1**

Запах

Характерный

Характерный

 

MON, не менее

89

89

Е1Н 589 Annex В

* Величина, которая должна определяться в стандартных условиях (293,2 К (20 °С) и 101,3 кПа).

** Этот метод может не дать точного определения наличия коррозийных материалов, если образец содержит ингибиторы коррозии или другие химические вещества, которые уменьшают коррозийность образца до медной пластины. Поэтому добавление таких составляющих только с целью соблюдения метода испытания запрещается.

5 Технические характеристики эталонных видов топлива (природный газ)

Наименование показателя

G20

G25

Состав:

 

 

 

СН4

% по объему

100

86

N2

% по объему

0

14

Индекс Воббе*

МДж/м3

(53,6±2) %

(43,9±2) %

* На основе высшей теплотворной способности и в расчете на 0 °С.

Газы, входящие в состав смеси, должны иметь, по крайней мере следующую чистоту:

N2: 99 %

СН4: 95 % с общим содержанием водорода, оксида углерода и кислорода менее 1 % и общим содержанием азота и диоксида углерода менее 2 %.

Поправочный коэффициент Вобба представляет собой отношение теплотворности газа на единицу объема и квадратного корня его относительной плотности в одних и тех же эталонных условиях:

Индекс Вобба

где Нgas=теплотворность топлива, МДж/м3 при 0 °С;

rair=плотность воздуха при 0 °С;

rgas=плотность топлива при 0 °С.

Поправочный коэффициент Воббе имеет максимальное или минимальное значение в зависимости от того, используется ли высшая теплотворная способность или низшая теплотворная способность.

ПРИЛОЖЕНИЕ 10

(обязательное)

Внедорожные транспортные средства категорий М1 и N1: определения и процедуры*

* По определению, содержащемуся в приложении 7 к Сводной резолюции о конструкции транспортных средств (R.E.3) (документ TRANS/ SC.l/WP.29/78/Amend.3).

1 Категории M1G и N1G - внедорожные транспортные средства

1.1 Определение

Внедорожными транспортными средствами категорий М1 и N1 являются транспортные средства, отвечающие техническим характеристикам, содержащимся в этом пункте, проверяемым в условиях, определенных в 1.2 и 1.3.

1.1.1 Любое транспортное средство категории N1, максимальная масса которого не превышает 2 т, а также любое транспортное средство категории М1, если оно оснащено:

по меньшей мере, одним передним и одним задним мостами, которые предназначены для эксплуатации с одновременным приводом на них от двигателя, включая транспортные средства, на которых может быть отключен один мост;

по меньшей мере, устройством блокирования дифференциала или механизмом, обеспечивающим аналогичный результат; и

если оно может преодолевать подъем 30 %, рассчитанный для отдельного транспортного средства.

Кроме того, оно должно удовлетворять, по меньшей мере, пяти из шести следующих требований:

иметь минимальный угол переднего свеса 25°;

иметь минимальный угол заднего свеса 20°;

иметь минимальный продольный клиренс 20°;

иметь минимальный дорожный просвет под передним мостом 180 мм;

иметь минимальный дорожный просвет под задним мостом 180 мм;

иметь минимальный дорожный просвет между мостами 200 мм.

1.1.2 Любое транспортное средство категории N1 максимальной массой, превышающей 2 т, если в нем предусмотрен одновременный привод на всех колесах, включая транспортные средства, на которых можно отключить один мост, и если оно удовлетворяет трем следующим требованиям:

имеет, по меньшей мере, один передний и один задний мосты, предназначенные для эксплуатации с одновременным приводом на них от двигателя, включая транспортные средства с одним отключаемым мостом;

оборудовано, по меньшей мере, одним устройством блокирования дифференциала или, по меньшей мере, механизмом, обеспечивающим аналогичный результат;

имеет возможность преодолевать подъем 25 %, рассчитанный для отдельного транспортного средства.

2 Условия нагрузки и проверки

2.1 Транспортные категории N1 максимальной массой, не превышающей 2 т, и транспортные средства категории М1 должны быть в снаряженном состоянии, которое предполагает наличие на транспортном средстве охлаждающей жидкости, смазочных веществ, топлива, набора инструментов, запасного колеса и водителя условным весом 75 кг.

2.2 Транспортные средства, помимо указанных в 2.1, должны быть загружены до их максимальной технически допустимой массы, заявленной изготовителем.

2.3 Способность преодолевать необходимые подъемы (25 и 30 %) проверяют путем простых расчетов. Однако в отдельных случаях техническая служба может потребовать предоставить ей транспортное средство этого типа для проведения испытания в реальных условиях.

2.4 Во время измерения углов въезда, съезда и продольного клиренса не учитывают защитные устройства.

3 Определения и схемы углов переднего и заднего свеса и продольного клиренса, а также дорожного просвета

3.1 Под «углом переднего свеса» подразумевают максимальный угол между плоскостью дороги и плоскостями, проходящими по касательной к шинам передних колес при статической нагрузке таким образом, чтобы никакая точка транспортного средства перед передней осью не находилась ниже этих плоскостей и никакая часть транспортного средства, за исключением подножек, не находилась ниже этих плоскостей.

3.2 Под «углом заднего свеса», подразумевают максимальный угол между плоскостью дороги и плоскостями, проходящими по касательной к шинам задних колес при статической нагрузке таким образом, чтобы никакая точка транспортного средства, находящаяся над задней осью, не располагалась ниже этих плоскостей и никакая часть транспортного средства не располагалась ниже этих плоскостей.

3.3 Под «продольным клиренсом» подразумевают минимальный острый угол между двумя плоскостями, которые расположены перпендикулярно к медианной продольной плоскости транспортного средства, проходят по касательной к шинам передних и задних колес при статической нагрузке и пересечение которых происходит в нижней части транспортного средства вне его колес. Этот угол определяет наибольший перекат, который может быть преодолен транспортным средством.

3.4 Под «дорожным просветом между осями» подразумевают кратчайшее расстояние между плоскостью дороги и наиболее низко расположенной фиксированной точкой транспортного средства. Многосекционные мосты рассматривают в качестве одной оси.

3.5 Под «дорожным просветом под осью» подразумевают расстояние к низу от наиболее высоко расположенной точки дуги окружности, которая проходит через середину отпечатка протектора колес одной оси (внутренние колеса в случае двойных скатов) и которая касается наиболее низко расположенной точки транспортного средства между колесами. Никакая твердая часть транспортного средства не должна находиться в заштрихованной зоне диаграммы. В случае необходимости дорожный просвет нескольких осей указывается в зависимости от их расположения, например, 20/250/250.

4 Комбинированное обозначение

Символы М и N можно сочетать с символом G, например, транспортное средство категории Ni, которое приспособлено к использованию вне дорог, может быть обозначено символом N1G.

ПРИЛОЖЕНИЕ 11

(обязательное)

Процедура проверки соблюдения требований в отношении соответствия производства

1 Случай, когда указанные предприятием-изготовителем отклонения от технических норм соответствуют требованиям

1.1 В настоящем пункте описана процедура, подлежащая использованию для проверки соблюдения предписаний, касающихся соответствия производства, в случае испытания типа I, если указанные предприятием-изготовителем отклонения от производственных норм соответствуют требованиям.

1.2 При минимальной выборке в размере трех единиц устанавливают процедуру отбора, чтобы в том случае, если доля дефектных транспортных средств составляет 40 %, вероятность прохождения испытания той или иной партии равнялась 0,95 (риск изготовителя равен 5 %), а если доля дефектных транспортных средств составляет 65 %, вероятность принятия данной серии равнялась 0,1 (риск потребителя равен 10 %).

1.3 Для каждого из загрязняющих веществ (СО, НС, NOx и твердых загрязняющих частиц) используют следующую процедуру (см. рисунок 2 в тексте Правил).

Пусть L - натуральный логарифм предельной величины для данного загрязняющего вещества;

хi - натуральный логарифм величины, измеренной для i-го транспортного средства данной выборки;

s - оценка отклонения от технических норм (после определения натурального логарифма измеренных величин);

n - количество транспортных средств в данной выборке.

1.4 Произвести расчет для соответствующей выборки с учетом того, что данные результатов испытаний представляют собой сумму предельных типовых отклонений и определяются по формуле

1.5 Затем:

i) если данные результатов испытаний превышают число, предусмотренное в таблице 1 для принятия решения о прохождении испытания для указанной выборки, то выносится решение о прохождении испытания для соответствующего загрязняющего вещества;

ii) если данные результатов испытаний меньше числа, предусмотренного в таблице 1 для принятия решения о непрохождении испытания для указанной выборки, то выносится решение о непрохождении испытания для соответствующего загрязняющего вещества;

iii) в противном случае согласно 8.2.2.1 испытанию подвергают еще одно транспортное средство, при этом данную процедуру применяют к выборке, увеличенной на одну единицу.

Таблица 1

Совокупное количество испытываемых транспортных средств (объем выборки)

Предельное значение для решения о принятии серии

Предельное значение для решения о непринятии серии

Совокупное количество испытываемых транспортных средств (объем выборки)

Предельное значение для решения о принятии серии

Предельное значение для решения о непринятии серии

3

3,327

-4,724

18

2,337

-5,713

4

3,261

-4,790

19

2,271

-5,779

5

3,195

-4,856

20

2,205

-5,845

6

3,129

-4,922

21

2,139

-5,911

7

3,063

-4,988

22

2,073

-5,977

8

2,997

-5,054

23

2,007

-6,043

9

2,931

-5,120

24

1,941

-6,109

10

2,865

-5,185

25

1,875

-6,175

11

2,799

-5,251

26

1,809

-6,241

12

2,733

-5,317

27

1,743

-6,307

13

2,667

-5,383

28

1,677

-6,373

14

2,601

-5,449

29

1,611

-6,439

15

2,535

-5,515

30

1,545

-6,505

16

2,469

-5,581

31

1,479

-6,571

17

2,403

-5,647

32

-2,112

-2,112

2 Случай, когда указанные предприятием-изготовителем отклонения от технических норм не соответствуют требованиям или когда такие отклонения не указаны

2.1 В настоящем пункте описана процедура, подлежащая использованию для проверки соблюдения предписаний, касающихся соответствия производства, в случае испытания типа I, когда указанные предприятием-изготовителем отклонения от производственных корм не соответствуют требованиям или когда такие отклонения не указаны.

2.2 При минимальной выборке в размере трех единиц порядок выборки устанавливается таким образом, чтобы в том случае, если доля дефектных транспортных средств составляет 40 %, вероятность прохождения испытания данной партией равнялась 0,95 (риск изготовителя равен 5 %), а если доля дефектных транспортных средств составляет 65 %, вероятность принятия данной партии равнялась 0,1 (риск потребителя равен 10 %).

2.3 Считается, что величины измерения выбросов загрязняющих веществ (СО, НС, NOx и твердых загрязняющих веществ) подчиняются закону нормального логарифмического распределения и должны вначале быть преобразованы в натуральные логарифмы. Пусть m0 и m представляют собой соответственно минимальный и максимальный размеры выборки (m0= 3 и m= 32), а n - существующий размер выборки.

2.4 Если натуральные логарифмы величин измерения в данной серии равны x1, x2, …, xj и L - натуральный логарифм величины выбросов данного загрязняющего вещества транспортным средством официально утвержденного типа, то используют следующую формулу

dj=xj-L;

и

2.5 В таблице 2 указаны предельные для принятия серии (Аn) и непринятия серии (Bn) в зависимости от размера соответствующей выборки. Данные результатов испытаний представляют собой соотношение dn/Vn и используют для принятия решения на предмет приемки данной партии в соответствии со следующей формулой:

при m0£n£m:

i) партию принимают, если /Vn£An;

ii) партию не принимают, если /Vn³Bn;

iii) произвести еще одно измерение, если An</Vn<Bn.

2.6 Замечания

Для расчета последовательных значений результатов испытаний используют следующие рекуррентные формулы:

(n=2, 3 …; =d1; V1=0)

Таблица 2 - Минимальный размер выборки = 3

Объем выборки n

Предельное значение для решения о принятии серии Аn

Предельное значение для решения о непринятии серии Bn

Объем выборки n

Предельное значение для решения о принятии серии Аn

Предельное значение для решения о непринятии серии Bn

3

-0,8038

16,64743

18

-0,38266

0,45922

4

-0,76339

7,68627

19

-0,35570

0,40788

5

-0,72982

4,67136

20

-0,32840

0,36203

6

-0,69962

3,25573

21

-0,30072

0,32078

7

-0,67129

2,45431

22

-0,27263

0,28343

8

-0,64406

1,94369

23

-0,24410

0,24943

9

-0,61750

1,59105

24

-0,21509

0,21831

10

-0,59135

1,33295

25

-0,18557

0,18970

11

-0,56542

1,13566

26

-0,15550

0,16328

12

-0,53960

0,97970

27

-0,12483

0,13880

13

-0,51379

0,85307

28

-0,09354

0,11603

14

-0,48791

0,74801

29

-0,06159

0,09480

15

-0,46191

0,65928

30

-0,02892

0,07493

16

-0,43573

0,58321

31

+0,00449

0,05629

17

-0,40933

0,51718

32

+0,03876

0,03876

ПРИЛОЖЕНИЕ 12

(обязательное)

Предоставление официального утверждения ЕЭК для транспортного средства, работающего на СНГ или природном газе

1 Введение

В настоящем приложении приведено описание специальных требований, которые применяют в случае официального утверждения транспортного средства, работающего на СНГ или природном газе, или транспортного средства, которое может работать на неэтилированном бензине в сочетании с СНГ или природным газом, в том что касается испытания с использованием СНГ или природного газа.

Предлагаемые на топливном рынке СНГ и природный газ существенно отличаются по своему составу, что вызывает необходимость регулировки топливной системы в порядке ее адаптации к этим составам. Для демонстрации этой способности транспортное средство подвергают испытанию типа I с использованием двух разных по составу эталонных видов топлива, в ходе которого должны быть подтверждены возможности автоматической регулировки топливной системы. Если автоматическая регулировка топливной системы была продемонстрирована на соответствующем транспортном средстве, то такое транспортное средство может рассматриваться в качестве базового транспортного средства данной серии. Транспортные средства, которые соответствуют требованиям, предъявляемым к транспортным средствам этой серии, если они оборудованы одной и той же топливной системой, должны проходить испытание с использованием только одного вида топлива.

2 Определения

2.1 Базовое транспортное средство означает транспортное средство, отобранное для использования в качестве транспортного средства, на котором предполагается продемонстрировать возможности автоматической регулировки топливной системы, и которое является базовым для транспортных средств данной серии. Допускается наличие более одного базового транспортного средства в серии.

2.2 Транспортное средство данной серии имеет следующие основные характеристики, присущие базовому транспортному средству (транспортным средствам) этой серии:

2.2.1 а) оно изготовлено одним и тем же предприятием-изготовителем;

b) на него распространяются одинаковые предельные нормы выбросов;

c) если топливная система, работающая на газе, оснащена центральным контрольно-измерительным устройством для всего двигателя:

его номинальная выходная мощность должна быть от 0,7 до 1,15 выходной мощности двигателя базового транспортного средства

если топливная система, работающая на газе, оборудована индивидуальным контрольно-измерительным устройством для каждого цилиндра:

его номинальная выходная мощность должна составлять на цилиндр от 0,7 до 1,15 мощности исходного транспортного средства;

d) если топливная система оборудована системой каталитического нейтрализатора, то она должна иметь один и тот же тип каталитического нейтрализатора, т.е. трехкомпонентный, окислительный, для окислов азота.

e) оно имеет топливную систему, работающую на газе (включая редуктор), изготовленную одним и тем же предприятием - изготовителем топливной системы и относящуюся к одному и тому же типу: всасывание, впрыскивание распыленной смеси (в одной точке, в нескольких точках), впрыскивание жидкости (в одной точке, в нескольких точках);

f) функционирование этой топливной системы, работающей на газе, контролируется с помощью электронного регулировочного устройства одного и того же типа с одинаковыми техническими характеристиками, имеющего одинаковые принципы регулировки и режим управления.

2.2.2 Требования перечисления с): в том случае, если можно продемонстрировать, что два транспортных средства, работающих на газе, могут относиться к одной и той же серии транспортных средств, за исключением их номинальной выходной мощности Р1 и Р212), и если оба эти транспортные средства проходят испытания как базовые, то принадлежность их к этой серии считается доказанной для любого транспортного средства, номинальная выходная мощность которого находится в пределах 0,7Р1 и 1,15Р2.

3 Предоставление официального утверждения ЕЭК

Официальное утверждение ЕЭК по типу конструкции предоставляют при соблюдении следующих требований.

3.1 Официальное утверждение исходного транспортного средства в отношении выбросов отработавших газов

Необходимо продемонстрировать, что исходное транспортное средство можно отрегулировать для использования любого по составу топлива, которое продано на рынке. В случае использования СНГ его состав изменяется по показателю С34. В случае использования природного газа, как правило, рассматривают два типа топлива с высокой теплотворной способностью (Н-gas) и низкой теплотворной способностью (L-gas), однако в пределах этих двух видов топлива имеются весьма существенные различия; в частности, они существенно отличаются по поправочному коэффициенту Вобба. Эти различия отражаются в эталонных видах топлива.

3.1.1 Исходное транспортное средство (транспортные средства) проходит испытание типа I с использованием двух разных эталонных видов топлива.

3.1.1.1 Если переход с одного вида топлива на другой на практике осуществляют с помощью переключателя, то этот переключатель не должен быть использован в ходе испытаний на официальное утверждение. По просьбе предприятия-изготовителя и с согласия технической службы продолжительность цикла предварительного кондиционирования, о котором говорится в 5.3.1 приложения 4, может быть увеличена.

3.1.2 Считается, что транспортное средство (транспортные средства) отвечает(ют) предписаниям, если это транспортное средство удовлетворяет предельным нормам выбросов с использованием обоих видов эталонного топлива.

3.1.3 Коэффициент результирующего выброса r определяют по каждому загрязняющему веществу следующим образом:

3.2 Официальное утверждение серийного транспортного средства в отношении выбросов отработавших газов:

Серийное транспортное средство должно проходить испытание типа I с использованием одного эталонного топлива. В качестве эталонного топлива может использоваться любое эталонное топливо. Считается, что транспортное средство соответствует предписаниям, если соблюдаются следующие требования:

3.2.1 транспортное средство соответствует определению серийного транспортного средства, о котором говорится в 2.2;

3.2.2 результаты испытания для каждого загрязняющего вещества умножают на соответствующий коэффициент r (см. 3.1.3), если r больше 1,0. Если r меньше 1,0, то его принимают равным 1. Результаты этих произведений принимают за окончательные результаты выбросов. По просьбе предприятия-изготовителя испытание типа I может проводиться с использованием эталонного топлива 2 или с использованием обоих эталонных топлив. В этом случае коррекция не нужна;

3.2.3 транспортное средство должно удовлетворять предельным нормам выбросов, которые предписаны для соответствующей категории.

4 Общие условия

4.1 Испытания на соответствие производства могут быть проведены с использованием имеющегося в продаже топлива, у которого показатель С34 находится в пределах показателей для исходных видов топлива, в случае использования СНГ, или у которого поправочный коэффициент Вобба находится в пределах значений этого коэффициента для двух разных эталонных видов топлива, в случае использования природного газа. В этом случае необходимо представить результаты анализа топлива.

Ключевые слова: транспортные средства, охрана природы, двигатели с принудительным зажиганием, двигатели с воспламенением от сжатия, топливо, вредные выбросы, испытания

 




ГОСТЫ, СТРОИТЕЛЬНЫЕ и ТЕХНИЧЕСКИЕ НОРМАТИВЫ.
Некоммерческая онлайн система, содержащая все Российские Госты, национальные Стандарты и нормативы.
В Системе содержится более 150000 файлов нормативно-технической документации, действующей на территории РФ.
Система предназначена для широкого круга инженерно-технических специалистов.

Рейтинг@Mail.ru Яндекс цитирования

Copyright © www.gostrf.com, 2008 - 2026