Крупнейшая бесплатная информационно-справочная система онлайн доступа к полному собранию технических нормативно-правовых актов РФ. Огромная база технических нормативов (более 150 тысяч документов) и полное собрание национальных стандартов, аутентичное официальной базе Госстандарта. GOSTRF.com - это более 1 Терабайта бесплатной технической информации для всех пользователей интернета. Все электронные копии представленных здесь документов могут распространяться без каких-либо ограничений. Поощряется распространение информации с этого сайта на любых других ресурсах. Каждый человек имеет право на неограниченный доступ к этим документам! Каждый человек имеет право на знание требований, изложенных в данных нормативно-правовых актах!

  


 

МИНИСТЕРСТВО ВНУТРЕННИХ ДЕЛ
РОССИЙСКОЙ ФЕДЕРАЦИИ

ГОСУДАРСТВЕННАЯ ПРОТИВОПОЖАРНАЯ СЛУЖБА

НОРМЫ ПОЖАРНОЙ БЕЗОПАСНОСТИ

УСТАНОВКИ ВОДЯНОГО И ПЕННОГО
ПОЖАРОТУШЕНИЯ АВТОМАТИЧЕСКИЕ.
ОРОСИТЕЛИ. ОБЩИЕ ТЕХНИЧЕСКИЕ
ТРЕБОВАНИЯ. МЕТОДЫ ИСПЫТАНИЙ

НПБ 87-2000

МОСКВА 2001

Разработаны Федеральным государственным учреждением «Всероссийский ордена «Знак Почета» научно-исследовательский институт противопожарной обороны» Министерства внутренних дел Российской Федерации (ФГУ ВНИИПО МВД России) (С.Г. Цариченко, В.А. Былинкин, Л.М. Мешман, В.В. Алешин, Р.Ю. Губин, А.В. Первых, С.М. Дымов).

Внесены ФГУ ВНИИПО МВД России.

Подготовлены к утверждению Главным управлением Государственной противопожарной службы Министерства внутренних дел Российской Федерации (ГУГПС МВД России) (В.А. Дубинин).

Утверждены и введены в действие приказом ГУГПС. МВД России от 28 апреля 2001 г. № 27.

Вводятся впервые.

Дата введения в действие 1 июля 2001 г.

С введением в действие настоящих норм отменяется действие НПБ 69-98.

МИНИСТЕРСТВО ВНУТРЕННИХ ДЕЛ РОССИЙСКОЙ ФЕДЕРАЦИИ

ГОСУДАРСТВЕННАЯ ПРОТИВОПОЖАРНАЯ СЛУЖБА

НОРМЫ ПОЖАРНОЙ БЕЗОПАСНОСТИ

УСТАНОВКИ ВОДЯНОГО И ПЕННОГО ПОЖАРОТУШЕНИЯ АВТОМАТИЧЕСКИЕ. ОРОСИТЕЛИ. ОБЩИЕ ТЕХНИЧЕСКИЕ ТРЕБОВАНИЯ. МЕТОДЫ ИСПЫТАНИЙ

AUTOMATIC WATER AND FOAM FIRE FIGHTING SISTEMS. SPRINKLERS, SPRAY NOZZLES AND WATER MIST NOZZLES. GENERAL TECHNICAL REGUIREMENTS. TEST METHODS

НПБ 87-2000

Дата введения 01.07.2001 г.

I. ОБЛАСТЬ ПРИМЕНЕНИЯ

1. Настоящие нормы распространяются на водяные и пенные оросители, предназначенные для разбрызгивания или распыливания воды, воздушно-механической пены низкой кратности из водяного раствора пенообразователя и их распределения по защищаемой площади и применяемые для тушения или локализации пожара, а также его блокирования через проемы в стенах защищаемых помещений, в массопроводах или в пневмотранспортных технологических коммуникациях.

Нормы устанавливают общие технические требования к оросителям и методы их испытаний, в том числе сертификационных в области пожарной безопасности.

II. ОПРЕДЕЛЕНИЯ

2. В настоящих нормах используются следующие термины с соответствующими определениями:

ороситель - устройство, предназначенное для тушения, локализации или блокирования пожара путем разбрызгивания или распыливания воды и/или водных растворов;

спринклерный ороситель - ороситель с запорным устройством выходного отверстия, вскрывающимся при срабатывании теплового замка;

дренчерный ороситель - ороситель с открытым выходным отверстием;

ороситель с внешним приводом - ороситель с запорным устройством выходного отверстия, вскрывающимся при внешнем управляющем воздействии (электрическом, гидравлическом, пневматическом, пиротехническом);

углубленный ороситель - ороситель, у которого корпус или дужки частично находятся в углублении потолка или стены;

потайной ороситель - ороситель, устанавливаемый заподлицо с подвесным потолком или стеной;

скрытый ороситель - потайной ороситель, скрытый декоративной крышкой;

ороситель общего назначения - ороситель, устанавливаемый под потолком или на стене и предназначенный для тушения или локализации пожара в наружных установках, помещениях или зданиях;

ороситель специального назначения - ороситель, устанавливаемый под потолком или на стене и предназначенный для выполнения специальной задачи по тушению, локализации или блокированию распространения пожара;

ороситель для водяной завесы - ороситель, предназначенный для блокирования распространения пожара путем создания водяных завес;

разбрызгиватель - ороситель, предназначенный для разбрызгивания воды и водных растворов;

распылитель - ороситель, предназначенный для распыливания воды и водных растворов;

тепловой замок - термочувствительный элемент спринклерного оросителя, срабатывающий при достижении температуры элемента, равной номинальной температуре срабатывания;

ширина завесы - фронтальная протяженность защищаемой площади;

глубина завесы - перпендикулярная фронтальной протяженность защищаемой площади;

защищаемая площадь орошения - площадь, средняя интенсивность и равномерность орошения которой не менее нормативной или установленной в технической документации (ТД);

номинальная температура срабатывания - температура срабатывания, указанная на спринклерном оросителе;

условное время срабатывания - время с момента помещения спринклерного оросителя в термостат с температурой, превышающей номинальную температуру срабатывания на 30 °С, до срабатывания теплового замка спринклерного оросителя;

номинальное время срабатывания - нормативное значение времени срабатывания спринклерного оросителя и оросителя с внешним приводом, указанное в настоящих нормах или в технической документации на данный вид изделия.

III. КЛАССИФИКАЦИЯ И ОБОЗНАЧЕНИЯ

3. Оросители подразделяют:

3.1. По наличию теплового замка или привода для срабатывания на:

спринклерные (С);

дренчерные (Д);

с внешним приводом: электрическим (Э), гидравлическим (Г), пневматическим (П), пиротехническим (В);

комбинированные (К).

3.2. По назначению на:

общего назначения (О);

встроенные в потолок или стену: углубленные (У), потайные (П), скрытые (К);

предназначенные для завес (З);

предназначенные для стеллажных складов (С);

предназначенные для пневмо- и массопроводов (М);

специального назначения (S).

3.3. По конструктивному исполнению на:

розеточные (Р);

центробежные (Ц);

диафрагменные (Д);

винтовые (В);

щелевые (Щ);

струйные (С);

прочие (П).

Примечание. При акустическом распыливании к букве, обозначающей конструктивное исполнение, добавляют нижний буквенный индекс «а».

3.4. По виду используемого огнетушащего вещества (ОТВ) на:

водяные (В);

для водных растворов (Р);

пенные (П).

3.5. По направленности потока огнетушащего вещества на:

концентричные (0);

односторонней направленности (1);

двусторонней направленности (2);

прочие (3).

3.6. По структуре потока ОТВ на:

разбрызгиватели;

распылители.

3.7. По виду теплового замка:

с плавким термочувствительным элементом (П);

с разрывным термочувствительным элементом (Р);

с упругим термочувствительным элементом (У);

с комбинированным термочувствительным элементом (К).

3.8. По монтажному расположению на:

устанавливаемые вертикально, поток ОТВ из корпуса направлен вверх (В);

устанавливаемые вертикально, поток ОТВ из корпуса направлен вниз (Н);

устанавливаемые вертикально, поток ОТВ из корпуса направлен вверх или вниз (универсальные) (У);

устанавливаемые горизонтально, поток ОТВ направлен вдоль направляющей лопатки (Г);

устанавливаемые вертикально, поток ОТВ направлен перпендикулярно оси оросителя (вдоль направляющей лопатки или образующей корпуса оросителя) (Гв);

устанавливаемые в любом пространственном положении (П).

3.9. По виду покрытия корпуса:

без покрытия (о);

с декоративным покрытием (д);

с антикоррозионным покрытием (а).

4. Обозначение оросителей должно иметь следующую структуру:

Примечания: 1. В обозначении оросителей, формирующих концентричный поток ОТВ, поз. 3 допускается не проставлять.

2. Если форма выходного отверстия оросителя отличается от формы круга или ороситель имеет несколько разных по размеру выходных отверстий, то в поз. 9 проставляют знак Æ и указывают приведенный диаметр выходного отверстия, который определяют по формулам

,

где Æ0 - приведенный диаметр для выходных отверстий в форме круга; Æn - приведенный диаметр для выходных отверстий, форма которых отлична от формы круга; d - диаметр единичного отверстия; a, b - соответственно длина и ширина единичного отверстия; п - количество отверстий данного вида.

Числовое значение приведенного диаметра определяют с точностью до 0,1 мм.

3. В обозначении дренчерных оросителей поз. 11 и 12 не проставляют.

4. Поз. 15 проставляют при возможности использования оросителя в коррозионной среде; аммиачной (NН3), двуокиси серы (SO2), соляных брызг (С).

При возможности использования оросителя в нескольких коррозионных средах перечисляют через запятую эти среды. В обозначении оросителя, в котором отсутствуют параметры рабочей коррозионной среды, поз. 15 не проставляют.

5. Перед структурным обозначением распылителя допускается вместо слова «Ороситель» указывать «Распылитель».

5. Примеры условного обозначения:

спринклерного водяного оросителя специального назначения, с концентричным потоком ОТВ, с минимальным давлением 0,05 МПа, обеспечивающим значение интенсивности орошения по ТД, диафрагменного, устанавливаемого вертикально, поток ОТВ направлен вверх, с декоративным покрытием, с диаметром выходного отверстия 10,2 мм, с коэффициентом производительности, равным 0,32, тепловым замком в виде разрывного элемента (колбы) с номинальной температурой срабатывания 68 °С, климатического исполнения 0, категории размещения 4, тип согласно ТД - «РПТК»:

Ороситель СS0-0,05ДВВд10,2-0,32/Р68.04 - «РПТК»;

дренчерного водяного оросителя общего назначения, предназначенного для распыливания ОТВ, с потоком ОТВ односторонней направленности, с минимальным давлением 1,0 МПа, обеспечивающим значение интенсивности орошения по ТД, щелевого конструктивного исполнения, вид ОТВ - вода, устанавливаемого в любом положении в пространстве, с декоративным покрытием, с приведенным диаметром выходного отверстия 12,5 мм, с коэффициентом производительности, равным 0,52, климатического исполнения 0, категории размещения 2, тип согласно ТД - «Туман»:

Распылитель ДО1-1,0ЩВПд12,5 - 0,52/02 - «Туман».

IV. ОБЩИЕ ТЕХНИЧЕСКИЕ ТРЕБОВАНИЯ

6. Характеристики

6.1. Требования назначения

6.1.1. Оросители должны соответствовать требованиям настоящих норм и технической документации (ТД) на конкретный вид оросителя, утвержденной в установленном порядке.

6.1.2. Значения коэффициента производительности, интенсивности орошения, расхода ОТВ на 1 м ширины завесы приведены в табл. 1.

Таблица 1

Наименование и характеристика показателя

Оросители водяные

Оросители пенные общего назначения

общего назначения и для подвесных потолков

для завес

для стеллажных складов

для пневмо- и массопроводов

специального назначения

1. Коэффициент производительности

По ТД

По ТД

2. Интенсивность орошения, л/(м2·с): при S=12 м2, H=2,5 м, P=0,05 МПа для dy мм:

 

 

 

 

 

 

8

0,020

-

-

-

-

-

10

0,040

-

-

-

-

-

11

0,045

-

-

-

-

-

12

0,050

-

-

-

-

-

13

0,060

-

-

-

-

-

то же при Р=0,1 МПа для dy мм:

 

 

 

 

 

 

15

0,12

-

-

-

-

-

20

0,24

-

-

-

-

-

то же при Р - согласно ТД для dy более 20 мм

По ТД

-

-

-

-

-

то же при Р=0,15 МПа для dy мм:

 

 

 

 

 

 

8

-

-

-

-

-

0,04

10

-

-

-

-

-

0,07

15

-

-

-

-

-

0,16

При Р=0,1 МПа:

 

 

 

 

 

 

S=2 м2, dy 10 мм

-

-

1,00

-

-

-

S=3 м2, dy 12 мм

-

-

0,72

-

-

-

S=7 м2; dy 15 мм

-

-

0,21

-

-

-

при Р, S, Н - согласно ТД

-

-

-

По ТД

По ТД

-

3. Расход на 1 м ширины завесы, л/(м·с), при Р, L, В, Н - согласно ТД

-

1

-

-

-

-

Примечания: 1. Условные обозначения: Р - давление, МПа; S - защищаемая площадь м2; Н - высота установки оросителя от верхних кромок мерных банок, м; L - ширина защищаемой зоны, м; В - глубина защищаемой зоны, м; dy - условный диаметр, мм.

2. Для оросителей общего назначения и оросителей для подвесных потолков монтажного расположения В, Н, У поверхность, защищаемая одним оросителем, должна иметь форму круга площадью не менее 12 м2, а для расположения Г и Гв - форму прямоугольника размером не менее 4×3 м (глубина ´ ширина).

3. Форму защищаемой площади, в пределах которой обеспечивается заданная интенсивность орошения для внутристеллажного пространства стеллажных складов, принимают по ТД.

4. Давление, высоту установки оросителя, форму и размер защищаемой площади, в пределах которых обеспечивается заданная интенсивность орошения оросителями для пневмо- и массопроводов и специального назначения, принимают по ТД.

5. Для пенных оросителей кратность пены должна быть в пределах от 5 до 20.

6.1.3. Максимальное рабочее давление оросителей должно быть не менее 1 МПа.

6.1.4. Коэффициент равномерности орошения оросителей должен быть не более 0,5.

6.1.5. Номинальная температура срабатывания спринклерных оросителей, предельное отклонение номинальной температуры срабатывания, условное время срабатывания, маркировочный цвет окраски оросителей должны соответствовать значениям, приведенным в табл. 2.

6.1.6. Спринклерные оросители должны выдерживать пробное гидравлическое давление 3 МПа.

6.1.7. Спринклерные оросители должны быть герметичны при пневматическом давлении 0,6 МПа.

6.1.8. Спринклерные оросители должны выдерживать пробный вакуум 61 кПа (460 мм рт. ст.).

Таблица 2

Номинальная температура срабатывания оросителя, °С

Предельное отклонение номинальной температуры срабатывания оросителя, °С

Условное время срабатывания, с, не более

Маркировочный цвет жидкости в стеклянной колбе (разрывном термочувствительном элементе) или дужек оросителя

57

±3

300

Оранжевый

68

±3

300

Красный

72

±3

330

Красный

79

±3

330

Желтый

93

±3

380

Зеленый

100

±3

380

Зеленый

121

±5

600

Голубой

141

±5

600

Голубой

163

±5

600

Фиолетовый

182

±5

600

Фиолетовый

204

±7

600

Черный

227

±7

600

Черный

240

±7

600

Черный

260

±7

600

Черный

343

±7

600

Черный

Примечания: 1. При номинальной температуре срабатывания теплового замка от 57 по 72 °С дужки оросителей не окрашивают.

2. При использовании в качестве разрывного термочувствительного элемента стеклянной колбы дужки оросителя допускается не окрашивать.

3. Условное время срабатывания спринклерных оросителей для подвесных потолков не должно превышать 231 с (для оросителей с температурой срабатывания до 79 °С) и 189 с (для оросителей с температурой срабатывания от 79 °С и выше).

6.1.9. При смене температур спринклерного оросителя с разрывным термочувствительным элементом (колбой) путем нагрева в одной жидкости до температуры на 10 °С ниже номинальной температуры срабатывания, а затем охлаждения в другой жидкости с температурой, равной 10 °С, не должно быть повреждений теплового замка.

6.1.10. При нагревании оросителей с разрывным термочувствительным элементом (колбой) до температуры, которая на 5 °С ниже нижнего предельного значения номинальной температуры срабатывания, указанного в табл. 2, элемент (колба) не должен иметь повреждений.

6.1.11. При срабатывании запорного устройства спринклерного оросителя от источника тепла заклинивание и зависание деталей запорного устройства не допускаются.

6.1.12. Ороситель не должен иметь механические повреждения после воздействия на него синусоидальной вибрации при частоте от 5 до 40 Гц и амплитуде перемещения 1 мм.

6.1.13. После воздействия на ороситель в течение 10 суток водного раствора аммиака при температуре 34 °С не должно быть разрушения деталей, зашлакования проходного канала и выходного отверстия оросителя.

6.1.14. После воздействия на ороситель в течение 16 суток двуокиси серы при температуре 45 °С не должно быть разрушения деталей, зашлакования проходного канала и выходного отверстия оросителя.

6.1.15. После воздействия на ороситель в течение 10 суток туманной среды из соляных брызг при температуре 35 °С не должно быть разрушения деталей, зашлакования проходного канала и выходного отверстия оросителя.

6.1.16. Ороситель не должен иметь признаки деформации после падения на него с высоты 1 м стального груза массой, равной массе оросителя.

6.1.17. Розетка, дужки и/или корпус оросителя не должны иметь признаки деформации или повреждения после разбрызгивания или распыливания воды под давлением 1,25·Рмакс. раб, но не менее 1,25 МПа.

6.1.18. Ороситель не должен давать утечку и иметь механические повреждения корпуса и запорного устройства после воздействия на него гидроудара - циклического давления, изменяющегося от 0,4 до 2,5 МПа со скоростью 10 МПа/с.

6.1.19. Корпус оросителя должен выдерживать температуру от минус 60 до +800 °С.

6.1.20. Розеточные разбрызгиватели должны быть сконструированы таким образом, чтобы сфера диаметром 6 мм могла свободно проходить через проходной канал в штуцере и выходное отверстие.

6.1.21. Средний диаметр капель в водяном факеле, образуемом распылителем, не должен превышать 150 мкм.

6.1.22. Параметры привода должны соответствовать требованиям ТД, напряжение питания не должно превышать 24 В.

6.2. Оросители должны быть стойкими к внешним воздействиям. Климатическое исполнение и категория размещения оросителей - по ГОСТ 15150.

6.3. Конструктивные требования

6.3.1. Основные конструктивные параметры оросителей приведены в табл. 3 (кроме оросителей для пневмо- и массопроводов, а также оросителей специального назначения).

6.3.2. Условный диаметр и наружная присоединительная резьба оросителей для пневмо- и массопроводов, а также оросителей специального назначения должны соответствовать ТУ на изделия.

Таблица 3

Условный диаметр выходного отверстия, мм

Наружная присоединительная резьба

До 8 (включительно)

R 3/8

Более 8 до 12 (включительно)

R 1/2

Более 12 до 15 (включительно)

R 1/2 или 3/4

Более 15

Не нормируется

Примечание. Для оросителей, имеющих выходное отверстие, форма которого отличается от формы круга, и максимальный линейный размер, превышающий 15 мм, размер наружной присоединительной резьбы не регламентируется.

6.3.3. Оросители должны иметь размер присоединительной резьбы по ГОСТ 6211, ГОСТ 6357, ГОСТ 16093.

6.3.4. Оросители должны иметь размеры «под ключ» по ГОСТ 6424 и ГОСТ 13682 или под «спецключ», входящий в комплект поставки партии оросителей.

6.3.5. Конструкция спринклерных оросителей должна исключать возможность их регулирования, разборки и повторной сборки в процессе эксплуатации.

6.3.6. Выходные отверстия распылителей должны быть защищены от воздействия загрязняющих факторов внешней среды.

6.3.7. Защитные приспособления (декоративные корпуса, колпачки) не должны снижать эффективность действия оросителей при разбрызгивании или распыливании.

6.3.8. Все оросители и распылители с диаметром (или одним из линейных размеров) выходного отверстия менее 8 мм должны быть снабжены конструктивно встроенными фильтрами, выполненными из коррозионно-стойкого материала. Минимальный размер ячеек (отверстий) фильтра не должен превышать 80 % от минимального размера защищаемого выходного отверстия.

7. Маркировка

7.1. На ороситель должна быть нанесена маркировка, содержащая:

товарный знак предприятия-изготовителя;

тип оросителя согласно ТД;

условный диаметр (или размеры выходного отверстия);

числовое значение номинальной температуры срабатывания и ее цветовое обозначение;

год и месяц выпуска.

7.2. Место нанесения маркировки - согласно ТД.

7.3. Наносить маркировку следует любым способом, обеспечивающим четкость текста и сохранность маркировки в течение всего срока службы оросителя.

V. УСЛОВИЯ ИСПЫТАНИЙ

8. Испытания оросителей необходимо проводить в объеме, указанном в табл. 4.

Таблица 4

Испытания и проверки

Пункты настоящих норм

Технические требования

Методы испытаний

1. Проверка наличия в представляемой технической документации следующих данных:

интенсивность орошения или расход ОТВ, приведенный на 1 м ширины завесы;

форма и размер площади орошения или водяной завесы;

минимальное давление подачи ОТВ, обеспечивающее заданные интенсивность орошения или расход, приведенный на 1 м ширины завесы;

диапазон рабочих давлений;

диаметр (или площадь) выходного отверстия;

параметры внешнего привода

6.1.1, 6.1.22

17

2. Визуальный осмотр, проверка комплектности поставки и соответствия оросителей конструктивным требованиям

6.3.1-6.3.6, 48-50

17

3. Проверка маркировки

7.1-7.3

17

4. Инструментальная проверка размеров на соответствие технической документации

6.3

17

5. Испытание на устойчивость к климатическим воздействиям

6.2

18

6. Испытание на виброустойчивость*

6.1.12

19

7. Испытание на устойчивость к воздействию водного раствора аммиака**

6.1.13

20

8. Испытание на устойчивость к воздействию двуокиси серы**

6.1.14

21

9. Испытание на устойчивость к воздействию туманной среды из соляных брызг**

6.1.15

22

10. Испытание на удароустойчивость

6.1.16

23

11. Испытание на устойчивость к воздействию смены температур

6.1.9

24

12. Испытание на теплостойкость

6.1.10

25

13. Испытание на гидравлический удар

6.1.18

26

14. Испытание на пробный вакуум

6.1.8

27

15. Испытание на прочность гидравлическим давлением

6.1.6

28

16. Испытание на герметичность пневматическим давлением

6.1.7

29

17. Проверка номинальной температуры срабатывания

6.1.5

30

18. Проверка условного времени срабатывания

6.1.5

31, 32

19. Испытание на срабатывание запорного устройства

6.1.11

33

20. Проверка термостойкости корпуса***

6.1.19

34

21. Проверка проходного канала

6.1.20

35

22. Испытание на прочность розетки, дужек и/или корпуса

6.1.17

36

23. Проверка коэффициента производительности

6.1.2

37

24. Проверка защищаемой площади, равномерности и интенсивности орошения оросителями общего назначения и оросителями для подвесных потолков

6.1.2

38

25. Проверка защищаемой площади, равномерности и интенсивности орошения оросителями для стеллажных складов

6.1.2

39

26. Проверка защищаемой площади, равномерности и интенсивности орошения распылителями

6.1.2

40

27. Проверка защищаемой площади, равномерности и интенсивности орошения оросителями для пневмо- и массопроводов и специального назначения

6.1.2

45

28. Проверка равномерности орошения, расхода воды на 1 м ширины завесы, формы и размера водяной завесы (защищаемой площади)

6.1.2

42, 43

29. Проверка кратности пены, защищаемой площади, равномерности и интенсивности орошения пенными оросителями

6.1.2

44

30. Проверка среднего диаметра капель распылителей

6.1.21

41

31. Проверка параметров привода

6.1.22

46

* Испытания не проводят, если конструкция оросителя выполнена монолитной без составных частей.

** Испытания проводят при наличии в ТД соответствующих параметров.

*** Неразборные конструкции оросителей с внешним приводом данным испытаниям не подвергают.

9. Алгоритм проведения испытаний оросителей представлен на рис. 1, а и б. Порядок проведения испытаний, указанных в пп. 2 - 3, 7 - 9, 11 - 12, 17 - 19 и 23 - 30 табл. 4, не регламентируется. Сертификационные испытания проводят согласно алгоритму, приведенному на рис. 1, б.

10. Каждый образец оросителя подвергают одному испытанию каждого вида, если иное не оговорено настоящими нормами.

11. Для испытаний оросителей на срабатывание запорного устройства, номинальную температуру срабатывания, условное время срабатывания, устойчивость к гидравлическому удару, к воздействию водного раствора аммиака отбирают 5 оросителей; для проверки кратности пены, коэффициента производительности, равномерности и интенсивности орошения - 6; устойчивости к воздействию двуокиси серы и соляных брызг - 10.

12. Если, согласно ТД, имеются дополнительные требования к конструкции, то испытания по данной номенклатуре проводят по методике, специально разработанной и утвержденной испытательной организацией. Допускается проводить данные испытания по методике предприятия-изготовителя, изложенной в ТД. Решение по выбору методики сертификационных испытаний принимает испытательная организация.

13. Результаты испытаний считают удовлетворительными, если испытанные оросители соответствуют требованиям настоящих норм. При несоответствии одного из образцов хотя бы одному требованию настоящих норм следует провести повторные испытания на удвоенном числе оросителей. Результаты повторных испытаний считают окончательными.

Рис. 1. Алгоритм проведения испытаний оросителей:

а - при всех видах испытаний (кроме сертификационных); б - при сертификационных испытаниях;  - цифра обозначает номер испытания (пункт табл. 4); - цифра обозначает количество оросителей, подвергаемых данному виду испытаний;

* - данные оросители далее испытаниям не подвергают

Примечания: 1. Если отсутствует необходимость испытаний 7 - 9, то на испытания 10 отбирают 15 образцов, прошедших испытания 6, а на испытания 23 - 30 отбирают любые оросители в количестве 6 шт., прошедшие испытания 22.

2. Если испытания проводились только по одному из испытаний 7 - 9, то на испытания 10 отбирают 5 образцов, прошедших соответственно испытания 7, 8 или 9, и остальные 10 образцов, прошедших испытания 6, а на испытания 23 - 30 отбирают 5 образцов, прошедших соответственно испытания 7, 8 или 9, и один любой другой образец, прошедший испытания 22.

3. Если испытания проводились по любым из двух видов испытаний 7 - 9, то на испытания 10 отбирают по 5 образцов, прошедших соответственно испытания 7 и 8, 8 и 9 или 7 и 9, и остальные 5 образцов, прошедших испытания 6, а на испытания 23 - 30 отбирают по 3 образца, прошедших соответственно по два вида испытаний 7 и 8, 8 и 9 или 7 и 9.

4. Дренчерные оросители испытаниям 11 - 19 не подвергают.

14. При регистрации параметров используют аппаратуру с соответствующими точностью и погрешностью измерения, в частности при определении:

давления - манометрические приборы класса точности не ниже 0,6;

расхода ОТВ - расходомеры, счетчики или объемный способ с погрешностью не более 4 % от верхнего предела измерения;

времени - секундомеры и хронометры с ценой деления шкалы не более 0,1 с при измерении интервалов времени до 60 с и не более 1 с при измерении интервалов времени от 60 с и более;

температуры - термометры с ценой деления 0,1 °С при измерении температуры до 200 °С и с ценой деления 0,5 °С при измерении температуры 200 ºС и более или иные контактные преобразователи температуры с погрешностью ±2 %;

линейной величины - штангенциркули с ценой деления 0,1 мм;

массы - весы с погрешностью ±5 %;

объема воды - измерительные цилиндры вместимостью 0,5, 1 и 2 л с ценой деления соответственно не более 5, 10 и 20 мл;

электрического сопротивления, напряжения, тока и мощности - соответственно мегаомметры, вольтметры, амперметры и ваттметры с погрешностью измерения 1,5 %.

15. Допуск на начальные значения физических и электрических величин, если это не оговорено особо, принимают равным не более ±5 %.

16. Все испытания следует проводить в нормальных климатических условиях по ГОСТ 15150.

VI. МЕТОДЫ ИСПЫТАНИЙ

17. Все оросители, подлежащие испытаниям, предварительно осматривают на наличие очевидных дефектов, проверяют комплектность поставки, соответствие оросителей конструктивным требованиям (пп. 6.3.1 - 6.3.6, 48 - 50), контролируют маркировку (п. 7), соответствие показателей оросителей данным, содержащимся в представляемой технической документации (пп. 6.1.1, 6.1.22). Проверку диаметра или площади выходного отверстия проводят в самом узком месте проходного канала оросителя. Размеры оросителя, выходного отверстия и ячеек фильтра определяют с помощью соответствующих средств измерения.

18. При испытании оросителя на устойчивость к климатическим воздействиям (п. 6.2) проверяют:

холодоустойчивость при температуре минус (60 ±5) °С;

теплоустойчивость при максимальной температуре согласно ТД на данный вид оросителя (с учетом допуска ±2 °С), но не менее 50 °С.

Ороситель выдерживают при указанных температурах в течение не менее 3 ч. По истечении этого времени ороситель выдерживают на воздухе при температуре (20 ±5) °С не менее 3 ч.

После испытания проводят внешний осмотр оросителя. Наличие механических повреждений не допускается.

19. Испытание оросителя на виброустойчивость (п. 6.1.12) проводят на вибростенде, при этом ороситель крепят к платформе стенда в рабочем положении. При испытании воздействуют синусоидальной вибрацией вдоль оси резьбового штуцера. Необходимо непрерывно отслеживать частоту вибрации от (5 ±1) до (40 ±1) Гц при темпе не более 5 мин/октава и амплитуде 1 мм (±15) %. При обнаружении резонансных точек ороситель необходимо подвергать вибрации на каждой резонансной частоте в течение не менее 12 ч. Если резонансная частота не установлена, то ороситель необходимо подвергать вибрации на частоте от (5 ±1) до (40 ±1) Гц с амплитудой 1 мм (±15) % в течение не менее 12 ч.

После испытания проводят внешний осмотр оросителя. Наличие механических повреждений не допускается.

20. Испытание оросителя на устойчивость к воздействию водного раствора аммиака (п. 6.1.13) проводят во влажной смеси паров аммиака и воздуха в течение (240 ±2) ч. Вместимость рабочей емкости (20,0 ±0,2) л. Рабочая температура паровоздушной среды внутри рабочей емкости должна быть (34 ±2) °С; объем водного раствора аммиака (200 ±2) мл; плотность водного раствора аммиака (0,94 ±0,01) кг/дм3 при температуре 15 °С. Расстояние между уровнем жидкости и оросителями не менее 40 мм. Ороситель следует подвешивать в нормальном монтажном положении.

Давление внутри емкости должно соответствовать атмосферному. Во избежание повышения давления в рабочей емкости она должна вентилироваться через капиллярную трубку. Оросители должны быть защищены от отекания конденсата. Температуру испытаний регистрируют постоянно.

Через (240 ±2) ч оросители удаляют из рабочей емкости, промывают в дистиллированной воде и сушат в течение 7 суток при температуре (20 ±5) °С и относительной влажности не более 70 %.

По окончании испытания не должно быть признаков разрушения деталей оросителя, зашлакования проходного канала и выходного отверстия оросителя.

21. Испытание оросителя на устойчивость к воздействию двуокиси серы (п. 6.1.14) проводят во влажной смеси паров водного раствора серноватисто-кислого натрия Na2S2O3 5H2O и воздуха в течение (384 ±4) ч при температуре (45 ±3) °С. Вместимость рабочей емкости (10,00 ±0,25) л. Давление внутри рабочей емкости должно соответствовать атмосферному. Объем водного раствора серноватисто-кислого натрия в емкости (1000 ±25) мл (в 1000 мл дистиллированной воды растворяют 40 г кристаллического серноватисто-кислого натрия). Каждые двое суток в емкость с раствором добавляют 40 мл раствора серной кислоты, который приготавливают смешиванием 156 мл кислоты H2S04 с молярной концентрацией 0,5 моль/л и 844 мл дистиллированной воды. Ороситель в емкости должен быть подвешен в нормальном монтажном положении. Испытание должно состоять из двух периодов, продолжительность каждого (192 ±2) ч. По истечении первого периода ороситель удаляют из емкости, раствор сливают, емкость промывают и заливают в нее вновь приготовленный раствор. Температуру испытаний регистрируют постоянно.

Через (384 ±4) ч ороситель удаляют из рабочей емкости, промывают в дистиллированной воде и сушат в течение 7 суток при температуре (20 ±5) °С и относительной влажности не более 70 %.

По окончании испытания не должно быть признаков разрушения деталей оросителя, зашлакования проходного канала и выходного отверстия оросителя.

22. Испытание оросителя на устойчивость к воздействию туманной среды из соляных брызг (п. 6.1.15) проводят во влажной смеси паров хлорида натрия и воздуха в течение (240 ±2) ч. Рабочая температура должна быть (35 ±2) °С. Плотность водного раствора хлорида натрия должна быть в пределах от 1,126 до 1,157 кг/дм3 включительно при температуре 20 °С; водородный показатель от 6,5 до 7,2 включительно; объем рабочей камеры (0,40 ±0,03) м3. Ороситель должен быть подвешен в нормальном монтажном положении. Соляной раствор подают из резервуара через распылитель рециркуляцией. Туман должен быть таким, чтобы с каждых 80 см2 площади можно было собрать за час от 1 до 2 мл раствора. Пробы берут в любых двух местах камеры. Отбор проб проводят не менее одного раза в день. Соляной раствор, стекающий с испытываемых образцов, не должен возвращаться в резервуар для рециркуляции. Температуру испытаний регистрируют постоянно.

Через (240 ±2) ч ороситель удаляют из камеры, промывают в дистиллированной воде и сушат в течение 7 суток при температуре (20 ±5) °С и относительной влажности не более 70 %.

По окончании испытания не должно быть признаков разрушения деталей оросителя, зашлакования проходного канала и выходного отверстия оросителя.

23. Испытание оросителя на удароустойчивость (п. 6.1.16) проводят следующим образом. С высоты (1,00 ±0,05) м на розетку или на торцевую выходную плоскость оросителя падает стальной груз, имеющий форму цилиндра диаметром (12,7 ±0,3) мм и массу, эквивалентную массе оросителя, ±5 %. Груз устанавливают соосно в бесшовной трубе с внутренним диаметром (14 ±1) мм, которая служит в качестве направляющей для груза. Ороситель устанавливают штуцером на стальную опору.

Наличие на оросителе после падения груза механических повреждений, разрывов, деформации или иных дефектов не допускается.

24. Испытание спринклерного оросителя с разрывным термочувствительным элементом (колбой) на устойчивость к воздействию смены температур (тепловой удар) (п. 6.1.9) проводят путем его выдержки при температуре (20 ±5) °С в течение не менее 30 мин. Затем ороситель погружают в емкость с жидкостью вместимостью не менее 3 л с температурой на (10 ±2) °С ниже номинальной температуры срабатывания оросителя (выдержка в этой среде не менее 10 мин), после чего ороситель погружают в емкость с объемом дистиллированной воды не менее 3 л и температурой (10 ±1) °С на время не менее 1 мин. Ориентация оросителей - вертикально штуцером вниз.

Наличие признаков повреждения колбы не допускается.

25. Испытание оросителя с разрывным термочувствительным элементом (колбой) на теплостойкость (воздействие повышенной температуры) (п. 6.1.10) проводят путем его нагревания в ванне с объемом рабочего тела не менее 3 л на каждый ороситель от температуры (20 ±5) °С до температуры на (11 ±1) °С ниже номинальной температуры срабатывания со скоростью не более 20 ºС/мин. Затем температуру повышают со скоростью не более 1 °С/мин до температуры, которая на 5 °С ниже нижнего предельного значения номинальной температуры срабатывания, указанной в табл. 2. После этого ороситель охлаждают на воздухе при температуре (20 ±5) °С в течение не менее 10 мин. Каждый ороситель испытывают не менее 5 раз.

Утечка жидкости из колбы или ее разрушение не допускаются.

26. Испытание оросителя на прочность при гидравлическом ударе (п. 6.1.18) проводят повышением давления от (0,4 ±0,1) МПа до (2,50 ±0,25) МПа со скоростью (10 ±1) МПа/с. Общее количество циклов должно быть не менее 3000.

Наличие течи, механических повреждений, остаточных деформаций элементов оросителя и разрушение теплового замка не допускаются.

27. Испытание на пробный вакуум (п. 6.1.8) проводят путем создания во входной полости оросителя разрежения (61,3 ±3,0) кПа в течение не менее 1 мин.

28. Испытание оросителя на прочность (п. 6.1.6) проводят в течение не менее 3 мин при достижении гидравлического давления (3,00 ±0,05) МПа. Время нарастания давления не менее 15 с. Затем давление сбрасывают до нуля и повышают за время не менее 5 с до (0,05 ±0,01) МПа.

Ороситель выдерживают при этом давлении не менее 15 с, после чего давление за время не менее 5 с увеличивают до (1,00 ±0,05) МПа, и ороситель выдерживают при этом давлении не менее 15 с.

Наличие течи и механических повреждений, остаточных деформаций корпуса, разрушение теплового замка не допускаются.

29. Испытание оросителя на герметичность (п. 6.1.7) проводят при пневматическом давлении (0,60 ±0,03) МПа. Каждое испытание проводят в течение не менее 3 мин. Скорость нарастания давления не более 0,1 МПа/с.

Утечка воздуха через уплотнение запорного устройства не допускается.

30. Проверку номинальной температуры срабатывания (п. 6.1.5) проводят путем нагрева оросителей в жидкой ванне с объемом рабочего тела не менее 3 л на каждый ороситель от температуры (20 ±5) °С до температуры на (20 ±2) °С ниже номинальной температуры срабатывания со скоростью не более 20 °С/мин. Ороситель при этой температуре выдерживают в течение не менее 10 мин, а затем температуру повышают с постоянной скоростью не более 1 °С/мин до тех пор, пока тепловой замок не разрушится.

Температура срабатывания не должна превышать значений, указанных в табл. 2.

31. Проверку условного времени срабатывания спринклерного оросителя (п. 6.1.5) проводят путем помещения оросителя, находящегося при температуре (20 ±2) °С, в термостат с температурой окружающего воздуха на (30 ±2) °С выше номинальной температуры срабатывания.

Условное время срабатывания оросителя с момента помещения его в термостат не должно превышать значений, указанных в табл. 2.

32. Проверку условного времени срабатывания спринклерного оросителя для подвесных потолков (п. 6.1.5) проводят по НПБ 68-98.

33. Срабатывание запорного устройства оросителя (п. 6.1.11) проверяют при минимальном рабочем давлении (±0,01) МПа и давлении (1,00 ±0,05) МПа. В качестве источника тепла используют пламенные или беспламенные нагревательные устройства. Проверяют пять оросителей при минимальном рабочем давлении и пять - при максимальном рабочем давлении, но не менее 1,00 МПа.

При срабатывании оросителя заклинивание или зависание деталей запорного устройства не допускается.

34. Испытание оросителя на термостойкость (п. 6.1.19) проводят следующим образом: корпус оросителя ставят на торец штуцера в камеру тепла (холода) при температуре соответственно (800 ±20) °С (минус 60 ±5) °С на 15 мин. После этого корпус удаляют из камеры тепла (холода) и опускают в водяную ванну объемом не менее 3 л на каждый ороситель с температурой (20 ±5) °С на время не менее 1 мин, при этом корпус не должен деформироваться или разрушаться.

35. Проверку проходного канала розеточных разбрызгивателей (п. 6.1.20) осуществляют следующим образом: разбрызгиватель закрепляют на штативе штуцером вверх; металлический шарик диаметром (6,0-0,1) мм опускают в канал штуцера - шарик должен беспрепятственно проходить через проходной канал разбрызгивателя. Наличие фильтра или необходимость его устройства определяется после проверки проходного канала и выходного отверстия.

36. Испытание на прочность розетки, дужек и/или корпуса (п. 6.1.17) проводят при разбрызгивании или распыливании воды под давлением, равным 1,25 Рмакс.раб (+5) %, но не менее 1,25 МПа (+5) %, в течение не менее 1,5 мин.

Наличие механических повреждений, остаточных деформаций и разрушений не допускается.

37. Коэффициент производительности оросителя К (п. 6.1.2) определяют при давлении, равном (50 ±5) % от Рмакс.раб, по формуле

где Q - расход воды или водного раствора через ороситель, л/с;

Р - давление перед оросителем, МПа.

Ороситель устанавливают в рабочем положении на участке подводящего трубопровода диаметром (40 ±5) мм на расстоянии не менее 250 мм от заглушенного торца трубопровода. Манометр устанавливают на расстоянии (250 ±10) мм перед оросителем. Длина прямолинейного участка трубопровода до места установки манометра должна составлять не менее 1600 мм.

38. Проверку равномерности, интенсивности орошения и защищаемой площади для водяных оросителей общего назначения и для подвесных потолков (п. 6.1.2) монтажного расположения типа В, H или У проводят следующим образом. Мерные банки размером (250 ±1)×(250 ±1) мм и высотой не менее 150 мм устанавливают вплотную друг к другу или в шахматном порядке (рис. 2), интервал между осями банок (0,50 ±0,01) м.

Рис. 2. Схема расположения мерных банок при испытании водяных оросителей типа В, Н, У:

О - ороситель;- мерные банки; a и b не менее 30°

При испытаниях водяных оросителей монтажного расположения типа Г и Гв мерные банки размещают вплотную друг к другу или в шахматном порядке на площади прямоугольника, ограниченного полуосью направления потока, - сторона L, и полуосью, перпендикулярной к направлению потока, - сторона В (рис. 3). Площадь прямоугольника должна составлять 6 м2, а соотношение сторон L:B равно 4:1,5.

Первый ряд по стороне В устанавливают на расстоянии (0,20 ±0,02) м по направлению потока от крайней точки проекции конца розетки оросителя.

Ороситель устанавливают на высоте (2,50 ±0,05) м от верхнего среза мерных банок (расстояние измеряют от розетки оросителя).

Плоскость дужек розеточных оросителей типа В, Н, У ориентируют по диагонали квадрата, на котором установлены мерные банки (рис. 2). Ориентацию других видов оросителей типа В, H, У осуществляют согласно ТД или по решению испытательной организации. Оросители типа Г и Гв ориентируют таким образом, чтобы плоскость направления подачи потока ОТВ была параллельна плоскости, проходящей вдоль площади, на которой размещены мерные банки.

Подачу воды из трубопровода осуществляют при минимальном рабочем давлении ±5 %. Продолжительность подачи воды не менее 2,5 мин или равна времени заполнения одной из мерных банок.

Среднюю интенсивность орошения водяного оросителя qcp, л/(м2·с), рассчитывают по формуле

,

где qi - интенсивность орошения в i-й мерной банке, л/(м2·с); п - число мерных банок, установленных на защищаемой площади.

Интенсивность орошения в i-й мерной банке qi, л/(м2·с), определяют по формуле

,

где Vib - объем воды (водного раствора), собранный в i-й мерной банке, л; F - площадь мерной банки, м2; tb - время орошения, с.

Рис. 3. Схема расположения мерных банок при испытании водяных оросителей типа Г и Гв:

 - направление тока; О - ороситель;  - мерные банки

Равномерность орошения, характеризуемую значением среднего квадратического отклонения S, (л/м2·с), рассчитывают по формуле

.                                                    (1)

Коэффициент равномерности орошения R рассчитывают по формуле

.                                                                    (2)

Оросители считают выдержавшими испытания, если средняя интенсивность орошения не ниже нормативного значения и количество мерных банок с интенсивностью орошения менее 50 % от нормативной интенсивности при коэффициенте равномерности орошения не более 0,5 не превышает:

при расположении мерных банок вплотную друг к другу: шести - для оросителей типа В, Н, У и двенадцати - для оросителей типа Г и Гв;

при расположении мерных банок в шахматном порядке: трех - для оросителей типа В, Н, У и шести - для оросителей типа Г и Гв.

Оросители считают также выдержавшими испытания, если интенсивность орошения в мерных банках менее нормативного значения (при этом коэффициент равномерности не учитывают) в следующих случаях:

при расположении мерных банок вплотную друг к другу: в шести мерных банках - для оросителей типа В, Н, У и двенадцати - для оросителей типа Г и Гв;

при расположении мерных банок в шахматном порядке: в трех мерных банках - для оросителей типа В, Н, У и шести - для оросителей типа Г и Гв.

39. Испытания оросителей для стеллажных складов на интенсивность, равномерность орошения и защищаемую площадь (п. 6.1.2) проводят следующим образом.

Ороситель устанавливают так, чтобы расстояние между розеткой оросителя и экраном составляло (150 ±5) мм, а от розетки до края мерных банок (50 ±5) мм.

Мерные банки размером (250 ±1)×(250 ±1) мм и высотой не менее 150 мм размещают в пределах 1/4 площади орошения вплотную друг к другу.

Для оросителей с dy = 10 и 12 мм мерные банки расставляют одна к одной соответственно защищаемой площади, как указано на рис. 4, а для оросителей с dy = 15 мм мерные банки устанавливают в шахматном порядке согласно рис. 5. Порядок определения равномерности, интенсивности орошения, защищаемой площади и ориентации оросителей относительно площадки, на которой установлены мерные банки, аналогичен порядку, изложенному в п. 38.

Ороситель считают выдержавшим испытания, если количество мерных банок с интенсивностью орошения менее 50 % от нормативной интенсивности при коэффициенте равномерности не более 0,5 не превышает:

одной - для оросителей с условным диаметром выходного отверстия dy = 10 и 12 мм;

четырех - для оросителей с условным диаметром выходного отверстия dy = 15 мм при расположении мерных банок вплотную друг к другу;

двух - для оросителей с условным диаметром выходного отверстия dy = 15 мм при расположении мерных банок в шахматном порядке.

Рис. 4. Схема расположения мерных банок при испытании оросителей для стеллажных складов с dy=10 и 12 мм:

О - ороситель; Х - мерные банки только для оросителей с dy = 12 мм; XX - мерные банки для оросителей с dy = 10 и 12 мм; a и b не менее 30°

Оросители считают также выдержавшими испытания, если интенсивность орошения мерных банок менее нормативного значения (при этом коэффициент равномерности не учитывают) в следующих случаях:

для оросителей с условным диаметром выходного отверстия dy = 10 и 12 мм - в одной мерной банке;

для оросителей с условным диаметром выходного отверстия dy = 15 мм:

в четырех мерных банках - при расположении мерных банок вплотную друг к другу;

в двух мерных банках - при расположении мерных банок в шахматном порядке.

Рис. 5. Схема расположения мерных банок при испытании оросителей для стеллажных складов с dy = 15 мм:

 - ороситель;  - мерные банки; a и b не менее 30°

40. Проверку защищаемой площади, равномерности и интенсивности орошения распылителями (п. 6.1.2) проводят по специально разработанным методикам или по методикам, изложенным в ТУ на испытываемое изделие.

41. Определение дисперсности распыленной струи воды проводят методом улавливания капель воды на специальную смесь жидкостей, состоящую из 1/4 весовой части технического вазелина и 3/4 частей вазелинового масла. Плошки с маслом (количеством не менее 3 с площадью захвата не менее 7 см2 каждая) расставляют в плоскости, перпендикулярной оси распылителя, на расстоянии, равном половине дальности эффективного действия струй, равномерно от центра к максимальному радиусу факела струи. Плошки накрывают отсекателем, который убирают после выхода распылителя на рабочий режим на время, необходимое, чтобы в плошке фиксировалось не менее 100 капель и при этом оставалось свободное пространство между каплями. Давление подачи должно соответствовать минимальному рабочему давлению. Затем плошки фотографируют под микроскопом. Средний арифметический диаметр капель dk, мкм, в отдельной плошке определяют по формуле

,

где di - диаметр капли в заданном интервале размеров, мкм;

пi - число капель диаметром di.

Средний диаметр капель вычисляют как среднее арифметическое значение диаметров капель во всех плошках.

42. Проверку равномерности орошения, расхода воды на 1 м ширины завесы, формы и размера водяной завесы (защищаемой площади) оросителей, формирующих вертикальное направление водяного потока (п. 6.1.2), проводят следующим образом.

42.1. Мерные банки размером (250 ±1)×(250 ±1) мм и высотой не менее 150 мм размещают вплотную друг к другу или в шахматном порядке на площади прямоугольной формы, соответствующей форме защищаемой площади, указанной в ТД. Монтаж оросителя на стенде (высота над кромкой мерных банок, место расположения оросителя и ориентация оросителя относительно защищаемой площади) осуществляют согласно ТД на испытываемое изделие или по решению испытательной организации.

При концентричном орошении относительно оси оросителя мерные банки устанавливают вплотную друг к другу или в шахматном порядке в пределах 1/4 площади орошения (рис. 6), расстояние R принимают согласно ТД.

Рис. 6. Схема расположения мерных банок при испытании оросителей, формирующих концентричное орошение:

О - ороситель;  - мерные банки

Параметры подводящего трубопровода аналогичны параметрам трубопровода при проведении проверки коэффициента производительности (п. 37).

42.2. Если глубина водяной завесы (защищаемой площади) равна или менее ширины мерной банки, т.е. 250 мм или менее, то мерные банки устанавливают равномерно и соосно защищаемой зоне, причем расположение крайних мерных банок должно совпадать с границами защищаемой площади по ее ширине (рис. 7, а).

42.3. Если глубина водяной завесы (защищаемой площади) находится в пределах от 251 до 500 мм включительно, то мерные банки устанавливают равномерно в два ряда в перехлест, причем их расположение должно совпадать с контуром защищаемой площади (рис. 7, б).

42.4. Если ширина и глубина водяной завесы (защищаемой площади) более 500 мм, то мерные банки размещают равномерно в пределах защищаемой площади, причем периферийные ряды мерных банок должны совпадать с контуром защищаемой площади (рис. 7, в).

42.5. Количество мерных банок и межосевое расстояние между ними, с учетом условий, изложенных в пп. 42.2 - 42.4, рассчитывают следующим образом.

42.5.1. Количество мерных банок k в одном ряду по глубине завесы определяют по формуле (целое число без учета дробного остатка)

,                                                                       (3)

где В - глубина водяной завесы (защищаемой зоны), мм.

42.5.2. Межосевое расстояние между мерными банками DB в ряду по глубине завесы В определяют по формуле

,

где R - числитель дробного остатка согласно формуле (3), мм.

42.5.3. Количество мерных банок l в ряду по ширине завесы L определяют по формуле (целое число без учета дробного остатка)

.                                                                    (4)

42.5.4. Межосевое расстояние между смежными мерными банками DL в ряду по ширине завесы L в миллиметрах определяют по формуле

,

где r - числитель дробного остатка согласно формуле (4), мм.

42.6. При глубине водяной завесы 250 мм и менее и ширине защищаемой зоны более 3000 мм допускается мерные банки располагать через одну относительно их расположения, описанного в п. 42.2 (см. рис. 7, а).

42.7. При расчетном количестве мерных банок более 32 шт. допускается мерные банки располагать согласно рис. 7, г. При этом следует руководствоваться условием, что количество мерных банок по данному варианту должно быть не менее 32 шт. Мерные банки устанавливают равномерно, не выходя за пределы контура защищаемой площади, расположение периферийных мерных банок должно совпадать с контуром защищаемой площади.

42.8. Межосевое расстояние в ряду между мерными банками DLш и между рядами мерных банок DВш, (мм) при расположении банок согласно рис. 7, г определяют по формулам

,

,

где DL и DВ - межосевое расстояние согласно рис. 7, б и в;

п - коэффициент, равный натуральному числу, при котором количество мерных банок, размещаемых в той же зоне, не менее 32 шт.

Рис. 7. Схема расположения мерных банок при испытании оросителей, формирующих вертикальное направление потока ОТВ:

 - мерная банка;  - защищаемая площадь; L - ширина защищаемой площади; В - глубина защищаемой площади; DL, DLш - межосевое расстояние между смежными мерными банками в ряду по ширине завесы; DВ, DВш - межосевое расстояние между смежными мерными банками в ряду по глубине завесы; a - глубина завесы 250 мм и менее; б - глубина завесы от 251 до 500 мм включительно; в - ширина и/или глубина завесы более 500 мм (расчетное количество мерных банок не более 32 шт.); г - ширина и глубина завесы более 500 мм (расчетное количество мерных банок более 32 шт.)

42.9. Если, согласно технической документации, разница в диапазоне допускаемых высот расположения оросителя относительно пола составляет более 0,5 м, то испытания каждого оросителя проводят при двух предельных значениях высоты.

42.10. Если ороситель предназначен для напольного монтажа, то за эквивалент поверхности пола принимают плоскость, проходящую по верхним кромкам мерных банок. Если при этом проекция оросителя в соответствии с техническими требованиями находится в защищаемой площади (т.е. в зоне расположения мерных банок), то мерную банку в месте установки оросителя изымают.

42.11. Подачу воды из трубопровода осуществляют при номинальном рабочем давлении ±5 %. Продолжительность подачи воды не менее 2,5 мин или равна времени заполнения одной из мерных банок. При номинальном рабочем давлении, равном или более 0,1 МПа, и площади выходного отверстия более 1,1 см2 продолжительность подачи воды должна быть не менее 1,5 мин.

42.12. Расход воды на 1 м ширины завесы q одного ряда мерных банок по глубине завесы определяют по формуле

,                                                (5)

где qi - расход воды, приходящийся на 1 м ширины завесы, в i-й мерной банке, л/(м·с).

Расход qi определяют по формуле

,                                                            (6)

где Vi - объем воды, собранный в i-й мерной банке, л; t - время орошения, с.

Средний расход Q на 1 м ширины завесы, приведенный ко всей ширине завесы, определяют по формуле

,                                                             (7)

где l - число смежных мерных банок, установленных в ряду вдоль защищаемой площади (по ширине завесы).

42.13. Равномерность орошения характеризуется значением среднего квадратического отклонения S, которое определяют по формуле

.                                                  (8)

42.14. Коэффициент равномерности орошения R определяют по формуле

.                                                                  (9)

42.15. Оросители считают выдержавшими испытания при расходе воды на 1 м ширины завесы для рядов мерных банок по глубине завесы q, равном или более 50 % от заданного расхода, при коэффициенте равномерности орошения не более 0,5 и расходе воды на 1 м ширины завесы, приведенном ко всей ширине завесы, не менее заданного значения. Если не менее 75 % рядов по глубине завесы имеют расход воды на 1 м ширины завесы, равный или более заданного значения, и расход на 1 м ширины завесы, приведенный ко всей ширине завесы, не менее заданного значения, то коэффициент равномерности не учитывают.

43. Проверку равномерности орошения, расхода воды на 1 м ширины завесы, ширины и глубины водяной завесы (защищаемой площади) для оросителей, формирующих горизонтальное направление водяного потока (п. 6.1.2), проводят следующим образом.

43.1. Устанавливают ороситель на испытательном стенде (рис. 8) по схеме, аналогичной монтажной схеме размещения оросителя относительно воображаемого защищаемого проема, приведенной в ТД на данный ороситель. Мерные банки размером (250 ±1)×(250 ±1) мм и высотой не менее 150 мм размещают таким образом, чтобы стекающая с вертикальной поверхности вода или водный раствор полностью собирались в смежные со стеной мерные банки. Размещение оросителя относительно защищаемой вертикальной плоскости должно соответствовать требованиям ТД на данный тип оросителя (или принимается по решению испытательной организации).

43.2. Количество мерных банок z1 в каждом ряду по глубине завесы при направлении потока воды или водного раствора перпендикулярно стене определяют по формуле (целое число без учета дробного остатка)

,

где Z - расстояние от стены до оросителя, мм.

Рис. 8. Схема размещения оросителей и мерных банок при испытании оросителей, формирующих горизонтальное направление потока ОТВ:

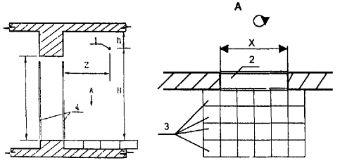
1 - ороситель; 2 - воображаемый проем; 3 - мерные банки; 4 - линии воображаемого проема; h, H, Z - расстояния соответственно от розетки оросителя до потолка, до нижней плоскости воображаемого проема и до стены, указанные в технической документации на данный тип оросителя; Х - ширина проема; У - высота проема

43.3. Количество мерных банок z2 в каждом ряду по глубине завесы при направлении потока воды или водного раствора вдоль стены определяют по формуле (целое число без учета дробного остатка)

.

43.4. Количество мерных банок х в каждом ряду по ширине завесы определяют по формуле (целое число без учета дробного остатка)

,

где Х - ширина проема, мм.

43.5. При расчетном количестве банок более 32 шт. допускается устанавливать банки на равном расстоянии друг от друга в рядах по ширине и глубине завесы таким образом, чтобы общее количество мерных банок было не менее 32 шт.

43.6. Подачу воды из трубопровода осуществляют при минимальном рабочем давлении ±5 %. Продолжительность подачи воды не менее 2,5 мин или равна времени заполнения одной из мерных банок.

Параметры подводящего трубопровода аналогичны параметрам трубопровода при проведении проверки коэффициента производительности (п. 37).

43.7. Расход воды по ширине ниспадающей завесы определяют по формулам (5) - (7).

43.8. Равномерность орошения рассчитывают по формуле (8).

43.9. Коэффициент равномерности орошения рассчитывают по формуле (9).

43.10. Оросители считают выдержавшими испытания при расходе воды на 1 м ширины завесы для рядов мерных банок по глубине завесы q, равном или более 50 % от заданного расхода воды, при коэффициенте равномерности орошения не более 0,5 и расходе воды на 1 м ширины завесы, приведенном ко всей ширине завесы, не менее заданного значения. Если не менее 75 % рядов по глубине завесы имеют расход воды на 1 м ширины завесы, равный или более заданного значения, и расход воды на 1 м ширины завесы, приведенный ко всей ширине завесы не менее заданного значения, то коэффициент равномерности не учитывают.

44. Проверку кратности пены, защищаемой площади, равномерности и интенсивности орошения пенными оросителями (п. 6.1.2) проводят следующим образом.

44.1. Мерные банки размером (500 ±2)×(500 ±2) мм и высотой не менее 100 мм располагают вплотную одна к другой (рис. 9). Ороситель устанавливают на высоте (2,50 ±0,05) м от верхнего среза мерных банок (расстояние измеряется от розетки). Ориентация оросителя относительно площади, на которой установлены мерные банки, аналогична указанной в п. 38.

Рис. 9. Схема расположения мерных банок при испытании пенных оросителей:

О - ороситель;  - мерные банки; a и b - не менее 30°

44.2. Тип пенообразователя и его концентрация - согласно ТД на пенные оросители (при сертификационных испытаниях используют один из пенообразователей, указанных в ТД). Подачу раствора пенообразователя осуществляют при минимальном рабочем давлении ±5 %. Испытание заканчивают в момент заполнения пеной одной из мерных банок, фиксируя время ее заполнения.

44.3. Среднюю интенсивность орошения пенного оросителя qcp определяют по формуле (1), а интенсивность орошения в i-й мерной банке qi, л/(с·м), рассчитывают по формуле

,

где Vin - объем жидкой фазы раствора пенообразователя, собранной в i-й мерной банке, л; tn - время подачи раствора пенообразователя, с.

44.4. Равномерность орошения пенным оросителем определяют по формуле (1), коэффициент равномерности орошения - по формуле (2).

44.5. Оросители считают выдержавшими испытания, если при коэффициенте равномерности орошения не более 0,5 количество мерных банок с интенсивностью орошения менее 50 % от нормативной интенсивности - не более двух. При этом средняя интенсивность орошения должна быть не менее нормативной. Оросители считают также выдержавшими испытания, если интенсивность орошения мерных банок (кроме двух мерных банок) более нормативной. При этом коэффициент равномерности не учитывают.

44.6. Кратность пены определяют как отношение объема пены в мерной банке к объему раствора пенообразователя, осажденного в данной банке.

45. Проверку равномерности и интенсивности орошения защищаемой площади оросителями, предназначенными для пневмо- и массопроводов, и оросителями специального назначения (п. 6.1.2) проводят по специально разработанным методикам или по методикам, изложенным в ТД на испытываемое изделие.

46. Испытания привода оросителей (п. 6.1.22) проводят по специально разработанным методикам или по методикам, изложенным в ТД на испытываемое изделие.

47. Оформление результатов испытаний

Результаты испытаний на соответствие требованиям настоящих норм оформляют в виде протоколов. Протоколы испытаний должны содержать условия, режимы и результаты испытаний, а также сведения о дате и месте проведения испытаний, условное обозначение образцов и их краткую характеристику. Результаты сертификационных испытаний, представляемые в орган по сертификации, оформляются в соответствии с требованиями Системы сертификации в области пожарной безопасности.

VII. КОМПЛЕКТНОСТЬ ПОСТАВКИ НА СЕРТИФИКАЦИОННЫЕ ИСПЫТАНИЯ

48. В комплект поставки оросителей на сертификационные испытания должны входить:

оросители в количестве не менее 75 шт.;

техническое описание, инструкция по монтажу и эксплуатации;

паспорт (или паспорт, совмещенный с техническим описанием и инструкцией по эксплуатации), заверенный организацией-изготовителем или ее представительством в России;

чертежи общего вида с присоединительными и монтажными размерами (для оросителей с принудительным приводом - также электрические схемы);

комплект запасных частей и принадлежностей, необходимых для монтажа, испытаний и обслуживания;

электрический кабель для включения оросителя с принудительным приводом в электрическую сеть длиной не менее 5 м;

протоколы испытаний, проведенных заводскими или специализированными организациями.

49. Документация на иностранном языке должна быть переведена на русский язык и оформлена в том виде, в каком она будет поставляться отечественным потребителям. Переводы документации на русский язык должны быть заверены организацией-изготовителем или ее представительством в России.

50. В технической документации на оросители должны быть указаны следующие данные:

давление, при котором обеспечивается нормативная интенсивность орошения защищаемой площади для оросителей общего назначения и оросителей для подвесных потолков;

давление, высота установки оросителя, форма и размер водяной завесы (защищаемой площади), в пределах которых обеспечивается расход воды, равный 1 л/с на 1 м ширины завесы, для оросителей для водяных завес;

давление и защищаемая площадь для оросителей для пневмо- и массопроводов, а также для оросителей специального назначения, при которых обеспечивается заданная в ТД интенсивность орошения;

диапазон рабочих давлений;

коэффициент производительности;

диаметр (или линейные размеры) выходного отверстия (входных отверстий) оросителя;

эпюры орошения;

показатели тепловой инерционности (Km, Кп согласно ГОСТ Р 51043-97) спринклерных оросителей общего назначения с номинальной температурой срабатывания не выше 93 °С.

VIII. НОРМАТИВНЫЕ ССЫЛКИ

51. В настоящих нормах использованы ссылки на следующие стандарты и нормы:

ГОСТ 6211-81 Основные нормы взаимозаменяемости. Резьба трубная коническая.

ГОСТ 6357-81 Основные нормы взаимозаменяемости. Резьба трубная цилиндрическая.

ГОСТ 6424-73 Зев (отверстие), конец ключа и размер «под ключ».

ГОСТ 13682-80 Места под ключи гаечные. Размеры.

ГОСТ 15150-69 Машины, приборы и другие технические изделия. Исполнения для различных климатических районов. Категории, условия эксплуатации, хранения и транспортирования в части воздействия климатических факторов внешней среды.

ГОСТ 16093-81 Основные нормы взаимозаменяемости. Резьба метрическая. Допуски. Посадки с зазором.

ГОСТ Р 51043-97 Установки водяного и пенного пожаротушения автоматические. Оросители спринклерные и дренчерные. Общие технические требования. Методы испытаний.

НПБ 68-98 Оросители водяные спринклерные для подвесных потолков. Огневые испытания.

СОДЕРЖАНИЕ

 

 




ГОСТЫ, СТРОИТЕЛЬНЫЕ и ТЕХНИЧЕСКИЕ НОРМАТИВЫ.
Некоммерческая онлайн система, содержащая все Российские Госты, национальные Стандарты и нормативы.
В Системе содержится более 150000 файлов нормативно-технической документации, действующей на территории РФ.
Система предназначена для широкого круга инженерно-технических специалистов.

Рейтинг@Mail.ru Яндекс цитирования

Copyright © www.gostrf.com, 2008 - 2026