Крупнейшая бесплатная информационно-справочная система онлайн доступа к полному собранию технических нормативно-правовых актов РФ. Огромная база технических нормативов (более 150 тысяч документов) и полное собрание национальных стандартов, аутентичное официальной базе Госстандарта. GOSTRF.com - это более 1 Терабайта бесплатной технической информации для всех пользователей интернета. Все электронные копии представленных здесь документов могут распространяться без каких-либо ограничений. Поощряется распространение информации с этого сайта на любых других ресурсах. Каждый человек имеет право на неограниченный доступ к этим документам! Каждый человек имеет право на знание требований, изложенных в данных нормативно-правовых актах!

  


 

ОГРАНИЧИТЕЛЬ НАГРУЗКИ КРАНА
(ОГРАНИЧИТЕЛЬ ГРУЗОПОДЪЕМНОСТИ)

ОНК-140-13

Москва
ПИО ОБТ
2002

СОГЛАСОВАНО

с Госгортехнадзором России
29.05.98

УТВЕРЖДЕНО

ОАО ”Арзамасский
приборостроительный завод”
29.05.98

Руководство по эксплуатации

ЛГФИ.408844.009-13 РЭ

Согласно требованиям правил устройства и безопасной эксплуатации грузоподъемных кранов (ПБ 10-382-00)*, утвержденных постановлением Госгортехнадзора России от 31.12.99 № 98, стреловые краны для предупреждения их опрокидывания и разрушения их узлов должны быть оборудованы ограничителем грузоподъемности, автоматически отключающим механизмы подъема груза и изменения вылета в случае подъема груза, масса которого превышает грузоподъемность для данного вылета более чем на 10 %.

* Далее по тексту - Правила.

Руководство по эксплуатации ограничителя нагрузки крана (ограничителя грузоподъемности) ОНК-140-13** для кранов на специальном шасси автомобильного типа разработано во исполнение требований правил и в соответствии с ГОСТ 2.601-95 "Единая система конструкторской документации. Эксплуатационные документы".

** Далее по тексту - прибор.

Руководство по эксплуатации прибора для кранов типа КС-6476*** содержит сведения о конструкции и принципе действия прибора, указания по правильной и безопасной эксплуатации, техническому обслуживанию прибора, правила его хранения, упаковки и транспортирования.

*** Далее по тексту - Руководство по эксплуатации ЛГФИ.408844.009-13 РЭ.

Руководство по эксплуатации ЛГФИ.408844.009-13 РЭ входит в состав обязательных эксплуатационных документов, предусмотренных паспортами крана КС-6476 и его модификаций.

1. ОПИСАНИЕ И РАБОТА ПРИБОРА

1.1. Назначение прибора

1.1.1. Прибор предназначен для установки на стреловые краны на автомобильном шасси со стрелами, имеющими гидравлический привод, и служит для защиты крана от перегрузок и опрокидывания при подъеме и перемещении груза, для защиты рабочего оборудования от повреждения при работе в стесненных условиях или в зоне линии электропередач - ЛЭП (координатная защита) и для отображения информации о фактической массе поднимаемого груза, предельной грузоподъемности, степени загрузки крана, величине вылета, высоте подъема оголовка стрелы, ее длине и угле наклона относительно горизонта.

Встроенный в прибор регистратор параметров - блок телеметрической памяти (БТП) - обеспечивает запись и долговременное хранение информации о рабочих параметрах крана, указанных в п. 1.2.1, а также о степени загрузки крана в течение всего срока службы ограничителя (12 лет). Порядок работы с БТП приведен в Инструкции пользователя ЛГФИ.408844.009 И1 (см. приложение к Руководству по эксплуатации ЛГФИ.408844.009-13 РЭ).

1.1.2. В зависимости от режима работы и геометрии рабочего оборудования крана прибор производит выборку одной из заложенных в память БТП программ грузовых характеристик и воспроизводит ее в виде заградительной функции, т.е. в виде зависимости между вылетом и массой груза, при превышении которой формируются выходные команды управления блокировочными устройствами грузоподъемных механизмов.

1.2. Характеристики прибора

1.2.1. Прибор выдает цифровую информацию:

о моменте опрокидывания крана Мопр (в процентах относительно его максимально допустимого значения с учетом момента, создаваемого стрелой без груза, если Мопр  100 %) или о степени загрузки крана (в процентах относительно максимальной грузоподъемности, если Мопр > 100 %);

о величине вылета крюка R, м;

о фактической массе поднимаемого груза Q, т;

о длине стрелы L, м;

о высоте подъема оголовка стрелы H, м;

о максимальной грузоподъемности Qmax, т, на данном вылете R, м;

об угле поворота платформы γ, градусы;

об угле наклона стрелы относительно горизонта a, градусы;

о температуре охлаждающей жидкости двигателя, °С;

о давлении масла в двигателе, атм;

о температуре масла в гидросистеме, °С;

о величинах трех давлений в гидросистеме крана, атм.

1.2.2. Прибор сигнализирует:

зеленым индикатором "Норма" - о нормальном режиме работы крана;

желтым или зеленым индикатором "90 %" и прерывистым звуковым сигналом - о том, что кран загружен не менее чем на 90 % и/или о выходе за пределы допуска хотя бы одного параметра двигателя и гидросистемы (с одновременным миганием единичного индикатора, отвечающего за этот параметр);

красным индикатором "Стоп", прерывистым звуковым сигналом (и отключает механизмы крана) - о превышении допустимого значения грузового момента, заложенного в программу на любом из режимов его работы;

красным индикатором - о срабатывании концевого выключателя механизма подъема крюка;

красным индикатором - о срабатывании обогревателя (термостата) прибора;

красным индикатором - о наличии на приборе напряжения +5 В;

красными индикаторами - о выбранных крановщиком для работы стреловом оборудовании, опорном контуре и схеме запасовки грузового каната;

красными индикаторами - о выходе параметров двигателя и гидросистемы за установленные пределы;

включением соответствующих индикаторов (постоянным свечением) - о введении режима координатной защиты (по числу введенных ограничений);

красным индикатором "Стоп", прерывистым звуковым сигналом, отключает механизмы крана и дополнительно включает мигающим светом соответствующие светодиоды по числу введенных ограничений без отключения лампы зеленого света - при достижении заданных ограничений «Стена», «Потолок», «Поворот вправо», «Поворот влево» (координатная защита).

Программно-аппаратные средства ограничителя обеспечивают проверку исправности основных его узлов, линий связи с датчиками и локализуют неисправность путем выдачи на индикатор кода неисправности.

Прибор предназначен для работы в следующих условиях:

при изменении температуры окружающей среды от -45 до +55 °С;

при относительной влажности воздуха до 98 % при температуре +25 °С.

Степень защиты корпуса прибора в соответствии с ГОСТ 14254-96 «Изделия электротехнические. Оболочки. Степени защиты»:

IР50 - для блоков;

IР55 - для датчиков.

Диапазоны измерения и допустимые изменения значений основных параметров и характеристик, а также основные технические данные, не указанные выше, которые должен обеспечивать прибор:

Диапазон измерения:

угла поворота платформы, градусы.................................................................. 15-345

давлений в гидросистеме, МПа........................................................................ 0,1-40

угла наклона стрелы, градусы........................................................................ От -8 до +98

приращения длины стрелы, м...................................................................... 1-18 или 1-26

температуры, °С........................................................................................... От -40 до +100

давления масла в двигателе, МПа..................................................................... 0-1,5

Погрешность отображения информации на индикаторах в статическом режиме, %, не более:

о степени загрузки крана................................................................................. ±3,0

о фактической массе груза................................................................................ ±3,0

о максимальной грузоподъемности**.............................................................. ±1,5

о величине вылета.............................................................................................. ±1,5

о длине стрелы.................................................................................................... ±5,0

об угле наклона стрелы и крене платформы................................................... ±0,2

* Относительно максимального значения для используемой длины стрелы. При массе груза менее 2 т погрешность составляет ±0,1 т.

** При массе груза менее 6 т погрешность составляет ±0,1 т.

Погрешность срабатывания защиты при перегрузке грузоподъемного

механизма, %, не более.......................................................................................... ±3,0

Погрешность включения сигнализации координатной защиты, %, не более:

задания предельного угла поворота платформы крана для

ограничений «Поворот вправо» и «Поворот влево».......................................................................................................................... ±1,0

задания высоты подъема оголовка стрелы для ограничения «Потолок»..... ±1,5

задания проекции вылета стрелы крана на

исходную линию для ограничения «Стена».................................................... ±2,0

Коммутационная способность реле, А, не менее................................................ ±10

Напряжение питания, В......................................................................................... 20-30

Потребляемая мощность, Вт.................................................................................. 45

Диапазон рабочих температур, °С.................................................................. От -45 до +55

1.3 Состав прибора

№ п/п

Наименование составной части

Тип, маркировка

Обозначение

Количество

1

Блок обработки данных*

БОД

ЛГФИ.408843.005-13

1

2

Блок выходных реле

БВР-01

ЛГФИ.484461.001-01

1

3

Преобразователь давления

ПрД

ЛГФИ.406233.001

3

4

Преобразователь давления

ПрД-01

ЛГФИ.406233.001-01

2

5

Датчик угла маятниковый

ДУГМ

ЛГФИ.401221.005

1

6

Датчик азимута

ДА

ЛГФИ.401221.003

1

7

Датчик длины стрелы (вылета)

ДД

ЛГФИ.401161.002-02

1

8

Датчик температуры

TМ-100В

ТУ 37.003.800-77

1

9

Модуль защиты от опасного напряжения

МЗОН

ЛГФИ.411117.001

1

* БТП входит в состав блока обработки данных.

1.4. Устройство и работа прибора

1.4.1. Принцип действия прибора основан на последовательном опросе и преобразовании аналоговых сигналов с датчиков первичной информации в цифровой код, определении угла наклона и длины стрелы, расчете цифровыми методами величины вылета и высоты подъема стрелы (по заданным геометрическим размерам рабочего оборудования крана), а также вычислении фактической массы груза и степени загрузки крана с последующим их сравнением с предельно допустимыми значениями при выбранном режиме работы.

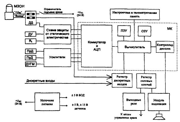
Блок-схема прибора приведена на рис. 1.

Рис. 1. Блок-схема прибора ОНК-140:

МЗОН - модуль защиты от опасного напряжения; ДД - датчик длины стрелы; ДУ - датчик угла (азимута); ДУГМ - датчик угла маятниковый (датчик подъема стрелы); БОД - блок обработки данных; ПрД - преобразователь (датчик) давления; МК - микроконтроллер; ПЗУ и ОЗУ - постоянное и оперативное запоминающие устройства; АЦП - аналого-цифровой преобразователь; Rt - терморезистор - датчик температуры

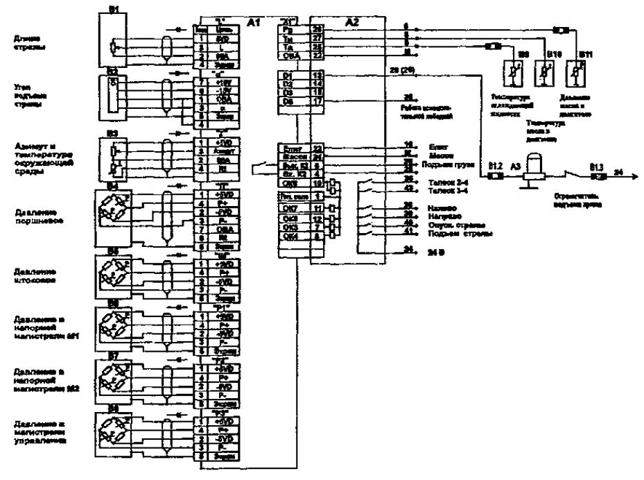
1.4.2. Прибор подключается к системе управления крана (рис. 2) посредством разъемов: через разъем X1 БОД и блок выходных реле проходят цепи управления исполнительными механизмами, цепи питания изделия, сигналы с концевых выключателей, связанных с ручками управления крана; датчики подключаются к прибору через индивидуальные разъемы.


Рис. 2. Схема подключения прибора ОНК-140-13 на кране:

А1 - блок обработки данных; А2 - блок выходных реле; A3 - модуль защиты от опасного напряжения;

В1 - датчик длины стрелы; В2 - датчик угла подъема стрелы маятниковый; В3 - датчик азимута; В4-В8 - преобразователь давления; В9, В 10 - датчик температуры ТМ-100В; В11 - датчик давления MM359

Примечание. Датчики В10, В11 - элементы крана.


1.4.3. Работа прибора осуществляется под управлением программы, заложенной в память микропроцессорного контроллера БОД.

Программное обеспечение включает в себя подпрограмму тестирования, подпрограмму настройки и рабочую программу.

При запуске подпрограммы тестирования (нажатии клавиши «Тест») вычислитель проверяет исправность оперативного запоминающего устройства (ОЗУ), постоянного запоминающего устройства (ПЗУ), аналого-цифрового преобразователя (АЦП), модуля индикации (МИ) и однокристального микропроцессорного контроллера (ОМК). Кроме того, после подачи напряжения питания и в процессе работы ведется контроль состояния линий связи датчиков (на обрыв и замыкание) и контроль исправности ОМК.

При прохождении теста модуля индикации в трех младших разрядах всех индикаторов жидкокристаллических цифровых (ИЖЦ) последовательно отображаются цифры от 9 до 1 (частота смены информации около 1 с) и поочередно (слева направо и сверху вниз) кратковременно включаются светодиодные индикаторы.

Подпрограмма настройки выполняется при установке переключателя «Работа» - «Настройка» в положение «Настройка». Переключатель находится под опломбированной крышкой на верхней или боковой стенке БОД и используется при настройке и привязке прибора на кране. При этом имеется возможность изменения содержимого настроечного ПЗУ.

Рабочая программа выполняется при установке переключателя «Работа» - «Настройка» в положение «Работа».

1.4.4. Управление работой изделия (ввод режимов работы крана и/или параметров координатной защиты, индикация режимов работы и/или рабочих параметров крана) осуществляется с лицевой панели БОД (рис. 3).

Расчет параметров грузоподъемности крана и степени его загрузки осуществляется в БОД по значениям информационных сигналов с датчиков угла наклона стрелы, длины стрелы и давлений (зависящих от массы груза на крюке крана) в полостях гидроцилиндра подъема стрелы с учетом значений сигналов с датчика азимута. По результатам расчета при достижении предельных состояний режимов работы крана (грузоподъемности, углу поворота крана в режиме координатной защиты и др.) БОД выдает сигналы на реле отключения механизмов крана.

Рис. 3. Лицевая панель прибора ОНК-140-13

1.5. Маркировка и пломбирование

1.5.1. Маркировка прибора наносится на боковой стенке БОД и содержит:

товарный знак предприятия-изготовителя (наносится на лицевой панели);

условное обозначение типа прибора и его модификации;

порядковый номер прибора по системе нумерации предприятия-изготовителя.

1.5.2. Маркировка на составные части прибора наносится непосредственно на их корпуса или на жгуты, подходящие к ним, и содержит:

условное обозначение блока в соответствии с подразделом 1.3;

порядковый номер прибора по системе нумерации предприятия-изготовителя.

1.5.3. Пломбирование блоков и датчиков, входящих в комплект прибора, производится ОТК предприятия-изготовителя в местах крепления их крышек (пломбы типа А и Б).

В БОД дополнительно пломбируется (рис. 4) люк для доступа к элементам настройки (пломба типа Б), который пломбируется пломбой предприятия - изготовителя крана.

Рис. 4. Расположение пломб на БОД

1.5.4. Снятие и установку пломб производит инженерно-технический работник, ответственный за содержание грузоподъемных кранов в исправном состоянии, с отметкой в паспорте прибора.

2. ОПИСАНИЕ И РАБОТА СОСТАВНЫХ ЧАСТЕЙ ПРИБОРА

2.1. Блок обработки данных (БОД)

2.1.1. БОД предназначен для выполнения необходимых расчетов, индикации параметров и режимов работы, а также для управления механизмами крана.

БОД, устанавливаемый в кабине крановщика, состоит из трех функционально законченных устройств (ФУ): источника питания (ИП), модулей индикации (МИ) и микропроцессорного контроллера (МК), каждое из которых выполнено на отдельной печатной плате.

Электрическая связь между ФУ, а также между ФУ и выходными разъемами БОД обеспечивается через кросс-плату.

2.1.2. ИП выполнен по схеме импульсного преобразователя с широтно-импульсной модуляцией (ШИМ) и предназначен для преобразования нестабильного входного напряжения ограничителя в стабилизированные напряжения.

ИП вырабатывает следующие стабилизированные напряжения:

Для питания МК и ДУГМ................................................ +15 В (15 мА) и -15 В (15 мА)

Для питания МК и МИ.................................................................................. +5 В (200 мА)

Для питания микросхемы ОМК................................................................... +5 В (15 мА)

Для зарядки аккумулятора (ионистора)...................................................... +5 В (15 мА)

Для питания датчиков...................................................... +5 В (100 мА) и -5 В (100 мА)

2.1.3. МК выполнен на основе большой интегральной схемы ОМК. В состав ОМК входят:

процессор;

ПЗУ емкостью 16 килобайт;

ОЗУ емкостью 512 байт;

14-разрядный АЦП;

6-разрядный коммутатор входа АЦП;

контроллер клавиатуры и индикации.

Кроме ОМК, на плате МК размещены:

силовые ключи управления исполнительными механизмами крана;

входные усилители преобразователей давления (ПрД) и датчика угла маятникового (ДУГМ);

защитные диоды;

дополнительный коммутатор входов АЦП, позволяющий увеличить количество информационных входов до 14;

настроечное ОЗУ для хранения параметров настройки конкретной модели крана;

БТП.

Функционирование прибора полностью определяется программой, «защитой» в ПЗУ МК, и заключается в преобразовании сигналов с аналоговых датчиков в цифровой код, выполнении необходимых математических расчетов, отображении в цифровой форме рассчитанных значений параметров и формировании выходных сигналов управления исполнительными реле.

2.1.4. МИ предназначен для отображения (на трех ИЖЦ) в цифровом виде рабочих параметров и режимов работы (светодиодные индикаторы) крана, выдачи светового и звукового сигналов, предупреждающих об опасности, и ввода режимов работы крана.

На плате МИ размещена также схема управления обогревом, которая включает подогреватели под ИЖЦ при температуре ниже -10 °С.

Плата МИ крепится к лицевой панели БОД.

Назначение элементов индикации и органов управления лицевой панели показано на рис. 3 и приведено ниже.

Зеленый индикатор «Норма» (1) указывает, что кран работает с нагрузкой, безопасной для его конструкции.

Желтый индикатор «90 %» (2) указывает, что нагрузка крана по массе поднимаемого груза составляет более 90 % от максимально допустимой величины.

Красный индикатор «Стоп» (3) сигнализирует о нахождении крана в опасной зоне (превышение допустимого значения грузового момента), при которой фактическая нагрузка превышает 100 %.

Одновременное включение зеленого и красного индикаторов сигнализирует о нахождении стрелы за пределами разрешенной рабочей зоны (нарушение геометрических размеров рабочей зоны крана). Одновременно с включением индикаторов срабатывает реле блокировки движений всех механизмов крана и выдается звуковой сигнал.

Индикаторы «t0», «tм», «Рм», «Р1», «Р2», «Р3» (6-11) указывают на параметр, значение которого будет отображаться на среднем ИЖЦ.

Выбор требуемого для отображения на ИЖЦ параметра осуществляется кнопкой «Выбор П» (36).

Индикаторы «t0», «tм», «Рм», «Р1», «Р2» или «Р3» начинают работать в мигающем режиме, если значение параметра, за который они отвечают, выходит за пределы допуска:

индикатор температуры охлаждающей жидкости двигателя «t0» мигает, если t0 > 95 °С;

индикатор температуры масла в баке гидросистемы «tм» мигает, если tм > 75 °С;

индикатор давления масла в двигателе «Рм» мигает, если Рм < 1,0 атм или Рм > 1,5 атм;

индикаторы давления масла в напорных магистралях гидронасосов «Р1», «Р2»мигают, если Р12) > 270 атм;

индикатор давления в контуре управления «Р3» мигает, если Р3 > 50 атм.

Одновременно с миганием единичного индикатора параметра, вышедшего за пределы допуска, включаются индикатор "90 %" и прерывистый звуковой сигнал.

Индикатор режима работы с гуськом (14 или 17) горит, если ведется работа с гуськом или с гуськом и удлинителем и изменяется угол наклона гуська.

Индикатор подъема крюка (18) мигает, если сработал выключатель ограничения подъема крюка, и горит, если МЗОН находится в зоне воздействия ЛЭП.

Индикаторы запасовки полиспаста (19-22) отображают выбранную крановщиком схему запасовки полиспаста. Индикаторы мигают, если масса груза на крюке превышает допустимое значение на данной запасовке. Например, если горят индикаторы 8 и 4, это значит, что выбрана запасовка 12 (сумма цифр, проставленных в непосредственной близости с включенными индикаторами запасовки).

Индикатор установки гуськов в транспортное положение (23) указывает на то, что гусек и/или удлинитель закреплены на основной секции стрелы.

Индикаторы опорного контура (25-29) отображают выбранную крановщиком схему опорного контура для выполнения конкретного вида работ. Например, при включенных индикаторах 25 и 29 левые и правые опоры крана выдвинуты полностью, а если включены индикаторы 26 и 28, то кран установлен на не выдвинутых опорах.

Индикаторы координатной защиты (30-33) включаются (горят) при введении ограничений «Потолок», «Стена», «Угол слева», «Угол справа» и мигают при достижении во время работы крана соответствующих ограничений.

Кроме того, эти индикаторы мигают при нарушении геометрических размеров рабочей зоны крана, если в нерабочую зону над кабиной вошла выдвинутая стрела либо стрела с грузом на крюке (мигают светодиоды 32, 33), превышен предельный угол подъема (30), а также при опускании стрелы ниже паспортного значения (31).

При мигании хотя бы одного индикатора координатной защиты (30-33) загорается лампа «Стоп» (включается звуковой сигнал) и разрешаются только операции, обеспечивающие вывод стрелы крана из запрещенной зоны работы.

Индикаторы смены группы отображаемых параметров (34, 35) указывают на одну из двух групп параметров, которая будет выдаваться для отображения на ИЖЦ:

при включенном индикаторе 34 отображаются параметры, обозначенные на лицевой панели БОД синим цветом («MRQmax»);

при включенном индикаторе 35 отображаются параметры, обозначенные желтым цветом [«LП(H)Q»].

Индикаторы жидкокристаллические цифровые (ИЖЦ) предназначены для отображения рабочих параметров крана.

В зависимости от выбранного режима индикации (индикаторы 34, 35) на ИЖЦ выдаются значения следующих параметров:

на верхний индикатор - момента опрокидывания крана Мопр в процентах от максимально допустимого значения на данном вылете (с учетом массы груза и пустой стрелы) или длины стрелы L, м;

на средний индикатор - вылета R, м или высоты Н, м;

на нижний индикатор - максимально допустимой массы груза на крюке на данном вылете Qmax, т, или фактической массы груза на крюке Q, т.

Последовательным нажатием кнопки «Выбор П» (36) производится выбор номера настраиваемого параметра в режиме «Настройка».

Этой же кнопкой производится вывод на средний ИЖЦ значений давления масла в двигателе, температуры охлаждающей жидкости и других дополнительных параметров (индикаторы 6-10).

Кнопками ввода координатной защиты (37-40) производится ввод ограничений «Потолок», «Стена», «Угол слева» и «Угол справа».

Этими же кнопками в режимах «Тест» и «Настройка» производится увеличение («+») или уменьшение («-») номера параметра, выдаваемого на индикацию, и его величины, а также занесение их значений в настроечную память с помощью кнопки «¿» (40, «Ввод»).

Кнопкой «Подсветка» (41) производится включение и выключение (при повторном нажатии кнопки) ламп подсветки индикаторов ИЖЦ в темное время суток.

Кнопка «Часы» (42) обеспечивает выдачу на средний и нижний индикаторы БОД значений, указанных на верхнем ИЖЦ параметров, хранимых в регистраторе технических характеристик - блоке телеметрической памяти (БТП) БОД.

Тип выдаваемого на индикацию параметра БТП зависит от числа нажатий кнопки и отображается его кодом (номером) в двух младших (правых) разрядах верхнего ИЖЦ:

00 - дата установки прибора на кран;

01 - наработка (в моточасах) крана;

02 - характеристическое число N (приведенная наработка крана за суммарное число циклов С его нагружения), по величине которого судят о степени износа крана.

При однократном нажатии кнопки «Часы» на верхнем ИЖЦ отображается код параметра "00", а на среднем и нижнем индикаторах - соответственно число, месяц и год установки прибора на кран.

При двукратном нажатии кнопки «Часы» на верхнем ИЖЦ отображается код параметра "01", а на среднем и нижнем индикаторах - соответственно старшие и младшие разряды наработки крана.

При трехкратном нажатии кнопки «Часы» на верхнем ИЖЦ отображается код параметра "02", а на среднем и нижнем индикаторах - соответственно старшие и младшие разряды характеристического числа N.

Примечания: 1. Время между двумя последовательными нажатиями кнопки не должно превышать 5 с.

2. По истечении 5 с после нажатия кнопки происходит автоматическое выключение режима индикации времени.

3. Методика занесения даты установки ограничителя на кран при помощи кнопки «Часы» приведена в Инструкции по монтажу прибора на кране ЛГФИ.408844.009-01 ИМ.

Кнопкой «Тест» (43) производится включение режима тестирования ограничителя, при котором на всех ИЖЦ перебираются цифры от 9 до 1, затем поочередно группами (слева направо, сверху вниз) загораются светодиодные индикаторы, используемые в данной модификации ограничителя.

После прохождения теста на верхний ИЖЦ выдается значение текущего момента опрокидывания крана, на средний ИЖЦ - наименование параметра, а на нижний ИЖЦ - величина одного из следующих параметров, выбор которого осуществляется нажатием кнопок «+» (37) и «-» (38):

AL (альфа) - угол наклона стрелы, градусы;

GA (гамма) - угол поворота платформы (азимут), градусы;

Рп - давление в поршневой полости гидроцилиндра, атм;

Рш - давление в штоковой полости гидроцилиндра, атм;

Р - результирующее давление на шток гидроцилиндра, атм;

t - температура окружающего воздуха, °С;

d1 - наличие на дискретных входах «D4»-«D1» напряжения 24 В. При этом появление цифры 1 в разряде 1 (при отсчете справа налево) нижнего ИЖЦ указывает на срабатывание концевого выключателя подъема крюка;

d2 - наличие на дискретных входах «D8»-«D5» напряжения 24 В. При этом появление цифры 1 в разряде 1 нижнего ИЖЦ указывает на то, что переключатель SA5 крана установлен в положение «Работа вспомогательной лебедкой»;

b1 - состояние сигналов управления выходными реле «ОК8»-«ОК1». При этом в состоянии «Включено» появление цифры 1 в соответствующих разрядах (справа налево) нижнего ИЖЦ указывает на:

в разряде 1 - срабатывание реле координатной защиты (K1) - не используется;

в разряде 2 - срабатывание реле поворота вправо (ОК8);

в разряде 3 - срабатывание реле поворота влево (ОК7);

в разряде 4 - срабатывание реле выдвижения стрелы (ОК6);

b2 - состояние сигналов управления выходными реле «ОК8»-«ОК1». При этом в состоянии «Включено» появление цифры 1 в соответствующих разрядах (справа налево) нижнего ИЖЦ указывает на:

в разряде 1 - срабатывание реле (ОК5) - не используется;

в разряде 2 - срабатывание реле подъема стрелы (ОК4);

в разряде 3 - срабатывание реле опускания стрелы (ОК3);

в разряде 4 - срабатывание реле подъема груза лебедкой (К2).

Повторное нажатие кнопки «Тест» переводит прибор в рабочий режим.

Каждое нажатие кнопки смены индикации (44) приводит к смене группы выдаваемых для отображения на ИЖЦ параметров, обозначенных на лицевой панели синим (MRQmax) и желтым (LHQ) цветом. При этом группа отображаемых параметров указывается одним из включенных индикаторов 34 или 35 (см. выше).

Кнопка выбора режима работы стрелового оборудования и опорного контура (45) предназначена для выбора режима работы (стрела или гусек) и устанавливает требуемую для работы конфигурацию опорного контура: выдвинутые опоры, втянутые опоры, работа с колес (индикаторы 25-29).

Общий режим работы опорного контура и стрелового оборудования указывается цифрой (появляется после первого нажатия на кнопку 45) на нижнем ИЖЦ после знака «Р-».

Смена типа стрелового оборудования происходит при каждом нажатии кнопки 45.

После завершения выбора режима работы стрелового оборудования и опорного контура необходимо нажать кнопку «¿» (40, кнопка занесения режима в память прибора).

Кнопка выбора схемы запасовки 46 предназначена для выбора (установки) кратности полиспаста.

Для установки требуемой запасовки необходимо нажимать кнопку 46 до тех пор, пока сумма цифр у включенных индикаторов запасовки 19-22 не будет равна необходимой кратности. Установленная кратность запасовки выдается на средний ИЖЦ сразу же после нажатия кнопки.

Например, если горят индикаторы 8 и 4, то это значит, что выбрана запасовка 12 (сумма цифр 8 и 4, проставленных в непосредственной близости с включенными индикаторами запасовки).

После установки схемы запасовки необходимо нажать кнопку «¿» (40).

Кнопка «Сброс» предназначена для приведения ограничителя в исходное состояние при различного вида сбоях (появление хаотичной, случайной информации на индикаторах).

2.2. Датчики первичной информации

2.2.1. Преобразователи давления (ПрД), устанавливаемые в поршневую и штоковую полости гидроцилиндра стрелы или в соединенные с ними трубопроводы, служат для измерения давления, создаваемого грузом на шток гидроцилиндра подъема стрелы.

Преобразователь - тензометрический резистивный мост, наклеенный на стальной цилиндр, на внутреннюю полость которого действует измеряемое давление.

Два тензорезистора, приклеенные на тонкостенную часть цилиндра, под воздействием давления растягиваются, что приводит к изменению (увеличению) их сопротивления, а следовательно, к изменению балансировки моста. Два других тензорезистора, приклеенные на торец (основание) цилиндра, под воздействием давления не растягиваются и служат для термокомпенсации моста.

Выходное напряжение (13 мВ при 25 МПа) с диагонали моста преобразователя подается в БОД, усиливается и поступает на вход коммутатора АЦП. В усилителе предусмотрена возможность подстройки нуля преобразователя.

Для коррекции температурного ухода параметров преобразователей давления используется установленный в датчике азимута (ДА; см. п. 2.2.3) терморезистор, измеряющий текущее значение температуры окружающего воздуха.

2.2.2. Датчик угла маятниковый (ДУГМ) устанавливается на корневой секции стрелы и служит для измерения угла наклона стрелы относительно горизонта.

Датчик представляет собой датчик линейных ускорений, формирующий выходное напряжение от -0,7 до +0,7 В при изменении угла от 0 до 90°. Усиленное в БОД (в 3 раза) выходное напряжение датчика поступает на вход коммутатора АЦП.

Напряжения питания ДУТМ (±15 В) поступают из БОД.

2.2.3. Датчики длины стрелы и азимута. Основным элементом датчиков длины стрелы (ДД) и азимута (ДА) является проволочный переменный резистор типа СП5-21-1-6,8 кОм с большой износоустойчивостью, вал которого жестко связан с соответствующими механизмами крана.

Из БОД на резистор подается опорное напряжение +5 В. Напряжение, снимаемое со средней точки потенциометра и пропорциональное углу поворота (барабана датчика длины стрелы или платформы крана), через диодную схему защиты поступает на вход коммутатора АЦП БОД.

ДД устанавливается на корневой секции стрелы. Трос ДД соединяется с оголовком стрелы и при выдвижении последней вращает пружинный барабан и связанный с ним через редуктор вал потенциометра. Возврат потенциометра в исходное состояние осуществляется пружиной барабана.

Для исключения провисания троса датчика барабан закручивается на четыре оборота от свободного состояния пружины при минимальной длине стрелы.

ДА устанавливается на оси вращения платформы и служит для измерения угла поворота платформы крана относительно кабины водителя.

Для измерения температуры окружающего воздуха в ДА установлен терморезистор, обеспечивающий температурную коррекцию параметров преобразователей давления (см. п. 2.2.1).

2.2.4. Модуль защиты от опасного напряжения (МЗОН) вырабатывает:

импульсный сигнал амплитудой 12-16 В и частотой 500 Гц, если антенна находится вне зоны воздействия ЛЭП;

постоянное напряжение 12-16 В, если антенна находится в зоне воздействия ЛЭП;

напряжение ноль, если разомкнут концевой выключатель подъема крюка.

Формируемый модулем сигнал по кабелю (тросу от ограничителя подъема крюка) передается в БОД для обработки.

При наличии сигнала от ЛЭП БОД запрещает выполнение операций крана до введения координатной защиты.

3. ИСПОЛЬЗОВАНИЕ ПРИБОРА

ВНИМАНИЕ! В приборе установлен блок телеметрической памяти (БТП), фиксирующей рабочие параметры, указанные в п. 1.2.3, в течение последних 4 ч работы крана, а также степень загрузки крана в течение всего срока службы.

3.1. Эксплуатационные ограничения

3.1.1. При проведении сварочных работ на кране прибор должен быть обесточен.

3.1.2. Запрещается проводить настройку и регулировку прибора на кране лицам, не имеющим специальной подготовки и удостоверения.

3.1.3. Запрещается эксплуатация прибора с поврежденными пломбами.

3.1.4. Наличие прибора на кране не снимает ответственности с крановщика в случае опрокидывания крана и разрушения его элементов при подъеме груза.

3.2. Подготовка прибора к использованию

3.2.1. Схема включения прибора приведена на рис. 2.

3.2.2. Перед включением прибора необходимо изучить назначение элементов индикации и органов управления на передней панели БОД (см. рис. 3 и п. 2.1.4) и ознакомиться с таблицей отключений прибора:

Ограничение

Операция

подъем груза

поворот влево

поворот вправо

подъем стрелы

Опускание стрелы

выдвижение стрелы

Прибор выключен

З

З

З

З

З

З

Сработал ограничитель подъема крюка

З

 

 

 

 

З

Тестовый режим

З

З

З

З

З

З

Сработал МЗОН

З

З

З

З

З

З

По отказу датчиков

З

Р

Р

Р

Р

Р

По грузоподъемности:

 

 

 

 

 

 

при 105 < Мопр < 120 %

З

З

З

Р

З

З

при Мопр > 120 %

З

З

З

З

З

З

По телескопированию

Р

Р

Р

Р

Р

З

По запасовке

З

Р

Р

З

З

З

По максимальному углу наклона стрелы

Р

Р

Р

З

Р

Р

По проседанию стрелы при работе с гуськом

З

Р

Р

Р

Р

Р

По длине стрелы на убранных опорах

З

Р

Р

Р

З

З

По минимальному вылету

З

Р

Р

З

Р

Р

По максимальному вылету

З

Р

Р

Р

З

З

По минимальному углу наклона стрелы (-4°)

З

Р

Р

Р

З

З

При нахождении стрелы в зоне от +4 до -4°

З

Р

Р

Р

Р

Р

В зоне над кабиной при массе груза Q > 1 т или если стрела выдвинута более чем на 1 м

З

Слева Р Справа З

Слева З Справа Р

Р

Р

З

По координатной защите:

 

 

 

 

 

 

«Поворот влево»

З

З

Р

Р

Р

Р

«Поворот вправо»

З

Р

З

Р

Р

Р

По координатной защите:

 

 

 

 

 

 

«Потолок»

З

Р

Р

З

Р

З

«Стена, подход справа»

З

Р

З

Р

З

З

«Стена, подход слева»

З

З

Р

Р

З

З

Примечание. З - запрещено; Р - разрешено.

3.2.3. При работе с прибором необходимо помнить следующее:

работа крана в секторе над кабиной запрещена [горят красный и зеленый индикаторы, мигают индикаторы ограничений «Поворот вправо» (31) и «Поворот влево» (32), звучит звуковой сигнал]; при этом разрешаются только операции, направленные на вывод стрелы крана из запрещенного для работы сектора. При полностью втянутой стреле и массе груза на крюке менее 1 т аварийная сигнализация не включается (для облегчения укладки стрелы в транспортное положение);

при больших углах наклона стрелы дается предупреждение о приближении к максимально допустимому углу наклона (когда гидроцилиндр подъема стрелы полностью выдвинут) миганием индикатора 30 ограничения по высоте («Потолок»). При срабатывании прибора на этих углах (горят красный и зеленый индикаторы) разрешена операция опускания стрелы;

при попытке опустить стрелу на угол меньше угла наклона, соответствующего максимальному вылету, запрещаются все движения крана [горят красный и зеленый индикаторы, мигает индикатор «Стена» (31) координатной защиты], разрешена операция подъема стрелы;

при попытке поднять груз, масса которого превышает разрешенную на установленной запасовке, работа крана запрещается, мигают индикаторы запасовки;

при попытке выдвижения стрелы с грузом, масса которого превышает разрешенную на данном вылете, работа крана блокируется;

при срабатывании ограничителя подъема крюка подъем груза запрещается (горит красная лампа и мигает индикатор 18), разрешено опускание груза;

при нахождении МЗОН в зоне действия ЛЭП работа крана запрещается (горит код Е 11), разрешена установка координатной защиты при нажатой кнопке 41 (подсветка);

при отказе датчиков блокируется операция подъема груза;

работы по перепасовке троса и установке удлинителя разрешается производить только при полностью собранной стреле;

прибор не имеет собственного переключателя для подачи напряжения питания. Включение прибора производится тумблером на пульте крана одновременно с включением приборов в кабине. О включении ограничителя свидетельствует загорание индикатора «BKЛ» (индикатор 5 на рис. 3) на передней панели БОД.

3.2.4. Если включение прибора производится при температуре менее -10 °С, включается обогрев ИЖЦ, о чем свидетельствует загорание индикатора «ТС» (4).

3.2.5. Если прибор эксплуатируется при температурах ниже -30 °С, то выдача информации на ИЖЦ начнется после их прогрева в течение 5 мин.

3.3. Использование прибора

3.3.1. Включение прибора производится в следующей последовательности.

Включить тумблер подачи питания в цепи управления крана.

Проконтролировать загорание индикатора «BKЛ» на передней панели БОД, прохождение теста самоконтроля и последующий переход прибора в рабочий режим.

Если после подачи напряжения питания на индикаторах БОД отсутствуют значения параметров, необходимо на 1-2 с. нажать кнопку «Сброс». После прохождения теста индикации прибор перейдет в рабочий режим.

При появлении на верхнем индикаторе кодов «Е 30» (сбой введенного режима работы опорного контура) или «Е 31» (сбой введенной запасовки) следует выполнить операции в соответствии с п. 3.3.2.

Если на индикаторах отображаются рабочие параметры и при величине момента опрокидывания менее 100 % горит красный индикатор, для правильного анализа ситуации, в которой находится кран, необходимо оценить значение Qmax и состояние единичных индикаторов (мигающие индикаторы указывают на причину горения красной лампы).

3.3.2. Ввод режимов работы крана. Операции по настоящему пункту выполняются только в случае необходимости изменения режимов работы или при выдаче на верхний индикатор сообщений «Е 30», «Е 31». Перед вводом режима работы с гуськом следует выдвинуть стрелу полностью.

Следует ввести режим работы стрелового оборудования и опорного контура, а также кратность запасовки полиспаста путем нажатия кнопок «Стрела опорного контура» и «Запасовка» (загорается красный индикатор, движения крана запрещаются).

При этом на индикаторы БОД выдаются:

на верхний ИЖЦ - четырехзначный код модификации ОНК и типа крана (например 13.01 для крана КС-6476);

на средний ИЖЦ - кратность полиспаста;

на нижний ИЖЦ - цифровой код режима работы опорного контура и стрелового оборудования с символом «Р-» впереди.

Индикация режимов работы крана дублируется единичными индикаторами.

Последовательно нажимая кнопки «Стрела», «Опорный контур» и «Запасовка», необходимо выбрать соответственно требуемый режим работы стрелового оборудования, опорного контура и необходимую запасовку, контролируя режимы работы по ИЖЦ и единичным индикаторам.

Если горят индикаторы 2 и 4, то выбрана запасовка 6 (сумма цифр, проставленных в непосредственной близости с включенными индикаторами запасовки).

Если отображаемые режимы работы крана соответствуют желаемым, следует нажать кнопку «¿» (40). При этом прибор перейдет в рабочий режим (работа крана разрешается).

В приборе предусмотрены следующие режимы работы:

код «Р-00» - длина стрелы изменяется от минимальной до максимальной, опоры полностью выдвинуты (горят индикаторы 25, 29), кратность полиспаста устанавливается согласно грузовым характеристикам на кран, удлинитель отсутствует, возможна работа основной и вспомогательной лебедками;

код «Р-01» - основная стрела, опоры вдвинуты (горят индикаторы 26, 28), возможна работа только основной лебедкой;

код «Р-02» - работа с коротким удлинителем (стрела выдвинута полностью), опоры полностью выдвинуты (горят индикаторы 17, 25, 29), возможна работа основной и вспомогательной лебедками;

код «Р-03» - работа с длинным удлинителем (стрела выдвинута полностью), опоры выдвинуты полностью (горят индикаторы 14, 25, 29), возможна работа основной и вспомогательной лебедками.

Установленные режимы работы крана хранятся в памяти прибора.

Не рекомендуется начинать работу на кране, не убедившись в правильности установки режимов работы опорного контура, стрелового оборудования и схемы запасовки.

3.3.3. Тестовый контроль прибора проводится один раз в день перед началом рабочей смены.

Для проверки работоспособности прибора и концевых выключателей крана необходимо нажать кнопку «Тест».

При прохождении тест-программы на всех ИЖЦ перебираются цифры от 9 до 1, затем группами поочередно (слева направо, сверху вниз) загораются единичные индикаторы, а также лампы «Норма» и «Стоп».

Необходимо убедиться в том, что все единичные индикаторы и все сегменты ИЖЦ функционируют.

После прохождения теста на верхний ИЖЦ выдается значение момента опрокидывания крана, на средний ИЖЦ - наименование одного из дополнительно контролируемых параметров крана (см. п. 2.1.4), а на нижний ИЖЦ - его величина.

Нажимая кнопки «+» и «-» (37 и 38), следует добиться отображения кода «d1», а затем кода «d2» на среднем ИЖЦ.

Производя манипуляции механизмами крана, необходимо убедиться в срабатывании его концевых выключателей (наличие напряжения 24 В на дискретных входах «D4»-«D1»; см. рис. 2).

При наличии кода «d1» на среднем ИЖЦ появление цифры 1 на нижнем ИЖЦ в разряде 1 (при отсчете справа налево) указывает на срабатывание (замыкание) концевого выключателя ограничения подъема крюка.

При наличии кода «d2» на среднем ИЖЦ появление цифры 1 на нижнем ИЖЦ в разряде 1 указывает на установку переключателя пульта крана в положение «Работа лебедкой вспомогательного подъема» (только для кранов с установленной лебедкой вспомогательного подъема).

В случае отсутствия смены цифр 0-1 или 1-0 в соответствующем разряде ИЖЦ следует проверить исправность концевого выключателя и целостность цепи от выключателя до БОД.

Для выхода в рабочий режим нажмите кнопку «Тест».

Нажимая кнопку "Часы" (42; см. п. 2.1.4), произвести считывание информации с БТП ограничителя о значениях параметров крана (дата установки прибора на кран, наработка крана, характеристическое число), характеризующих степень его износа.

Примечание. Работы по п. 3.3.4 выполнять только при необходимости.

3.3.4. Работа крана вблизи ЛЭП. Рекомендации по п. 3.3.4 необходимо выполнять только для ограничителей нагрузки крана с индексом "М" в конце обозначения (например, ОНК-140-13М), которые комплектуются модулем защиты от опасного напряжения (МЗОН).

Внимание! 1. Работа вблизи ЛЭП может проводиться только при наличии наряда-допуска установленного образца.

2. Напряжение ЛЭП (п. 4 наряда-допуска) является основным параметром, необходимым для правильного введения ограничителя типа "ЛЭП".

Подготовка к работе и работа крана вблизи ЛЭП должна выполняться в строгом соответствии с требованиями Правил.

Перед началом работы крановщик должен поднять оголовок стрелы на высоту 7-8 м и, поворачивая ее, убедиться в отсутствии (наличии) ЛЭП в предполагаемой зоне работы.

При попадании оголовка стрелы (с установленным на нем МЗОН) в зону воздействия электрического поля ЛЭП частотой 50 Гц прибор запрещает выполнение всех операций крана, на верхний ИЖЦ БОД выдается код "Е 11" (обнаружение ЛЭП), горит постоянным свечением индикатор 18.

Дальность обнаружения ЛЭП напряжением до 0,22 кВ - не менее 5 м (расстояние между оголовком стрелы и ближайшим к нему проводом ЛЭП в передней полусфере).

Воздушные ЛЭП напряжением свыше 110 кВ ограничитель (МЗОН) обнаруживает на расстоянии в несколько сотен метров.

В связи с тем что МЗОН не во всех случаях может защитить крюковую подвеску, длинномерный груз, канат, прибор не должен использоваться как рабочее средство для остановки механизмов крана.

МЗОН не защищает стрелу крана при нахождении гуська в рабочем положении.

МЗОН помогает крановщику своевременно обнаружить ЛЭП. При сознательном нарушении Правил не может быть гарантирована защита от поражения электрическим током.

Если ограничитель произвел остановку механизмов крана и выдал сообщение о наличии вблизи крана ЛЭП (на верхнем ИЖЦ отображается код "Е 11"), крановщик должен определить зону работы крана, его положение относительно ЛЭП и установить координатную защиту согласно п. 3.3.5. После ввода защиты код "Е 11" исчезнет и будет разрешена работа крана в пределах установленной зоны.

При вводе первого из вводимых ограничений необходимо нажать и удерживать кнопку 41 (включение подсветки). При нажатой кнопке 41 движения крана разрешаются.

Для реализации координатой защиты - ограничения «ЛЭП» - в приборе предусмотрены следующие виды ограничений:

ограничение «Стена»;

ограничение «Потолок»;

ограничения по углу поворота.

Введение ограничения «ЛЭП обеспечивает автоматическое отключение приводов механизмов крана при приближении оголовка стрелы к границе охранной зоны.

Охранная зона - это зона, в которую запрещено попадание оголовка стрелы. Граница охранной зоны - это воображаемая вертикальная (для ограничения «Стена») или горизонтальная (для ограничения «Потолок») плоскость, проходящая параллельно ЛЭП на расстоянии L от нее (рис. 5).

Расстояние L зависит от напряжения воздушной ЛЭП, которое указано в наряде-допуске на проведение работ. Зависимость L от напряжения воздушной ЛЭП:

Напряжение воздушной ЛЭП, кВ

Допустимое расстояние от оголовка стрелы до провода ЛЭП, м

До 1

1,5

От 1 до 20

2,0

От 35 до 110

4,0

От 150 до 220

5,0

330

6,0

От 500 до 750

9,0

3.3.5. Ввод координатной защиты. Для ввода ограничения необходимо нажать не менее чем на 1 с одну из кнопок 37-40 (при необходимости поочередно несколько кнопок) напротив символа, обозначающего тип требуемой защиты (например, «Потолок»); при этом должен включиться индикатор введенного ограничения.

При вводе координатной защиты в случае срабатывания МЗОН (код Е 11) необходимо удерживать в нажатом положении до ввода первого ограничения кнопку 41 (включение подсветки).

Для снятия введенного ограничения (сброса защиты) необходимо повторно нажать ту же кнопку и проконтролировать выключение соответствующего индикатора.

Горение индикаторов постоянным свечением свидетельствует об отсутствии срабатывания защиты по введенным ограничениям.

Рис. 5. Ввод ограничения типа «ЛЭП» («Стена»)

При достижении в процессе работы крана любого из введенных ограничений срабатывает координатная защита, загорается красный индикатор (зеленый продолжает гореть), включается звуковой сигнал, индикатор ограничения, из-за которого сработала защита, переводится в мигающий режим.

Для отключения защиты крановщик должен изменить параметр, по которому достигнуто ограничение. Например, при достижении ограничения «Потолок» необходимо либо опустить стрелу, либо уменьшить ее длину.

Внимание! При вводе ограничений координатной защиты необходимо предусматривать запас по расстоянию и углу поворота (для учета инерции крана при приближении к зоне, в которой работа крана запрещена). При приближении к установленному ограничению звуковой сигнал начинает звучать раньше, чем наступает ограничение.

3.3.5.1. Ввод ограничения «Стена». Ограничение «ЛЭП» («Стена») - это воображаемая вертикальная бесконечная плоскость, перпендикулярная проекции стрелы на землю и построенная по срезу оголовка стрелы.

Ограничение «ЛЭП» («Стена») вводится в следующей последовательности:

провести (см. рис. 5) воображаемую ограничительную линию, параллельную охранной зоне объекта и отстоящую от него не менее чем на 1 м, которую не должен пересекать крюк крана. При этом расстояние между границей охранной зоны и ограничительной линией должно быть таким, чтобы при срабатывании ограничителя стрела (с учетом инерционного пролета крана и габаритов груза) не приближалась к границе охранной зоны объекта менее чем на 0,5 м;

установить стрелу перпендикулярно ограничительной линии;

изменяя при необходимости длину стрелы или угол наклона, добиться касания крюком ограничительной линии (не пересекая ее) в точке 3;

нажать на 1 с кнопку ввода ограничения «ЛЭП» (на приборе индикатор «Стена»). Загорание индикатора «ЛЭП» (на приборе индикатор «Стена») свидетельствует о вводе ограничения в память прибора;

проверить правильность срабатывания защиты ограничителя, для чего:

повернуть кран без изменения вылета влево на произвольный угол по отношению к точке ввода ограничения «ЛЭП» («Стена»);

увеличить вылет (изменением угла наклона или длины стрелы) в направлении ограничительной линии, проконтролировать срабатывание защиты (включение красного индикатора, звукового сигнала и перехода индикатора «Стена» в мигающий режим) в момент, когда проекция оголовка стрелы (крюк) пересекает ограничительную линию в точке 1;

уменьшить вылет и повернуть стрелу вправо на произвольный угол по отношению к точке ввода ограничения;

увеличивая вылет (изменением угла наклона или длины стрелы) в направлении ограничительной линии, проконтролировать срабатывание защиты (включение красного индикатора, звукового сигнала и перехода индикатора «Стена» в мигающий режим) в момент, когда крюк пересекает ограничительную линию в точке 2.

Ограничитель работает нормально, если при срабатывании защиты оголовок стрелы (крюк) приблизился к границе охранной зоны объекта не более чем на 0,5 м.

Режим ограничения «ЛЭП» может быть использован для ограничения зоны работы крана при работе в стесненных условиях.

3.3.5.2. Ввод ограничения «ЛЭП» («Потолок»). Ограничение «ЛЭП» («Потолок») - это воображаемая горизонтальная бесконечная плоскость, расположенная на высоте оголовка стрелы.

Ограничение «ЛЭП» («Потолок») вводится в следующей последовательности:

поднять оголовок стрелы (с учетом ее инерции) до требуемой высоты (по показанию индикатора БОД или визуально) и нажать на 1 с кнопку ввода ограничения «Потолок». Включение индикатора «Потолок» свидетельствует о вводе ограничения в память прибора;

проверить правильность срабатывания защиты ограничителя, для чего:

втянуть стрелу на 0,5 м;

увеличивая высоту (выдвигая стрелу), проконтролировать срабатывание защиты (включение красного индикатора, звукового сигнала и перехода индикатора «Потолок» в мигающий режим) в момент, когда оголовок стрелы находится на высоте, равной введенной.

Прибор работает нормально, если при срабатывании защиты оголовок стрелы пересек заданную высоту не более чем на 0,2 м.

3.3.5.3. Ввод ограничений по углу поворота производится в следующей последовательности:

отметив в рабочей зоне крана две точки сектора ограничения по углу поворота стрелы влево и вправо с учетом инерции крана, установить стрелу в створе этого сектора у левой границы последнего;

затем нажать на 1 с кнопку ввода ограничения «Поворот влево». Включение индикатора «Поворот влево» свидетельствует о вводе ограничения в память прибора;

установить стрелу у правой границы сектора;

нажать на 1 с кнопку ввода ограничения «Поворот вправо». Включение индикатора «Поворот вправо» свидетельствует о вводе ограничения в память прибора;

проверить правильность срабатывания защиты прибора, для чего, подводя стрелу к границам отмеченного сектора, проконтролировать срабатывание защиты (включение красного индикатора, звукового сигнала и перехода индикатора ограничения по углу поворота в мигающий режим) в момент, когда крюк пересекает границу заданного (введенного) сектора. Прибор работает нормально, если при срабатывании защиты проекция стрелы на землю пересекает заданную границу не более чем на 2°.

При необходимости все ограничения могут быть введены одновременно.

3.3.6. Контроль параметров двигателя и гидросистемы. При необходимости контроля параметров выбор требуемого для отображения на среднем ИЖЦ параметра осуществляется последовательным нажатием кнопки «Выбор П» (36). При этом индикатор выбранного параметра постоянно светится.

Индикаторы «t0», «tм», «Рм», «Р1», «Р2» или «Р3» начинают работать в мигающем режиме, если значение параметра, за который они отвечают, выходит за пределы допуска:

индикатор температуры охлаждающей жидкости двигателя «t0» мигает, если t0 > 95 °С;

индикатор температуры масла в баке гидросистемы «tм» мигает, если tм > 75 °С;

индикатор давления масла в двигателе «Рм» мигает, если Рм < 1,0 атм или Рм > 1,5 атм;

индикаторы давления масла в напорных магистралях гидронасосов «Р1», «Р2» мигают, если Р12) > 270 атм;

индикатор давления в контуре управления «Р3» мигает, если Р3 > 50 атм.

На среднем индикаторе высвечивается высота оголовка стрелы, если не выбран ни один параметр.

3.4. Возможные неисправности прибора и способы их устранения

3.4.1. Программно-аппаратные средства прибора позволяют проверить исправность основных его узлов и локализовать неисправность путем выдачи на индикатор ее кода.

3.4.2. При неработоспособности прибора поиск его неисправности рекомендуется проводить в следующей последовательности:

проверить БОД и датчики на отсутствие внешних механических повреждений;

проверить исправность механизмов привязки датчиков;

проверить кабельную разводку, исправность электрических соединительных цепей датчиков и БОД.

3.4.3. Неисправности прибора, которые могут быть диагностированы и устранены непосредственно на кране:

Характер и проявление неисправности

Вероятная причина неисправности

Способ устранения неисправности

При включении тумблера питания загорается только красный светодиодный индикатор, не горит или мигает индикатор «ВКЛ»

Поврежден кабель питания ограничителя

Заменить поврежденный кабель

Сгорел предохранитель

Заменить предохранитель

Замыкание в цепях питания датчика

Отключить датчики и определить наличие КЗ в одном из них

После выхода ограничителя в рабочий режим мигают светодиоды координатной защиты по углу поворота и звучит звуковой сигнал даже при расположении стрелы в рабочей зоне

Обрыв или КЗ в цепях датчика поворота платформы (азимута)

Устранить обрыв или КЗ в кабеле

Неправильно установлена шестерня датчика азимута на оси вращения крана

Проверить датчик и произвести его новую привязку по п. 4.2 ИМ

Неисправен потенциометр датчика азимута

Заменить датчик

После выхода прибора в рабочий режим звучит звуковой сигнал и на верхнем ИЖЦ отображается код «Е 01»

Обрыв или КЗ в кабеле поршневого ПрД

Устранить обрыв или КЗ в кабеле

Уход нуля ПрД

Провести коррекцию нуля ПрД по пп. 4.6.1 и 4.6.3 ИМ

Неисправен ПрД

Заменить ПрД и произвести его настройку по п. 4.6 ИМ

То же, но отображается код «Е 02»

Обрыв или КЗ в кабеле штокового ПрД

Устранить обрыв или КЗ в кабеле

Уход нуля ПрД

Произвести коррекцию нуля ПрД по пп. 4.6.1 и 4.6.3 ИМ

Неисправен ПрД

Заменить ПрД и произвести его настройку по п. 4.6 ИМ

То же, но отображается код «Е 03»

Обрыв или КЗ в кабеле
ДУГМ

Устранить обрыв или КЗ в кабеле

Неисправен ДУГМ

Заменить датчик и произвести его привязку по п. 4.5 ИМ

То же, но отображается код «Е 04»

Обрыв или КЗ в кабеле ДД

Устранить обрыв или КЗ в кабеле

Неверная установка начального положения датчика, нарушена регулировка канала

Проверить правильность установки ДД и произвести его новую привязку по пп. 3.3; 4.4.4-4.4.8 ИМ

То же, но отображается код «Е 20»

Отказ ПЗУ программ

Заменить плату контроллера

Произвести привязку и настройку прибора по ИМ

То же, но отображается код «Е 21»

Отказ кварцевого резонатора

Заменить плату контроллера и произвести настройку прибора по ИМ

То же, но отображается код «Е 22»

Постоянно замкнута одна из кнопок клавиатуры

Заменить плату модуля индикации

То же, но отображается код «Е 23»

Сбой программы

Нажать кнопку «Сброс» и произвести настройку часов

То же, но отображается код «Е 24»

Сбой контрольной суммы микросхемы настроечного ПЗУ (DD7)

Произвести привязку и настройку прибора по ИМ

То же, но отображаются коды «Е 25», «Е 26», «Е 27» или «Е 28»

Отказ микросхем настроечного ПЗУ (DD7) или

Заменить плату контроллера

«черного ящика» (DD8, DD9, DD10)

Произвести привязку и настройку прибора

То же, но отображаются коды «Е 30», «Е 31»

Сбой введенного режима стрелового оборудования и опорного контура («Е 30») или запасовки («Е 31»)

Произвести ввод режима работы по п. 3.3.2 РЭ

То же, но отображается код «Е 32»

Сбой введенных ограничений координатной защиты

Нажать соответствующие кнопки ввода ограничений

То же, но отображается код «Е 33»

При работе с гуськом стрела выдвинута не на полную длину

Выдвинуть стрелу

То же, но отображается код «Е 34»

Попытка работы на втянутых опорах при запрещенной длине стрелы

Сложить стрелу

При работе ограничителя с соответствующими нагрузками не загораются индикаторы «Норма», «Стоп», «90 %»

Неисправна плата индикации

Заменить плату индикации

На верхний ИЖЦ выдается код «Н XX»

Переключатель в боковом окне БОД находится в положении «Настройка»

Установить переключатель в положение «Работа»

На нижний ИЖЦ выдается код «Р-ХХ»

Отказ переключателя

Заменить плату контроллера. Произвести привязку и настройку прибора

Прибор ждет ввода режима работы крана

Произвести ввод режима работы по п. 3.3.2 РЭ

Показания ИЖЦ не меняются («зависли») или хаотичны

Сбой программы

Нажмите на 1 с кнопку «Сброс»

При Мопр < 100 % запрещается работа (горит красная лампа), мигают индикаторы запасовки или координатной защиты

Установленная запасовка не соответствует массе поднимаемого груза или стрела крана находится в запрещенной зоне работы

Произвести ввод режима работы (запасовки) по п. 3.3.2 РЭ

Примечание. ДД - датчик длины стрелы; ДУГМ - датчик угла маятниковый; ИЖЦ - индикатор жидкокристаллический цифровой: ИМ - Инструкция по монтажу прибора на кране ЛГФИ.408844.009 ИМ, КЗ - короткое замыкание, ПрД - преобразователь (датчик) давления; РЭ - Руководство по эксплуатации ЛГФИ.408844.009-13 РЭ.

4. ТЕХНИЧЕСКОЕ ОБСЛУЖИВАНИЕ

4.1. Общие указания

Техническое обслуживание прибора обеспечивает постоянную его готовность к эксплуатации и безопасность работы крана.

Установленную Руководством по эксплуатации ЛГФИ.408844.009-13 РЭ периодичность обслуживания необходимо соблюдать при любых условиях эксплуатации и в любое время года. Техническое обслуживание прибора производится одновременно с техническим обслуживанием крана.

При техническом обслуживании прибора соблюдаются меры безопасности, предусмотренные при техническом обслуживании крана.

4.2. Виды и периодичность технического обслуживания

Техническое обслуживание прибора в зависимости от периодичности и объема работ подразделяется на следующие виды:

ежесменное обслуживание (ЕО);

сезонное обслуживание (СО).

4.3. Подготовка к техническому обслуживанию

Для проведения технического обслуживания следует своевременно подготовить требуемые материалы, приборы и инструменты. Кран необходимо поместить в крытое, незадымленное, а зимой - в утепленное помещение.

4.4. Порядок технического обслуживания

4.4.1. Ежесменное обслуживание (ЕО) проводит крановщик.

Перечень работ при ЕО:

внешний осмотр и очистка блоков и датчиков от пыли и грязи;

проверка функционирования ограничителя: отсутствие повреждений ИЖЦ, единичных индикаторов, сигнальных ламп и элементов коммутации (самотестирование по п. 3.3.3).

4.4.2. Сезонное обслуживание (СО) проводится при подготовке к зимнему и летнему сезонам эксплуатации крана.

Перечень работ при СО:

выполнить работы по ЕО;

проверить состояние датчиков, соединительных кабелей и разъемов;

проверить состояние уплотнений (в том числе и кабины) и лакокрасочных покрытий;

произвести считывание информации с БТП в соответствии с Инструкцией пользователя ЛГФИ.408844.009 И1 (см. приложение к Руководству по эксплуатации ЛГФИ.408844.009-13 РЭ);

устранить обнаруженные недостатки;

проверить прибор с контрольными грузами при проведении первого СО (при дальнейшей эксплуатации проверку прибора контрольными грузами следует проводить один раз в год);

выполнить подстройку прибора по результатам проверки прибора контрольными грузами (при необходимости).

4.4.3. Проверку ограничителя с контрольными грузами должен проводить наладчик приборов безопасности под руководством инженерно-технического работника, ответственного за содержание грузоподъемных кранов в исправном состоянии.

Масса груза не должна отличаться от указанных ниже значений более чем на 1 %.

Проверка проводится в следующем порядке:

установить максимальные значения длины стрелы и вылета согласно паспортной характеристике крана и поднять номинальный груз. При подъеме номинального груза прибор не должен сработать;

опустить груз;

увеличить массу груза на 10 % и поднять его. Прибор должен сработать. Если прибор не срабатывает, выполнить следующие работы:

вскрыть люк на боковой стенке БОД;

установить по рулетке максимальное значение вылета с точностью ±2 см:

Тип крана

Модификация программы ОНК

Длина стрелы, м

Вылет, м

Масса груза, т

КС-64/6

13.01

34,0

26,0

0,3

11,4

3,0

50,0

проверить правильность показаний длины стрелы и вылета по индикаторам блока. Если длина стрелы отличается от заданной более чем на 50 мм, необходимо произвести корректировку показаний путем изменения длины каната: отсоединить канат от оголовка стрелы и увеличить или уменьшить его длину на величину ошибки. Если вылет на индикаторе отличается от реального более чем на 200 мм, необходимо произвести настройку вылета согласно Инструкции по монтажу прибора на кране ЛГФИ.408844.009 ИМ;

опустить груз на землю, заглушить двигатель крана;

нажать кнопку «Тест» и проконтролировать отображение кода AL на среднем ИЖЦ после прохождения теста:

нажимая кнопки «+» и «-» (37 и 38), добиться появления кода «Рu» на среднем ИЖЦ;

потянуть на себя несколько раз рукоять подъема стрелы (для сброса давления в штоковой полости);

вращая винт регулировочного резистора R2, установить на нижнем ИЖЦ значение давления в штоковой полости равным 0,5-0,9 атм. Если не удается сбросить давление в штоковой полости указанным выше способом, необходимо положить стрелу на опорную стойку, заглушить двигатель крана, вывернуть преобразователь давления из штоковой полости и вращением винта регулировочного резистора R2 установить на среднем ИЖЦ значение давления в штоковой полости равным 0-0,1 атм;

нажать кнопку «Тест»;

после перехода прибора в рабочий режим плавно поднять груз, масса которого указана выше (для полностью выдвинутой стрелы), и установить на верхнем ИЖЦ с помощью резистора R1 значение момента, равное 100;

опустить груз;

закрыть и опломбировать боковую крышку БОД;

установить минимальный вылет, как указано выше, и поднять груз, масса которого для данного типа крана указана выше. Прибор не должен срабатывать;

опустить груз;

увеличить массу груза на 10 % и поднять его. Прибор должен сработать. Если прибор не срабатывает, необходимо выполнить настройку ограничителя согласно Инструкции по монтажу прибора на кране ЛГФИ.408844.009 ИМ;

сделать отметку о проведенных работах в паспортах прибора и крана.

5. УПАКОВКА, ПРАВИЛА ХРАНЕНИЯ И ТРАНСПОРТИРОВАНИЯ

5.1. Перед упаковкой прибора необходимо произвести консервацию в соответствии с государственными стандартами и другими нормативными документами для условий хранения группы изделий 111-1, вариант временной защиты ВЗ-10 с предельным сроком защиты без переконсервации 6 месяцев.

5.2. Законсервированный прибор и эксплуатационную документацию упаковать в ящики в соответствии с государственными стандартами и другими нормативными документами.

Перед упаковкой ограничителя транспортную тару необходимо застелить битумированной или парафинированной бумагой в соответствии с государственными стандартами и другими нормативными документами таким образом, чтобы концы бумаги были выше краев тары больше чем на половину длины и ширины ящика.

В каждый ящик вложить упаковочный лист, на котором должны быть указаны:

наименование предприятия-изготовителя или его товарный знак;

наименование или шифр прибора;

перечень составных частей прибора и их количество;

дата упаковки;

штамп упаковщика и контролера.

5.3. Условия хранения в части воздействия климатических факторов должны соответствовать условиям хранения 2 (С) в соответствии с государственными стандартами и другими нормативными документами для изделий исполнения УХЛ.

Хранить приборы следует в закрытых складских помещениях в упаковке предприятия-изготовителя в нераспечатанном виде. В помещении для хранения не должно быть токопроводящей пыли, кислот, щелочей и других агрессивных примесей. Срок хранения - не более 6 месяцев.

5.4. Допускается транспортирование приборов всеми видами крытых транспортных средств в соответствии с государственными стандартами и правилами перевозок грузов, действующими на данном виде транспорта.

Условия транспортирования в части воздействия климатических факторов должны соответствовать условиям хранения 5 (ОЖ4) в соответствии с государственными стандартами и другими нормативными документами.

Расстановка и крепление ящиков с приборами в транспортных средствах должны исключать возможность их перемещения, ударов, толчков и воздействия атмосферных осадков.

5.5. При хранении и транспортировании допускается укладка ящиков не более чем в три ряда. Ящики должны находиться в положении, соответствующем манипуляционным знакам.

Приложение

к Руководству по эксплуатации

ограничителя нагрузки крана

ОНК-140-13

(ЛГФИ.408844.009-13 РЭ)

БЛОК ТЕЛЕМЕТРИЧЕСКОЙ ПАМЯТИ ОГРАНИЧИТЕЛЯ НАГРУЗКИ КРАНА (ОГРАНИЧИТЕЛЯ ГРУЗОПОДЪЕМНОСТИ)
ОНК-140
Инструкция пользователя
ЛГФИ.408844.009 И1

Настоящая Инструкция определяет порядок действий при считывании информации с регистратора параметров - блока телеметрической памяти (БТЛ) ограничителя нагрузки крана ОНК-140 и порядок пользования программой анализа информации, записанной в БТП.

1. НАЗНАЧЕНИЕ

Настоящая Инструкция предназначена для наладчиков приборов безопасности грузоподъемных кранов и инженерно-технических работников, ответственных за содержание грузоподъемных кранов в исправном состоянии, занимающихся техническим обслуживанием ограничителя ОНК-140 с встроенным БТП.

Инструкция содержит перечень действий, которые необходимо выполнить при считывании и расшифровке информации, записанной в БТП ограничителя ОНК-140 в процессе его работы в составе крана.

Примечания: 1. Снятие информации с БТП и ее расшифровка должны проводиться в присутствии инженерно-технического работника, ответственного за содержание грузоподъемных кранов в исправном состоянии.

2. Периодическое снятие информации производится при проведении сезонного технического обслуживания грузоподъемных кранов.

2. ОБЩИЕ СВЕДЕНИЯ

2.1. БТП конструктивно размещен на плате контроллера блока обработки данных (БОД) ограничителя ОНК-140 и подключен к выходному печатному разъему Х3 (рис. 1), через который производится считывание информации с БТП.

2.2. Адресное пространство БТП условно разбито на две области. Первая область предназначена для регистрации величины и длительности статических и динамических нагрузок в течение всего срока службы крана, вторая - для регистрации информации о включениях механизмов крана, текущих параметрах и длительности операций, выполненных краном в течение последних четырех часов работы крана.

Рис. 1. Внешний вид платы контроллера БОД

Информация, считанная с БТП, может быть использована как при анализе аварийных ситуаций, так и при определении степени износа крана.

3. УСЛОВИЯ ВЫПОЛНЕНИЯ РАБОТ

3.1. Требования к наладчику

3.1.1. Наладчик должен уметь работать на персональном компьютере (ПК), совместимом с IBM-PC, в среде MS-DOS, Norton Commander или WINDOWS.

3.1.2. Наладчик обязан изучить Руководство по эксплуатации ограничителя нагрузки крана ОНК-140 ЛГФИ.408844.009 РЭ для соответствующей модели крана.

Внимание! В разделе 4.4 приведена справочная информация, предназначенная для использования в процессе работы с прибором.

3.2. Оборудование

Для считывания информации с БТП необходимо следующее оборудование:

IBMPC-совместимый ПК с операционной системой MS-DOS версии не ниже 3.0 или WINDOWS любой версии, параллельный порт LPT - в соответствии со стандартом IEEE-1284 для двунаправленного обмена;

матричный принтер с системой команд EPSON;

считыватель телеметрической информации СТИ-1.

Примечания: 1. Считыватель телеметрической информации СТИ-1 поставляется предприятием - изготовителем ограничителя ОНК-140 по отдельному заказу.

2. В комплект поставки СТИ-1 входят:

считыватель архивной информации САИ-1 ЛГФИ.301412.039;

кабель соединительный ЛГФИ.685621.097 (для подключения БТП-1 и БТП-2 к САИ-1)*;

кабель соединительный ЛГФИ.685621.096 (для подключения БТП-2 к САИ-1);

программа анализа телеметрической информации ЛГФИ.00002-хх (х - натуральные целые числа от 0 до 9; хх - номер версии программы);

инструкция пользователя ЛГФИ.408844.009 И1.

3. Считывание информации с БТП-1 возможно только через разъем Х2 платы (см. рис. 1) при помощи жгута ЛГФИ.685621.097.

Считывание информации с БТП-2 возможно как с разъема Х2 платы при помощи жгута ЛГФИ.685621.097, так и с печатного разъема ХЗ при помощи жгута ЛГФИ. 685621.096.

Платы контроллера с БТП-1 и с БТП-2 легко различимы по следующему признаку: конструктивное исполнение печатного разъема Х3 платы с БТП-1 исключает возможность подключения к нему жгута ЛГФИ.685621.096.

* БТП-1 - БТП контроллера первоначальной разработки, БТП-2 - БТП контроллера более поздней модели.

3.3. Защита от статического электричества

При работе с БТП наладчик должен знать и выполнять требования по защите электронных приборов от статического электричества (ОСТ II 073.062-84).

Перед началом работы с БТП наладчик должен снять с себя заряд статического электричества, прикоснувшись к заземленному предмету.

3.4. Порядок считывания информации о работе крана с БТП

3.4.1. Считывание информации о работе крана с БТП производится наладчиком приборов безопасности под контролем инженерно-технического работника, ответственного за содержание грузоподъемных кранов в исправном состоянии.

3.4.2. Снятие информации производится при проведении сезонного технического обслуживания и при очередных технических освидетельствованиях крана, после текущего и капитального ремонта крана, при авариях, а также по требованию органов госгортехнадзора или инженерно-технического работника по надзору за безопасной эксплуатацией грузоподъемных кранов.

3.4.3. После завершения считывания информации о работе крана с БТП инженерно-технический работник, ответственный за содержание грузоподъемных кранов в исправном состоянии, обязан выполнить опломбирование прибора и сделать запись в его паспорте.

3.4.4. Снятие информации производится в два этапа. На первом этапе считывается информация с БТП при помощи жгута в считыватель архивной информации САИ-1. На втором этапе информация с САИ-1 через параллельный порт записывается в файл BLACKBOX.BIN ПК.

3.5. Требования к конфигурации ПК

Необходима операционная система MS-DOS версии не ниже 3.0 или WINDOWS любой версии.

В рабочей директории должны находиться исполняемые файлы программы:

Procesb2.exe;

Sai.exe.

Размер свободного адресного пространства на диске с исполняемыми файлами должен быть не менее 100 килобайт, размер свободной оперативной памяти - не менее 400 килобайт.

4. МЕТОДИКА СЧИТЫВАНИЯ ТЕЛЕМЕТРИЧЕСКОЙ ИНФОРМАЦИИ

4.1. Считывание информации с БТП в САИ-1

4.1.1. Общие сведения о САИ-1

Считыватель архивной информации САИ-1 позволяет производить запись и хранение информации с БТП четырех ограничителей ОНК-140. Каждому блоку записанной в САИ-1 информации присваивается порядковый номер. Номер блока информации, с которым производится работа, отображается индикаторами «ОНК1» и «ОНК2» (младший разряд) в двоичном коде: 00, 01, 10, 11 (0 - индикатор выключен, не горит; 1 - индикатор включен, горит). При этом коды 00, 01, 10 и 11 соответствуют блоку считанной в САИ-1 информации с БТП первого, второго, третьего и четвертого ограничителей ОНК-140.

4.1.2. Порядок считывания информации

4.1.2.1. Выключить питание ограничителя.

4.1.2.2. Вскрыть боковой люк блока обработки данных (БОД) ограничителя для доступа к печатному разъему, обеспечивающему возможность считывания информации с БТП.

4.1.2.3. Подсоединить САИ-1 при помощи жгута ЛГФИ. 685621.096 к разъему Х3 платы контроллера с БТП (см. рис. 1).

Примечание. Если разъем жгута ЛГФИ 685621.096 не входит в прорези разъема Х3 платы, необходимо извлечь плату из БОД и подсоединить САИ-1 при помощи жгута ЛГФИ.685621.097 к разъему Х2 платы.

4.1.2.4. Установить рычаги-фиксаторы платы контроллера в положение, обеспечивающее выход платы из зацепления с разъемами кросс-платы БОД.

4.1.2.5. Для считывания информации с БТП в САИ-1 необходимо нажать и удерживать кнопку включения питания <|>.

При наличии свободного места в памяти САИ-1 на индикаторах «ОНК1», «ОНК2» отображается код, указывающий номер блока памяти считывателя, в который записалась информация с подключенного к нему БТП. В процессе считывания (порядка 30 с) должны последовательно загореться и погаснуть индикаторы «МС1», «МС2», «МС1» и «МС2», а по окончании считывания должен загореться зеленым цветом индикатор «ГОДЕН/БРАК».

После включения зеленого индикатора «ГОДЕН», указывающего на то, что информация с БТП считана, необходимо отпустить кнопку á|ñ и выполнить операции по п. 4.1.2.7.

4.1.2.6. При отсутствии свободного места в памяти САИ-1 мигает зеленый индикатор «ГОДЕН». В этом случае необходимо произвести стирание ранее записанной в считыватель информации: удерживая кнопку á|ñ, нажать и отпустить кнопку .

При этом однократное нажатие кнопки  очищает (стирает) объем памяти САИ-1, необходимый для считывания информации с одного БТП; четырехкратное нажатие очищает все четыре блока памяти считывателя.

После очистки хотя бы одного блока памяти САИ-1 индикатор «ГОДЕН» прекращает мигать и зажигается зеленым цветом.

Произведя очистку памяти САИ-1, необходимо выполнить операции по п. 4.1.2.5 (считывание информации с БТП).

Примечание. Если при выполнении операций по пунктам 4.1.2.5 и 4.1.2.6 включается красный индикатор «БРАК» (отказ считывателя или линий связи САИ-1 с БТП), необходимо произвести классификацию отказа по п. 4.4.4, проверить работу считывателя (по указанной выше методике) с другим экземпляром ограничителя ОНК-140 и в случае подтверждения характера отказа направить САИ-1 на предприятие-изготовитель или в ремонтную организацию, указав в сопроводительном письме код и причину отказа считывателя. Если при работе с другим экземпляром ОНК отказ САИ-1 не подтвердился, неисправен один из ограничителей.

4.1.2.7. Отсоединить САИ-1 от БТП.

Вставить плату контроллера в БОД до упора, закрепить ее фиксаторами, закрыть и опломбировать боковой люк БОД.

4.2. Считывание информации с САИ-1 в ПК

4.2.1. Включить компьютер и установить среду DOS, Norton Commander.

4.2.2. Вставить дискету с программой ЛГФИ.00002-хх в дисковод ПК.

Раскрыть содержимое дискеты на экране монитора:

одновременно нажать клавиши Alt и F1, выбрать диск А и нажать клавишу ENTER.

4.2.3. Создав директорию "BTP-ONK" ("БТП-ОНК" - рекомендуемое название) на одном (любом) из жестких дисков ПК, скопировать в нее содержимое дискеты.

Изъять дискету из дисковода ПК.

Примечание. Операции по п. 4.2.3 можно не выполнять, однако в этом случае при дальнейшей работе с исполняемыми файлами программы (работы по п. 4.2.4 и далее) необходимо быть очень внимательным, чтобы не испортить содержимое рабочих файлов дискеты.

4.2.4. Перейти в директорию "ВТР ONK" с исполняемыми файлами программы.

Запустить на исполнение файл Sai.exe программы. [Установить маркер (курсор) на имя файла Sai.exe и нажать клавишу ENTER или кнопку BUT1 мыши.]

4.2.5. Если в системе обнаружится больше одного параллельного порта, на экране монитора появится сообщение, указанное в п. 4.2.6.

Если программа обнаружит, что в системе используется один параллельный порт (LPT1), на экране монитора появится сообщение, указанное в п. 4.2.7.

4.2.6. Проконтролировать сообщение и запрос:

В системе обнаружены порты:

LPT1

LPT2

LPT3

Ввести номер порта LPTх для подключения

САИ-1 (нажать клавишу 1, 2 или 3):

Подтвердить ввод номера порта нажатием клавиши ENTER.

4.2.7. Проконтролировать сообщение и запрос (см. рис. 2):

Подключить САИ-1 к порту LPTх компьютера.

Нажать ENTER для начала работы или ESC

Для закрытия программы (завершения работы)

Если была нажата клавиша ESC, на экране монитора появится сообщение, указанное в п. 4.2.8 (завершение работы с САИ-1).

Если была нажата клавиша ENTER, на экране монитора появится сообщение, указанное в п. 4.2.9.

4.2.8. Проконтролировать сообщение:

Завершение работы программы по ESC

Рис. 2. Схема подключения САИ-1 к ПК

4.2.9. Проконтролировать сообщение и запрос:

Ввести номер блока памяти САИ-1, который должен быть считан в память компьютера (Нажать клавишу 0, 1, 2 или 3):

Подтвердить ввод номера блока памяти САИ-1 нажатием клавиши ENTER.

Примечание. За один сеанс работы по п. 4.2 в ПК может быть считана информация лишь с одного блока памяти САИ-1 (информация о работе одного крана).

4.2.10. Ответить на сообщения-запросы ПК по следующему примеру, подтверждая ответ нажатием клавиши ENTER.

Ввести тип крана - КС-4572

Ввести порядковый номер крана - 168

Ввести тип ограничителя - ОНК-140

Ввести порядковый номер ограничителя - 805004

Ввести порядковый номер контроллера - 805012

Ввести фамилию пользователя - Иванов

Ввести имя пользователя - Иван

Ввести отчество пользователя - Иванович

Ввести текущую дату (хх.хх.хх) - 01.02.98

После ответа на последний запрос проконтролировать сообщение:

Считана зона № 1

Считана зона № 2

Считана зона № 3

Отсоединить САИ-1 от компьютера и нажать любую из клавиш последнего

4.2.11. Отключив САИ-1 от ПК и нажав любую из клавиш последнего, проконтролировать сообщение:

Нормальное завершение программы!

Содержимое блока памяти №хх считывателя САИ-1 записано в файл blackbox.bin в двоичном коде

Внимание! Подстыковку (отстыковку) САИ-1 к (от) ПК следует производить только во время выдачи соответствующего запроса программы. (В эти моменты времени гарантируются нулевые напряжения между всеми проводами выходного разъема ПК.)

4.3. Анализ считанной информации

Перейти в директорию с исполняемыми файлами программы.

Запустить на исполнение файл Procesb2.exe программы, обеспечивающий анализ информации файла BLACK-BOX.BIN.

Программа открывает окно "Просмотр ресурса и координатной защиты".

4.3.1. Окно “Просмотр ресурса и координатной защиты”

4.3.1.1. Проконтролировать на дисплее окно, в котором содержится:

информация о величинах и длительностях нагрузок, накопленная в течение всего срока работы крана;

информация о степени износа крана;

информация о последних введенных параметрах координатной защиты.

Вид окна с данными, приведенными в качестве примера, показан на рис. 3 и 4 соответственно для версий "0" и "1" БТП.

Примечание. Программа анализа телеметрической информации ЛГФИ.00002 хх автоматически определяет версию БТП и выдает соответствующий ей вид окна "Просмотр ресурса и координатной защиты".

4.3.1.2. Команда F1

По команде F1 программа переходит к окну "Просмотр хронологии последних часов работы крана" (см. п. 4.3.2).

4.3.1.3. Команда F10

По команде F10 программа завершается и передает управление операционной системе ПК.

Информацию о кране КС-4572 № 168

(ограничитель ОНК-140 № 805004, контроллер № 805012

снял Иванов Иван Иванович 01.02.98

Дата установки ограничителя на кран 09.11.97

Диапазон нагрузок

M=Q/Qmax, %

Число циклов

Сi

Моточасы

ti

0 < М < 12,5

0

0 ч 2 мин 43 с

12,5 < М < 25

0

0 ч 0 мин 2 с

25 < М < 50

0

0 ч 0 мин 2 с

50 < М < 100

0

0 ч 0 мин 4 с

100 < М

3

0 ч 1 мин 46 с

Суммарная наработка

3

0 ч 4 мин 37 с

Моточас последней перегрузки > 110 %                                                                    0 ч 4 мин 33 с

Класс использования по ИСО 4301/1 (ГОСТ 25546-82)                                              U9 (С9)

Коэффициент распределения нагрузок по ИСО 4301/1 (ГОСТ 25546-82)                      Q4

Группа режима работы крана:

по ИСО 4301/1                                                                                                       А9

по ГОСТ 25546-82                                                                                                 

Параметры координатной защиты

Поворот влево

---- градусы

Поворот вправо

---- градусы

Критический вылет

---- м

Критический угол

---- градусы

Потолок

---- м

Введенные ограничения - ОТСУТСТВУЮТ

Время модификации ограничений - 14 ч 00 мин

Контроль по сумме координатной защиты - НОРМА

F1 Просмотр  F10 Выход

Рис. 3. Вид окна "Просмотр ресурса и координатной защиты" (версия "О" БТП)

Информацию о кране КС-4572 № 168

(ограничитель ОНК-140 № 805004, контроллер № 805012

снял Иванов Иван Иванович 01.02.98

Дата установки ограничителя на кран 09.11.97

Диапазон нагрузок

M=Q/Qmax, % %

Число циклов

Ci

0< М < 12,5

14

12,5 < М < 25

18

25 < М < 50

14

50 < М < 100

11

100 < М

14

Общее количество циклов

71

Характеристическое число                                                                      29,7

Счетчик моточасов                                                                           14 ч 49 мин

Моточас последней перегрузки > 100 %                                              14 ч 47 мин

Класс использования по ИСО 4301/1 (ГОСТ 25546-82)                          U0 (С0)

Коэффициент распределения нагрузок по ИСО 4301/1                                 Q3

(ГОСТ 25546-82)

Группа режима работы крана:

по ИСО 4301/1                                                                                        А1

по ГОСТ 25546-82                                                                                  

Параметры координатной защиты

Поворот влево                                                                                    ---- градусы

Поворот вправо                                                                                  ---- градусы

Критический вылет                                                                              ---- м

Критический угол                                                                                ---- градусы

Потолок                                                                                             ---- м

Введенные ограничения - ОТСУТСТВУЮТ

F1 Просмотр  F10 Выход

Рис. 4. Вид окна "Просмотр ресурса и координатной защиты" (версия "1" БТП)

4.3.2. Окно “Просмотр хронологии последних часов работы крана”

Внешний вид окна для версии "0" БТП с данными, приведенными для примера, показан на рис. 5.

Примечания: 1. Окно для версии "1" БТП имеет аналогичный вид, за исключением последних двух строк. Отличия заключаются в номере отображаемой версии БТП ("1"), количестве записей (1111) и ограничения по лимиту справа (1110).

2. Версия ("0", "1"...) БТП указана во всех (за исключением последней) ячейках массива строки "Метка записи".

3. В последней ячейке массива строки "Метка записи" указывается признак последней записи - метка 255.

Используйте клавиши Fx, Ctrl/Fx, Home, End, Page Up, Page Down, ¬, ®, Esc.

Номер исходного блока

917

918

919

920

921

922

Время (часы, минуты, секунды)

10 34 20

10 34 40

10 35 00

10 35 10

10 35 20

10 35 30

Длина стрелы L, м

13,1

13,1

13,1

13,02

13,10

13,16

Наклон стрелы a, градусы

70,1

70,1

70,1

70,1

70,1

70,1

Давление Р, кг/см2

143,1

143,1

143,1

143,1

143,1

143,1

Азимут, градусы

203

203

203

203

203

203

Вылет R, м

2,50

2,50

2,50

2,51

2,55

2,59

Масса груза Q, т

1,03

1,03

1,03

1,03

1,03

1,03

Дискретные входы, BIN

00000001

00000001

00000001

00000001

00000001

00000001

Выходные репе, BIN

11111111

11111111

11111111

11111111

11111111

11111111

Запасовка, режим

4 0

4 0

4 0

4 0

4 0

4 0

Ограничения, BIN

00000000

00000000

00000000

00000000

00000000

00000000

Загрузка М, %

12

12

12

12

13

13

Код ошибки

E00

E00

E00

E00

E00

E00

Контрольная сумма

Норма

Норма

Норма

Норма

Норма

Норма

Метка записи

0

0

0

0

0

255

Лимит Лево=0          М ³ 0 %               Кол. зап. 1114 шт.  Лимит Право=1113

1 Идти к 2 ЛимитМ 3 ЛимитЛ 4 ЛимитП 5 Г M(t) 6 Г a(t) 7 Г R(t) 8 Г L(t) 9 Г Сумм 10 Печать

Рис. 5. Вид окна "Просмотр хронологии последних часов работы крана" (версия "0" БТП)

В окно выводятся блоки телеметрической информации, в которых зафиксирована информация о включениях механизмов крана, текущих параметрах и длительности операций, выполненных краном в течение последних часов работы крана.

В БТП записывается 1114 и 1111 блоков телеметрической информации соответственно для версий "0" и "1" БТП. Программа, анализируя файл BLACKBOX.BIN, ищет по метке 255 последний блок телеметрической информации из записанных в БТП.

Если при анализе не обнаруживается аномального расположения значения меток, то блок с меткой 255 записывается в последнюю ячейку входного массива размером 1114 (1111 для версии "1" БТП) элементов1 а вся остальная информация "разворачивается" перед этим блоком.

1 Элементы этого массива пронумерованы от 0 до 1113.

Для просмотра информации, последней в хронологии работы крана, необходимо переместить окно просмотра в конец2.

2 Команда End.

Если при анализе обнаруживается аномальное расположение и значение меток, то блоки телеметрической информации переписываются во входной массив в том же порядке, как они были записаны в БТП с выдачей предупреждающего сообщения.

Для локализации места анализа имеется возможность делать выборки3 из входного массива данных. Для этого нужно задать минимальное (команда ЛИМИТ Л - левый) и максимальное значение индекса (команда ЛИМИТ П - правый) элементов входного массива данных, а также минимальное значение величины загрузки крана (команда ЛИМИТ М - момент).

3 Выборка - это набор элементов, отвечающих заданным критериям.

Программа обеспечивает возможность просмотра как в виде таблиц, так и в виде графика зависимости заданного

параметра БТП от времени.

Краткое описание команд окна "Просмотр хронологии...":

Home (начало), End (конец), Page Up (страница вверх), Page Down (страница вниз), ¬(смещение на 1), ®4 перемещают окно просмотра по выборке;

4 Для выдачи этих команд необходимо нажать соответствующую клавишу клавиатуры ПК.

Esc выводит окно "Просмотр ресурса и координатной защиты" (п. 4.2);

F1 перемещает окно просмотра к блоку с заданным номером;

F2 задает минимальное значение загрузки5;

F3 (ЛИМИТ Л) задает минимальное значение индекса блока в выборке;

F4 (ЛИМИТ П) задает максимальное значение индекса блока в выборке;

F5 выводит график зависимости загрузки крана М от времени t на дисплей;

Р6 выводит график зависимости наклона стрелы a от времени t на дисплей;

F7 выводит график зависимости вылета стрелы R от времени t на дисплей;

F8 выводит график зависимости длины стрелы L от времени t на дисплей;

F9 выводит четыре предыдущих графика в совмещенном виде на дисплей;

F10 распечатывает на принтере содержимое окна "Просмотр ресурса и координатной защиты" и содержимое заданной пользователем выборки из окна "Просмотр хронологии последних часов работы крана" в текстовом виде6.

Ctrl/F5 выводит график зависимости загрузки крана М от времени t на принтер;

Ctrl/F6 выводит график зависимости угла наклона стрелы a от времени t на принтер;

Ctrl/F7 выводит график зависимости вылета стрелы R от времени t на принтер;

Ctrl/F8 выводит график зависимости длины стрелы L от времени t на принтер.

Примечание. Короткие вертикальные линии, идущие вниз от оси времени t графика, являются метками подачи напряжения питания бортовой сети на ОНК-140.

5 В выборку отбираются блоки с загрузкой М, превышающей задаваемую пользователем величину.

6 На одном листе формата А4 помещается 60 записей. Следовательно, максимальное число листов соответственно равно 1114/60 = 19.

4.4. Справочная информация (расшифровка кодов)

4.4.1. Дискретные входы

Таблица 1

Расшифровка кодов дискретных входов

Код

Концевик

Обозначение

00000001

Ограничения подъема крюка

ОРК

00000010

Полностью втянутой стрелы (КВД)

КВД

00000100

Опускания стрелы

LUP

00001000

Подъема стрелы

LDOWN

00010000

Подъема груза

QUP

00100000

Телескопирования груза*

TELEUP

01000000

Поворота влево

LTURN

10000000

Поворота вправо

RTURN

Примечания: 1. Активный уровень на входе - "0" или "1" (в зависимости от типа крана).

2. Количество и тип применяемых концевиков определяется типом крана.

Концевики, отмеченные звездочкой, используются во всех модификациях ОНК-140.

4.4.2. Выходные реле (дискретные выходы)

Таблица 2

Расшифровка кодов выходных реле (дискретные выходы)

Код

Реле

00000001

Координатной защиты*

00000010

Поворота вправо

00000100

Поворота влево

00001000

Выдвижения стрелы

00010000

Втягивания стрелы

00100000

Подъема стрелы

01000000

Опускания стрелы

10000000

Основной защиты ("Стоп" - запрет всех движений)*

Примечания: 1. Активный уровень на выходе: "1" - движение разрешено (реле сработало); "0" - движение запрещено.

2. Реле, отмеченные звездочкой, используются во всех модификациях OHK-140.

4.4.3. Введенные и сработавшие ограничения

Таблица 3

Расшифровка кодов введенных и сработавших ограничений

Код ограничения

Ограничение («1» - активный уровень)

введено

сработало

00000001

Поворот вправо

 

00000010

Поворот влево

00000100

Стена

00001000

Потолок

00010000

 

Поворот вправо

00100000

Поворот влево

01000000

Стена

10000000

Потолок

4.4.4. Классификатор отказов САИ-1

Таблица 4

Расшифровка кодов отказов считывателя

Код отказа

Вероятная причина неисправности

ОНК2

ОНК2

МС2

МС1

0

0

0

1

Сбой EEDATA

0

0

1

0

ОНК не сбрасывается

0

0

1

1

АСК ¹ 0 при записи Контрольного байта записи в ОНК

0

1

0

0

АСК ¹ 0 при записи начального адреса в ОНК

0

1

0

1

АСК ¹ 0 при записи конечного адреса в ОНК

0

1

1

0

АСК ¹ 0 при записи Контрольного байта чтения в СНК

0

1

1

1

САИ-1 не сбрасывается

1

0

0

0

АСК ¹ 0 при записи Контрольного байта записи в САИ-1

1

0

0

1

АСК ¹ 0 при записи начального адреса в САИ-1

1

0

1

0

АСК ¹ 0 при записи конечного адреса в САИ-1

1

0

1

1

АСК ¹ 0 при записи Контрольного байта чтение в САИ-1

1

1

0

0

SD ¹ 1 при формировании СТОПа а САИ-1

1

1

0

1

SD ¹ 1 при формировании СТОПа в ОНК

1

1

1

0

САИ-1 ¹ OНK

СОДЕРЖАНИЕ

 

 




ГОСТЫ, СТРОИТЕЛЬНЫЕ и ТЕХНИЧЕСКИЕ НОРМАТИВЫ.
Некоммерческая онлайн система, содержащая все Российские Госты, национальные Стандарты и нормативы.
В Системе содержится более 150000 файлов нормативно-технической документации, действующей на территории РФ.
Система предназначена для широкого круга инженерно-технических специалистов.

Рейтинг@Mail.ru Яндекс цитирования

Copyright © www.gostrf.com, 2008 - 2026