Крупнейшая бесплатная информационно-справочная система онлайн доступа к полному собранию технических нормативно-правовых актов РФ. Огромная база технических нормативов (более 150 тысяч документов) и полное собрание национальных стандартов, аутентичное официальной базе Госстандарта. GOSTRF.com - это более 1 Терабайта бесплатной технической информации для всех пользователей интернета. Все электронные копии представленных здесь документов могут распространяться без каких-либо ограничений. Поощряется распространение информации с этого сайта на любых других ресурсах. Каждый человек имеет право на неограниченный доступ к этим документам! Каждый человек имеет право на знание требований, изложенных в данных нормативно-правовых актах!

  


 

МИНИСТЕРСТВО МОНТАЖНЫХ И СПЕЦИАЛЬНЫХ
СТРОИТЕЛЬНЫХ РАБОТ СССР

ГЛАВНОЕ ТЕХНИЧЕСКОЕ УПРАВЛЕНИЕ
ВНИИМОНТАЖСПЕЦСТРОЙ

УТВЕРЖДАЮ:

Заместитель министра монтажных

и специальных строительных

работ СССР

К.К. Липодат

30 ноября 1976 г.

ИНСТРУКЦИЯ
ПО ИЗГОТОВЛЕНИЮ И ЭКСПЛУАТАЦИИ
РАЗЪЕМНЫХ ЗАЖИМОВ С ПРОФИЛЬНЫМ ВКЛАДЫШЕМ
ДЛЯ СТАЛЬНЫХ КАНАТОВ

ВСН-371-76

ММСС СССР

Центральное бюро
научно-технической информации

Москва - 1977

«Инструкция по изготовлению и эксплуатации разъемных зажимов с профильным вкладышем для стальных канатов» диаметром 15-45 мм разработана в лаборатории монтажа технологического оборудования № 10 ВНИИмонтажспецстроя на основе теоретических и экспериментальных исследований разъемных соединений стальных канатов, проведенных в 1974-76 гг., и конструкторских разработок.

В «Инструкции» определено назначение и указаны требования к зажимам, соблюдение которых позволят исключить пластическое деформирование прядей каната при надежном его закреплении.

Описание конструкции зажима снабжено таблицами с размерами деталей, необходимыми при их изготовлении.

Технология изготовления профильных вкладышей должна рассматриваться в неразрывной связи с чертежами (объект 2997.02.000.СБ) СКБ ВНИИмонтажспецстроя. «Инструкция» предназначена для заводов-изготовителей и организаций, эксплуатирующих стальной канат.

Составители: канд. техн. наук В.Я. Телегин и В.И. Фотченков.

Минмонтажспецстрой СССР

Ведомственные и строительные нормы

ВСН 371-76

ММСС СССР

Инструкция по изготовлению и эксплуатации разъемных зажимов с профильным вкладышем для стальных канатов

Впервые

1. НАЗНАЧЕНИЕ И ХАРАКТЕРИСТИКА РАЗЪЕМНОГО ЗАЖИМА ДЛЯ СТАЛЬНЫХ КАНАТОВ

1.1. Рекомендуемый разъемный зажим для стальных канатов диаметром 15-45 мм назван разъемным зажимом с профильным вкладышем.

1.2. Зажим предназначен для закрепления стальных канатов расчалок мачт, оттяжек, стропов, полиспастов, используемых при монтаже оборудования с помощью такелажных средств. Инструкция не распространяется на закрепления канатов кранов и других приспособлений, подведомственных Госгортехнадзору СССР.

1.3. В зажимах предусмотрено закрепление стальных канатов, указанных во «Временной инструкции по выбору, расчету и применению стальных канатов такелажных средств» ВСН-320-73/ММСС СССР, а именно конструкций:

6´19 + 1о.с. по ГОСТ 2688-69,

6´25 + 1о.с. по ГОСТ 7665-69,

6´19 + 1о.с. по ГОСТ 3077-69,

6´36 + 1о.с. по ГОСТ 7668-69,

6´37 + 1о.с. по ГОСТ 3079-69,

6´41 + 1о.с. по ГОСТ 7684-69,

6´37 + 1о.с. по ГОСТ 7685-69,

6´25 + 7´7 по ГОСТ 7667-69.

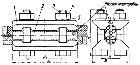
1. Разъемные зажимы применяются для сращивания канатов и закрепления каната с образованием петли (рис. 1).

Внесены ВНИИмонтажспецстроем

Утверждены Минмонтажспецстроем СССР
30 ноября 1976 г.

Срок введения
1 февраля 1977

Рис. 1. Разъемные зажимы:

А - для сращивания канатов, Б - для закрепления каната с образованием петли; 1 - рабочая ветвь каната расчалки; 2 - свободная ветвь каната; 3 - бухта каната; 4 - инвентарный канат (отрезок каната расчалки)

2. ТРЕБОВАНИЯ К ЗАЖИМУ

2.1. Зажим должен исключать скольжение ветвей каната:

в закреплении «А» (см. рис. 1) - при испытательной нагрузке меньше 0,7 от разрывного усилия каната в целом;

в закреплении «Б» (см. рис. 1) - при испытательной нагрузке меньше 0,8 от разрывного усилия каната в целом.

2.2. Зажимы должны быть установлены на чистые, лишенные пластической деформации, участки стальных канатов.

2.3. Закручивание гаек зажимов следует производить динамометрическими ключами или гайковертами для получения заданных величин крутящих моментов, исключающих пластическое деформирование прядей каната и обеспечивающих необходимое прижатие ветвей каната к профильным поверхностям вкладыша.

Допускается закручивание гаек обычными гаечными ключами с последующей проверкой величины крутящего момента динамометрическим ключом.

3. КОНСТРУКЦИЯ И СБОРКА ЗАЖИМА

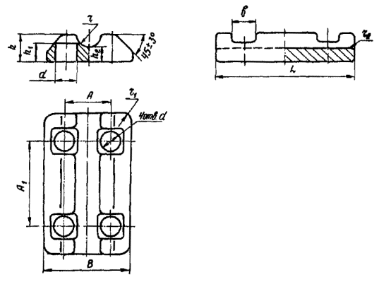
3.1. Разъемный зажим (рис. 2 и табл. 1) состоит не двух накладок с внутренним цилиндрическим гладким пазом, стягиваемых болтами, и вкладыша, на двух противоположных сторонах которого выполнены профильные поверхности, соответствующие наружной поверхности каната. При стягивании накладок болтами обеспечивается совпадение и плотное прилегание профильных поверхностей ветвей каната и вкладыша.

3.2. Конструкция и размеры накладок 1 зажима (см. рис. 2) должны соответствовать указанным на рис. 3 и в табл. 2.

3.3. Конструкция и размеры болтов, гаек и пружинных шайб принимаются в соответствии с табл. 1.

3.4. Конструкция и размеры профильного вкладыша 2 (рис. 2) должны соответствовать указанным на рис. 4 и в табл. 3. Вкладыш получают из пластины размерами: ширина ее меньше В (см. рис. 4) на 2 мм, а толщина меньше h (см. рис. 4) на 1 мм.

Рис. 2. Разъемный зажим с профильным вкладышем:

1 - накладка; 2 - вкладыш; 3 - болт; 4 - гайка; 5 - шайба

3.5. При оборке зажима ветви каната устанавливаются относительно профильного вкладыша в произвольное положение. С помощью накладок, сжимаемых болтами и гайками, ветви каната упруго деформируются и за счет этого сопрягаются с вкладышем.

3.6. Усилие сжатия ветвей каната определяется количеством болтов зажима, их диаметром и величиной крутящего момента, передаваемого на каждый болт.

Соотношение диаметров болтов и величин крутящего момента, необходимых для надежного закрепления каната, даны в табл. 4.

Таблица 1

Размеры, мм

Обозначение зажима в сборе

Диаметры каната

А

А1

L

В

Н

Накладка (2 шт.)

Вкладыш (1 шт.)

Болт М6.д5.8.01.9 ГОСТ 7798-70 (4 шт.)

Гайка М6Н.4.01.9 ГОСТ 5915-70 (4 шт.)

Шайба 65.Г01.9 ГОСТ 6402-70 (4 шт.)

Обозначение

1

2

3

4

5

6

7

8

9

10

11

12

16,5

15-16,5

37

70

130

72

90

16,5/1

16,5/2

М16´90

М16,5

16

18,0

17-18

38

75

135

73

90

18,0/1

18,0/2

М16´90

М16,5

16

20,0

19-20

40

75

140

75

90

20,0/1

20,0/2

М16´90

М16,5

16

21,5

20,5-21,5

47

80

150

90

90

21,5/1

21,0/2

М20´90

М20,5

20

23,0

22-23

48

85

160

93

90

23,0/1

23,0/2

М20´90

М20,5

20

24,0

23,5-24

49

85

165

94

90

24,0/1

24,0/2

М20´90

М20,5

20

25,5

25-25,5

51

90

170

96

90

25,5/1

25,5/2

М20´90

М20,5

20

28,0

27-28

53

95

180

98

125

28,0/1

28,0/2

М24´125

М24,5

24

29,0

28,5-29

54

100

190

100

125

29,0/1

29,0/2

М24´125

М24,5

24

31,0

30,5-31

61

105

200

110

125

31,0/1

31,0/2

М24´125

М24,5

24

33,0

32-33

62

110

210

112

125

33,0/1

33,0/2

М24´125

М24,5

24

34,0

33,5-34

64

115

220

114

125

34,0/1

34,0/2

М24´125

М24,5

24

36,0

35-36

66

120

225

116

125

35,5/1

35,5/2

М24´125

М24,5

24

37,0

36,5-37

68

125

230

120

125

37,0/1

37,0/2

М24´125

М24,5

24

39,0

38-39

77

125

240

136

140

39,0/1

39,0/2

М30´140

М30,5

30

40,5

39,5-40,5

79

130

245

138

140

40,5/1

40,5/2

М30´140

М30,5

30

42,0

41-42

80

130

250

140

140

42,0/1

42,0/2

М30´140

М30,5

30

43,5

42,5-43,5

82

135

260

142

140

43,5/1

43,5/2

М30´140

М30,5

30

45,0

44-45

83

140

270

145

140

45,0/1

45,0/2

М30´140

М30,5

30

Рис. 3. Накладка

Рис. 4. Профильный вкладыш

Таблица 2

Обозначение накладки

Размеры накладок, мм

А

A1

d

L

B

h

h1

h2

r

r1

r2

b

Номинальный

Предельное отклонение

Номинальный

Предельное отклонение

16,5/1

37

±0,5

70

±0,5

17

130

72

19

15

11

8,5

8

1,5

21

18,0/1

38

±0,5

70

±0,5

17

135

73

20

15

11

9

9,5

1,5

21

20,0/1

40

±0,5

75

±0,5

17

140

75

21

15

11

10

10

1,5

21

21,5/1

47

±1

80

+1

22

150

90

25

19

14

11

10,5

2

26

23,0/1

48

±1

86

±1

22

160

93

26

20

 

11,5

11

2

26

24,0/1

49

±1

85

±1

22

165

94

27

20

14

12

11,5

2

26

25,5/1

51

±1

90

±1

22

170

96

28

21

15

13

12

2

26

28,0/1

53

±1

95

±1

22

180

98

30

22

16

14

12

2

26

29,0/1

54

±1

100

±1

22

190

100

32

24

17

14,5

13

2

26

31,0/1

61

±1

105

±1

26

200

110

34

25

18

15,5

14

2,5

30

33,0/1

63

±1

110

±1

26

210

112

35

25

18

16,5

15

2,5

30

34,0/1

64

±1

115

±1

26

220

114

37

28

20

17

16

2,5

30

35,5/1

66

±1

120

±1

26

225

116

38

28

20

18

17,5

2,5

30

37,0/1

68

±1

125

±1

26

230

120

40

29

21

18,5

18,5

2,5

30

39,0/1

77

±1

125

±1

26

240

136

42

32

22

19,5

19,5

2,5

36

40,5/1

79

±1

130

+1

26

245

138

44

33

23

20,5

20,5

2,5

36

42,0/1

80

±1

130

±1

33

250

140

45

34

24

21

21

2,5

36

43,5/1

82

±1

135

±1

33

260

142

47

36

25

22

21,5

2,5

36

45,0/

83

±1

140

±1

33

270

145

49

37

26

22,5

21,5

2,5

36

Таблица 3

Обозначение профильного вкладыша

Размеры вкладыша, мм

В

h

a

r

r1

r2

r3

L

16,5/2

18

13

2

8

5,5

5,5

0,5

120

18,0/2

19

14

2

9

6

5,5

0,5

125

20/2

21

15

2

10

6,5

6

0,5

130

21,5/2

23

16

2

10,5

7

6,5

0,5

140

23/2

24,5

17

2

11

7,5

7

0,5

150

24/2

25,5

18

2

12

8

7,5

0,5

155

25,5/2

27

19

2

12,5

8,5

8

0,5

160

28/2

30

20

2

14

9

8,5

0,5

170

29/2

31

21

2

14,5

9,5

9

0,5

180

31,2

33

22

2

15

10

9,5

0,5

190

33/2

35

25

3

16

10,5

10

1

200

34/2

36

26

3

17

11

10,5

1

210

36/2

38

27

3

18

12

11,5

1

215

37/2

39

28

3

18,5

12,5

12

1

220

39/2

41

29

3

19,5

13

12,5

1

230

40,5

43

30

3

20

13,5

13

1

235

42/2

44

31

3

21

14

13,5

1

240

43,5/2

46

32

3

22

14,5

14

1

250

45/2

48

33

3

22,5

15

14,5

1

260

Таблица 4

Обозначение болта ГОСТ 7798-70

Величина крутящего момента на 1 болт, кг×см

М16´90.6д.5.8.01.9

1400

М20´90.6д.5.8.01.9

2700

М24´125.6д.5.8.01.9

4750

М30´140.6д.5.8.01.9

9200

4. ТРЕБОВАНИЯ К ДЕТАЛЯМ ЗАЖИМА

4.1. Детали зажима должны изготовиться в соответствии с чертежами, представленными в разделе 3.

4.2. Детали зажима должны изготовляться из материалов:

накладка - отливкой из стали марки 25-Л-II по ГОСТ 977-66. Продельные отклонения размеров отливок III класса точности - по ГОСТ 2009-55;

профильный вкладыш - штамповкой из стали марки ВМст 3кп по ГОСТ 380-71;

болты, гайки, шайбы - см. табл. 1.

5. ТЕХНОЛОГИЯ ИЗГОТОВЛЕНИЯ ПРОФИЛЬНЫХ ВКЛАДЫШЕЙ

5.1. Профильный вкладыш изготовляют в специальном штампе, конструкция которого разработана СКБ ВНИИмонтажспецстроя. Схема штамповки представлена на рис. 5.

5.2. Профильные поверхности пуансона и матрицы получают обработкой заготовок на горизонтально-фрезерном станке с помощью делительной головки и дисковой фрезы (рис. 6) размерами по табл. 5.

Стол станка о закрепленной заготовкой пуансона или матрицы поворачивается относительно плоскости фрезы на угол 22° (рис. 7), соответствующий среднему углу свивки прядей в канат. При отклонении угла свивки каната от среднего значения более чем на 3° следует изменить угол наклона канавок на пуансоне и матрице.

Рис. 5. Схема штамповки профильного вкладыша:

1 - пуансон; 2 - заготовка вкладыша; 3 - матрица

Рис. 6. Дисковая фреза:

dз - глубина зуба; dпр - диаметр профиля зуба; q - угол заточки фрезы

Рис. 7. Схема установки заготовки пуансона на станке для нарезания профильной поверхности:

1 - заготовка; 2 - дисковая фреза, 3 - делительная головка; 4 - горизонтальный стол; 5 - державка фрезерного станка

Рис. 8. Схема качательного движения заготовки

5.3. При нарезке каждого выступа на пуансоне и матрице их заготовке сообщают качательное движение по рис. 8.

Таблица 5

Диаметр каната, мм

Диаметр профиля зуба, мм

Глубина профиля зуба, мм

15-16,5

6

2,5

17-18

6,5

2,75

19-20

7

3

20,5-21,5

7,5

3,25

22-23

8

3,5

23,5-24

8,5

3,75

25-25,5

9

4

27-28

9,5

4,25

28,5-29

10

4,5

30,5-31

10,5

4,75

32-33

11

5

33,5-34

11,5

5,25

35-36

12,5

5,75

36,5-37

13

6

38-39

13,5

6,25

39,5-40,5

14

6,5

41-42

14,5

6,75

42,5-43,5

15

7,0

44-45

15,5

7,5

5.4. Вращение патрона делительной головки и продольное перемещение стола должны быть согласованы подбором сменных шестерен гитары станка.

Подбор шестерен производится по формуле

,

где N - характеристика делительной головки;

t - шаг ходового винта стола станка;

i - передаточное число сменных шестерен;

z1 - z4 - число зубьев сменных шестерен.

Сменные шестерни подбирают в зависимости от угла поворота стола станка по прилагаемой к паспорту фрезерного станка таблице таким образом, чтобы передаточное число было равно соотношению числа зубьев подобранных шестерен.

5.5. Профильный вкладыш необходимых размеров получают из заготовки, нагретой до 800 °С.

5.6. Штамповку вкладыша осуществляют с помощью молотов, имеющих массу подающих частей, равную 150-300 кг.

6. МАРКИРОВКА. УПАКОВКА, ТРАНСПОРТИРОВАНИЕ И ХРАНЕНИЕ ДЕТАЛЕЙ ЗАЖИМА

6.1. На накладках и вкладышах, в месте, указанном на рис. 2, должны быть выбиты или отштампованы обозначение зажима и товарный знак предприятия-изготовителя.

Обозначение накладки: см. табл. 2.

Обозначение вкладыша: см. табл. 3.

Обозначение зажима - в сборе: см. табл. 1.

6.2. Готовые зажимы упаковываются в тару, обеспечивающую их сохранность от повреждений при транспортировании. Каждая поставляемая партия зажимов должна сопровождаться документом, в котором указываются:

а) товарный знак предприятия-изготовителя;

б) количество зажимов и их обозначение;

в) дата изготовления;

г) номер настоящей «Инструкции».

6.3. Организация, эксплуатирующая зажимы, в заказах, направляемых предприятию-изготовителю, обязана указать следующие данные:

а) диаметр каната;

б) угол или шаг свивки прядей в канат;

в) конструкцию каната и ГОСТ.

7. ТЕХНИКА БЕЗОПАСНОСТИ ПРИ ЭКСПЛУАТАЦИИ РАЗЪЕМНЫХ ЗАЖИМОВ

7.1. При сборке зажима необходимо следить за соответствием марки зажима параметрам каната.

7.2. Следует проверять плотность прилегания ветвей каната к деталям зажима и, в особенности, к профильному вкладышу.

7.3. Необходимо контролировать величину крутящего момента на каждой гайке с помощью динамометрического ключа.

7.4. Не следует допускать нагружения зажима испытательным усилием, превышающим 0,7 разрывного усилия каната в целом.

7.5. Допускается сращивание различных рекомендуемых настоящей «Инструкцией» стальных канатов, имеющих диаметры в пределах по табл. 1 и одинаковые шаги свивки.

7.6. Рабочие усилия в канатах, закрепленных в зажимах, принимаются в соответствии с запасами прочности и назначением каната, представленными в «Правилах устройства и безопасной эксплуатации грузоподъемных кранов».

СОДЕРЖАНИЕ

 

 




ГОСТЫ, СТРОИТЕЛЬНЫЕ и ТЕХНИЧЕСКИЕ НОРМАТИВЫ.
Некоммерческая онлайн система, содержащая все Российские Госты, национальные Стандарты и нормативы.
В Системе содержится более 150000 файлов нормативно-технической документации, действующей на территории РФ.
Система предназначена для широкого круга инженерно-технических специалистов.

Рейтинг@Mail.ru Яндекс цитирования

Copyright © www.gostrf.com, 2008 - 2026