Крупнейшая бесплатная информационно-справочная система онлайн доступа к полному собранию технических нормативно-правовых актов РФ. Огромная база технических нормативов (более 150 тысяч документов) и полное собрание национальных стандартов, аутентичное официальной базе Госстандарта. GOSTRF.com - это более 1 Терабайта бесплатной технической информации для всех пользователей интернета. Все электронные копии представленных здесь документов могут распространяться без каких-либо ограничений. Поощряется распространение информации с этого сайта на любых других ресурсах. Каждый человек имеет право на неограниченный доступ к этим документам! Каждый человек имеет право на знание требований, изложенных в данных нормативно-правовых актах!

  


 

РУКОВОДЯЩИЙ ТЕХНИЧЕСКИЙ МАТЕРИАЛ

РТМ 38.001-94

УКАЗАНИЯ ПО РАСЧЕТУ НА ПРОЧНОСТЬ
И ВИБРАЦИЮ ТЕХНОЛОГИЧЕСКИХ СТАЛЬНЫХ ТРУБОПРОВОДОВ

«СОГЛАСОВАНО»
Начальник Главного управления
по надзору в химической, нефтехимической
и нефтеперерабатывающей промышленности
Госгортехнадзора России

Александров А. И.

20 декабря 1994 г.

«УТВЕРЖДАЮ»
Начальник Управления
департамента нефтепереработки
Минтопэнерго России

Белов В. П.

26 декабря 1994 г.

РАЗРАБОТАНО Всероссийским научно-исследовательским и проектным институтом нефтеперерабатывающей и нефтехимической промышленности (ВНИПИнефть).

Директор института Никитин В. М.

Заместитель директора Сорокин В. И.

Руководитель темы, к. т. н. Миркин А. З.

Ответственные исполнители:

к. т. н. Маркелов В. П.

д. т. н. Хажинский Г. М.

Исполнители:

к. т. н. Белостоцкий A. M. (НИЦ «СТАДИО»)

к. т. н. Вольфсон Б. С.

СОГЛАСОВАНО

Начальник Главного управления по надзору в химической, нефтехимической и нефтеперерабатывающей промышленности Госгортехнадзора РФ Александров А. И.

УТВЕРЖДЕНО

Начальник Управления департамента нефтепереработки Минтопэнерго РФ Белов В. П.

СОДЕРЖАНИЕ

1. Общие положения. 2

1.1. Область применения. 2

1.2. Классификация трубопроводов. 2

1.3. Основные положения расчета на прочность и вибрацию.. 2

1.4. Условные обозначения. 3

2. Нагрузки и воздействия. 5

2.1. Нагрузки и воздействия при расчетах на статическую и циклическую прочность. 5

2.2. Нагрузки и воздействия при вибрации. 6

3. Допускаемые напряжения. 7

4. Основные положения по выбору толщины стенки. 8

4.1. Коэффициенты прочности. 8

4.2. Расчетная и номинальная толщины стенок элементов. 9

5. Расчет на прочность труб и фасонных деталей под действием внутреннего давления. 9

5.1. Трубы.. 9

5.2. Отводы.. 10

5.3. Переходы.. 12

5.4. Тройники. 13

5.5. Заглушки. 15

6. Выбор расчетной схемы трубопровода. 17

7. Поверочный расчет трубопровода на прочность. 18

7.1. Основные положения. 18

7.2. Применение и учет монтажной растяжки. 19

7.3. Определение усилий воздействия трубопровода на оборудование. 20

7.4. Критерии прочности. 20

7.5. Расчет несущей способности (этап 1) 22

7.6. Расчет на статическую прочность (этап 2) 22

7.7. Расчет на циклическую прочность (этап 3а) 25

7.8. Расчет на длительную циклическую прочность (этап 3б) 26

7.9. Расчет трубопровода при нерабочем состоянии и испытаниях (этап 4) 26

8. Расчет трубопровода на вибрацию.. 26

8.1. Расчет собственных частот. 26

8.2. Расчет вынужденных колебаний трубопровода. 29

8.3. Критерии вибропрочности. 30

9. Перечень использованных документов. 31

Приложение 1 Расчет длины пролета трубопровода. 32

Приложение 2 Расчет коэффициентов гибкости элементов. 32

Приложение 3 Выбор фланцевых соединений. 33

Приложение 4 Выбор сильфонных и линзовых компенсаторов. 35

Приложение 5 Расчет трубопровода на гидроудар. 42

Приложение 6 Расчетно-экспериментальные методы и средства защиты трубопроводов от вибрации. 43

Приложение 7 Рекомендуемое программное обеспечение для расчетов трубопроводов на прочность и вибрацию.. 48

Приложение 8 Инструментальные средства измерения и контроля вибрации. 49

1. ОБЩИЕ ПОЛОЖЕНИЯ

1.1. Область применения

1.1.1. Настоящий РТМ определяет основные требования к расчету на статическую и циклическую прочность, а также вибрацию технологических трубопроводов из углеродистой и легированной стали с рабочим давлением до 10 МПа и рабочей температурой от - 70 до 700 °С. РТМ разработан взамен пособия к СН 527-80 по расчету на прочность технологических стальных трубопроводов на Ру до 10 МПа.

Примечание. 1. Рабочее давление принимается равным максимальному избыточному давлению, возникающему при нормальном протекании технологического процесса.

2. Рабочая температура принимается равной максимальной температуре транспортируемого вещества, установленной технологическим регламентом.

1.1.2. РТМ предусматривает выбор толщины стенки элементов трубопровода по условию обеспечения их несущей способности под действием внутреннего давления. Для учета отрицательного влияния овальности на выносливость отводов при пульсирующем внутреннем давлении введена поправка на толщину стенки, полученная из условия приспособляемости.

Поверочный расчет трубопроводов предусматривает оценку статической и циклической прочности под действием нагрузок соответствующих как нормальному технологическому режиму, так и его возможным нарушениям. Предусмотрен расчет на вибрацию при пусконаладочных работах и эксплуатации.

Внутренние силовые факторы и реакции опор определяются расчетом трубопровода как упругой стержневой системы с учетом реальной гибкости элементов и сил трения в опорах скольжения. Нагрузки на оборудование и опоры определяются в рабочем и нерабочем (холодном) состояниях трубопровода, а также при испытаниях.

Оценка прочности проводится раздельно на действие несамоуравновешенных нагрузок (весовые и внутреннее давление) и с учетом всех нагружающих факторов, в том числе температурных деформаций.

Оценка прочности на действие несамоуравновешенных нагрузок выполняется по формулам метода предельного состояния. Расчет на действие всех нагружающих факторов проводится по методу максимального эквивалентного напряжения. Если в последнем случае не выполняется условие приспособляемости, то проводится дополнительный расчет на циклическую прочность, в том числе и с учетом ползучести.

В РТМ даны рекомендации по определению амплитуды и частоты пульсаций давления рабочей среды, генерируемых оборудованием, и собственных частот колебаний трубопровода. Сформулированы условия отстройки трубопровода от резонанса. Даны критерии прочности трубопровода при наличии вибрации.

1.1.3. При соответствующем обосновании допускается отклонение от указаний РТМ или применение других методов расчета на прочность и вибрации. Решение об этом принимает разработчик проекта при согласовании с институтом ВНИПИнефть.

1.2. Классификация трубопроводов

1.2.1. При поверочных расчетах в зависимости от уровня температур и длительной прочности материала различаются средне- и высокотемпературные трубопроводы.

К высокотемпературным относятся трубопроводы:

- из углеродистой и легированной неаустенитной стали при рабочей температуре свыше 360 °С,

- из легированной аустенитной стали при рабочей температуре свыше 450 °C.

1.3. Основные положения расчета на прочность и вибрацию

1.3.1. Расчет на прочность состоит из стадии определения основных размеров элементов и, при необходимости, поверочного расчета на прочность трубопровода в целом.

1.3.2. Выбор основных размеров элементов трубопроводов осуществляется по расчетным давлению и температуре с учетом химической активности транспортируемого вещества.

1.3.3. Расчетное давление следует принимать, как правило, равным рабочему давлению.

При повышении внутреннего давления во время действия предохранительных устройств более, чем на 10 % по сравнению с рабочим, элементы трубопровода следует рассчитывать на давление, равное 90 % давления в трубопроводе при полном открытии предохранительных устройств.

Расчетное давление на линии нагнетания, не защищенной предохранительными устройствами, принимается на всем участке от насоса (компрессора и т.п.) до запорного органа равным максимальному давлению, развиваемому источником.

Во всех случаях величина расчетного давления должна приниматься не менее 0,2 МПа.

1.3.4. Расчетную температуру стенки элемента следует принимать равной рабочей температуре транспортируемого вещества по проектной документации. При отрицательной рабочей температуре за расчетную температуру принимается 20 °С.

1.3.5. Предварительную расстановку опор для надземных трубопроводов следует производить в соответствии с указаниями в Приложении 1.

1.3.6. Выбор элементов фланцевых соединений следует проводить в соответствии с Приложением 3.

1.3.7. Выбор сильфонных и линзовых компенсаторов проводится в соответствии с Приложением 4.

1.3.8. Поверочный расчет трубопроводов на прочность следует выполнять в случаях, указанных в разделе 7.1, с учетом нагрузок и воздействий, возникающих при строительстве, испытании и эксплуатации. Внутренние силовые факторы в расчетных сечениях трубопровода следует определять методами строительной механики стержневых систем с учетом гибкости отводов и сварных врезок, указанных в Приложении 2. Коэффициент податливости штампованных тройников принимается равным единице. Установленная на трубопроводе арматура рассматривается как недеформируемое тело.

1.3.9. Расчетные значения нагрузок при оценке статической и циклической прочности следует определять как произведение их нормативного значения на коэффициент перегрузки g. Типы нагрузок и воздействий приведены в разделе 2.

1.3.10. Нагрузки при гидравлическом ударе определяются в соответствии с Приложением 5.

1.3.11. Амплитуды и частоты пульсаций давления в трубопроводе определяются в соответствии с разделом 2.2 и Приложением 6.

1.3.12. Расчет трубопроводов на вибропрочность излагается в разделе 8.

1.4. Условные обозначения

АT = [s]/[s20] - температурный коэффициент прочности материала;

Ар - площадь поперечного сечения трубы, мм2;

An, Аb, Aw - укрепляющие площади накладки, штуцера и сварного шва, мм2;

аo, аf - радиусы начальной и конечной полукруговых трещин, мм;

bn - ширина накладки, мм;

b - ширина уплотнительной прокладки, мм;

С, С1, С2 - прибавки к толщине стенки, мм;

c - скорость звука, м/сек;

D, Di - наружный и внутренний диаметры трубы, мм;

DN (Dy) - номинальный диаметр (условный проход);

d - наружный диаметр штуцера и диаметр центрального отверстия в заглушке, мм;

di - внутренний диаметр штуцера, мм;

do - допускаемый диаметр неукрепленного отверстия, мм;

deq - эквивалентный диаметр отверстия при наличии радиусного перехода, мм;

Еo, Еt - модули упругости в холодном состоянии и при расчетной температуре, МПа;

fi - собственная частота колебаний трубопровода, Гц;

fip - частота возмущающей нагрузки, Гц;

h - высота выпуклой части заглушки, мм;

hb, hb1 - расчетные значения высоты штуцера, мм;

I - момент инерции поперечного сечения трубы при изгибе, мм4 ;

Ib, Ipb - моменты инерции поперечного сечения штуцера при изгибе и кручении, мм4;

kb - коэффициент концентрации напряжений в магистрали от воздействия штуцера;

ki - коэффициент увеличения напряжения в отводах;

Kp,  - коэффициенты гибкости изогнутой трубы, соответственно без учета и с учетом стесненности деформации по краям;

Кaeth - амплитуда эффективного значения коэффициента интенсивности напряжений, соответствующего порогу усталости, ;

l - расчетная длина элементов, мм;

L - длина трубы или пролета, м;

Lp - длина трубопровода между неподвижными опорами, м;

Mx, My - изгибающие моменты в сечении, Нмм;

Meq - изгибающий момент в стенке отвода от овальности, Нмм;

Mz - крутящий момент в поперечном сечении, Нмм;

m - погонная масса трубопровода, кг/м;

ml, nl - изгибающий момент и усилие на единицу длины продольного сечения подземного трубопровода, Н и Н/нм;

N - осевое усилие от дополнительных нагрузок, Н;

Nc, Ncp - расчетные числа полных циклов нагружения трубопровода, соответственно внутреннего давления плюс дополнительные нагрузки и только внутреннего давления от 0 до Р;

Nco, Ncpo - числа полных циклов нагружения трубопровода, соответственно внутреннего давления плюс дополнительные нагрузки и только внутреннего давления от 0 до Р;

Nci, Ncpi - числа циклов нагружения трубопровода, соответственно с амплитудой эквивалентного напряжения saei и с размахом колебаний давления DPi;

[N]k - допускаемое число полных циклов нагружения при вибрации;

n - число оборотов вала, об/мин;

nb, ny, nz, nc - коэффициенты запаса, соответственно по временному сопротивлению, по пределам текучести, длительной прочности и ползучести;

P, [Р], Pp, Py - внутреннее давление: расчетное, допустимое, рабочее и условное, МПа;

R - радиус кривизны осевой линии отвода, мм;

r - радиус перехода в тройниковом соединении, мм;

Rb, Ro,2, ,  - временное сопротивление и условный предел текучести соответственно при расчетной температуре и 20 °С, МПа;

Rz, Rc - пределы длительной прочности и ползучести при расчетной температуре, МПа;

T - расчетная температура, °С;

T0 - начальная температура трубопровода, °С;

T2f, Т4f - фиктивные температуры при расчете высокотемпературных трубопроводов на этапах 2 и 4, °С;

t - номинальная толщина стенки элемента, мм;

tb - номинальная толщина стенки штуцера, мм;

to, tob - расчетные толщины стенок магистрали и штуцера при jw = 1,0 мм;

tR, tRi - расчетные толщины стенок трубы и фасонных деталей, мм;

U - расстояние по прямой между неподвижными опорами, м;

V - скорость потока в трубопроводе, м/сек;

W - момент сопротивления поперечного сечения при изгибе, мм3;

Xi - силовой фактор при i-том этапе расчета;

Y - результирующее температурное перемещение при раскреплении одного из неподвижных концов трубопровода, мм;

a, ao, aR - относительная овальность: нормативная, добавочная, расчетная, %;

bm, gm - коэффициенты интенсификации продольных и кольцевых напряжений в отводе;

gi - коэффициент перегрузки для воздействия i-того типа;

d - коэффициент релаксации компенсационных напряжений;

Dmin - минимальный расчетный размер сварного шва, мм;

DРi - размах изменений давления i-того уровня, МПа;

q - номинальный угол поворота отвода, град;

qib, qob, qzb - углы поворота штуцера при плоском изгибе, ортогональном изгибе и кручении, град;

l - коэффициент гибкости отвода;

z - коэффициент стеснения деформации на концах отвода;

SA - сумма укрепляющих площадей, мм2;

s - расчетное напряжение от внутреннего давления, приведенное к нормальной температуре, МПа;

sae, saei - приведенные к нормальной температуре амплитуды эквивалентного напряжения полного цикла нагружения i-той ступени нагружения, МПа;

saev - приведенное к нормальной температуре максимальная амплитуда напряжений при вибрации, МПа;

{saev}, [saev] - безопасная и допускаемая амплитуды напряжений при вибрации, МПа;

se - приведенное к нормальной температуре эквивалентное напряжение, МПа;

szMN - осевое напряжение от дополнительных нагрузок, приведенное к нормальной температуре, МПа;

sbzMN - осевое напряжение в штуцере от дополнительных нагрузок, приведенное к нормальной температуре, МПа;

[s], [s20] - допускаемые напряжения при расчетной и нормальной температурах, МПа;

[s]d - допускаемые напряжения для укрепляющих деталей при расчетной температуре, МПа;

 - допускаемая амплитуда напряжений при усталости при нормальной температуре. МПа;

st, sz - окружные и осевые напряжения в стенке, МПа;

t - касательное напряжение в стенке, МПа;

j, jd, jw - коэффициенты прочности элемента, элемента с отверстием и сварным швом при расчете на внутреннее давление;

jwz - коэффициент прочности поперечного сварного шва при расчете на действие внешних механических нагрузок;

jo - коэффициент недогрузки магистрали;

c - коэффициент усреднения компенсационных напряжений;

ce - коэффициент релаксации напряжений от овальности в отводе;

w - параметр внутреннего давления;

wi - круговая собственная частота, 1/сек.

2. НАГРУЗКИ И ВОЗДЕЙСТВИЯ

2.1. Нагрузки и воздействия при расчетах на статическую и циклическую прочность

2.1.1. Учитываемые в расчетах на статическую и циклическую прочность нагрузки и воздействия, а также соответствующие им коэффициенты перегрузки приведены в табл. 2.1.

Таблица 2.1

Нагрузки и воздействия

Способ прокладки

Коэффициент перегрузки

вид

шифр

характеристика

подземный

надземный

Постоянные

1

собственный вес трубопровода и опирающихся на него конструкций

+

+

1,1

2

вес изоляции

+

+

1,2

3

вес и давление грунта

+

-

1,2

4

предварительная растяжка трубопровода, натяг упругих опор, трение в опорах скольжения

-

+

1,0

Длительные

5

внутреннее давление

+

+

1,0

6

температурные деформации

+

+

1,2

7

температурный перепад в стенке

+

+

1,2

8

вес транспортируемого вещества

+

+

1,0

9

вес отложений и конденсата

+

+

1,2

Кратковременные

10

снеговая

-

+

1,4

11

ветровая

-

+

1,4

12

при строительстве и испытаниях

+

+

1,0

Особые

13

разрушение оборудования, гидравлический удар

+

+

1,0

Примечания: 1. Знак «+» означает, что нагрузки и воздействия учитываются в расчете на прочность, знак «-» - не учитываются.

2. Если трубопровод подвергается гидравлическим испытаниям, то при оценке весовых нагрузок учитывают массу воды.

2.1.2. Поверочный расчет трубопровода, если он проводится, осуществляется как на постоянные и длительные нагрузки с шифрами 1 - 9 в табл. 2.1 (режим ПДН), так и на дополнительное воздействие кратковременных и особых нагрузок с шифрами 10 - 13 в табл. 2.1 (режим ПДКОН). Поверочный расчет проводится, как правило, для режима ПДН. Необходимость расчета режима ПДКОН, как и выбор типов кратковременных и особых нагрузок из табл. 2.1 определяется проектной организацией. Соответствующие режимам ПДН и ПДКОН критерии прочности даны в разделе 7.2.

2.1.3. Нормативные нагрузки от собственной массы трубопровода и изоляции должны определяться на основании стандартов, рабочих чертежей и паспортных данных по номинальным размерам.

2.1.4. Нормативные нагрузки от массы и давления грунта должны определяться расчетом по проектным размерам и плотности грунта с учетом его влажности.

2.1.5. Нормативные нагрузки от предварительного натяжения трубопровода, растяжки компенсаторов и натяга упругих опор определяются проектом. В опорах скольжения при отсутствии дополнительных данных допускается принимать величину коэффициента трения металла по металлу равной 0,3.

2.1.6. Нормативное давление транспортируемого вещества равно расчетному давлению.

2.1.7. Нормативные нагрузки от температурных деформаций определяются проектом по разности рабочей температуры и среднемесячной температуры наружного воздуха, принимаемой по СНиП 2.01.01-82 для месяца, когда фиксируется статически неопределимая система трубопровода.

2.1.8. Нормативный перепад температур по толщине стенки и вызванные им температурные напряжения учитываются только для трубопроводов высокого давления. Необходимость учета напряжений от неравномерного распределения температур по толщине стенки как на переходных, так и на установившихся тепловых режимах работы трубопровода определяется проектной организацией.

2.1.9. Нормативную нагрузку от отложений и конденсата следует определять по отраслевой НТД.

2.1.10. Нормативную снеговую нагрузку на единицу длины горизонтальной проекции надземного трубопровода следует определять по формуле:

 (Н/м),                                         (2.1)

где вес снегового покрова So на единицу площади в кПа находится по СНиП 2.01.07-85, D - наружный диаметр трубопровода, tin - нормативная толщина изоляционного покрытия.

2.1.11. Нормативную ветровую нагрузку на единицу длины надземного трубопровода, действующую перпендикулярно его осевой вертикальной плоскости, следует определять по формуле:

 (Н/м),                                        (2.2)

где статическую Wstc и динамическую Wdyn составляющие ветровой нагрузки в кПа следует определять по СНиП 2.01.07-85, причем последняя величина находится как для сооружения с постоянной жесткостью, равномерно распределенной массой и постоянной шириной наветренной поверхности.

2.1.12. Нормативные нагрузки, возникающие при строительстве и испытаниях трубопровода должны определяться проектом в зависимости от способа производства работ и методов испытаний.

2.1.13. Нагрузки и воздействия, вызываемые резким нарушением нормального режима эксплуатации, например. поломкой оборудования или срабатыванием аварийных устройств, следует устанавливать в проекте с учетом особенностей технологического цикла производства. Возникающие при этом нагрузки, в том числе от гидравлического удара, определяются специальными расчетами. В частности, нагрузки от гидравлического удара находятся в соответствии с Приложением 5.

2.2. Нагрузки и воздействия при вибрации

2.2.1. Нагрузки и воздействия, вызывающие вибрации трубопроводов, разделяются на три группы:

а) механические воздействия на трубопровод со стороны оборудования и опор, вызванные неуравновешенностью движущихся масс, повреждением подшипников и т.п.;

б) нестационарные гидродинамические воздействия в результате:

- пульсаций давления на входе в трубопровод от компрессоров и насосов;

- прохождения по системе двухфазной среды, особенно, в пробковом режиме;

- отрывных течений за местными сопротивлениями, кавитации и пр.

в) акустические колебания рабочего вещества трубопровода (вынужденные продольные колебания среды).

2.2.2. Амплитуды возбуждавших вибрации нагрузок и воздействий определяются расчетом или измерениями в процессе пуско-наладочных работ и задаются в виде перемещений или внешних сил. При оценке нестационарных гидродинамических воздействий следует рассматривать сечения трубопровода, где происходят изменения величины и направления скорости потока.

2.2.3. Спектр частот пульсаций, генерируемых поршневыми и центробежными машинами, определяются по формуле:

                                                        (2.3)

где i = 1, 2, 3... - номер гармоники, n - число оборотов вала в мин., m - число цилиндров поршневых или число лопаток центробежных нагнетательных машин.

2.2.4. Если возбудителями пульсаций в трубопроводе являются местные гидравлические сопротивления, то генерируемая при этом частота определяется по формуле:

                                              (2.4)

где V - скорость потока, Di - диаметр сужения в местном сопротивлении.

Для одиночных преград в формуле (2.4) принимается минимальное значение численного коэффициента равное 200. При отсутствии местного сужения (прямая труба) численный коэффициент в формуле (2.4) принимается равным 500.

2.2.5. Для трубопроводов с двухфазным рабочим веществом следует учитывать возможность появления гидродинамических возмущений, особенно ощутимых в пробковом режиме. Амплитудно-частотные характеристики нестационарного воздействия двухфазного потока на местные сопротивления должны определяться при пуско-наладочных работах или предварительными расчетами.

2.2.6. При проектировании следует учитывать возможность возникновения резонансных акустических колебаний при сближении значений частот гидродинамических возмущений по п. 2.2.3 - п. 2.2.5 и частоты собственных колебаний среды в трубопроводе. Амплитудно-частотные характеристики акустических колебаний для сложных трубопроводных систем определяются расчетом или в процессе пуско-наладочных работ.

Примечание. Собственную частоту акустических колебаний трубопровода можно для прямолинейных участков определять по формулам:

- для трубы с акустически открытыми или закрытыми концами

                                                                       (2.5)

- для трубы с одним акустически открытым концом

                                                                 (2.6)

где i = 1, 2, 3...., c - скорость звука в м/сек, L - длина трубы в м.

3. ДОПУСКАЕМЫЕ НАПРЯЖЕНИЯ

3.1. Допускаемое напряжение [s] - при расчете соединений и элементов трубопровода на статическую прочность следует принимать по формуле:

                                            (3.1)

Примечание. Для аустенитной хромоникелевой стали условный предел текучести определяется при остаточной деформации 1 %.

3.2. Коэффициенты запаса прочности по временному сопротивлению nb, пределам текучести ny, длительной прочности nz и ползучести nc соответственно равны

ny = nz = 1,5, nb = 2,4 и nc = 1,0                                         (3.2)

Примечание. Для аустенитной хромоникелевой стали nb = 3,0.

3.3. При расчете деталей на действие наружного давления допускаемое напряжение следует уменьшить в 1,2 раза.

3.4. Допускаемые напряжения для марок стали, указанных в табл. 3.1, следует определять по формуле

                                                           (3.3)

где [s20] определяется в соответствии с п.п. 3.1 и 3.2 с учетом механических характеристик  и ;

АT = Рр/Ру - температурный коэффициент, определяемый по ГОСТ 356-80 и указанный в табл. 3.1.

Примечание. При отсутствии в табл. 3.1 необходимой марки стали температурный коэффициент Ат определяется из формулы (3.3), где [s] и [s20] находятся по формуле (3.1).

Таблица 3.1

Расчетная температура (°С) для стали марок

Температурный коэффициент Ат

Ст3, 10, 20, 25 10Г2, 10Г2С1, 16ГС, 17ГС, 17Г1С

15Х5М

12X1МФ, 15X1МФ

12МХ

15ХМ, 08Х18Н10Т, 08Х18Н12Т, 08Х22Н6Т, 12Х18Н10Т, 12Х18Н12Т

до 200

1,0

250

325

320

320

300

0,90

300

390

450

450

400

0,75

350

430

-

490

480

0,66

400

450

510

500

520

0,58

425

470

520

510

560

0,50

435

490

530

-

590

0,45

445

500

540

520

610

0,42

455

510

550

530

630

0,36

-

520

560

-

640

0,33

-

530

570

540

660

0,30

-

540

-

-

675

0,27

-

550

-

-

690

0,23

-

-

-

-

700

0,20

Примечания. 1. Указанные в табл. 3.1 марки стали приведены в ГОСТ 356 и соответствуют следующим стандартам: Ст3 - ГОСТ 380; 10, 20, 25 - ГОСТ 1050; 10Г2, 15ХМ - ГОСТ 4573; 10Г2С1, 16ГС, 17ГС, 17Г1С - ГОСТ 19281; 15Х5М, 12Х1МФ, 15Х1МФ, 12МХ - ГОСТ 20072; 08Х18Н10Т, 08Х18Н12Т, 08Х22Н6Т, 12Х18Н10Т, 12Х18Н12Т - ГОСТ 5632.

2. Для промежуточных значений расчетных температур величину Ат следует определять интерполяцией.

4. ОСНОВНЫЕ ПОЛОЖЕНИЯ ПО ВЫБОРУ ТОЛЩИНЫ СТЕНКИ

4.1. Коэффициенты прочности

4.1.1. При расчете элементов, имеющих отверстия или сварные швы, следует учитывать коэффициент прочности, принимаемый равным наименьшему из значений jd и jw:

                                                    (4.1)

4.1.2. При расчете бесшовных элементов без отверстий следует принимать j = 1,0.

4.1.3. Коэффициент прочности сварного шва jw для стыковых соединений из всех марок стали, включая хромомолибденованадиевые и высокохромистые неаустенитные при температуре до 510 °С, следует принимать равным:

- 1,0 при гарантии его равнопрочности и 100 %-ном контроле шва физическими методами (радиографическим, ультразвуковым или им равноценным);

- 0,8 - для всех видов электросварки при контроле шва не менее, чем на 10 % его длины;

- 0,7 - для всех видов электросварки при контроле шва на менее 10 % его длины;

- 0,6 - для газопрессовой сварки, в том числе для водогазопроводных труб по ГОСТ 3262.

4.1.3.1. Для сварных стыковых соединений из хромомолибденованадиевых (12Х1МФ, 15Х1МФ и т.п.) и высокохромистых неаустенитных (08X13, 12X13 и т.п.) сталей при температуре эксплуатации свыше 530 °С значения коэффициента прочности по п. 4.1.3 следует умножать на 0,7 независимо от объема контроля.

При температурах от 510 до 530 °С коэффициент прочности шва определяется линейным интерполированием.

4.1.4. Для всех марок стали коэффициент прочности угловых и тавровых соединений следует принимать равным 0,8 при 100 %-ном контроле шва физическими методами и равным 0,6 - во всех остальных случаях.

Для нахлесточных соединений коэффициент прочности сварного шва следует принимать не более 0,6.

4.1.5. Допускается принимать другие значения jw с учетом условий эксплуатации и показателей качества элементов трубопроводов.

4.1.6. Коэффициенты прочности укрепленных отверстий jd определяются в соответствии с разделом 5.4.

4.2. Расчетная и номинальная толщины стенок элементов

4.2.1. Расчетную толщину стенки tR элемента трубопровода следует вычислять по формулам разделов 5 и 6.

4.2.2. Номинальную толщину стенки элемента следует определять с учетом прибавки С, исходя из условия:

t ³ tR + С                                                              (4.2)

с округлением до ближайшей большей толщины стенки по стандартам и техническим условиям. Допускается округление в сторону меньшей толщины стенки элемента, если разница не превышает 3 %.

Номинальная толщина стенки труб в зависимости от наружного диаметра D должна быть не ниже значений, указанных в табл. 4.1.

Таблица 4.1

мм

D

18

45

89

133

159

219

273

325

Наименьшая номинальная толщина стенки

1,5

2,0

2,5

3,0

3,5

4,0

4,5

5, но не менее D/140

4.2.3. Прибавку С следует определять по формуле:

С = С1 + С2                                                            (4.3)

где С1 - технологическая прибавка, принимаемая равной минусовому отклонению толщины стенки по стандартам и техническим условиям;

С2 - прибавка на коррозию и износ, принимаемая по нормам проектирования или отраслевым нормативным документам с учетом расчетного срока эксплуатации.

4.2.3.1. Для труб-заготовок, используемых для гибки отводов на станках, прибавка С1 равна сумме допусков на минимальную толщину стенки трубы-заготовки и максимальное утонение при гибке. Последняя величина при отсутствии специальных указаний определяется выражением t/(l + 2R/D).

4.2.3.2. Для деталей трубопроводов, получаемых сваркой из труб (секторные отводы, сварные тройники и т.п.) прибавка С1 равна допуску на минимальную толщину стенки трубы-заготовки.

4.2.3.3. Для деталей трубопроводов, изготавливаемых из труб путем горячего и холодного деформирования, прибавка С1 равна допуску на минимальную толщину стенки, указанному в соответствующих данным деталям технических условиях.

5. РАСЧЕТ НА ПРОЧНОСТЬ ТРУБ И ФАСОННЫХ ДЕТАЛЕЙ ПОД ДЕЙСТВИЕМ ВНУТРЕННЕГО ДАВЛЕНИЯ

5.1. Трубы

5.1.1. Расчетную толщину стенки трубы следует определять по формуле:

                                                      (5.1)

или с учетом формулы (3.3)

                                                 (5.2)

Если задано условное давление Ру, то толщина стенки трубы вычисляется по формуле:

                                                  (5.3)

5.1.2. Допустимое внутреннее давление следует вычислять по формуле:

                                              (5.4)

5.2. Отводы

5.2.1. Для гнутых отводов (черт. 5.1а) в трубопроводах, удовлетворяющих условиям п. 7.1.5 и 7.1.6, расчетную толщину стенки трубы-заготовки (tR1) следует определять по п. 5.1.

5.2.2. Для гнутых отводов (черт. 5.1а), подлежащих проверке на прочность в соответствии с п. 7.1.5 и 7.1.6, расчетную толщину стенки трубы-заготовки следует дополнительно увеличить в зависимости от расчетной овальности поперечного сечения aR по формуле:

                                                           (5.5)

где коэффициент k1 определяется из выражения:

                                (5.6)

При (D - tR)/tR > 30 последняя величина принимается равной 30.

Если k1 по формуле (5.6) оказывается меньше 1,0 , то принимается равным 1,0.

Черт. 5.1. Отводы

а - гнутый; б - секционный; в, г - штампосварные.

Черт. 5.2. Переходы

а - концентрический; б - эксцентрический.

5.2.2.1. Расчетную относительную овальность aR следует определять по формуле:

                                                         (5.7)

Значение нормативной относительной овальности

принимается по стандартам и техническим условиям на конкретные отводы. Добавочную относительную овальность aо = 6,0 % следует принимать для отводов, полученных в условиях стесненной гибки (в ручье, с дорном и т.п.). Во всех остальных случаях, в том числе для отводов, полученных свободной гибкой с зональным нагревом токами высокой частоты, добавочная относительная овальность принимается равной нулю.

5.2.3. Расчетную толщину стенки бесшовных отводов с постоянной толщиной стенки в поперечном сечении следует определять по формуле:

                                                        (5.8)

где коэффициент k2 определяется по табл. 5.1

Таблица 5.1

R/(D - tR)

Св. 2,0

1,5

1,0

k2

1,00

1,15

1,30

Примечание. Значение k2 для промежуточных значений R/(D - tR) следует определять линейной интерполяцией.

5.2.4. Расчетную толщину стенки секторных отводов (черт. 5.1б) следует определять по формуле:

                                                       (5.9)

Примечание. Секторные отводы с углом скоса q > 15° допускается применять только в трубопроводах, работающих в статическом режиме и не требующих проверку на циклическую прочность.

5.2.4.1. Для отводов, состоящих из полусекторов и секторов с углом скоса q 22,5° величина k3 определяется по формуле:

                                                 (5.10)

При углах скоса q > 22,5° коэффициент k3 подсчитывается по формуле:

                                        (5.11)

5.2.5. В расчетах штампосварных отводов следует руководствоваться следующим:

- при расположении сварных швов в плоскости изгиба (черт. 5.1в) расчетную толщину стенки следует вычислять по формуле:

                                                     (5.12)

- при расположении сварных швов по нейтральной линии (черт. 5.1г) расчетную толщину стенки следует определять как наибольшее из двух значений, вычисленных по формулам:

                                               (5.13)

Примечание. В выражениях (5.12) и (5.13) значение tR определяется по формулам п. 5.1.1 при j = 1,0 , а величина k3 - по формуле (5.10).

5.2.6. Допустимое внутреннее давление в отводах следует определять по формуле

                                           (5.14)

где коэффициент ki следует определять по табл. 5.2

Таблица 5.2

Гнутые отводы

Протяжные и штампованные отводы

Секторные отводы

Штампосварные отводы

по п. 5.2.1

по п. 5.2.2

черт. 5.1в

черт. 5.1г

k1 = l,0

k1 по формуле (5.6)

k2 по таблице 5.1

k3 по формулам (5.10) или (5.11)

k3/jw

где k3 - по формуле (5.10)

5.3. Переходы

5.3.1. Расчетную толщину стенки переходов, штампованных из труб или листовой стали, следует определять как для труб большего диаметра в соответствии с п. 5.1.1.

5.3.2. Расчетную толщину стенки переходов типа конических обечаек (черт. 5.2) следует определять по формулам:

                                           (5.15)

или

                                             (5.15)

Примечание. Формулы (5.15) и (5.16) применимы, если

или

 и

5.3.2.1. Угол наклона образующей а следует вычислять по формулам:

для концентрического перехода (черт. 5.2а)

для эксцентрического перехода (черт. 5.2б)

5.3.3. Допустимое внутреннее давление в штампованных переходах вычисляется по формуле (5.4), а в переходах типа конических обечаек по формуле:

                                        (5.17)

5.4. Тройники

5.4.1. Расчетную толщину стенки магистрали в тройниковых соединениях (черт. 5.3) следует определять по формулам:

                                              (5.18)

или

                                                (5.19)

5.4.2. Расчетную толщину стенки штуцера следует определять в соответствии с п. 5.1.1.

5.4.3. Расчетный коэффициент прочности магистрали следует вычислять по формуле:

                (5.20)

где ; .

Примечание. При определении  площадь наплавленного металла Аw допускается не учитывать.

5.4.4. Для отбортованных отверстий вместо di следует принимать величину deq (черт. 5.3б), подсчитанную по формуле:

                                                    (5.21)

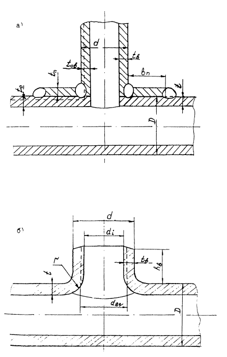
Черт. 5.3. Тройник

а - сварной; б - штампованный.

5.4.5. Если номинальная толщина стенки штуцера или присоединенной трубы равна tob + C и отсутствуют накладки, следует принимать . В этом случае диаметр отверстия должен быть не более вычисленного по формуле:

                                     (5.22)

5.4.6. Коэффициент недогрузки магистрали или корпуса тройника следует определять по формулам:

                                              (5.23)

или

                                                (5.24)

5.4.7. Укрепляющую площадь штуцера (черт. 5.3а) следует определять по формуле:

                               (5.25)

Для штуцеров, пропущенных внутрь магистрали на глубину hb1 (черт. 5.4б), укрепляющую площадь следует вычислять по формуле:

Ab2 = Ab1 + Ab,                                                    (5.26)

где величина Аb определяется выражением (5.25), а Ab1 - как наименьшее из двух значений, вычисленных по следующим формулам:

              (5.27)

Для отбортованного отверстия укрепляющую площадь отбортованного участка следует определять по формуле (3.3), если . При меньших значениях hb площадь укрепляющего сечения следует определять по формуле:

Черт. 5.4. Типы сварных соединений тройников со штуцером

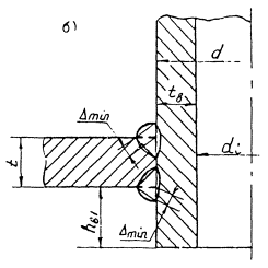
а - примыкающим к наружной поверхности магистрали; б - пропущенным внутрь магистрали.

Черт. 5.5. Круглые плоские заглушки

а - пропущенная внутрь трубы; б - приваренная к торцу трубы; в - фланцевая.

5.4.8. Укрепляющую площадь накладки Аn следует определять по формуле:

                                                         (5.27)

где ширина накладки bn принимается по рабочему чертежу, но не более величины, вычисленной по формуле:

5.4.9. Если допускаемое напряжение для укрепляющих деталей [sd] меньше [s], то расчетные значения укрепляющих площадей умножаются на отношение [sd]/[s].

5.4.10. Сумма укрепляющих площадей накладки и штуцера должна удовлетворять условию:

                                                   (5.28)

5.4.11. Минимальный расчетный размер сварного шва (черт. 5.4) следует принимать по формуле:

                                      (5.29)

но не менее tb.

5.4.12. Допустимое внутреннее давление в магистрали следует определять по формуле:

                                        (5.30)

5.5. Заглушки

5.5.1. Расчетную толщину плоской круглой заглушки (черт. 5.5а, 5.5б) следует определять по формулам:

                                     (5.31)

или

                                        (5.32)

где mo = 1,0 - для заглушек без отверстия;

 - для заглушки с центральным отверстием диаметром d;

m1 = 0,53 при r = 0 по черт. 5.5а;

m1 = 0,35 по черт. 5.5б.

5.5.2. Расчетную толщину плоской заглушки между двумя фланцами (черт. 5.5в) следует определять по формулам:

                                         (5.33)

или

                                            (5.34)

Ширина уплотнительной прокладки b определяется по техническим условиям или чертежу.

5.5.3. Расчетную толщину стенки бесшовной эллиптической заглушки (черт. 5.6) при 0,5 h/D 0,2 следует вычислять по формулам:

                                                   (5.35)

или

                                                      (5.36)

Примечание. Если tR10 получается менее tR при j = 1,0, то следует принимать tR10 = tR.

5.5.4. Расчетная толщина эллиптической заглушки с центральным отверстием при  (черт. 5.7) определяется по формулам:

                                              (5.37)

или

                                                 (5.38)

5.5.6. Коэффициенты прочности заглушек с отверстиями (черт. 5.7а и 5.7б) следует определять в соответствии с п.п. 5.4.2 - 5.4.10, принимая to = tR10 и t tR10 + C.

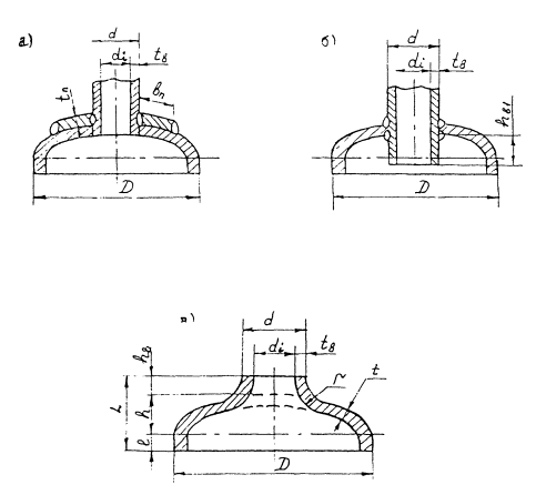
Черт. 5.6. Эллиптическая заглушка

Черт. 5.7. Эллиптические заглушки со штуцером

а - с укрепляющей накладкой; б - пропущенным внутрь заглушки; в - с отбортованным отверстием.

Коэффициенты прочности заглушек с отбортованными отверстиями (черт. 5.7в) следует подсчитывать в соответствии с п. 5.4.2 - 5.4.7. Значение hb следует принимать равным L - l - h.

5.5.7. Минимальный расчетный размер сварного шва по периметру отверстия в заглушке следует определять в соответствии с п. 5.4.11.

5.5.8 Допустимое внутреннее давление для плоской заглушки на конце трубы определяется по формуле:

                                           (5.39)

Допустимое внутреннее давление для плоской заглушки между двумя фланцами определяется по формуле:

                                              (5.40)

5.5.9. Допустимое внутреннее давление для эллиптической заглушки определяется по формуле:

                                        (5.41)

6. ВЫБОР РАСЧЕТНОЙ СХЕМЫ ТРУБОПРОВОДА

6.1. Трубопровод рассматривается как упругая стержневая система. Элементы теории оболочек следует учитывать в расчетах отводов (эффект Кармана) и, при необходимости, в тройниковых соединениях. Расчетная схема должна достаточно полно аппроксимировать реальную геометрию, нагрузки и напряженно-деформированное состояние трубопровода при минимизации числа его расчетных сечений.

6.2. Трубопровод разбивается на прямолинейные или очерченные по дуге окружности участки, границы между которыми являются расчетными узлами (сечениями). В число расчетных узлов следует включать:

- места присоединения к аппаратам, опорам, коллекторам и т.д.;

- точки излома или ветвления осевой линии трубопровода;

- точки изменения поперечного сечения или внешней нагрузки.

6.3. Внешние статические нагрузки рассматриваются как сосредоточенные или равномерно распределенные. Наряду с ними в расчетах статически неопределимых стержневых систем следует учитывать деформационные воздействия, вызванные температурными удлинениями, смещением опор или оборудования, а также предварительной растяжкой трубопровода.

6.4. Расстановка опор и подвесок должна обеспечить допустимый уровень напряжений в элементах трубопровода от несамоуравновешенной, в частности, весовой нагрузки. При этом сами опоры и подвески должны выбираться из условия их рациональной загруженности.

6.5. Опоры и подвески моделируются линейно-упругими связями, действующими в требуемом направлении и обладающими заданной жесткостью. Для подвижных опор следует учитывать эффекты трения.

6.6. Линзовые и сальниковые компенсаторы, арматура и оборудование моделируются стержневыми элементами с заданными характеристиками при растяжении-сжатии, изгибе, кручении и сдвиге.

7. ПОВЕРОЧНЫЙ РАСЧЕТ ТРУБОПРОВОДА НА ПРОЧНОСТЬ

7.1. Основные положения

7.1.1. Толщина стенок труб и фасонных деталей трубопроводов должна определяться в соответствии с разделом 5 настоящих РТМ.

7.1.2. Подземные трубопроводы не подлежат поверочному расчету, за исключением трубопроводов имеющих отношение t/D < 0,015, а также трубопроводов, укладываемых на глубину свыше 3 м или менее 0,8 м. В последних случаях следует обеспечивать условие:

                                                (7.1)

Значения ml и nl необходимо определять в соответствии с правилами строительной механики с учетом отпора грунта и совместного воздействия давления грунта, нагрузок от подвижного состава железнодорожного и автомобильного транспорта, возможного вакуума и гидростатического давления грунтовых вод.

7.1.3. Для оценки прочности спроектированного надземного трубопровода выполняется полный расчет. состоящий из 4 этапов (таблица 7.1). Целью расчета является оценка статической и циклической прочности трубопроводов, а также определение усилий, действующих на оборудование со стороны трубопровода при эксплуатации и испытаниях.

Таблица 7.1

Номер этапа

Наименование расчета

Шифры внешних нагрузок по табл. 1

Назначение этапа расчета

ПДН

ПДКОН

1

Расчет на статическую прочность под действием несамоуравновешенных нагрузок

1, 2, 4, 5, 8, 9

1, 2, 4, 5, 6, 8, 9, 10, 11, 13

Оценка несущей способности

2

Расчет на статическую прочность под действием несамоуравновешенных и самоуравновешенных нагрузок

1, 2, 4, 5, 6, 8, 9

1, 2, 4, 5, 6, 8, 9, 10, 11, 13

Оценка напряжений, статической прочности и нагрузок на оборудование, опоры и конструкции

3а

Расчет на циклическую прочность

5, 6

-

Оценка выносливости элементов

3б

Расчет на длительную циклическую прочность высокотемпературных трубопроводов

1, 2, 4, 5, 6, 8, 9

-

Оценка длительной прочности и выносливости

4а

Расчет нагрузок в нерабочем состоянии

1, 2, 4, 6*, 8, 9

-

Оценка нагрузок на оборудование, опоры и конструкции

4б

Расчет на статическую прочность при испытаниях трубопровода

 

1, 2, 4, 5, 8, 12

Оценка несущей способности и нагрузок

* При расчете нагрузок на оборудование и опоры в нерабочем состоянии для высокотемпературных трубопроводов учитываются остаточные деформации методом расчета на фиктивную отрицательную температуру.

Примечания. 1. Предварительное натяжение компенсаторов учитывается на этапах 2 и 4, если эта величина обеспечивается при монтаже трубопровода.

2. На этапах 1 и 4 силы трения в опорах скольжения не учитываются. При расчете остальных этапов допускается принимать коэффициент трения металла по металлу равным 0,3. Коэффициент трения в опорах качения принимается равным 0,1.

7.1.4. Расчет трубопровода по этапу 4, а также для всех других этапов в режиме ПДКОН (с учетом кратковременных и особых нагрузок) выполняется при соответствующем указании в проекте.

7.1.5. Расчет по этапам 1 и 2 следует проводить после выбора основных размеров трубопроводов и расстановки опор. По усмотрению проектной организации допускается не проводить расчет на прочность трубопроводов всех категорий по СН 527-80 при D 57 мм, а также трубопроводов групп Бв и В категорий IV и V.

7.1.6. Расчет по этапам 2 и 3 не проводится, если выполняется следующее условие:

                                                  (7.2)

7.1.7. Расчет трубопроводов по этапу 3б (на длительную циклическую прочность) следует проводить только для высокотемпературных трубопроводов.

7.1.8. Расчет трубопроводов по этапам 3а и 3б следует проводить, если число полных циклов нагружения (см. п. 7.2.4.2) за время эксплуатации превышает 1000 и в результате расчета по второму этапу установлено, что

- для среднетемпературных трубопроводов

                                                       (7.3)

- для высокотемпературных трубопроводов

                                                         (7.4)

7.1.9. Расчет среднетемпературных трубопроводов проводится по расчетной температуре Т. Для высокотемпературных трубопроводов на этапах 2 и 4а расчет ведется по фиктивным температурам Т2f и Т4f, определенных соответственно в п. 7.6.1 и п. 7.9.1.

7.1.10. На этапах 1 и 4 коэффициент температурного расширения полагается равным нулю, кроме расчета нагрузок в нерабочем состоянии у высокотемпературных трубопроводов (этап 4а), которые определяются при фиктивной отрицательной температуре Т4f.

7.1.11. На этапах 3 и 4 модуль упругости принимается при 20 °С, а на остальных этапах определяется по расчетной температуре.

7.1.12. Значения коэффициента температурного расширения и модуля упругости определяются по справочным данным. Коэффициент поперечной деформации для всех материалов и температур принимается равным 0,3.

7.1.13. Расчеты на циклическую и длительную циклическую прочность должны учитывать возможные циклы с неполным изменением рабочих параметров.

7.1.14. Если трубопровод эксплуатируется при различных режимах, то расчетом следует определить наиболее опасный из них для статической прочности и максимальную нагрузку на оборудование, опорные и строительные конструкции при эксплуатации.

7.1.15. Напряжения от всех нагрузок, кроме внутреннего давления, следует подсчитывать по номинальной толщине стенки элемента. На этапе 4б расчет напряжений от внутреннего давления осуществляется без учета добавки на коррозию.

7.2. Применение и учет монтажной растяжки

7.2.1. В трубопроводах монтажная растяжка применяется для уменьшения передаваемой на оборудование нагрузки. В высокотемпературных трубопроводах применение монтажной растяжки позволяет в определенных условиях понизить эффект накопления деформаций ползучести в наиболее напряженных участках трубопровода.

Примечание. Применение монтажной растяжки должно быть обосновано расчетом, так как при определенных условиях ее воздействие может быть отрицательным.

7.2.2. Рекомендуется назначать величину монтажной растяжки в среднетемпературных трубопроводах не более 60 % от воспринимаемого температурного удлинения, а в высокотемпературных не более 100s %, где коэффициент s определен в табл. 7.4.

7.2.3. При применении монтажной растяжки с негарантируемым качеством расчет трубопровода проводится без ее учета. Гарантируемая монтажная растяжка учитывается на этапах 2 и 4 полного расчета трубопровода.

7.2.3.1. Для высокотемпературного трубопровода при расчете по 2 этапу монтажная растяжка учитывается при определении усилий на оборудование. При этом расчет выполняется в двух вариантах:

- с учетом монтажной растяжки и введении действительной температуры нагрева Т;

- без учета монтажной растяжки и с введением фиктивной температуры нагрева Т2f.

7.2.3.2. Для высокотемпературного трубопровода обязательно проводится расчет по этапу 4а, если величина монтажной растяжки превышает значение, указанное в п. 7.2.2. При этом не учитывается эффект саморастяжки в рабочем состоянии.

7.2.4. Учет монтажной растяжки в расчете трубопровода производится путем введения соответствующих взаимных смешений стыкуемых сечений.

7.3. Определение усилий воздействия трубопровода на оборудование

7.3.1. Усилия воздействия трубопровода на оборудование, опорные и строительные конструкции определяются на этапах 2 и 4.

7.3.2. Для высокотемпературного трубопровода с одинаковыми рабочими температурами и материалом всех участков можно определить усилия на оборудование в начальный момент полного прогрева (без учета саморастяжки) по следующей формуле:

                                                (7.5)

где  - произвольный силовой фактор; X2, Х1 - те же силовые факторы на 2 и 1 этапах полного расчета трубопровода, c - коэффициент усреднения компенсационных напряжений по табл. 7.3.

7.3.3. Для трубопровода с умеренной температурой, если его температура и материал на всех участках одинаковы, то усилия воздействия на оборудование в холодном состоянии можно определить без выполнения расчета по этапу 4, воспользовавшись следующей формулой:

                                     (7.6)

где X1, X2, X3 и X4 - произвольные силовые факторы на 1 - 4 этапах расчета, Ео и Еt - модули упругости при нормальной и рабочей температурах.

7.4. Критерии прочности

7.4.1. Величина допустимой нагрузки на оборудование устанавливается заводом-изготовителем.

7.4.2. Величина приведенных к нормальной температуре эквивалентных напряжений не должна превышать значений, указанных в таблице 7.2.

Таблица 7.2

Этапы расчета

Режим нагружения

Допускаемое напряжение

1

ПДН

1,1 [s20]

ПДКОН

1,5 [s20]

2

ПДН

1,5 [s20], (1,2 [s20])

ПДКОН

1,9 [s20]

4б

ПДКОН

1,5 [s20]

Примечание. В скобках указаны допускаемые напряжения для высокотемпературных трубопроводов.

7.4.3. При проведении расчетов на циклическую прочность для среднетемпературных трубопроводов (этап 3а) выполнение условия их статической прочности на этапе 2 не обязательно.

7.4.4. Циклическая прочность трубопровода на этапе 3а считается обеспеченной, если выполняется условие:

                                                         (7.7)

7.4.4.1. Допускаемая амплитуда напряжений подсчитывается по формулам:

для трубопроводов из углеродистой и легированной неаустенитной стали

                                          (7.8)

для трубопроводов из аустенитной стали

                                        (7.9)

7.4.4.2. Расчетное число полных циклов нагружения трубопровода при Nc 105 следует определять по формуле:

                              (7.10)

где Nco - число полных циклов нагружения с амплитудами эквивалентных напряжений sae, n - число ступеней амплитуд эквивалентных напряжений sai с числом циклов на каждой ступени равном Nci.

Значение параметра sao следует принимать равным 80 МПа для углеродистых и легированных неаустенитных сталей и равным 110 МПа - для аустенитной стали.

Примечание: Если число циклов Nc оказывается меньше 1000, то следует принять его равным 1000.

7.4.5. Длительная циклическая прочность высокотемпературного трубопровода на этапе 3б считается обеспеченной, если выполняется условие (7.7) и se 0,6 [s20], где se - максимальное эквивалентное напряжение на 2 этапе расчета.

7.4.6. Длительная циклическая прочность высокотемпературного трубопровода при se > 0,6 [s20] считается обеспеченной, если выполняется следующее условие суммирования повреждений от усталости и ползучести при установившемся температурном режиме:

                                (7.11)

где

sae - амплитуда эквивалентного напряжения на этапе расчета 3а;

se - максимальное эквивалентное напряжение на 2 этапе расчета;

m - показатель степени в уравнении длительной прочности. При отсутствии справочных данных допускается принимать равным 8.

Примечание. Допускается оценку длительной циклической прочности проводить по формуле:

                                              (7.11а)

При  второе слагаемое в уравнении (7.11а) не учитывается.

7.5. Расчет несущей способности (этап 1)

7.5.1. Приведенные к нормальной температуре эквивалентные напряжения на прямолинейных участках трубопровода, а также криволинейных с l = Rt/r2 1,0 подсчитываются по формулам:

                                          (7.12)

где

                           (7.13)

                                        (7.14)

где коэффициент прочности поперечного шва при растяжении и изгибе jwz принимается в соответствии с п.п. 4.1.3 - 4.1.5.

                                                          (7.15)

7.5.2. На криволинейном участке при l 1,4 дополнительно подсчитываются приведенные к нормальной температуре эквивалентные напряжения:

                         (7.16)

где , а gm определяется по п. 7.6.3.1.

7.5.3. Для тройникового соединения подсчитывается эквивалентные напряжения по формуле (7.12) для двух сечений магистральной трубы (А - А и Б - Б) и одного примыкающего сечения штуцера (В - В на черт. 7.2б).

7.5.4. Для равнопроходного или почти равнопроходного тройникового соединения (d/D 0,8) определяются эквивалентные напряжения по формуле (7.16) как для отвода, принимая в расчетах R = 0,5 (D - t). Расчет проводится для трех характерных сечений тройникового соединения, указанных в п. 7.5.3.

7.5.5. Для всех расчетных сечений трубопровода приведенное к нормальной температуре эквивалентное напряжение должно удовлетворять требованиям п. 7.4.2 для этапа 1.

7.6. Расчет на статическую прочность (этап 2)

7.6.1. Расчет на статическую прочность (этап 2) проводится для средне- и высокотемпературных трубопроводов. Отличие подходов заключается в том, что для высокотемпературных трубопроводов дополнительно принимаются следующие два условия:

1) расчет ведется по фиктивной температуре нагрева, учитывающей релаксацию напряжений самокомпенсации

                                                         (7.17)

Графики значений для различных материалов представлены в табл. 7.3.

Таблица 7.3

Сталь

Значения коэффициента усреднения компенсационных напряжений c при расчетных температурах

360

400

450

500

550

600

650

700

Углеродистая, кремнемарганцовистая

0,29

0,28

0,25

-

-

-

-

-

Легированная неаустенитная

0,37

0,35

0,33

0,30

0,24

0,16

-

-

Легированная аустенитная

 

 

0,38

0,34

0,30

0,25

0,20

0,16

2) при расчете отводов напряжения от овальности (см. формулу 7.19) умножаются на коэффициент

                                                          (7.18)

Черт. 7.1. Расчетная схема отвода.

Черт. 7.2. Расчетная схема тройникового соединения.

а - схема нарушения; б - расчетные сечения.

7.6.2. Приведенные к нормальной температуре эквивалентные напряжения на прямолинейных участках трубопроводов, а также криволинейных с l 1,0 подсчитываются по формуле (7.12).

7.6.3. Дополнительно приведенные к нормальной температуре эквивалентные напряжения на криволинейных участках подсчитываются по формуле:

                (7.19)

где коэффициенты gm и βm находятся соответственно по п. 7.6.3.1, знаки Мx и Мy определяются указанными на черт. 7.1 положительными направлениями, коэффициент В вычисляется по формуле:

                                                      (7.20)

изгибающий момент от овальности поперечного сечения определяется по формуле:

                                                        (7.21)

где коэффициенты ce и aR определяются по п. 7.6.1 и п. 5.2.2.1. Для среднетемпературных трубопроводов ce = 1,0.

Приведенное к нормальной температуре осевое напряжение от внутреннего давления подсчитывается по формуле:

                                                (7.22)

7.6.3.1. Коэффициенты интенсификации напряжений gm и βm определяются по формулам, приведенным в РТМ 24.038.08-72. Соответствующие им графики приведены на черт. 7.3а и 7.3б.

7.6.4. Для тройникового узла производят расчет приведенных к нормальной температуре эквивалентных напряжений по формуле:

                                              (7.23)

Для сечений А - А и Б - Б (черт. 7.2б) окружная и осевая составляющие напряжений соответственно равны:

                                             (7.24)

а для сечения Г - Г:

                                                  (7.25)

где s, szMN и sbzMN подсчитываются по формулам (7.13) и (7.14) при j = jw = 1,0. Положительные направления моментов показаны на черт. 7.5а.

Черт. 7.3. К определению коэффициентов gm (а) и βm (б),

при  и

7.6.4.1. Значение kb подсчитывается по следующей формуле:

                   (7.26)

где tbm - толщина стенки штуцера в зоне пересечения с магистралью. Для штампованных тройников tbm принимается равным толщине стенки в радиусном переходе.

Если значение kb, подсчитанное по формуле (7.26), оказывается меньше 2,0, то следует принимать kb = 2,0.

7.6.5. Для равнопроходного или близкого к равнопроходному тройникового соединения (d/D 0,8) дополнительно определяются эквивалентные напряжения для сечений А - А, Б - Б и В - В (черт. 7.2б) как для отвода, принимая в расчетах R = 0,5 (D - t):

                           (7.27)

7.6.6. Во всех расчетных сечениях приведенное к нормальной температуре эквивалентное напряжение должно соответствовать требованиям п. 7.4.2 для этапа 2.

7.7. Расчет на циклическую прочность (этап 3а)

7.7.1. Для прямолинейных и криволинейных труб с l > 1,0 определяется амплитуда приведенных к нормальной температуре эквивалентных напряжений по формуле:

                                         (7.28)

где s, szMN и τ вычисляются по формулам (7.13) - (7.15).

7.7.2. Дополнительно на криволинейном участке трубопровода приведенную к нормальной температуре амплитуду эквивалентных напряжений следует определять по формуле:

             (7.29)

где все компоненты напряжений определяются как в п. 7.6.3 при условии ce = 1,0.

7.7.3. Приведенную к нормальной температуре амплитуду эквивалентных напряжений в тройнике следует подсчитывать по следующей формуле:

                                              (7.30)

где st и sz определяются по формулам (7.24) и (7.25).

7.7.4. Для равнопроходного или близкого к равнопроходному тройникового соединения приведенные к нормальной температуре амплитуды эквивалентных напряжений определяются для сечений А - А, Б - Б и В - В (черт. 7.2б) как для отвода при R = 0,5 (D - t) в соответствии с формулой:

                       (7.31)

7.7.5. Приведенная к нормальной температуре амплитуда эквивалентных напряжений для всех элементов трубопроводов должна удовлетворять условию п. 7.4.4.

7.8. Расчет на длительную циклическую прочность (этап 3б)

7.8.1. Расчет на длительную циклическую прочность проводится с использованием приведенных к нормальной температуре амплитуд эквивалентных напряжений sae, полученных на этапе 3а без учета релаксации напряжений, и максимальных эквивалентных напряжений se этапа 2, полученных с учетом коэффициентов релаксации напряжений c и ce.

7.8.2. Во всех расчетных сечениях трубопровода должно быть удовлетворено условие п. 7.4.6.

7.9. Расчет трубопровода при нерабочем состоянии и испытаниях (этап 4)

7.9.1 Расчет трубопровода при нерабочем (холодном состоянии проводится с целью определения нагрузок на оборудование и опоры, в частности, для оценки предварительного натяга пружинных опор и подвесок. При этом расчет высокотемпературного трубопровода проводится по фиктивной отрицательной температуре

                                                     (7.32)

где d определяется по табл. 7.4.

Таблица 7.4

Сталь

Значения коэффициента релаксации компенсационных напряжений d при расчетных температурах

360

400

450

500

550

600

650

700

Углеродистая, кремнемарганцовистая

0,71

0,72

0,89

-

-

-

-

-

Легированная неаустенитная

0,63

0,65

0,70

0,80

0,95

1,0*

-

-

Легированная аустенитная

-

-

0,62

0,66

0,74

0,89

1,0*

1,0

* Значения d = 1,0 достигаются для легированной неаустенитной стали при 560 °С, а для аустенитной - при 630 °С.

7.9.2. Расчет трубопровода на прочность при испытаниях проводится с учетом реального расположения и закрепления опор, а также величины пробного давления.

7.9.2.1. Расчет напряжений выполняется по формулам раздела 7.5 как для первого этапа расчета. При этом величина s определяется без добавки на коррозию.

7.9.2.2. Статическая прочность трубопровода при испытаниях полагается обеспеченной, если выполняется условие п. 7.4.2 для этапа 4б.

8. РАСЧЕТ ТРУБОПРОВОДА НА ВИБРАЦИЮ

8.1. Расчет собственных частот

8.1.1. Анализ собственных частот и форм стержневых колебаний трубопровода проводится для оценки его вибропрочности и возможных путей отстройки от детерминированных частот возмущения.

При оценках вибропрочности трубопровода следует учитывать все собственные частоты в энергетически значимой диапазоне, но не более 100 Гц.

8.1.2. Расчет собственных частот осуществляется по стержневой схеме с учетом массы рабочего вещества и изоляции. Арматура рассматривается как сосредоточенная масса. В расчетах учитывается повышенная податливость криволинейных участков трубопровода.

При аппроксимации формы собственных колебаний число расчетных сечений, где сосредотачивается масса участков, должно быть достаточным для описания необходимого числа форм колебаний. Сечения приведения масс должны находиться также в местах приложения вибрационных нагрузок. При определенных условиях следует рассматривать несколько вариантов разбивки трубопровода на сосредоточенные массы, чтобы уточнить значения собственных частот.

Примечание. Для сложных разветвленных систем трубопроводов могут быть использованы приближенные методы анализа форм собственных колебаний.

8.1.3. Значения собственных частот определяется численным решением линейной алгебраической задачи о собственных значениях:

                                                (8.1)

где wi = 2pfi - круговая частота i-той формы собственных колебаний;

[F] = [{j}1, {j2} … {jk}] - матрица собственных форм изгибных колебаний;

[L] = [K]-1 - матрица динамической податливости;

[M] - диагональная матрица масс.

Примечание. Расчет собственных частот проводится без учета демпфирования колебаний.

8.1.4. Для трубопровода, рассматриваемого как стержень с постоянным поперечным сечением на двух опорах, собственная частота fi, соответствующая i-той форме собственных колебаний, определяется по формуле:

                                                   (8.2)

где ki - i-тый корень частотного уравнения;

L - длина трубопровода между опорами, м;

, мм4;

m - погонная масса трубопровода с учетом изоляции и рабочего вещества, кг/м.

Основные расчетные схемы для однопролетного трубопровода и соответствующие значения ki приведены в табл. 8.1.

Примечание. Растягивающее осевое усилие повышает, а сжимающее - понижает собственную частоту. Этот фактор может играть заметную роль для первой формы колебаний. Для трубы с двумя шарнирными опорами значение первой собственной частоты с учетом осевой силы N определяется по формуле:

                                                        (8.3)

где  - критическая нагрузка при сжатии стержня (Н).

8.1.5. Для трубопровода по п. 8.1.4, но с дополнительной сосредоточенной массой, собственная частота подсчитывается по формуле:

                                        (8.4)

где Q - сосредоточенная масса (кг), kq - поправочный коэффициент, значения которого приведены в табл. 8.2.

8.1.6. Для трубопровода с большим числом пролетов равной длины собственная частота подсчитывается по формуле

                                                 (8.5)

где kin - i-тый корень характеристического уравнения, определяемый по табл. 8.3.

Таблица 8.1

Частотные коэффициенты ki для вычисления собственных частот колебаний трубопровода с одним пролетом.

Тип проекта трубопровода

Формулы расчета

Значение ki частоты

первой

второй

Шарнир - шарнир

pm

3,14

6,28

где m = 1, 2, 3, ...

 

 

Шарнир - заделка

p (4m + 1)/4

3,93

7,07

 

 

 

Заделка - заделка

p (2m + 1)/2

4,71

7,85

 

 

 

Заделка - консоль

p (2m + 1)/2

1,57

4,71

 

 

 

Свободно лежащая на опорах труба

pm

3,14

6,28

 

 

 

Один конец защемлен, а другой свободно лежит на опоре

 

3,87

7,07

 

 

 

Г-образный

 

3,14/1,93

П-образный

 

1,76/1,41

Z- образный

 

1,67/1,5

Таблица 8.2

Поправочные коэффициенты kq для учета сосредоточенной массы в уравнении (8.4)

Тип проекта трубопровода

Коэффициент kq

Тип проекта трубопровода

Коэффициент kq

Заделка - заделка

2,7

Поворот, плечи равные, Г-образный

0,28

 

 

Консоль с нагрузкой на конце

3,9

 

Свободно лежащая на опорах труба

 

П-образный

0,6/0,7

 

 

Один конец защемлен, а другой свободно лежит на опоре

2,3

Z-образный

0,66/0,68

 

 

Таблица 8.3

Частотные коэффициенты kin для трубопроводов с пролетами равной длины

Схема закрепления трубопровода

Число пролетов

Номер гармоники

1

2

3

4

5

1

3,14

6,28

9,42

12,57

15,70

2

3,14

3,93

6,30

7,06

9,42

3

3/14

3,55

4,30

4,30

6,70

4

3,14

3,39

3,92

4,46

6,28

5

3,14

3,30

3,70

4,15

4,55

10

3,14

3,20

3,30

3,48

3,70

1

4,73

7,85

10,99

14,14

17,28

2

3,93

4,74

7,07

7,86

10,21

3

3,55

4,30

4,74

6,69

7,45

4

3,39

3,93

4,46

4,74

6,53

5

3,30

3,71

4,15

4,55

4,74

10

3,20

3,30

3,49

3,70

3,93

1

3,93

7,97

10,21

11,35

16,49

2

3,39

4,46

6,53

7,60

9,68

3

3,27

3,93

4,59

6,41

7,07

4

3,20

3,64

4,21

4,65

6,35

5

3,20

3,49

3,93

4,37

4,68

10

3,14

3,24

3,46

3,58

3,80

8.1.6.1. Низшую собственную частоту многопролетного трубопровода с пролетами различной длины можно оценивать по наибольшему пролету. Если этот пролет крайний, то дополнительно оценивается собственная частота внутреннего пролета максимальной длины и из двух полученных значений выбирается наименьшее.

8.2. Расчет вынужденных колебаний трубопровода

8.2.1. Для количественных оценок сопротивления усталости при вибрациях и амплитуд вибрационных перемещений в характерных сечениях следует проводить расчет вынужденных изгибных колебаний трубопровода. При этом используются данные о динамических нагрузках, полученные в соответствии с разделом 2.2. При отсутствии достоверных данных о характеристиках возбуждающих вибрации нагрузок, расчет вынужденных колебаний следует проводить с использованием результатов специальных испытаний.

8.2.2. Расчет проводится в линейной постановке для детерминированных кинематических и силовых воздействий, заданных в полигармоническом виде. Следует предусмотреть возможность сдвига фаз между нагрузками в различных сечениях трубопровода. Рассматриваются установившиеся колебания системы при рабочих параметрах. Опоры моделируются линейно-упругими связями. Значение коэффициента относительного демпфирования принимается равным 0,02.

8.2.3. Расчет проводится спектральным методом с разложением по формам собственных колебаний трубопровода. Определяются амплитудно-частотные характеристики перемещений в расчетных сечениях, а также вибрационных нагрузок на опоры, подвески и оборудование.

8.2.4. Расчет напряжений при вынужденных колебаниях осуществляется по формулам этапа 3а. При этом учитываются размахи колебаний внешних нагрузок и внутреннего давления для всех рассматриваемых возмущающих частот. Приведенные к нормальной температуре амплитуды эквивалентных напряжений в характерных сечениях трубопровода должны быть представлены в спектральной форме.

8.2.5. Для приближенной оценки вибрации в трубопроводах с первой собственной частотой до 60 Гц можно воспользоваться методом «динамической жесткости». Согласно этому методу определяется отношение первой собственной частоты f1 и частот возбуждающих нагрузок fip. С помощью этого отношения по черт. 8.1 находится коэффициент динамичности kid. Значения возмущающих нагрузок с i-той частотой умножаются на соответствующий коэффициент динамичности. Далее проводится расчет трубопровода на прочность по формулам этапа 3а.

8.3. Критерии вибропрочности

8.3.1. Основным средством обеспечения вибропрочности трубопровода является отстройка собственных частот fi от частот возбуждающих нагрузок fip. При этом должны выполняться условия:

                                             (8.6)

8.3.2. Амплитуды вибронапряжений на различных частотах определяются в результате расчета вынужденных колебаний трубопровода (п. 8.2.4). При оценке вибропрочности для каждого характерного сечения следует определить максимальную амплитуду эквивалентных вибронапряжений (saev), получаемую в результате наложения различных форм колебаний.

8.3.3. Оценка вибропрочности проводится из условия, что при начальном и конечном размерах трещины (трещиноподобного дефекта) под действием вибронапряжений не достигается величина порога усталости. Такое допущение справедливо, когда число вибрационных циклов превышает 10 за время эксплуатации трубопровода. Достижение порогового значения коэффициента интенсивности напряжений при вибрациях означает разрушение трубопровода за существенно меньший период времени, чем расчетный (10 - 40 лет).

Для исходной полукруговой микротрещины при коэффициенте раскрытия равном 1,0 допускаемая амплитуда вибронапряжений находится из условия:

                                          (8.7)

где Кaeth = 1 ÷ 2 МПа - эффективное значение амплитуды порогового коэффициента интенсивности напряжений при усталости;

ao = 0,1 ÷ 0,5 мм - радиус полукруговой трещины.

Наряду с допускаемым в расчетах следует учитывать безопасный уровень вибронапряжений, для которых при реальных размерах поверхностной усталостной трещины порог усталости не достижим. Для оценки этих напряжений можно воспользоваться условием:

                                          (8.8)

где af - максимальный допускаемый радиус полукруговой трещины, принимаемый равным половине номинальной толщины стенки элемента.

Для оценочных расчетов можно принимать [saev] = 70 МПа и {saev} = 30 МПа.

Примечание. Допущение о полукруговом фронте трещины идет в запас прочности, если ее радиус принимается равным полудлине, определенной на поверхности элемента.

Черт. 8.1. Схема определения коэффициента Кid при Kid max = 3,0

8.3.4. Расчетное число полных циклов пусков-остановов трубопроводов с умеренной температурой должно быть меньше допускаемого:

Nc [N]                                                            (8.9)

где [N] в зависимости от амплитуды вибронапряжений и марки стали определяется по формулам (8.10) - (8.12).

При saev {saev}

для углеродистой и легированной стали

                                           (8.10)

для аустенитной стали

                                           (8.11)

При {saev} < saev < [saev] для всех сталей

                                        (8.12)

При saev {saev} для трубопроводов из всех сталей эксплуатация недопустима.

8.3.5. Для высокотемпературных трубопроводов в условиях вибрации при s 0,6 [s20] должно выполняться условие (8.9), а при s > 0,6 [s20] следующее:

                                               (8.13)

где [N]k (k = 1, 2) определяется согласно п. 8.3.4.

8.3.6. Для типовых трубопроводов в качестве критерия вибропрочности могут быть использованы допустимые амплитуды перемещений в характерных сечениях трубопровода.

9. ПЕРЕЧЕНЬ ИСПОЛЬЗОВАННЫХ ДОКУМЕНТОВ

1. СН 527-80. Инструкция по проектированию технологических стальных трубопроводов Ру до 10 МПа.

2. ОСТ 108.031.08-85 - ОСТ 108.031.10-85. Котлы стационарные и трубопроводы пара и горячей воды. Нормы расчета на прочность.

3. ПНАЭ Г-7-002-86. Правила и нормы в атомной энергетике. Нормы расчета на прочность оборудования и трубопроводов атомных энергетических установок.

4. Пособие по расчету на прочность технологических стальных трубопроводов на Ру до 10 МПа (к СН 527-80).

5. РТМ 24.038.08-72. Расчет трубопроводов энергетических установок на прочность.

6. СНиП 2.01.07-85. Нагрузки и воздействия.

7. СНиП 2.04.12-86. Расчет на прочность стальных трубопроводов.

8. СНиП 2.01.01-82. Строительная климатология и геофизика.

9. ОНТП 02.18 Минатомэнергопром СССР «Разработка методов проектирования и эксплуатации трубопроводов АЭС. Руководство по обоснованию прочности трубопроводов АЭС», Москва, 1990 г.

10. ANSI/ASME В31.3. ASME code for pressure piping. Chemical plant and petroleum refinery piping.

11. МУ-РВ-1-86. Методические указания по расчетной оценке и снижению динамических воздействий на конструкции технологического оборудования. Миннефтехимпром СССР.

12. МР 61-82, Методические рекомендации. Метод расчета сложных пространственных конструкций в области низших форм колебаний. Госстандарт СССР.

ПРИЛОЖЕНИЕ 1

РАСЧЕТ ДЛИНЫ ПРОЛЕТА ТРУБОПРОВОДА

1. Предварительная расстановка опор осуществляется в соответствии с данным Приложением. При этом следует различать средние и крайние пролеты: крайним считается пролет, у которого соседний является консолью или содержит компенсатор. Длина крайних пролетов не должна превышать 80 % от длины средних.

2. Длина среднего пролета трубопровода (м) должна определяться как наименьшее из значений, вычисленных по формулам (1) и (2):

                           (1)

                         (2)

где значение расчетных нагрузок на единицу длины трубопровода q (кН/м) определяется для рабочих условий в соответствии с разделом 2.1, a qi (кН/м) представляет собой погонную весовую нагрузку на трубопровод при испытаниях внутренним давлением на прочность.

3. Для газопроводов, в которых возможно образование конденсата при их отключении, длина среднего пролета (м) не должна превышать величины

                                            (3)

где коэффициент F находится по следующей таблице:

Таблица 1

Уклон трубопровода

Коэффициент F для трубопроводов с Dy

100

300

500

700

1000

1400

0,000

1,00

1,00

1,00

1,00

1,00

1,00

0,001

1,33

1,26

1,23

1,21

1,19

1,16

0,002

1,54

1,44

1,39

1,37

1,34

1,30

0,003

1,72

1,56

1,53

1,50

1,46

1,40

0,004

1,86

1,72

1,66

1,62

1,56

1,48

ПРИЛОЖЕНИЕ 2

РАСЧЕТ КОЭФФИЦИЕНТОВ ГИБКОСТИ ЭЛЕМЕНТОВ

1. При поверочном расчете трубопровода на прочность следует учитывать повышенную гибкость отводов и сварных врезок.

Примечание: повышенной гибкостью штампованных тройников можно пренебречь, так как их толщина стенки «в теле» существенно выше, чем соединяемых патрубков.

2. Отводы

2.1. Коэффициент гибкости изогнутой трубы с прямыми участками на концах при l > 2,2 равен 1,0 . а при l 2,2 вычисляется по формуле:

                                                        (1)

где Кр - коэффициент гибкости без учета стесненности деформации концов изогнутого участка трубопровода;

z - коэффициент, учитывающий стесненность деформации на концах изогнутого участка.

2.2.1. Величина Кp определяется по формуле:

                                                   (2)

2.2.2. Величина z при l 1,65 вычисляется по формул»:

                                     (3)

где , q - угол поворота отвода (рад), R - радиус кривизны. При l > 1,65 величина z полагается равной 1,0.

3. Т-образные сварные соединения

3.1. При поверочном расчете компактных трубопроводных систем в блочном исполнении рекомендуется учитывать податливость штуцеров в Т-образных сварных соединениях при изгибе и кручении.

3.2. Углы поворота в узле А (черт. 1) от приложенных к штуцеру изгибающих моментов в плоскости соединения (Мib) и в перпендикулярной ей плоскости (Мob), а также от крутящего момента (Mzb) подсчитывается по формулам:

                                        (4а)

                                     (4б)

                                    (4в)

где Ib, Ipb - моменты инерции сечения штуцера при изгибе и кручении;

.

3.3. При присоединении трубопровода к аппарату допускается определять углы поворота штуцера аппарата по формулам (4а) - (4б), полагая в них член 0,5D/d равным нулю.

Черт. 1. Расчетная схема Т-образного сварного соединения трубопроводов

ПРИЛОЖЕНИЕ 3

ВЫБОР ФЛАНЦЕВЫХ СОЕДИНЕНИЙ

1. Типы фланцевых соединений и рекомендуемые области применения

Используемые в трубопроводных системах фланцевые соединения различаются по конструктивному исполнению (приварные встык, плоские, резьбовые и т.д.), типу привалочной поверхности (плоская, выступ - впадина, шип - паз, под овальные, восьмигранные, линзовые прокладки), а также типу и материалу прокладки.

Области применения различных типов фланцевых соединений регламентируются СН 527-80, а также распространяющимися на данный трубопровод дополнительными общими техническими требованиями к конструкции и материалам.

2. Расчетные условия и выбор нормализованных фланцев

Как правило, при проектировании трубопроводов следует использовать нормализованные фланцевые соединения. Выбор нормализованного фланцевого соединения производится в зависимости от типа соединения, условного диаметра (Dy) и условного давления (Ру), с учетом тех или иных специальных требований, которые могут предъявляться к фланцевым соединениям трубопроводов.

Основные нормативные документы, регламентирующие размеры фланцевых соединений, перечислены в п. 4 настоящего приложения.

При выборе нормализованных фланцевых соединений следует иметь в виду, что существующие нормативные документы на фланцевые соединения, как правило, разработаны в предположении, что расчетная прибавка на коррозию для фланцев из углеродистых и низколегированных сталей не превышает 2 мм, а для фланцев из аустенитных хромоникелевых сталей равна нулю. Кроме того, указанные документы, как правило, предполагают, что фланцы и болты (шпильки) соединений, эксплуатируемых при повышенных температурах, выполнены из материалов одного класса, имеющих близкие коэффициенты линейного расширения. Поэтому, в случае, если для каких-либо фланцевых соединений эти требования не выполняются, такие соединения должны рассматриваться как специальные и возможность их использования должна подтверждаться расчетом на прочность.

На фланцевые соединения трубопроводов, кроме внутреннего или наружного давления, могут действовать также осевая и перерезывающие силы, изгибающие и крутящий моменты, величины которых определяются из расчета напряженно-деформированного состояния трубопровода в целом. При выборе нормализованного фланцевого соединения указанные силовые факторы следует учитывать при определении условного давления, по которому выбираются нормализованные фланцы:

 МПа                           (1)

где:

, Н·мм                                                    (2)

Мх, My - изгибающие моменты, действующие в двух взаимно перпендикулярных плоскостях, проходящих через ось трубы, Н·мм;

N - осевая сила, действующая на фланцевое соединение, Н:

- при растяжении принимается со знаком плюс;

- при сжатии - минус.

G - эффективный диаметр прокладки, мм:

- для плоских прокладок шириной b < 15 мм, а также для прокладок овального или восьмигранного сечения:

G - средний диаметр прокладки;

- для плоских прокладок с наружным диаметром Dн и шириной b > 15 мм:

, мм;

АT - коэффициент, определяемый по табл. 3.1;

Dн - наружный диаметр прокладки, мм.

3. Расчет фланцевых соединений на прочность и плотность

Расчет фланцевых соединений на прочность и плотность должен выполняться во всех случаях, когда используются ненормализованные фланцевые соединения или изменяются размеры нормализованных фланцев (например, для стыковки с трубой подрезается втулка), либо условия их применения отличаются от предусмотренных нормативными документами.

Расчет фланцевых соединений относительно большого диаметра рекомендуется выполнять в соответствии с РД 26-15-88 «Сосуды и аппараты. Нормы и методы расчета на прочность и герметичность фланцевых соединений». Этот стандарт распространяется на расчет стальных фланцевых соединений с приварными встык, плоскими и свободными фланцами, у которых отношение наружного диаметра к внутреннему не более двух, а ширина тарелки фланца превосходит ее толщину на более чем в четыре раза.

Расчет фланцевых соединений в соответствии с РД 26-15-88 на персональном компьютере реализован в программе расчета на прочность и плотность фланцевых соединений сосудов и аппаратов пакета PVP Design.

Фланцевые соединения меньшего диаметра, для которых не выполняются приведенные выше условия, могут быть рассчитаны с помощью программы расчета на прочность и плотность арматурных фланцевых соединений пакета PVP Design. Эта программа реализует достаточно консервативный метод расчета фланцев, соответствующий ASME Boiler and Pressure Vessel Code, Sect. VIII, Div. 1, дополненный расчетом с учетом внутренних усилий, вызванных разницей в температурных удлинениях различных элементов соединения.

Креме перечисленных выше для расчета фланцевых соединений, в зависимости от области применения, материального и конструктивного исполнения, могут использоваться также иные отечественные или зарубежные нормативные материалы, разрешенные к применению в данной области в установленном порядке.

4. Основные документы, регламентирующие характеристики нормализованных фланцевых соединений

1. ГОСТ 12325-30 - ГОСТ 12822-30 - регламентируют размеры стальных приварных встык, плоских и свободных фланцев с условным диаметром от Dy 15 мм до Dy 1600 мм на условнее давление от Py 0,1 МПа до Py 6,3 МПа.

2. ГОСТ 28759.1-90 - ГОСТ 28759.8-90 - регламентируют размеры стальных приварных встык и плоских фланцев с условным диаметром от Dy 400 мм до Dy 4000 мм на условное давление от Рy 0,6 МПа до Рy 10 МПа.

3. РД РТМ 26-02-79-88 - регламентирует размеры стальных приварных встык фланцев с условным диаметром Dy 15 мм до Dy 350 мм на условное давление от Рy 1,6 МПа до Рy 6,3 МПа. Фланцы по РД РТМ 26-02-79-88 имеют те же соединительные размеры, что и соответствующие фланцы по ГОСТ 12821-80, но отличаются от них, в ряде случаев, большими толщинами тарелок и обеспечивают более высокую надежность фланцевых соединений.

Кроме перечисленных выше, при выборе нормализованных фланцевых соединений, в зависимости от области применения, материального и конструктивного исполнения, могут использоваться также иные отраслевые, заводские, отечественные или зарубежные нормативные материалы, разрешенные к применению в данной области в установленном порядке.

ПРИЛОЖЕНИЕ 4

ВЫБОР СИЛЬФОННЫХ И ЛИНЗОВЫХ КОМПЕНСАТОРОВ

1. Типы компенсаторов и рекомендуемые области применения

Компенсаторы состоят из одного или нескольких гибких элементов (черт. 1) и набора деталей, предназначенных для крепления гибких элементов, восприятия тех или иных нагрузок, присоединения к трубопроводу и т.д.

В зависимости от характера перемещений, которые необходимо компенсировать, применяются следующие типы компенсаторов, схемы которых приведены на черт. 2:

- осевые компенсаторы;

- поворотные компенсаторы;

- сдвиговые компенсаторы.

Могут использоваться также компенсаторы, выполняющие одновременно несколько функций: сдвигово-осевые, поворотно-осевые, сдвигово-поворотные, универсальные.

По конструктивно-технологическому исполнению гибкого элемента различают следующие типы компенсаторов: линзовые компенсаторы, с гибкими элементами, сваренными из двух полулинз; сильфонные компенсаторы, с гибкими элементами, полученными методом гидроформовки; компенсаторы с омегообразными гофрами и некоторые другие.

Выбор того или иного гибкого элемента определяется конструктивными соображениями и величиной расчетного давления. Так, линзовые компенсаторы обычно используются при давлениях до 1,0 МПа, сильфонные - до 2,5 МПа, компенсаторы с омегообразными гофрами - до 4,0 МПа. Кроме того, при больших давлениях (> 6,0 МПа) возможно использование компенсаторов с подкрепляющими кольцами и многослойных компенсаторов.

2. Учет влияния компенсаторов при расчете трубопроводов

При расчете трубопровода в целом, компенсатор может рассматриваться, как элемент, характеризуемый, в зависимости от конструкции компенсатора, осевой, изгибной и/или сдвиговой жесткостью, определяемых по нормативным материалам на компенсаторы, либо по формулам п. 4 настоящего приложения.

Податливостью осевого компенсатора на сдвиг при расчете трубопровода в целом, как правило, можно пренебречь, даже если его конструкция допускает радиальные перемещения. Учитывать эту величину следует лишь в технически обоснованных случаях.

При расчете трубопровода следует учитывать, что давление, действующее на стенки гибких элементов осевого компенсатора, порождает распорное усилие, определяемое по формуле:

 Н                                               (1)

В случаях поворотных и сдвиговых компенсаторов распорное усилие воспринимается стяжками компенсаторов. У осевых компенсаторов распорное усилие действует на участки трубопровода, примыкающие к компенсатору, и воспринимается опорами трубопровода, что следует учитывать при их расчете.

Черт. 2

3. Расчетные условия и выбор компенсаторов

При использовании нормализованных компенсаторов (см. п. 6 настоящего приложения), их выбор производится в зависимости от условного давления и компенсирующей способности при заданном числе циклов. При этом, компенсирующая способность осевого компенсатора должна быть не менее расчетного перемещения (осевого хода), поворотного - не менее расчетного угла поворота (углового хода), сдвигового - расчетного перемещения, перпендикулярного оси компенсатора (сдвига), определяемых на основании результатов расчета на температурную самокомпенсацию трубопровода в целом.

При использовании ненормализованных компенсаторов, величины допускаемого давления и циклической долговечности компенсатора определяются на основании специального расчета (см. п. 5 настоящего приложения).

В случае, если осевой компенсатор (черт. 2а) испытывает не только осевые перемещения, но также угловые перемещения и/или перемещения сдвига, то приведенное расчетное осевое перемещение при выбора компенсатора следует определять по формуле:

 мм                                                   (2)

где:

lg - эквивалентное перемещение от угла поворота:

, мм                                                           (3)

ld - эквивалентное перемещение от сдвига:

, мм                                                        (4)

Dp - средний диаметр компенсатора:

, мм                                                        (5)

В случае использования осевых компенсаторов в качества элементов сдвиговых или поворотных компенсаторов, приведенные расчетные осевые перемещения для них могут быть определены по формулам:

- для поворотных компенсаторов (черт. 2б):

, мм                                                          (6)

- для сдвиговых компенсаторов (черт. 2в):

, мм                                                      (7)

где:

                                                    (8)

4. Жесткость компенсатора

При известной осевой жесткости Сl, угловая жесткость компенсатора при повороте на угол g (черт. 2б) определяется по формуле:

 Н·мм                                                        (9)

а изгибающий момент, действующий на трубопровод, соответственно, по формуле:

 Н·мм                                                       (10)

При сдвиге компенсатора на величину dp возникает перерезывающая сила Vy и изгибающий момент My (черт. 2в). Жесткость на действие силы Vy;

 Н/мм                                                     (11)

Жесткость на действие момента My:

 Н·мм/мм                                                (12)

Перерезывающая сила и изгибающий момент, действующие на трубопровод при сдвиге компенсатора, соответственно равны:

 Н                                                        (13)

 Н·мм                                                     (14)

В случае, если осевая жесткость сильфонного или линзового осевого компенсатора Сl неизвестна, допускается определять ее по формуле:

 Н/мм                                              (15)

где Cf - безразмерный коэффициент, определяемый по графику черт.;

 мм                                                     (16)

Осевая жесткость компенсаторов с омегообразными гофрами, в случае необходимости, может быть рассчитана с помощью программы расчета компенсаторов пакета PVP Design.

5. Расчет гибких элементов ненормализованных сильфонных и линзовых компенсаторов на статическую и малоцикловую прочность

Гибкие элементы компенсаторов должны отвечать требованиям статической прочности при воздействии давления и обеспечивать необходимую компенсирующую способность при заданном числе циклов напряжения. Кроме того, сильфонные компенсаторы, в элементах которых действуют сжимающие напряжения, должны обеспечивать сохранение общей и местной устойчивости конструкции.

Напряжения от действия внутреннего давления в гибких элементах сильфонных и линзовых компенсаторов определяются по формулам:

- окружные мембранные напряжения:

 МПа                                      (17)

- осевые мембранные напряжения:

, МПа                                                  (18)

- осевые изгибные напряжения:

, МПа                                                 (19)

где Ср - безразмерный коэффициент, определяемый по графику черт. 4.

Допускается проводить более точное определение осевых изгибных напряжений от действия давления численными методами.

Условия статической прочности гибких элементов сильфонных и линзовых компенсаторов:

 МПа                                                        (20)

 МПа                                                       (21)

 МПа                                               (22)

Черт. 3

Черт. 4

Черт. 5

В случае, если длина цилиндрической краевой зоны гибкого элемента  она должна быть дополнительно проверена на прочность, как цилиндрическая труба, работающая под действием внутреннего давления. При  напряжение в цилиндрической краевой зоне гибкого элемента должно отвечать условию:

 МПа                                     (23)

Напряжения от действия расчетного осевого перемещения в сильфонных и линзовых компенсаторах определяются численными методами. Допускается определять их по формулам:

- осевые мембранные напряжения:

 МПа                                             (24)

- осевые изгибные напряжения:

 МПа                                                   (25)

где Cf, Cd - безразмерные коэффициенты, определяемые по графикам черт. 3, 5.

Максимальное эквивалентное напряжение, приведенное к нормальной температуре, равно:

 МПа                                   (26)

Расчетная амплитуда условных упругих напряжений:

 МПа                                                     (27)

Коэффициент приведения напряжений Ке для сильфонных компенсаторов, полученных методом гидроформовки, рекомендуется принимать Ке = 1,05 - для аустенитной стали и Ке = 1,2 - для углеродистой стали; для линзовых компенсаторов, сваренных из двух полулинз, - Ке = 2 - для аустенитной стали и Ке = 2,2 - для углеродистой стали.

В случае, если расчетная амплитуда условных упругих напряжений, определенная по формуле (27), не превышает величины , дальнейшая проверка на циклическую или длительную циклическую прочность проводится по пп. 7.4.4 - 7.4.6 настоящего РТМ с использованием полученных выше величин sе и sае. В противном случае, определение напряженно-деформированного состояния гибких элементов компенсаторов должно выполняться численными методами с учетом геометрической и физической нелинейности.

Подобный расчет, а также определение напряженно-деформированного состояния гибких элементов компенсаторов с гофрами других типов, например омегообразными, с учетом геометрической и физической нелинейности, расчет компенсаторов на прочность, определение жесткости, компенсирующей способности и допускаемого числа циклов нагружения могут быть выполнены с помощью программы расчета компенсаторов пакета PVP Design.

6. Основные документы, регламентирующие характеристики нормализованных сильфонных и линзовых компенсаторов

1. ГОСТ 27036-86 «Компенсаторы и уплотнения сильфонные металлические. Общие технические условия» - регламентирует размеры и характеристики осевых, сдвиговых и угловых сильфонных компенсаторов без подкрепляющих колец с Dy 65 - 1400 мм на Ру до 6,3 МПа.

2. ТУ 26-02-1122-90 «Компенсаторы сильфонные. Технические требования» - регламентирует размеры и характеристики осевых, сдвиговых и угловых сильфонных компенсаторов с подкрепляющими кольцами и без них с Dy 150 - 400 мм на Ру до 6,3 МПа.

3. ТУ 26-02-876-80 «Компенсаторы линзовые. Технические требования» - регламентирует размеры и характеристики линзовых компенсаторов с Dy 600 - 2000 мм на Ру до 0,63 МПа.

Кроме перечисленных выше, при выборе компенсаторов, в зависимости от цели и области применения, могут использоваться также иные отраслевые, заводские, отечественные или зарубежные нормативные материалы, разрешенные к применению в данной области в установленном порядке.

7. Условные обозначения в формулах расчета компенсаторов

n - число гофров;

q - ширина гофра, мм;

с - расчетная прибавка к толщине стенки, мм;

С - длина гофрированной части одного сильфона в сдвиговом компенсаторе с вставкой, мм;

Cd - безразмерный коэффициент;

Cf - безразмерный коэффициент;

Ср - безразмерный коэффициент;

Cl - осевая жесткость компенсатора, Н/мм;

Сg - угловая жесткость компенсатора, Н·мм;

Сdy - сдвиговая жесткость компенсатора на действие силы Vy, Н/мм;

Сdm - сдвиговая жесткость компенсатора на действие момента My, H·мм/мм;

Dв - внутренний диаметр компенсатора, мм;

Dн - наружный диаметр компенсатора, мм;

Dp - средний диаметр компенсатора, мм;

Е - модуль упругости материала компенсатора, МПа;

Н - высота гофра, мм;

К - безразмерный коэффициент;

Ке - коэффициент приведения напряжений;

L - длина компенсатора (расстояние между крайними точками гофр компенсатора), мм;

l - длина цилиндрической краевой зоны гибкого элемента, мм;

Мо - изгибающий момент, действующий на трубопровод при повороте компенсатора на угол, Н·мм;

My - изгибающий момент, действующий на трубопровод при сдвиге компенсатора на величину, Н·мм;

Р - расчетное давление, МПа;

R - распорное усилие, Н;

S - номинальная толщина стенки компенсатора, мм;

Vy - перерезывающая сила, действующая на трубопровод при сдвиге компенсатора на величину, Н·мм;

lp - расчетное осевое перемещение, мм;

lnp - приведенное расчетное осевое перемещение, мм;

lg - эквивалентное перемещение от угла поворота, мм;

ld - эквивалентное перемещение от сдвига, мм;

lp - расчетное радиальное перемещение, мм;

g - расчетное угловое перемещение, рад;

sае - расчетная амплитуда условных упругих напряжений, МПа;

se - максимальное эквивалентное напряжение, МПа;

scmp - окружные мембранные напряжения от давления, МПа;

smbd - осевые изгибные напряжения от перемещения, МПа;

smbp - осевые изгибные напряжения от давления, МПа;

smmd - осевые мембранные напряжения от перемещения, МПа;

smmp - осевые мембранные напряжения от давления, МПа

[s] - допускаемое напряжение для материала гибкого элемента при расчетной температуре, МПа;

[s20] - допускаемое напряжение для материала гибкого элемента при нормальной температуре, МПа.

ПРИЛОЖЕНИЕ 5

РАСЧЕТ ТРУБОПРОВОДА НА ГИДРОУДАР

1. Гидравлический удар в трубопроводной системе возникает при быстром закрытии или открытии арматуры, пуске и останове насосов, заполнении трубопровода жидкостью, разрыве трубопровода и т.п.

2. Повышение давления DPуд (Па) при гидравлическом ударе вследствие мгновенного полного прекращения движения жидкости при условии tз < 2L/a (прямой гидравлический удар) следует вычислять по формуле Жуковского Н. Е.:

                                                          (1)

где w0 - первоначальная скорость потока, м/с; r - плотность жидкости, кг/м3; a - скорость распространения ударной волны, м/с; tз - продолжительность закрытия или открытия трубопроводной арматуры, с; L - длина трубопровода, м.

3. Для абсолютно жесткой трубы скорость распространения ударной волны

                                                             (2)

где К - модуль упругости жидкости, Па, т.е. скорость распространения ударной волны равна скорости звука в жидкости.

Скорость звука в воде - 1450, бензине - 1115, керосине - 1295, бензоле - 1325, масле - 1200 ÷ 1400 м/с.

4. С учетом работы деформации стенки трубы

                                                (3)

где s - толщина стенки трубы; К - модуль упругости жидкости, Па; Е - модель упругости материала трубы, Па.

Для сталей при температуре до 100 °С Е 2·105 МПа.

5. Для тонкостенных труб

                                         (4)

6. Модуль упругости жидкости К при 20 °С:

Жидкость

К, МПа

Жидкость

К, МПа

Вода

2060

Нефть

1300

Ацетон

790

Масло

1220

Бензол

1080

Этиловый спирт

850

Керосин

1220

Эфир

700

7. На практике скорость распространения ударной волны меньше скорости звука, так как стенки трубопровода не являются абсолютно жесткими.

При уменьшении скорости потока от начальной w0 до конечной wк повышение давления в волне вследствие неполного гидравлического удара при условии tз < 2L/a:

8. При условии tз > 2L/a и линейном законе изменения давления и скорости при закрытии арматуры интенсивность непрямого гидравлического удара

9. Для снижения интенсивности гидравлического удара увеличивают продолжительность закрытия или открытия трубопроводной арматуры; уменьшают скорость потока, увеличивая диаметр трубопровода; предусматривают у насоса байпасный трубопровод с клапаном, что позволяет жидкости перетечь из области высокого давления в область низкого давления; увеличивают продолжительность останова насоса при его аварийном отключении установкой махового колеса; применяют гасители гидравлического удара с демпфирующим элементом ( эластичными прокладками, муфтами, сильфонами), обратные и предохранительные клапаны, уравнительные резервуары и пр.

ПРИЛОЖЕНИЕ 6

РАСЧЕТНО-ЭКСПЕРИМЕНТАЛЬНЫЕ МЕТОДЫ И СРЕДСТВА ЗАЩИТЫ ТРУБОПРОВОДОВ ОТ ВИБРАЦИИ

1. Технические решения по снижению пульсации потоков вибрации трубопроводов и виброзащите окружающих объектов

Снижение вибрации ТТС производится путем уменьшения или устранения возмущающих воздействий и регулированием параметров механической системы, - с целью устранения резонансных колебаний.

При этом необходимо в первую очередь устранить резонансные колебания пульсирующего потока и отстроить от возможного совпадения резонансов потока и механической системы.

Известны следующие способы отстройки системы от резонансных колебаний газа.

1.1. Изменение длин и диаметров участков трубопроводной системы, если это допускается компоновкой системы.

1.2. Изменение температуры и давления нагнетания компрессора, если это возможно по технологии работы. От этих параметров зависит величина плотности продукта и скорости звука, влияющих на частотный спектр системы.

1.3. Установка диафрагм рассеивает энергию колебаний газа и изменяет амплитудно-частотный спектр газа в трубопроводной системе. Ориентировочно диаметр расточки диафрагм должен быть равен 0,5 внутреннего диаметра трубы. Оптимальный диаметр расточки диафрагмы d, обеспечивающий эффективное гашение пульсации, может быть определен по уравнению

                                                        (1)

где Vср - средняя скорость газа в трубопроводе.

Для двухфазных потоков:

                                                         (1)

где x - коэффициент сопротивления диафрагмы.

1.4. Установка буферных емкостей уменьшает амплитуды пульсации давления за счет рассеивания энергии колебания газа на возбуждение массы газа в объеме буферной емкости и изменяет спектр собственных частот колебаний. Для наиболее эффективного гашения колебаний буферная емкость должна устанавливаться непосредственно у источника возбуждения колебаний (у цилиндра компрессора). На несколько цилиндров одной ступени целесообразно устанавливать общую емкость.

1.5. Установка диафрагм на входе в емкость или на выходе из емкости. При этом размеры емкости могут быть уменьшены примерно на 30 % по сравнению с емкостью без диафрагмы. Дополнительные потери давления при установке диафрагмы меньше, чем дополнительные потери при резонансных колебаниях.

1.6. Акустический фильтр устанавливается в тех случаях, когда возникает необходимость в значительном снижении колебаний; требующиеся для этого габаритные размеры буферной емкости превышают допустимые из условий компоновки. Акустический фильтр характеризуется четким дискретным спектром полос пропускания и гашения частот колебаний газа.

1.7. Интерференционный способ гашения пульсаций эффективен в очень узкой полосе частот колебаний. Для этих целей применяются специальные ответвления или петли (отводы), длину которых выбирают равной нечетному числу полуволн.

1.8. Сочетание в одной трубопроводной системе различных способов гашения пульсаций.

Последовательность проведения отстройки от резонансных колебаний, а также снижения колебаний давления газа, представляет собой итерационный процесс внесения изменений в конструкцию трубопроводной системы с последующей проверкой эффективности изменений расчетом на ЭВМ.

Если изменение параметров газа невозможно или не дает желаемых результатов, рассматривается возможность изменения геометрических параметров системы, а при наличии в схеме вспомогательных технологических аппаратов (масловлагоотделителей, сепараторов, теплообменников и др.) рассматриваются варианты компоновки этого оборудования. При необходимости применяются гасители пульсаций (диафрагма, буферная емкость, диафрагма с буферной емкостью, акустический фильтр).

2. Снижение вибрации ТС и виброзащита окружающих объектов

В трубопроводных обвязках поршневых машин максимальная энергия приходится на низшие гармоники. Расчеты допустимо проходить по нескольким первым (до 3 - 5) собственным частотам каждого пролета и реализовывать отстройку по этим значениям.

2.1. Корректировка трубопроводной системы для устранения механических резонансом.

Спектр собственных частот любой механической системы зависит от ее объемно-конструктивных решений, условий закреплений и инерционно-жесткостных параметров.

Для трубопроводных систем такими параметрами являются:

- количество участков, расположенных между опорами, их конфигурация;

- наличие сосредоточенных масс и их величина;

- условия опирания;

- упругие опоры и их жесткостные параметры;

- инерционно-жесткостные параметры участков.

Сосредоточенные массы - увеличивают инерционные характеристики и снижают значения собственных частот.

Практически понижение значения собственной частоты способом включения дополнительной массы может быть эффективным при величине массы, соизмеримой с массой участка.

В реальных системах сосредоточенные массы конечных размеров увеличивают жесткость системы.

В большинстве случаев в реальных трубопроводных системах сосредоточенные массы имеют самостоятельные опоры и могут рассматриваться как разделители системы на две независимые с жесткими заделками в точках присоединения масс.

Ужесточение системы включением массы - фактор конструктивного увеличения собственной частоты. Точный ответ о влиянии масс в каждом конкретном случае конструктивного решения может быть получен только расчетом всей системы в целом.

2.2. Начальные условия зависят от условий закрепления концевых и промежуточных участков. Влияние их может быть значительным. При применении скользящих, односторонних опор необходимо предварительно провести расчет на статическую прочность и убедиться в нагруженности опор.

При разгруженной односторонней опоре в исходных данных для расчета собственных частот принимается суммарная длина пролета между двумя соседними опорами, что может существенно снизить значение собственной (парциальной) частоты участка.

Целесообразность применения упругих опор и необходимые величины их жесткости могут быть определены только общим расчетом системы на ЭВМ.

Упругие опоры, уменьшая эквивалентную жесткость всей системы, снижают нижнюю границу частотного диапазона участка и системы.

Применение их - эффективно при отстройке от резонанса ж сторону уменьшения значений собственных частот.

2.3. Необходимость отстройки трубопроводной системы от резонансов определяется из условия

                                                   (2)

по каждому из потенциально возможных механизмов возбуждения вибрации.

Последовательно по степени целесообразности и эффективности применяются следующие способы изменения длины пролета.

Для вывода системы за пределы резонанса необходимо изменение длины участка на 15 - 20 %.

Рекомендуется вначале проводить корректировку в сторону увеличения fо, т.е. уменьшения длины пролета L.

При каждом вновь принятом значении L проверяется соотношение (2) по всем возмущающим частотам.

В случае вывода системы из зоны одного и входа в зону другого резонанса, система корректируется по новому резонансному режиму.

При невозможности корректировки в сторону увеличения fо, корректировка проводится уменьшением fо, т.е. увеличением определяющего fо участка.

2.4. Условия закрепления и упругие опоры.

При ограничении возможностей варьирования длиной пролета, отстройка системы от резонанса проводится выбором типа опор и подбором их жесткости.

Изменение расположения сосредоточенных масс задается расчетчиком только при наличии в системе сосредоточенных масс.

При их отсутствии специально вводить сосредоточенные дополнительные массы для изменения спектра частот рекомендуется только при невозможности применения других способов для отстройки от резонанса.

2.5. Изменение геометрии системы.

При неэффективности способов, изложенных в пп. 2.1 - 2.4, необходимо изменить геометрию системы, обеспечив свободу вариации fо, максимально спрямив трассу, по возможности избежать лишних поворотов.

При этом способе необходимо проведение проверочных расчетов на самокомпенсацию.

2.6. Изменение инерционно-жесткостных параметров трубопровода - варьируется диаметром трубопровода.

При наличии специальных инерционно-жесткостных гасителей, антивибраторов, исходя из экономической и технической целесообразности их применения, просчитываются варианты частотных спектров системы с гасителями, и по формам колебаний проводится оценка их эффективности.

Корректировка трубопроводной системы для устранения механического резонанса проводится по каждому механизму возбуждения колебаний не менее, чем по пяти гармоникам и количеству собственных частот колебаний системы, задаваемому расчетчиком, или равному удвоенному значению числа участков системы.

3. Рекомендации по инструментальному обследованию и мониторингу трубопроводных систем и нагнетательных машин при пуске и эксплуатации

3.1. Инструментальные обследования вибрации.

Целью обследования является:

- измерение уровней вибрации трубопроводов, сравнение их с допускаемыми (см. п. 4.2);

- определение степени опасности вибрации;

- анализ спектров вибрации, диагностика частотных спектров вибровозмущений и их интенсивности;

- оценка уровней вибрации элементов нагнетательных машин (4.3 - 4.9) как источников вибрации;

- измерение уровней пульсации давления, сравнение их с допускаемыми, определение необходимости их снижения;

- определение необходимости виброзащиты окружающих объектов;

- заключение о необходимости периодического или стационарного их мониторинга вибрации трубопроводов и нагнетательных машин;

3.1.1. Измерения вибрации.

Измерения в каждой намеченной точке проводятся по трем осям. Условно принимаются направления осей: Y - по оси вала машины, X - в горизонтальной плоскости, Z - нормально к плоскости XY.

Направление Y выдерживается по всей трассе для каждого участка.

3.1.2. Точки измерения:

- нагнетательная машина - на торцах цилиндров, нагнетательные патрубки, фундаментные болты;

- опоры трубопровода;

- середина каждого пролета между опорами, при наличии в пролете между опорами отводов - на концах отвода.

Определяется частотный спектр вибрации.

Измеряются размахи виброперемещений:

- общий (суммарный) уровень;

- на каждой частотной составляющей спектра.

3.1.3. При проведении измерений фиксируется нагрузочный режим трубопровода:

- состав продукта;

- температура на каждом участке;

- давление;

- производительность;

- время и дата проведения измерений.

 При меняющихся режимах эксплуатации необходимо проведение измерений на 3 - 4-х режимах производительности.

Результаты измерений протоколируются с указанием исполнителей.

3.2. Мониторинг трубопроводных систем.

Вид мониторинга: периодический или постоянный, - определяется проектной документацией или назначается по результатам инструментальных обследований.

3.2.1. Периодический мониторинг.

Выполняются все требования п. 3.1. Периодичность измерений вибраций при опорных уровнях не выше 2 (п. 4.2) назначается не реже одного раза в месяц.

При значениях вибрации, приближающихся к третьему уровню - не реже 1 раза в неделю.

При стабилизации вибрации в районе 3-го уровня в течение 4-х измерений (1 месяц) допустимо увеличить периодичность до одного месяца.

При возрастании уровней от 3 к 4 необходим ежедневный мониторинг и при достижении размахов вибрации средних значений в полосе 3 - 4 уровней требуется срочная остановка и реконструкция систем.

3.2.2. Стационарный мониторинг.

Необходимость определяется по степени ответственности и опасности проектом или заключением по инструментальным обследованиям.

При стационарном мониторинге предусматривается:

- на нагнетательных машинах - не менее одной точки (по X, Y, Z);

- на трубопроводных системах - не менее, чем в трех точках по трассе.

Допускается фиксация уровней вибрации для каждой точки по одному или двум наиболее виброопасным направлениям.

По максимальным уровням вибрации из всех намеченных точек по трассе и координатам выбираются не менее двух для включения сигнализации достижения аварийного уровня.

Рекомендуемые инструментальные средства обследования вибросостояния и мониторинга представлены а приложении 8.

4. Нормирование пульсации потока и вибрации трубопроводов

4.1. Пульсация потока продукта

Неравномерность потока ограничивается в зависимости от рабочего давления.

Р, МПа

< 0,5

0,5 - 1,0

1,0 - 2,0

2,0 - 5,0

> 5.0

d, %

4 - 8

4 - 6

3 - 5

2 - 4

2 - 3

Для всасывающих линий и нефтяного газа допускается больнее значение пульсации давления.

4.2. Вибрации трубопроводов

Нормируются по амплитуде виброперемещений в зависимости от частоты вибрации.

Различаются пять опорных уровней вибрации:

1 - расчетный при проектировании;

2 - допускаемый при эксплуатации;

3 - требующий исправления, реконструкции системы;

4 - уровень появления аварийных ситуаций;

соответственно в диапазонах:

до уровня 2 - удовлетворительное состояние трубопроводов;

2 - 3 - допускаемое значение, контроль;

3 - 4 - повышенный контроль, возможны отказы, необходимо исправление, реконструкция;

выше 4 - экстренное исправление.

Общий принцип построения норм - отличие значений вибрации для каждых двух смежных уровней при заданной частоте колебаний - на 6 дБ.

В таблице 4.1 даны дискретные значения допускаемых значений вибрации трубопроводов для фиксированных частот.

Практически для большинства трубопроводных обвязок насосов и компрессоров главные амплитудные составляющие процессов вибрации определены в диапазоне с частотами до 60-70 герц.

Таблица 4.1

Допускаемые значения амплитуд вибрации трубопроводов, Sa, мкм

Диапазон

Частота, Гц

2

4

6

8

10

20

30

40

50

60

1

120

115

100

90

85

60

50

45

40

150

2

250

230

200

180

165

120

95

85

75

70

3

500

450

400

360

330

230

180

145

135

130

4

1250

1100

950

800

750

500

420

350

320

300

При мониторинге вибросостояния трубопроводов в условиях эксплуатации с целью оценки и выявления причин повышенных уровней вибрации, необходимо иметь, кроме уровней пульсации давления, информацию об уровнях вибрации компрессоров, насосов, фундаментов и т.д.

В данном разделе даются нормативные данные по уровням вибрации следующих узлов и элементов нагнетательных машин.

4.3. Насосы

Таблица 4.2

Допустимая вибрация насосов, Sa, мкм

Частота вращения вала, с-1

До 12,5

от 12,5 до 16,5

от 16,6 до 25,0

от 25,0 до 50,0

свыше 50,0

Допустимая амплитуда вибрации Sa, мкм

120

100

80

60

50

4.4. Фундаменты поршневых машин

Таблица 4.3

Частота колебаний, Гц

до 3,5

3,5 - 8,0

8,0 - 25,0

25,0 - 50,0

Допустимая амплитуда вибрации Sa, мкм

900

200

100

50

4.5. Фундаменты электродвигателей

Таблица 4.4

Частота колебаний, Гц

до 8

8 -12,5

свыше 12,5

Допустимая амплитуда вибрации Sa, мкм

200

150

100

4.6. Фундаменты турбоагрегатов

Таблица 4.5

Частота колебаний, Гц

до 25

25 - 50

свыше 50

Допустимая амплитуда вибрации Sa, мкм

100

70

40

4.7. Цилиндры и межступенчатые аппараты поршневых машин

Таблица 4.6

Частота колебаний, Гц

до 10

свыше 10

Допустимая амплитуда вибрации Sa, мкм

250

200

4.8. Подшипники турбоагрегатов

Таблица 4.7

Частота колебаний, Гц

25 - 50

50 - 80

80 - 135

свыше 135

Допустимая амплитуда вибрации Sa, мкм

95

20

13

1,5

4.9. Подшипники электродвигателей

Таблица 4.8

Частота колебаний, Гц

до 12,5

12,5 - 16,5

16,3 - 25

25 - 50

Допустимая амплитуда вибрации Sa, мкм

80

65

50

25

4.10. Рабочее место машиниста

Таблица 4.9

Частота колебаний, Гц

до 3

3 - 5

5 - 8

8 - 15

15 - 30

свыше 30

Допустимая амплитуда вибрации Sa, мкм

300

200

75

25

15

5

ПРИЛОЖЕНИЕ 7

РЕКОМЕНДУЕМОЕ ПРОГРАММНОЕ ОБЕСПЕЧЕНИЕ ДЛЯ РАСЧЕТОВ ТРУБОПРОВОДОВ НА ПРОЧНОСТЬ И ВИБРАЦИЮ

Наименование

Разработчик

Область применения

1. Программа расчета труб и трубных деталей под действием внутреннего давления «Трубодеталь»

НТП «Трубопровод»

Предназначена для оценки допустимого внутреннего давления в элементах с известной геометрией или допустимой толщины стенки при заданных рабочих параметрах. Программа снабжена банком данных по прочностным характеристикам труб и деталей. Предусмотрен расчет деталей трубопроводов пара и горячей воды по ОС 108.031.09-85. Программа может быть использована при проектировании или диагностировании технического состояния как технологических трубопроводов, так и трубопроводов пара и горячей воды, подконтрольных Госгортехнадзору России.

2. Комплекс программ расчета разветвленных трубопроводов «АСТРА-НЕФТЕХИМ»

НИЦ «СТАДИО» (А. Н. Белостоцкий)

«АСТРА-НЕФТЕХИМ» обеспечивает проведение автоматизированного поверочного расчета на статическую, циклическую и длительную прочность (АСТРА-СТАЦ), а также вибропрочность (АСТРА-ВИБР) пространственных трубопроводных систем. Графическое изображение расчетной модели и результатов вычислений осуществляется программой АСТРА-ГРАФ. В расчете учитывается предварительный натяг, трение в опорах, смещение концевых сечений, наличие линзовых компенсаторов. Автоматизирован выбор упругих опор и подвесок. Исходные данные вводятся либо в виде списка, либо генерируются средствами САПР пользователя. Комплекс программ полностью согласован с данными «Указаниями...» и предназначен для реализации на ПЭВМ.

3. Программа статического расчета прочности и жесткости трубопроводов «СТАРТ»

СП «КИБЕРТЕК»

Расчет прочности и жесткости разветвленных пространственных трубопроводов, в том числе с волнистыми, линзовыми и сальниковыми компенсаторами. В программе учитываются: повышенная гибкость и концентрация напряжений в отводах; сила трения в опорах скольжения; отклонения тяг подвесок от вертикального положения; опоры с односторонними связями. По программе можно осуществлять автоматический подбор пружин для упругих опор и расчет их затяжки, а также оценку прочности по различным нормам.

4. Система прочностного расчета трубопроводов «ПРТ-6»

НТЦ САПРХИМ

Предназначена для расчета пространственного трубопровода с опорами 20 различных типов, а также нестандартными опорами. Трубопровод может содержать осевые и шарнирные компенсаторы. Производится выбор пружинных блоков по нормалям КО ГИАП иди ОСТам ЦКТИ, проверка фланцевых соединений на разгерметизацию.

5. АРМ механика по проектированию трубопроводных систем «АРН-ТС-М»

ВНИПИнефть

Расчет прочности трубопроводов и их элементов при статических и динамических нагрузках, определение нагрузок на элементы трубопроводной системы и строительные конструкции. Область применения - межцеховые и внутрицеховые трубопроводные системы.

6. Расчет пульсирующих потоков в трубопроводных системах «ПУЛЬСАЦИЯ»

МИНГ, ВНИПИнефть

Расчет амплитудно-частотных характеристик пульсации газа в трубопроводных системах с поршневыми компрессорами с целью анализа опасных режимов и разработки рекомендаций по снижению интенсивности пульсации и вибрации трубопроводов.

7. Расчет переходных процессов и гидроударов в трубопроводных системах для перекачки жидкости «ГИДРОУДАР»

НИИТП, НТП «Трубопровод»

Расчет трубопроводных систем, в состав которых входят трубопроводы, тройники, емкости, центробежные насосы, местные сопротивления, клапаны, тупики и пр. Возмущающее воздействие задается насосом, регулирующей арматурой.

8. Программа расчета на прочность и плотность фланцевых соединений сосудов и аппаратов пакета прикладных программ «PVP Design»

ВНИИнефтемаш (Б. С. Вольфсон)

Расчет фланцевых соединений относительно большого диаметра для сосудов, аппаратов и трубопроводов. Реализует метод расчета по РД 26-15-88 «СОСУДЫ И АППАРАТЫ. Нормы и методы расчета на прочность и герметичность фланцевых соединений». Распространяется на расчет стальных фланцевых соединений с приварными встык, плоскими и свободными фланцами, у которых отношение наружного диаметра к внутреннему не более двух; а ширина тарелки фланца превосходит ее толщину не более чем в четыре раза.

9. Программа расчета на прочность и плотность арматурных фланцевых соединений пакета прикладных программ «PVP Design»

ВНИИнефтемаш (Б. С. Вольфсон)

Расчет фланцевых соединений относительно небольшого диаметра для сосудов, аппаратов и трубопроводов. Реализует метод расчета фланцев, соответствующий ASME Boiler and Pressure Vessel Code, Sect.VIII, Div. 1, дополненный учетом внутренних усилий, вызванных разницей в температурных удлинениях различных элементов соединения. Распространяется на расчет фланцевых соединений с приварными встык, плоскими и свободными фланцами.

Программа расчета сильфонных компенсаторов пакета прикладных программ «PVP Design»

ВНИИнефтемаш (Б. С. Вольфсон), АО «Сильфон» (М. В. Гокун)

Определение напряженно-деформированного состояния гибких элементов сильфонных, линзовых, омегообразных и торовых компенсаторов с учетом геометрической и физической нелинейности; расчет компенсаторов на прочность, определение жесткости, компенсирующей способности и допускаемого числа циклов нагружения.

ПРИЛОЖЕНИЕ 8

ИНСТРУМЕНТАЛЬНЫЕ СРЕДСТВА ИЗМЕРЕНИЯ И КОНТРОЛЯ ВИБРАЦИИ

Подразделяются на стационарно-установленные на оборудовании системы с целью проведения непрерывного контроля вибрации и портативные, переносные приборы:

- виброметры;

- виброанализаторы;

применяемые для периодического контроля и диагностики вибрации механических систем.

По целевому назначению системы (приборы) подразделяются в основном на:

1) диагностические

2) профилактические

3) защитные.

Стационарные системы, как правило, выполняют все три функции; портативные - только диагностические и профилактические.

По монтажному исполнению системы подразделяются на неавтономные - со стационарно установленными датчиками (как правило, стационарные системы), и автономные - с перестанавливаемыми датчиками. В стационарных системах, построенных по блочному принципу, возможны варианты автономного и неавтономного типов.

Системы и приборы, наиболее адаптированные для трубопроводных систем и технологического оборудования нефтеперерабатывающих и нефтехимических производств, представлены в таблице и по порядковым номерам таблицы даны их краткие технические характеристики.

В условиях нефтеперерабатывающих и нефтехимических предприятий следует применять рекомендуемые приборы во взрывобезопасном исполнении.

Таблица 1

Рекомендуемые системы вибродиагностики трубопроводных систем и технологического оборудования

№№ пп.

Тип системы (аппаратуры)

Марка (индекс)

Фирма изготовитель

Тип мониторизации

целевое назначение

реализация

монтажное исполнение

1

Портативная переносная

PL21, PL22, PL302, PL31B, PL33

DIAGNOSTIC INSTRUMENTS (Брит.)

Диагност.

Периодич.

Автономная

2

Портативная переносная

ПР-200

НПО «ПРИЗ» (Москва)

Диагност. (Москва)

Периодич.

Автономная

3

Стационарная система

«КАСКАД»

НТЦ «ВиКонт» (Москва)

Диагност. Профилакт. Защитная

Непрерывн.

Неавтономн.

4

Стационарная система

«COMPASS» 3540

Брюль&Къер (Дания)

Диагност. Профилакт. Защитная

Непрерывн. Периодич.

Неавтономн. Автономная

5

Стационарная система

«КОМПАКС»

НПЦ Динамика» (г. Омск)

Диагност. Профилакт. Защитная

Непрерывн.

- » -


Технические характеристики анализаторов и сборщиков данных фирмы DIAGNOSTIC INSTRUMENTS

 

 

PL21

PL22

PL202

PL302

PL31B

PL33

 

1. ВВОД ИНФОРМАЦИИ

 

 

 

 

 

 

1.1

Количество каналов

1 канал

2 канала

2 канала

2 канала

1 канал

1 канал

1.2

Диапазон напряжений входного сигнала

от +/- 5 мВ до +/- 5 В

от +/- 5 мВ до +/- 5 В

от +/- 10 мВ до +/- 10 В

от +/- 10 мВ до +/- 10 В

от +/- 5 мВ до +/- 5 В

от +/- 5 мВ до +/- 5 В

макс. вх. напр. +/- 18 В

макс. вх. напр. +/- 18 В

 

 

макс. вх. напр. +/- 18 В

макс. вх. напр. +/- 18 В

1.3

Штатные входы для подключения датчиков

АС, DC, акселерометр

АС, DC, акселерометр

АС, DC, ICP акселерометр, таходатчик

АС, DC, ICP акселерометр, таходатчик

АС, DC, ICP акселерометр, таходатчик, температур. датчик

АС, DC, ICP акселерометр, таходатчик, температур. датчик

1.4

Входной импеданс

1 МОм

1 МОм

500 КОм

500 КОм

1 МОм

1 МОм

1.5

Динамический диапазон

70 дБ

70 дБ

70 дБ

70 дБ

70 дБ

70 дБ

1.6

Диапазоны:

 

 

 

 

 

 

 

виброускорения (м/с·с):

1,5 е-3 ... 5 е3

1,5 е-3 ... 5 е3

3 е-3 ... 10 е4

3 е-3 ... 10 е4

1,5 е-3 ... 5 е3

1,5 е-3 ... 5 е3

 

виброскорости (м/с):

10 е-5 ... 30

10 е-5 ... 30

2 е-5 ... 6 е2

2 е-5 ... 6 е2

10 е-5 ... 30

10 е-5 ... 30

 

виброперемещения (м):

6 е-8 ... 2е-1

6 е-8 ... 2 е-1

10 е-7 ... 4

10 е-7 ... 4

6 е-8 ... 2 е-1

6 е-8 ... 2 е-1

 

2. АНАЛИЗ

 

 

 

 

 

 

2.1

Частотный диапазон

9 диапазонов от 0 - 25 Гц до 0 - 20 кГц

9 диапазонов от 0 - 25 Гц до 0 - 20 кГц

10 диапазонов от 0 - 25 Гц до 0 - 40 кГц

10 диапазонов от 0 - 25 Гц до 0 - 40 кГц

10 диапазонов от 0 - 25 Гц до 0 - 40 кГц

10 диапазонов от 0 - 25 Гц до 0 - 40 кГц

2.2

Частотный диапазон при анализе в реальном масштабе времени

нет

нет

до 20 кГц в однок. режиме

до 20 кГц в однок. режиме

нет

нет

до 10 кГц в двухкан. режиме

до 10 кГц в двухкан. режиме

2.3

Увеличение масштаба частоты (ZOOM)

 

 

увелич. до 80 раз

увелич. до 80 раз

 

 

2.4

Разрешение при БПФ

100, 200, 400, 800, 1600 линий

100, 200, 400, 800, 1600 линий

100, 200, 400, 800, 1600 линий

100, 200, 400, 800, 1600 линий

100, 200, 400, 800, 1600, 3200

100, 200, 400, 800, 1600, 3200

2.5

Тип спектрального окна

прямоугольное

прямоугольное

прямоугольное

прямоугольное

прямоугольное

прямоугольное

с плоской вершиной

с плоской вершиной

с плоской вершиной

с плоской вершиной

с плоской вершиной

с плоской вершиной

Ханнинга

Ханнинга

Ханнинга

Ханнинга

Ханнинга

Ханнинга

 

 

экспоненциальное

экспоненциальное

Хамминга

Хамминга

2.6

Усреднение

от 1 до 4096 точек

от 1 до 4096 точек

от 1 до 4096 точек

от 1 до 4096 точек

от 1 до 4096 точек

от 1 до 4096 точек

2.7

Точность

 

 

+/- 0,5 дБ

+/- 0,5 дБ

 

 

 

3. ВСТРОЕННЫЕ ФУНКЦИИ

 

 

 

 

 

 

3.1

Временной анализ

канал А

кан. А - кан. В

канал А, канал В

канал А, канал В

канал А

канал А

дифф. канал А

дифф. канал А и В

кан. А - кан. В

кан. А - кан. В

дифф. канал А

дифф. канал А

интегр. канал А

интегр. кан. А и В

оба канала

оба канала

интегр. канал А

интегр. канал А

3.2

Спектральный анализ

автоспектр

двухканальный автоспектр

канал А, канал В,

канал А, канал В,

канал А

канал А

оба канала

оба канала

3.3

Вычисление пикового/среднеквадратичного значения

есть

есть

есть

есть

есть

есть

3.4

Формирование корреляционной функции

есть

есть

есть

есть

нет

нет

3.5

Формирование передаточных функций

нет

есть

есть

есть

нет

нет

3.6

Когерентность

нет

есть

есть

есть

нет

нет

3.7

Вычисление мощности спектра

есть

есть

есть

есть

есть

есть

3.8

Формирование огибающей сигнала

нет

нет

встроенный детектор огибающей сигнала

встроенный детектор огибающей сигнала

встроенный детектор огибающей сигнала

встроенный детектор огибающей сигнала

3.9

Формирование кросспектра

нет

есть

есть

есть

нет

нет

3.10

Функции балансировки

нет

нет

2-х, 4-х плоскостная балансировка, поставляемая на флеш-картах

2-х, 4-х плоскостная балансировка, поставляемая на флеш-картах

встроенная программа 2-х плоскостной балансировки

встроенная программа 2-х плоскостной балансировки

3.11

1/1 и 1/3 октавный анализ

есть

есть

есть

есть

нет

нет

3.12

Возможность калибровки сигнала

нет

нет

есть

есть

нет

нет

 

4. ТРИГГЕР

 

 

 

 

 

 

4.1

Тип триггера

normal

normal

normal

normal

нет

нет

free-run

free-run

free-run

free-run

single-shot

single-shot

single-shot

single-shot

4.2

Уровни установки триггера

переменный с шагом 1 в диапаз. до 100 с отриц. или пол. накл.

переменный с шагом 1 в диапаз. до 100 с отриц. или пол. накл.

переменный с шагом 1 в диапаз. до 100 с отриц. или пол. накл.

переменный с шагом 1 в диапаз. до 100 с отриц. или пол. накл.

нет

нет

4.3

Типы триггерных точек

пре- или пост-триггерная с уст. числа точек до включения триг.

пре- или пост-триггерная с уст. числа точек до включения триг.

пре- или пост-триггерная с уст. числа точек до включения триг.

пре- или пост-триггерная с уст. числа точек до включения триг.

нет

нет

4.4

Источник триггера

внешний или внутренний

внешний или внутренний

внешний или внутренний

внешний или внутренний

нет

нет

 

5. ДИСПЛЕЙ

 

 

 

 

 

 

5.1

Формат изображения

одноканальный

одноканальный

одноканальный

одноканальный

одноканальный

одноканальный

двухканальный

двухканальный

двухканальный

 

водопадная граф. орбиты

водопадная граф. орбиты

5.2

Разрешение экрана

256×128 пиксел

256×128 пиксел

320×240 пиксел

320×240 пиксел

256×128 пиксел

256×128 пиксел

5.3

Тип экрана

Высококонтр. ЖКД с подсв.

Высококонтр. ЖКД с подсв.

Высококонтр. ЖКД с подсв.

Высококонтр. ЖКД с подсв.

Высококонтр. ЖКД с подсв.

Высококонтр. ЖКД с подсв.

5.4

Установка курсора

автоматическая установка до 20 гармоник

автоматическая установка до 20 гармоник

автоматическая

автоматическая

автоматическая

автоматическая

ручная

ручная

ручная

ручная

 

 

 

 

 

6. ХРАНЕНИЕ ДАННЫХ

 

 

 

 

 

 

6.1

Тип памяти

энергонезависимая дисковая

энергонезависимая дисковая

энергонезависимая дисковая, PCMCIA флеш-карты

энергонезависимая дисковая, PCMCIA флеш-карты

энергонезависимая дисковая

энергонезависимая дисковая

6.2

Объем памяти

256 кБ

256 кБ

1 МБ

1 МБ

1 МБ

1 МБ

1 МБ opt.

1 МБ opt.

6.3

Время хранения данных

до 10 лет

до 10 лет

до 10 лет

до 10 лет

до 10 лет

до 10 лет

 

7. ИНТЕРФЕЙС

 

 

 

 

 

 

7.1

Тип интерфейса

RS 232C

RS 232C

RS 232C

RS 232C

RS 232C

RS 232C

 

8. ОБЩЕКОНСТРУКТИВНЫЕ ХАРАКТЕРИСТИКИ

 

 

 

 

 

 

8.1

Тип питания

от сети 220 В или NiCd аккумуляторы

от сети 220 В или NiCd аккумуляторы

от сети 220 В или NiCd аккумуляторы

от сети 220 В или NiCd аккумуляторы

от сети 220 В или NiCd аккумуляторы

от сети 220 В или NiCd аккумуляторы

8.2

Время работы между подзарядками аккумуляторов

6 - 8 часов

6 - 8 часов

6 часов

6 часов

6 часов

6 часов

8.3

Вес прибора

4 кг

4 кг

3 кг

3 кг

2,5 кг

2,5 кг

8.4

Габаритные размеры прибора (мм×мм×мм)

256×250×82

256×250×82

313×215×93

313×215×93

250×256×82

250×256×82

8.5

Диапазон рабочих температур

от 0 до 50 °С

от 0 до 50 °С

от 0 до 50 °С

от 0 до 50 °С

от 0 до 50 °С

от 0 до 135 °С

8.6

Наличие и тип сертификата взрывобезопасности

нет

нет

нет

нет

нет

GROUP II EEx ia IIB T4

8.7

Возможность загрузки маршрутов из РС в анализатор и обратно

нет

нет

нет

есть

есть

есть

 

9. НАЛИЧИЕ СПЕЦИАЛИЗИРОВАННОГО ПРОГРАММНОГО ОБЕСПЕЧЕНИЯ

 

 

 

Вибродиагностическое программное обеспечение фирмы ENTEK

Вибродиагностическое программное обеспечение фирмы ENTEK

Вибродиагностическое программное обеспечение фирмы ENTEK


DIAGNOSTIC INSTRUMENTS

I. PL31B - СПЕКТРОАНАЛИЗАТОР И СБОРЩИК ДАННЫХ

ОПИСАНИЕ:

PL31B - является развитием спектроанализатора PL 21 фирмы Diagnostic instruments. Фирма модифицировала этот спектральный анализатор в сборщик данных, объединивший в себе простую маршрутизацию, возможности построения огибающей спектра, запоминание и использование для сравнения опорных спектров. Комбинация спектроанализатора и сборщика данных делает этот прибор удобным и необходимым инструментом техобслуживания «по состоянию».

ОСОБЕННОСТИ:

1. Выделенные функциональные клавиши управления процессом сбора данных.

2. Запоминание опорного спектра.

3. Трехцветные светодиоды, сигнализирующие о сбоях в процессе сбора и обработки данных.

4. Оценка состояния подшипников качения, используя методы построения огибающих (EST).

5. Сменные аккумуляторные батареи, обеспечивающие более восьми часов непрерывной работы.

6. Жидкокристаллический дисплей повышенной контрастности размером 127×70 мм.

7. Все возможности спектроанализатора с высоким разрешением.

ДИНАМИЧЕСКИЙ ДИАПАЗОН:

72 дБ динамический диапазон с 12 разрядной сеткой.

ТИПОВЫЕ ВХОДЫ:

1. Стандартные пьезокристаллические акселерометры.

2. Стандартные преобразователи скорости.

3. Стандартные преобразования перемещения.

4. Инфракрасный датчик температуры.

5. Фотоэлектрическая система сбора информации.

6. Вход постоянного тока.

7. Ручной ввод данных.

ЧАСТОТНЫЕ ДИАПАЗОНЫ:

От 0,5 до 40 кГц.

КОЛИЧЕСТВО ЧАСТОТНЫХ ДИАПАЗОНОВ:

10 диапазонов от 23 Гц до 40 кГц.

ИЗМЕРЕНИЯ В МАРШРУТЕ И ВНЕ МАРШРУТА:

1. Общий уровень.

2. Спектр.

3. Временная реализация.

4. Фаза.

5. Порядковый анализ.

ОБОЗНАЧЕНИЕ ИЗМЕРЯЕМОЙ ТОЧКИ:

1. 16 знаков в названии машин.

2. 16 знаков в названии точки.

3. 32 знака в описании точки.

4. Машины.

5. Контрольные уровни.

6. Предыдущие измерения.

7. Типы опасности.

ФИЗИЧЕСКИЕ ДАННЫЕ:

1. Длина 25,0 см.

2. Ширина 25,6 см.

3. Толщина 8,2 см.

4. Вес 2,5 кг.

5. Корпус изготовлен из высокопрочной пластмассы.

II. PL 33 - СБОРЩИК ДАННЫХ ВО ВЗРЫВОБЕЗОПАСНОМ ИСПОЛНЕНИИ

PL33 - взрывобезопасная версия сборщика данных PL33-01 применяется для проведения виброанализа и техобслуживания оборудования по состоянию во взрывоопасных условиях нефтеперерабатывающих, нефтехимических и химических производств.

Прибор сертифицирован BASEEFA (British Approvals Service for Electrical Equipment in Flammable Atmospheres).

PL33 присвоен сертификат: GROUP II (Petrochemical) EEx ia IIB T4.

ia - наивысший из двух стандартов безопасности, где безопасность PL33 обеспечивается при двойном сбое (ib - более низкий стандарт, где безопасность обеспечивается при одном сбое);

IIВ - это классификация присутствующих в атмосфере газов. Сертификат включает все газы кроме водорода и ацетилена. Эта классификация применима для большинства нефтехимических заводов;

Т4 - определяет максимальную температуру на поверхности прибора (до 135 °С), разрешенную для работы. Это охватывает многие химические процессы, за исключением относительно небольшого количества производств.

ТЕХНИЧЕСКИЕ ХАРАКТЕРИСТИКИ PL33:

Технические характеристики сборщика данных PL33 идентичны характеристикам прибора PL31В-01 за исключением небольших отличий:

- отсутствует подсветка дисплея;

- максимальный частотный диапазон в режиме сборщика данных составляет 20 кГц;

- максимальный частотный диапазон при БПФ анализе составляет 32 кГц; время непрерывной работы аккумуляторов не менее 10 часов.

КОМПЛЕКТ ПРИБОРА PL33:

PL33 - поставляется со всей необходимой комплектацией для работы в опасных условиях:

PLA-5 - ручная переносная сумка;

СА-11 - кабель IN-1 для соединения с компьютером через RS-232;

ВР-3 - комплект запасных аккумуляторов;

АС-3 - проксиметр и кабель для таходатчика;

ВС-15, ВС-16, или ВС-17 - зарядное устройство;

НР-2 - ручной щуп ( поставляется по требованию заказчика).

СТАНДАРТНЫЕ КОМПЛЕКТУЮЩИЕ:

1. Запасные батареи.

2. Батарейная коробка.

3. Руководство оператора.

4. Переносная сумка с ремнем.

5. Кабель с разъемом RS - 232С и адаптеры.

6. Стандартный набор акселерометра, включающий акселерометр, кабель, зонд и магнит.

ДОПОЛНИТЕЛЬНЫЕ ПРИНАДЛЕЖНОСТИ:

1. 2-х плоскостная балансировочная программа.

2. Набор акселерометра, включающий низкочастотный акселерометр, кабель, зонд и магнит.

3. Инфракрасный температурный датчик.

4. Фотоэлектронный датчик.

5. Полный набор адаптеров, кабелей и аксессуаров.

III. PL202 - АНАЛИЗАТОР СПЕКТРА В РЕАЛЬНОМ МАСШТАБЕ ВРЕМЕНИ

1. Анализ состояния механических систем

На основе спектрального анализа, выполненного с помощью PL202 можно провести многостороннюю оценку вибросостояния механических систем. Прибор точно и без искажений передает изменение по осям X и Y всех измеряемых величин. Возможность изображения орбит вращающихся элементов на экране анализатора позволяет использовать его для проведения работ по балансировке и выявлению несоосности. В частности возможно использование программ 2-х или 4-х плоскостной балансировки, загружаемых с флеш-карт.

2. Анализ акустических сигналов

Встроенные октавные и 1/3 октавные фильтры позволяют использовать PL202 для анализатора акустических сигналов с частотной коррекцией по шкале А.

3. Структурный анализ

PL202 позволяет провести структурный анализ с использованием передаточных функций. Анализатор дает возможность одновременно просматривать на экране когерентность и фазу. Использование водопадной графики (до 99 кривых) представляет большое удобство при исследовании резонансных частот. Все полученные результаты могут быть сохранены и обработаны с помощью программного обеспечения, установленного на PC.

4. Анализ быстроменяющихся процессов

При анализе переходных процессов возможно использование триггера для включения прибора по уровню временного сигнала. Данные во временной области могут быть преобразованы в частотную и затем сохранены.

5. Просмотр памяти/сравнение результатов

Данные, хранимые в памяти, легко просматриваются и сравниваются. Таблица файлов, содержащихся в памяти, содержит буквенную идентификацию, тип хранимых данных, дату, тип процесса.

НПО «ПРИЗ»

Портативная диагностическая аппаратура спектрально-корреляционного анализа шумов и вибрации. Анализаторы предназначены для проведения в производственных и полевых условиях работ по обслуживанию и диагностике технического состояния конструкций и механизмов, в том числе трубопроводов и агрегатов роторного типа (насосы, дизель-генераторы, турбины и т.д.). Анализаторы благодаря встроенному блоку фильтров и усилителей, микро-ЭВМ, энергонезависимой памяти и расширенному программному обеспечению позволяют:

- производить анализ временных характеристик сигналов,

- получать методом быстрого преобразования Фурье спектры сигналов в прямоугольном или Ханнинга окнах в диапазоне до 30 кГц;

- производить корреляционный и взаимно-спектральный анализ сигналов на интервале до 800 мс при задержке до ± 6 с;

- определять координату источника шума (течи) на объекте;

- проводить анализ в режиме огибающей на частотах 3,15; 6,3; 8; 10 кГц;

- отображать сигналы и функции на ЖК экране 64×120 точек. В анализаторах предусмотрена установка чувствительности датчика, автоматическая установка чувствительности прибора по сигналу, максимальная амплитуда которого 3,6 В.

Анализаторы содержат встроенные усилитель заряда и линейный усилитель с Кус = - 6 - + 36 дБ (шаг 6 дБ), 8-разрядный АЦП.

Усреднение производится по 4 - 32 реализациям спектра, линейный и логарифмический масштаб по оси «Y», масштабирование по оси «X».

Встроенная энергонезависимая память 64 или 128 Кбайт.

Срок хранения входной, служебной информации и результатов измерений не менее 1 месяца.

Встроенный интерфейс RS-232 для обмена с ЭВМ типа IBM PC.

Время непрерывной работы от батареи 8 час.

Габариты 255×245×95 мм, вес 4 кг.

Гарантийный срок эксплуатации 12 мес. Послегарантийное обслуживание по отдельному договору.

Приборы комплектуются вибродатчиками фирм «Глобалтест» и «Гало», набором аккумуляторов и зарядным устройством.

Характеристики

Тип анализатора

ПР 90М

ПР 110

ПР 95М

ПР95Н

Диапазоны частот спектрального анализа

2 Гц - 0,1; 0,2; 0,5; 1; 2; 5; 10; 20 кГц; (30 кГц для ПР 93)

2 Гц - 1; 2; 5; 10 кГц

0,1 - 31; 62; 125; 250; 500 Гц

Корреляционный анализ

 

 

 

 

- на интервале

-

40 мс

800 мс

- начальная разность

± 0,3 с

± 6 с

- разрешение

0,04 мс

0,8 мс

Число точек спектральной функции

800

800

800

800

Единицы измерений

м/с, В, м/с2

м/с2, В

В, м/с2

НТЦ «ВиКонт»

СТАЦИОНАРНАЯ СИСТЕМА КОНТРОЛЯ ВИБРАЦИИ КАСКАД

Контрольно-сигнальная и диагностическая аппаратура КАСКАД предназначена для:

- автоматического контроля вибрации;

- сбора и обработки вибросигналов;

- диагностики дефектов непрерывного работающего промышленного оборудования.

Применяется в различных отраслях: энергетике, нефтяной и газовой промышленности, химических и металлургических производствах, на транспорте и др.

Имеется взрывозащищенная модификация.

Элементы системы КАСКАД

Вибродатчик VC-310 - пьезоэлектрический вибропреобразователь. Выпускается как со встроенной электроникой, так и с выносной. Является законченным измерительным устройством, позволяет непосредственно измерять виброскорость в заданном частотном диапазоне. Имеет выходы по току, напряжению.

Вибровыключатель VC-320 - блок, который вместе с вибродатчиком VC-310 обеспечивает сигнализацию и отключение механизмов при превышении допустимого уровня вибрации (2 значения). Превышение одного из уровней вибрации индицируется светодиодами и приводит к срабатыванию встроенных реле (одно реле на каждую установку).

Вторичным блок преобразователя VC-321 имеет дополнительно встроенный стрелочный индикатор на два диапазона измерений, указатель неисправности кабеля, память для фиксации факта срабатывания реле.

Блок мультиплексора и интерфейса VC-330 рассчитан на 32 канала и подключается к блокам вторичных преобразователей VC-321 или вибровыключателям VC-320. Имеет цифровую индикацию значения вибрации и номера канала. Обеспечивает просмотр уровней вибрации по каждому каналу, индикацию максимального уровня с указанием номера канала, получение сигналов защиты.

Блок АЦП - 8-канальный аналого-цифровой преобразователь с дополнительными программно доступными цифровыми выходами для управления блока коммутатора. Блок АЦП выполнен в виде платы, встраиваемой в IBM PC-совместимый компьютер. Специальная токовая линия обеспечивает надежную связь на расстоянии до одного километра.

Возможно использование блока АЦП непосредственно с датчиками VC-310.

Программное обеспечение поддерживает:

- автоматический сбор данных измерений;

- сигнализацию о тревожном состоянии агрегата;

- визуализацию данных во временной и частотной областях;

- составление отчетов и вывод их на принтер.

Гибкая конфигурация системы КАСКАД позволяет комплектовать наборы аппаратуры по желанию заказчика для различных применений.

Например:

Система для контроля СКЗ виброскорости:

- набор датчиков VC-310;

- соединительные кабели и клеммные коробки;

- вторичные блоки VC-320 или VC-321.

Система для диагностики:

- набор датчиков VC-310;

- вторичные блоки VC-320 или VC-321;

- 32-канальный мультиплексор VC-330,

- блок АЦП;

- IBM PC-совместимый компьютер;

- программное обеспечение.

Краткие технические характеристики

Частотный диапазон, Гц

10 - 1000

Максимальный предел измерения СКЗ виброскорости, мм/с

30

Уставки:

2, 1 - 30

Основная приведенная погрешность на базовой частоте

5 %

Температурный диапазон для вибродатчиков, °С

- 10 … + 80

 

- 20 … + 150

 

- 30 … + 300

Температурный диапазон для вторичных блоков, °С

+ 5 … + 40

Гарантийный срок

18 месяцев

БРЮЛЬ И КЪЕР

СИСТЕМА МОНИТОРИЗАЦИИ 3540 (COMPASS)

Величина/параметр

Непр./вер. монит.

Датчик/преобразователь**

Мониторизация отн. уровней тревоги

Мониторизация отн. уровней опасности

Мониторизация отн. тенденции

Ручной анализ

А

П

Т/Н

Т

Ц

Стат. значение

Н/П

-

П

Т/Н*

-

-

Тревога ниж./верх.

Опасность ниж./верх.

Опасность - тенденция

Да

Разность стат. значений

Н/П

-

П

Т/Н*

-

-

Тревога ниж./верх.

Опасность ниж./верх.

Опасность - тенденция

Да

Значение - ФНЧ

Н/П

А

П

-

-

-

Тревога ниж./верх.

Опасность ниж./верх.

Опасность - тенденция

Да

Значение - ПФ

Н/П

А

П

-

-

-

Тревога ниж./верх.

Опасность ниж./верх.

Опасность - тенденция

Да

Smax (пик орбиты)

Н/П

А

П

-

-

-

Тревога ниж./верх.

Опасность ниж./верх.

Опасность - тенденция

Да

Значение гармоники

Н/П

А

П

-

-

-

Тревога ниж./верх.

Опасность ниж./верх.

Опасность - тенденция

Да

Фаза гармоники

Н/П

А

П

-

-

-

Тревога опер./запаз.

Опасность опер./запаз.

Опасность опер./запаз.

Да

Компл. вектор

Н/П

А

П

-

-

-

Тревога ниж./верх.

Опасность ниж./верх.

Опасность - тенденция

Да

Скорость (об/мин)

Н

-

П

Т/Н

Т

-

Тревога ниж./верх.

Опасность ниж./верх.

Опасность - тенденция

Да

Состояние (цифр.)

Н

-

-

-

-

Ц

Тревога акт./сб./пров

Опасность акт./сб./пров

Опасность - тенденция

Да

Собст. спектр

П

А

П

-

-

-

Тревога верх.

Опасность ниж./верх.

-

Да

Копстр

П

А

П

-

-

-

Тревога верх.

Опасность ниж./верх.

-

Да

Ограничен. копстр

П

А

П

-

-

-

Тревога ниж./верх.

Опасность ниж./верх.

Опасность - тенденция

Да

Спектр огибающей

П

А

П

-

-

-

Тревога верх.

Опасность ниж./верх.

-

Да

Спектр ПОШП 70 %

П

А

П

-

-

-

Тревога верх.

Опасность ниж./верх.

-

Да

Спектр ПОШП 23 %

П

А

П

-

-

-

Тревога верх.

Опасность ниж./верх.

-

Да

Спектр ПОШП 6 %

П

А

П

-

-

-

Тревога верх.

Опасность ниж./верх.

-

Да

Цикл. стат. значение

П

-

П

-

-

-

Тревога ниж./верх.

Опасность ниж./верх.

-

Да

Цикл. значение - ФНЧ

П

А

П

-

-

-

Тревога ниж./верх.

Опасность ниж./верх.

-

Да

Цикл. значение - ПФ

П

А

П

-

-

-

Тревога ниж./верх.

Опасность ниж./верх.

-

Да

Руч. сбор

П

А

П

-

Т

-

Тревога ниж./верх.

Опасность ниж./верх.

Опасность - тенденция

Да

Цикл. собст. спектр

-

А

П

Т/Н

Т

-

Не используется при мониторизации

Да

Огибающая во врем. обл.

-

А

П

Т/Н

Т

-

Не используется при мониторизации

Да

Двой. функция во врем. обл.

-

А

П

Т/Н

Т

-

Не используется при мониторизации

Да

Проф. сигнал во врем. области

-

А

П

Т/Н

Т

-

Не используется при мониторизации

Да

Разбег/выбег

-

А

П

Т/Н

Т

-

Не используется при мониторизации

Да

* Непрерывная (Н) мониторизация только при применении преобразователей тока в напряжение (Т/Н).

** Датчики и преобразователи: А - акселерометр, П - датчик перемещения, Т/Н - преобразователь тока в напряжение, Т - тахометрический датчик, Ц - вход цифрового сигнала.

НПЦ «ДИНАМИКА»

СТАЦИОНАРНАЯ СИСТЕМА «КОМПАКС»

1. Диапазон измеряемых среднеквадратических значений (СКЗ) параметров:

 

- виброускорение, м/с2

1 - 100

- виброскорость, мм/с

1 - 100

- виброперемещение, мкм

1 - 100

2. Диапазоны частот, Гц, при измерениях СКЗ параметров вибрации:

 

- виброускорение,

15 - 2000

(10 - 3000)

- виброскорость,

15 - 800

(10 - 1000)

- виброперемещение,

20 - 150

(15 - 200)

3. Рабочая температура, ° С:

 

- для акселерометров

- 40 … + 80

- для диагностической станции

+ 10 … + 40

4. Число каналов

1 … 256

5. Максимальная длина кабельных линий, м

500

6. Функции:

 

- наблюдение за техническим состоянием

 

- прогнозирование развития дефектов

 

- сигнал аварийных ситуаций

 

7. Временные интервалы

30 мин., шаг 5 с.

 

6 час., шаг 1 мин.

 

15 сут., шаг 1 час

 

1 год, шаг 1 сут.

 

7 лет, шаг 1 неделя

НПЦ «ДИНАМИКА»

СИСТЕМА КОМПЬЮТЕРНОГО МОНИТОРИНГА «КОМПАКС»

Технические характеристики

Наименование характеристики

Значение

1. Частотный диапазон измеряемых среднеквадратических значений (СКЗ) параметров вибрации, Гц (программируется):

 

- виброускорение

0,5 - 25000

- виброскорость

0,5 - 1000

- виброперемещение

0,5 - 200

2. Динамический диапазон измеряемых среднеквадратических значении (СКЗ) параметров вибрации (программируется)

 

- виброускорение, м/с2

1 - 100

- виброскорость, мм/с

1 - 100

- виброперемещение, мкм

1 - 100

3. Предел основной относительной погрешности измерения среднеквадратических значений (СКЗ) параметров вибрации

± 5

4. Диапазон измерения температуры, °С, (программируется)

 

с термопарами ТХА

-50- + 1000

с термопарами ТХК

-50 - + 600

5. Предел основной приведенной погрешности измерения температуры, %, не более

0,5

6. Диапазон измерения переменного тока частотой 50 Гц, А (программируется)

1; 5; 10*

7. Основная приведенная погрешность измерения переменного тока, %, не более

0,2

8. Число измерительных каналов

до 4096

9. Время измерения по 1 каналу, с (программируется)

0,1; 1: 10

10. Максимальная длина кабельных линий, м, не менее:

 

диагностическая станция - МУГ-8 (МПВ, МПТ)

500

МУГ-8 - МПВ-8 (МПТ)

500

МУГ-8 - ВИП

500

11. Параметры питающей сети:

 

напряжение, В

187 - 242

потребляемая мощность, ВА, не более

250

частота, Гц

48 - 52

12. Габаритные размеры, мм, не более

 

диагностическая станция

450×400×350

модули МПВ-8, МУГ-8, МПТ-8

310×110×40

вибропреобразователь АБ-311

40×40×40

датчик тока ТПТ

D26×29

13. Масса, кг, не более:

 

диагностическая станция

30

модули МПВ-8, МУГ-8, МП-8

0,9

вибропреобразователь АБ-311

0,1

датчик тока ТПТ

0,1

* Для измерения потребляемого тока электроприводов используются штатные трансформаторы тока. Датчик тока ТПТ включается во вторичную (слаботочную) цепь трансформатора.

КЛАССИФИКАЦИЯ НОРМ ВИБРАЦИИ НПЦ «ДИНАМИКА»

1. В качестве нормируемых параметров вибрации для электропривода, насоса и центробежных компрессорных агрегатов устанавливаются:

1.1. Среднеквадратическое значение виброускорения в полосе частот 10 ... 3000 Гц - А (м/с2).

1.2. Среднеквадратическое значение виброскорости в полосе частот 10 ... 1000 Гц - V (мм/с).

1.3. Среднеквадратическое значение виброперемещения в полосе частот 10 ... 200 Гц - S (мкм).

1.4. Скорости изменения указанных вибропараметров, отнесенных к временной базе продолжительностью в 1 час: Va (м/с2/час), Vv (мм/с/час), Vv (мкм/час).

2. Устанавливается 4 оценки технического состояния контролируемого агрегата.

«ХОРОШО» (Х) - допустимо при приемочных испытаниях после монтажа или капитального (среднего) ремонта. Соответствует технически исправному состоянию агрегата или узла и характеризует качество ремонтных (монтажных) работ.

«ДОПУСТИМО» (Д) - допустимо при длительной эксплуатации. Характеризует нормально-режимную эксплуатацию при малой вероятности отказа.

«ТРЕБУЕТ ПРИНЯТИЯ МЕР» (ТМ) - допустимо при непродолжительной эксплуатации. Характеризует наличие развивающихся дефектов и рост вероятности отказа. Служит для обеспечения планомерного вывода агрегата в ремонт. При достижении уровня ТМ, контролируют скорость изменения вибрации.

«НЕДОПУСТИМО» (Н) - недопустимо при эксплуатации. Характеризует наличие существенных дефектов и высокую вероятность отказа. Служит для останова агрегата и вывода его в ремонт. Состояние считается недопустимым, если вибрация превышает установленную норму, или скорость роста вибрации превышает установленный предел при абсолютном значении вибрации превышающем уровень ТМ.

3. Техническое состояние агрегата оценивается по наихудшему признаку - любому из вибропараметров (A, Va, V, Vv, S, Vs), достигшему наихудшего значения.

Эксплуатационные нормы вибрации приведены в таблице 1.

Таблица 1

ЭКСПЛУАТАЦИОННЫЕ НОРМЫ ВИБРАЦИИ НА ЦЕНТРОБЕЖНЫЕ ЭЛЕКТРОПРИВОДНЫЕ НАСОСНЫЕ И КОМПРЕССОРНЫЕ АГРЕГАТЫ, КОНТРОЛИРУЕМЫЕ СИСТЕМОЙ КОМПАКС

Параметр

Оценка

Электропривод

Насос

Центробежные компрессорные агрегаты

Высота центр. (мм)

Мощность (кВт)

Пароприв.

Эл. прив.

Мультиприв.

Компрес.

до 132

до 225

до 400

до 50

до 200

> 200

А* (м/с2)

Д

6,5

9

13,5

6,5

9

13,5

6,5

9

9

6

ТМ

8

12

16

8

12

16

8

12

12

12

Va < 5 м/с2/час

Va < 5 м/с2/час

Va < 5 м/с2/час

Н

12

16

24

12

16

24

12

16

16

16

Va > 5 м/с2/час

Va > 5 м/с2/час

Va > 5 м/с2/час

Va (м/с2/час)

Н

> 5

> 5

> 5

V (мм/с)

Д

2,8

4,5

7,1

2,8

4,1

5,4

2,8

4,5

4,5

2,8

ТМ

4,5

7,1

11,2

6,3

8,7

11,2

4,5

7,1

7,1

7,1

Vv < 3 мм/с/час

Vv < 3 мм/с/час

Vv < 3 мм/с/час

Н

7,1

11,2

18

8,7

11,2

14,1

7,1

11,2

11,2

11,2

Vv > 3 мм/с/час

Vv > 3 мм/с/час

Vv > 3 мм/с/час

Vv (мм/c/час)

Н

> 3

> 3

> 3

S** (мкм)

Д

9

14,5

23

9

13,5

17,2

9

14,5

14,5

9

ТМ

14

23

36

20

28

36

14

23

23

23

Vs < 8 мкм

Vs < 8 мкм

Vs < 8 мкм

Н

23

36

57

28

36

45

23

36

36

36

Vs > 8 мкм

Vs > 8 мкм

Vs > 8 мкм

Vs (мкм/час)

Н

> 8

> 8

> 8

* Допускается использовать вместо среднеквадратического пиковое значение виброускорения с увеличением приведенных в таблице значений в 10 (десять) раз;

** Допускается использовать вместо среднеквадратического двойной размах виброперемещения с увеличением приведенных в таблице значений в 5 (пять) раз.

 




ГОСТЫ, СТРОИТЕЛЬНЫЕ и ТЕХНИЧЕСКИЕ НОРМАТИВЫ.
Некоммерческая онлайн система, содержащая все Российские Госты, национальные Стандарты и нормативы.
В Системе содержится более 150000 файлов нормативно-технической документации, действующей на территории РФ.
Система предназначена для широкого круга инженерно-технических специалистов.

Рейтинг@Mail.ru Яндекс цитирования

Copyright © www.gostrf.com, 2008 - 2026