Крупнейшая бесплатная информационно-справочная система онлайн доступа к полному собранию технических нормативно-правовых актов РФ. Огромная база технических нормативов (более 150 тысяч документов) и полное собрание национальных стандартов, аутентичное официальной базе Госстандарта. GOSTRF.com - это более 1 Терабайта бесплатной технической информации для всех пользователей интернета. Все электронные копии представленных здесь документов могут распространяться без каких-либо ограничений. Поощряется распространение информации с этого сайта на любых других ресурсах. Каждый человек имеет право на неограниченный доступ к этим документам! Каждый человек имеет право на знание требований, изложенных в данных нормативно-правовых актах!

  


 

ГОСТ 30247.3-2002

МЕЖГОСУДАРСТВЕННЫЙ СТАНДАРТ

КОНСТРУКЦИИ СТРОИТЕЛЬНЫЕ

МЕТОДЫ ИСПЫТАНИЙ НА ОГНЕСТОЙКОСТЬ.
ДВЕРИ ШАХТ ЛИФТОВ

МЕЖГОСУДАРСТВЕННАЯ НАУЧНО-ТЕХНИЧЕСКАЯ КОМИССИЯ
ПО СТАНДАРТИЗАЦИИ, ТЕХНИЧЕСКОМУ НОРМИРОВАНИЮ
И СЕРТИФИКАЦИИ В СТРОИТЕЛЬСТВЕ (МНТКС)

Москва

Предисловие

1 РАЗРАБОТАН Федеральным Государственным учреждением «Всероссийский научно-исследовательский институт противопожарной обороны» (ФГУ ВНИИПО) МЧС России, ОАО «МОС ОТИС», Государственным унитарным предприятием «Центральный научно-исследовательский институт строительных конструкций им. В.А. Кучеренко» (ГУП ЦНИИСК им. Кучеренко) Госстроя России при участии Федерального Государственного унитарного предприятия - Центр методологии нормирования и стандартизации в строительстве (ФГУП ЦНС) Госстроя России

ВНЕСЕН Госстроем России

2 ПРИНЯТ Межгосударственной научно-технической комиссией по стандартизации, техническому нормированию и сертификации в строительстве (МНТКС) 5 декабря 2001 г.

За принятие проголосовали

Наименование государства

Наименование органа государственного управления строительством

Республика Армения

Министерство градостроительства Республики Армения

Республика Казахстан

Казстройкомитет

Кыргызская Республика

Государственная Комиссия по архитектуре и строительству при Правительстве Кыргызской Республики

Республика Молдова

Министерство экологии, строительства и развития территорий Республики Молдова

Российская Федерация

Госстрой России

Республика Таджикистан

Комархстрой Республики Таджикистан

Республика Узбекистан

Госкомархитектстрой Республики Узбекистан

Украина

Госстрой Украины

3 ВЗАМЕН ГОСТ 30247.2-97 в части приложения А

4 ВВЕДЕН В ДЕЙСТВИЕ с 1 июля 2002 г. в качестве государственного стандарта Российской Федерации постановлением Госстроя России от 17.06.2002 г. № 59

СОДЕРЖАНИЕ

1 Область применения. 2

2 Нормативные ссылки. 2

3 Термины и определения. 3

4 Сущность метода. 3

5 Предельные состояния. 3

6 Стендовое оборудование и измерительная аппаратура. 3

7 Температурный режим.. 3

8 Давление в печи. 3

9 Образец для испытания. 3

10 Подготовка испытания. 4

11 Проведение испытания. 5

12 Оценка результатов испытания. 5

13 Обозначение предела огнестойкости. 6

14 Отчет об испытании. 6

15 Техника безопасности. 6

Приложение А Cхемы установки термоэлектрических преобразователей (термопар) 7

Приложение Б Приспособления для определения потери целостности конструкции. 11

Введение

Настоящий стандарт «Конструкции строительные. Методы испытаний на огнестойкость. Двери шахт лифтов» разработан взамен приложения А ГОСТ 30247.2-97 «Конструкции строительные. Методы испытаний на огнестойкость. Двери и ворота», в котором приведены испытания и оценка огнестойкости только дверей двустворчатых центрального открывания и телескопических.

В стандарте установлены методы испытаний распашных, одно- и двухстворчатых дверей шахт лифтов, дверей с частичным остеклением, а также многостворчатых дверей, конструкции которых включают в себя одновременно двери центрального открывания и телескопические.

Дополнены схемы установки термопар на необогреваемой поверхности дверей различных типов и назначений, в том числе многостворчатых (трех-, четырех-, шестистворчатых) с различной шириной створок, которые в настоящее время начинают поставляться на российский рынок.

При испытании двери шахт лифтов должны быть встроены в специальное приспособление или конкретную конструкцию, которая применяется на практике. В последнем случае область применения результатов испытаний должна быть ограничена, что следует отметить в отчете по результатам исследований. В качестве материала специального приспособления могут быть использованы железобетон, бетонные блоки или кирпич. Причем толщина стены, выполненная из этих материалов, должна быть строго регламентирована. Расположение двери в сборе по отношению к приспособлению, ее соединение с приспособлением должны быть такими же, как и применяемые на практике, т.е. в соответствии с разработанной техдокументацией.

Испытываемый образец двери выполняется в натуральную величину.

Если размеры двери в сборе превышают размеры проема печи, то необходимо уменьшить максимальные размеры образца таким образом, чтобы они были соизмеримы с габаритными размерами установки для проведения испытаний. В таком случае фрагмент двери в сборе должен включать одну или несколько створок, их раму (обрамление) и крепление к специальному приспособлению, стыки и нащельники, теплоизоляцию (для дверей типа EI), а также элементы подвески створок, закрывания, отпирания, запирания (замок), максимальное количество проводов, используемых при эксплуатации, и т.д.

Зазоры между движущимися и фиксированными частями двери должны быть максимальными в пределах допусков.

На рисунках необходимо указать конкретные места контрольных замеров величин зазоров различных типов дверей.

В настоящем стандарте в соответствии с Европейскими нормами EN 1363-1-1999 «Испытания на огнестойкость. Общие требования» и EN 1634-1-2000 «Испытания на огнестойкость дверных блоков и ставней» установлено, что при испытании образца двери, требования по теплоизоляции к которой не предъявляются, предельное состояние характеризуется потерей целостности (Е), если наблюдается:

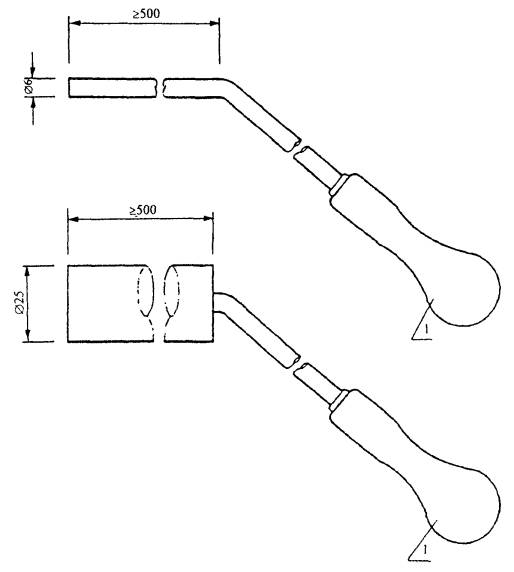
- сквозное прохождение щупа диаметром 6 мм и длиной не менее 500 мм через раскрывшийся притвор (трещину) в испытываемой двери, а также возможность перемещения такого щупа на величину не менее 150 мм вдоль зазора;

- сквозное прохождение щупа диаметром 25 мм и длиной не менее 500 мм через зазор (трещину) в испытываемой двери.

При разработке стандарта учтен опыт, накопленный при проведении испытаний на огнестойкость дверей шахт лифтов различных типов как отечественного, так и зарубежного производства.

МЕЖГОСУДАРСТВЕННЫЙ СТАНДАРТ

КОНСТРУКЦИИ СТРОИТЕЛЬНЫЕ

Методы испытаний на огнестойкость.
Двери шахт лифтов

BUILDING STRUCTURES

Fire-resistance tests methods.
Elevator shaft doors

Дата введения 2002-07-01

1 Область применения

Настоящий стандарт устанавливает методы испытания на огнестойкость заполнения входных (загрузочных) проемов дверей шахт лифтов (далее - дверей):

- распашных одно- и двухстворчатых;

- горизонтально-раздвижных центрального и бокового открывания, в том числе телескопических;

- вертикально-раздвижных одно- и двухстворчатых. Настоящий стандарт не распространяется на испытания дверей шахт лифтов с площадью светопрозрачного заполнения 25 % и более площади дверного проема в свету.

2 Нормативные ссылки

В настоящем стандарте использованы ссылки на следующие стандарты:

ГОСТ 12.1.004-91* ССБТ. Пожарная безопасность. Общие требования

ГОСТ 12.1.019-79* ССБТ. Электробезопасность. Общие требования и номенклатура видов защиты

ГОСТ 30247.0-94 Конструкции строительные. Методы испытания на огнестойкость. Общие требования

ГОСТ 30247.1-94 Конструкции строительные. Методы испытания на огнестойкость. Несущие и ограждающие конструкции.

3 Термины и определения

В настоящем стандарте применяют следующие термины с соответствующими определениями.

Дверь шахты лифта центрального открывания - дверь, створки которой при открывании перемещаются в противоположные стороны от вертикальной оси.

Дверь шахты лифта бокового открывания - одностворчатая или многостворчатая (телескопическая) дверь, створки которой при открывании перемещаются в одну сторону.

Дверь шахты лифта телескопическая - многостворчатая горизонтально-раздвижная дверь, створки которой перемещаются в параллельных плоскостях и при открывании заходят одна за другую.

Посадочная (погрузочная) площадка - горизонтальная площадка здания (сооружения), на уровне которой останавливается кабина лифта для входа (выхода) людей и (или) погрузки (разгрузки) грузов.

Фрагмент ограждающей конструкции шахты лифта - строительный элемент, представляющий часть ограждающей конструкции шахты с входным (погрузочным) проемом, на котором монтируется образец для испытаний.

4 Сущность метода

Сущность метода испытаний заключается в определении времени от начала теплового воздействия на образец для испытаний (далее - образец) до наступления нормируемых предельных состояний по огнестойкости в соответствии с настоящим стандартом.

Тепловое воздействие на образец должно производиться с одной стороны, которая при эксплуатации двери обращена в сторону посадочной (погрузочной) площадки.

5 Предельные состояния

5.1 При испытании образца двери, одним из требований к которой является теплоизолирующая способность (далее - двери с теплоизоляцией), различают следующие предельные состояния.

5.1.1 Потеря целостности (Е) вследствие:

- появления устойчивого пламени с необогреваемой стороны образца длительностью 10 с и более;

- воспламенения или возникновения тления со свечением ватного тампона в результате воздействия огня или горячих газов, проникающих через зазоры, щели, отверстия, притворы, лабиринты и т.п.

5.1.2 Потеря теплоизолирующей способности (I) вследствие повышения температуры на необогреваемой поверхности створок двери в сравнении с температурой образца перед началом испытания:

- в среднем более чем на 280 °С согласно 10.7.1;

- более чем на 330 °С в любой точке поверхности двери, измеренная согласно 10.7.2 - 10.7.4.

5.2 При испытании образца двери, к которой требования по теплоизоляции не предъявляются (далее - двери без теплоизоляции), предельное состояние характеризуется потерей целостности (Е) вследствие:

- появления устойчивого пламени с необогреваемой стороны образца длительностью 10 с и более;

- образования в конструкции образца сквозных отверстий (щелей) с размерами, позволяющими щупу диаметром 6,0 мм проникать и перемещаться вдоль отверстия (щели) на расстояние не менее 150 мм, или щупу диаметром 25,0 мм беспрепятственно проникать в сквозные отверстия.

6 Стендовое оборудование и измерительная аппаратура

6.1 Для проведения испытания используются:

- испытательная печь с системой подачи и сжигания топлива (далее - печь) - по ГОСТ 30247.0;

- система дымовых каналов с регулирующим устройством, обеспечивающая избыточное давление в огневой камере печи;

- система измерения и регистрации параметров - по ГОСТ 30247.0;

- фрагмент ограждения шахты лифта, имеющий предел огнестойкости выше, чем испытываемый образец;

- ватный тампон по ГОСТ 30247.0;

- проволочная рамка для установки ватного тампона с ручкой соответствующей длины, как показано на рисунке Б.1 приложения Б;

- стальные щупы диаметром 6 ± 0,2 мм и 25 ± 0,2 мм длиной не менее 500 мм с теплоизолированной ручкой (рисунок Б.2 приложения Б).

7 Температурный режим

7.1 Температурный режим в печи должен соответствовать требованиям ГОСТ 30247.0.

8 Давление в печи

8.1 Давление в печи должно соответствовать ГОСТ 30247.1.

9 Образец для испытания

9.1 Испытанию подлежит один образец.

9.2 Образец заполнения входного (загрузочного) проема шахты лифта должен иметь размеры, предусмотренные технической документацией. При необходимости проведения испытаний дверей, имеющих габаритные размеры по ширине и (или) высоте более 2600 мм, допускается изготавливать образцы с уменьшением этого размера (этих размеров) до 2600 мм, сохраняя при этом особенности конструкций дверей, влияющие на огнестойкость.

9.3 Образец должен быть изготовлен, укомплектован и собран в полном соответствии с технической документацией на дверь.

9.4 Комплект поставки образца должен включать:

- чертежи (эскизы) с указанием размеров основных узлов и деталей, расположения теплоизоляционных материалов, уплотнений, воздушных лабиринтов и зазоров;

- спецификацию используемых в конструкции двери материалов с указанием соответствующей нормативно-технической документации;

- техническое описание конструкции двери, кроме прочего включающее: наименование, тип (марку), назначение, толщину каждого составляющего слоя (в том числе обшивки, облицовки, теплоизоляции и др.);

- документ, заверенный контрольной службой завода-изготовителя, подтверждающий полное соответствие опытного образца технической документации;

- инструкцию по монтажу дверей;

- проект строительного проема, в соответствии с которым должен выполняться фрагмент ограждения шахты лифта для монтажа образца, подлежащего испытанию.

9.5 При подготовке к испытанию с целью сертификации отбор образца производится со склада готовой продукции завода-изготовителя в присутствии представителя испытательной лаборатории.

Допускается при подготовке к испытанию производить изготовление и сборку опытного образца на заводе-изготовителе в присутствии представителя испытательной лаборатории.

10 Подготовка испытания

10.1 Образец должен быть смонтирован на фрагменте ограждения шахты лифта толщиной 250 ± 50 мм, изготовленном из монолитного бетона (бетонных блоков) плотностью не менее 800 кг/м3 или кирпича.

10.2 Строительный проем во фрагменте ограждения шахты лифта должен иметь максимальные (в пределах допуска) размеры по проекту строительного проема для установки дверей по 9.4.

10.3 Монтаж образца на фрагменте должен быть выполнен по инструкции изготовителя двери специализированной организацией в соответствии с требованиями правил устройства и безопасности эксплуатации лифтов (ПУБЭЛ).

10.4 При монтаже образца должен быть произведен контроль регламентированных зазоров.

10.5 При использовании минеральных вяжущих для монтажа образца его испытание может быть проведено только по истечении нормативного времени отверждения вяжущего.

10.6 Створки образца должны быть закрыты и заперты на замок в соответствии с требованиями ПУБЭЛ.

10.7 Для измерения температуры на необогреваемой поверхности образца двери с теплоизоляцией должны быть установлены термоэлектрические преобразователи (далее - термопары). Схемы установки термопар на образцах различных типов дверей приведены в приложении А.

10.7.1 Термопары для определения средней величины превышения температуры над первоначальной на необогреваемой поверхности образца должны быть установлены с учетом 10.7.3:

- термопара 1 - в центре площади дверного проема;

- термопары 2, 3, 4 и 5 - в центре каждой четверти площади дверного проема.

10.7.2 Термопары для определения максимальной величины превышения температуры над первоначальной на необогреваемой поверхности образца (исключая ребра жесткости согласно 10.7.3) должны быть установлены:

- согласно 10.7.1;

- на пересечении диагоналей каждой четверти площади дверного проема с вертикальными осями каждой из створок за исключением створок, на которые установлены термопары 2 - 5 (рисунок А.4 - термопары 6 - 9, рисунок А.5 - термопары 6 - 13, рисунок А.6 - термопары 6 - 17);

- на каждой из створок по горизонтальной оси II-II, в 100 ± 5 мм от торцевой поверхности предыдущей створки, в сторону ее движения при открывании (рисунок А.3 - термопары 6, 7, рисунок А.4 - термопары 10, 11, рисунок А.5 - термопары 14 - 17, рисунок А.6 - термопары 18 - 23);

- в центре светопрозрачного заполнения и в середине верхней части его обрамления (при наличии светопрозрачного заполнения) (рисунок А.1 - термопары 6 и 7).

10.7.3 При совпадении точек установки термопар согласно 10.7.1 и 10.7.2 с ребрами жесткости, краями, стыками и притворами створок, а также со светопрозрачным заполнением и его обрамлением эти точки должны быть смещены на 100 ± 5 мм влево, вправо, вверх или вниз, как показано в приложении А.

10.7.4 В дополнение к 10.7.1 и 10.7.2 для определения максимальной величины превышения первоначальной температуры термопары должны быть установлены:

- в зонах прохождения ребер жесткости, если таковые имеются (например, рисунок А.1 - термопары 8, 9);

- на пересечении горизонтальных и вертикальных осей площади, расположенных между краями строительного проема фрагмента и дверного проема образца с каждой боковой стороны и вверху (рисунок А.9). При невозможности расположения термопары вверху в указанном месте (рисунок А.9) допускается ее смещение вверх или вниз по оси в удобное для установки место или использование переносной термопары.

10.7.5 Термопары могут устанавливаться с использованием термостойкого клея или механического крепления (винтами, заклепками, скобами). Каждая термопара должна закрываться накладкой из негорючего материала размером [(30 x 30 x 0,2) ± 0,5] мм. При этом не допускается наличие следов клея между поверхностью опытного образца и спаем термопары, а механические крепления не должны способствовать передаче тепла от поверхности к спаю термопары.

Если на поверхности образца тонким слоем нанесено декоративное покрытие (например, краска), то в местах установки спая термопар его следует полностью удалить.

10.8 До начала испытания на смонтированном образце должно быть проведено не менее 10 циклов открывания - закрывания створок.

11 Проведение испытания

11.1 Условия проведения испытания - по ГОСТ 30247.0.

11.2 В процессе испытания следует регистрировать:

11.2.1 Температуру в печи - по ГОСТ 30247.0.

11.2.2 Давление газов в печи - по разделу 8 настоящего стандарта.

11.2.3 Время появления и характер развития в образце щелей (зазоров), через которые из печи могут проникать пламя и (или) горячие газы на необогреваемую сторону образца.

11.2.4 Время и место появления пламени на необогреваемой стороне образца и длительность устойчивого пламени.

11.2.5 Время начала разрушения конструкции или ее частей (механизмов подвески, фиксации, перекос створок и др.).

11.2.6 Для дверей с теплоизоляцией створок:

а) температуру на необогреваемой поверхности согласно 10.7;

б) время, место и характер изменения состояния материалов конструкции (обугливание, воспламенение, выделение продуктов горения, разложения, оплавления и др.);

в) время, когда произошло воспламенение (тление со свечением) ватного тампона. Рамку с тампоном подносят к местам, где ожидается проникновение пламени или продуктов горения, и в течение 10 с удерживают на расстоянии 30 ± 5 мм от поверхности образца.

Повторное использование тампона не допускается.

11.2.7 Для дверей без теплоизоляции:

а) указанное в 11.2.6, б;

б) время, место и величину образовавшихся отверстий (щелей) по 5.2. Величина отверстий определяется с помощью стальных щупов диаметром 6 ± 0,2 мм и 25 ± 0,2 мм.

11.3 Испытание проводят до наступления одного из предельных состояний по огнестойкости. Для дверей с теплоизоляцией после наступления предельного состояния «потеря теплоизолирующей способности I» испытание может быть продолжено для выявления фактического значения времени наступления предельного состояния «потеря целостности Е».

11.4 Если испытание заканчивается до наступления нормированных предельных состояний, причина окончания должна быть указана в отчете. В этом случае величиной фактического предела огнестойкости конструкции является длительность проведенного испытания.

11.5 Если за время, заявленное для данной конструкции, предельные (предельное) состояния (состояние) достигнуты не были, то испытание может быть продолжено до выявления фактической огнестойкости конструкции.

12 Оценка результатов испытания

12.1 Результаты испытаний оценивают по времени достижения предельных состояний по разделу 5.

12.2 Для дверей с теплоизоляцией:

12.2.1 При оценке достижения образцом предельного состояния «потеря целостности Е» обугливание ватного тампона без тления со свечением не учитывается.

12.2.2 При оценке достижения образцом предельного состояния «потеря теплоизолирующей способности (I)»:

- величину среднего превышения температуры над первоначальной на необогреваемой поверхности образца определяют как среднеарифметическое значение показаний термопар 1 - 5 согласно 10.7.1;

- величину максимального превышения температуры над первоначальной на необогреваемой поверхности образца определяют по показаниям термопар, установленных в точках, указанных в 10.1.1, 10.7.2, 10.7.4 и в любых других точках, с помощью переносной термопары.

12.3 Для дверей без теплоизоляции достижение предельного состояния «потеря целостности Е» оценивается появлением в образце сквозных отверстий (щелей), величина которых оговорена в 5.2. Если величина отверстий (щелей) не позволяет беспрепятственно входить и (или) перемещаться щупу вдоль отверстия (щели), а также в случае возникновения препятствия при проникновении щупов наступление предельного состояния не фиксируется.

Время от начала испытания до появления пламени согласно 5.2 или до беспрепятственного проникновения щупа в образовавшиеся отверстия (щели) является пределом огнестойкости по признаку потери целостности (Е).

12.4 Результаты испытаний образца распространяются:

12.4.1 На двери одинаковой конструкции с размерами проемов по ширине и высоте, отличающимися от проема испытанного образца:

- в меньшую сторону на 35 % с округлением в сторону уменьшения до размера, кратного 100 мм;

- в большую сторону на 15 % с округлением в сторону увеличения до размера, кратного 50 мм.

12.4.2 На двери без светопрозрачного заполнения, если испытанию подвергался образец со светопрозрачным заполнением.

12.4.3 На горизонтально-раздвижные телескопические двери с меньшим числом створок, чем у испытанного образца.

12.4.4 На дверь заявленных размеров, если дверь выполнена с уменьшением размеров в соответствии с 9.2, при этом требования 12.4.1 не учитываются.

13 Обозначение предела огнестойкости

13.1 Обозначение предела огнестойкости двери - по ГОСТ 30247.0.

14 Отчет об испытании

14.1 Отчет об испытании (протокол испытания) должен содержать следующую информацию:

- наименование и адрес организации, проводящей испытание;

- наименование, адрес и код по ОКПО организации-заказчика;

- организацию-изготовитель двери и ее адрес;

- сведения о представителе заказчика (изготовителя), присутствовавшем при проведении испытания;

- дату проведения испытаний;

- наименование изделия, товарный знак и маркировку образца с указанием шифра технической документации на конструкцию;

- код ОКП (ТНВЭД) на изделие;

- заявленные предельные состояния (предельное состояние) двери;

- наименование нормативного документа, содержащего метод испытания;

- описание, чертежи (эскизы) конструкции образца, представленные заказчиком;

- описание фрагмента, в который устанавливается дверь;

- данные о технических характеристиках материалов, установленных в образце;

- инструкцию по монтажу;

- акт отбора образца (при проведении сертификационного испытания);

- условия окружающей среды при проведении испытания;

- сведения об испытательном оборудовании и средствах измерения параметров;

- схему установки термопар;

- значение давления в огневой камере печи;

- изменение температуры и времени в огневой камере печи;

- изменения температур в местах установки термопар и переносной термопары (для дверей с теплоизоляцией);

- наблюдения в процессе испытания с приложением фотоматериалов;

- оценку результатов испытания;

- фактический предел огнестойкости образца;

- область применения полученных результатов;

- обозначение предела огнестойкости;

- срок действия отчета об испытании.

14.2 Отчет (протокол об испытании) является документом, указывающим огнестойкость дверей, образец которых прошел испытания. Отчет действует период времени, в течение которого не были произведены изменения:

- нормативных документов на продукцию и (или) метод испытания;

- конструкции и (или) комплектности двери;

- организации и (или) технологии производства.

В случае, если вышеуказанное имело место, то сообщение об этом должно быть направлено заказчиком в лабораторию, проводившую испытания. На основании анализа влияния этих изменений на огнестойкость дверей испытательная лаборатория принимает решение о продолжении действия отчета об испытании.

15 Техника безопасности

При испытании дверей на огнестойкость должны соблюдаться требования безопасности и производственной санитарии согласно ГОСТ 12.1.004, ГОСТ 12.1.019 и ГОСТ 30247.0.

ПРИЛОЖЕНИЕ А
(обязательное)

Схемы установки термоэлектрических преобразователей (термопар)

· - места установки термопар

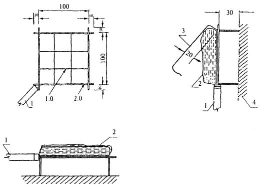
Рисунок А.1 - Схема установки термопар на необогреваемой поверхности створок одностворчатой распашной и горизонтально-раздвижной двери бокового открывания с частичным остеклением

─► - направление открывания

· - места установки термопар

а, в - дверь раздвижная центрального открывания

б - дверь телескопическая центрального открывания

г - дверь распашная центрального открывания

Рисунок А.2 - Схема установки термопар на необогреваемой поверхности двухстворчатой двери

► - направление открывания

· - места установки термопар

Рисунок А.3 - Схема установки термопар на необогреваемой поверхности трехстворчатой горизонтально-раздвижной телескопической двери

► - направление открывания

· - места установки термопар

Рисунок А.4 - Схема установки термопар на необогреваемой поверхности четырехстворчатой горизонтально-раздвижной двери центрального открывания

► - направление открывания

· - места установки термопар

Рисунок А.5 - Схема установки термопар на необогреваемой поверхности шестистворчатой горизонтально-раздвижной двери центрального открывания

► - направление открывания

· - места установки термопар

Рисунок А.6 - Схема установки термопар на необогреваемой поверхности восьмистворчатой горизонтально-раздвижной двери центрального открывания

► - направление открывания

· - места установки термопар

Рисунок А.7 - Схема установки термопар на необогреваемой поверхности вертикально-раздвижной одностворчатой двери

► - направление открывания

· - места установки термопар

Рисунок А.8 - Схема установки термопар на необогреваемой поверхности вертикально-раздвижной двухстворчатой двери

· - места установки термопар

Рисунок А.9 - Схема установки термопар на необогреваемой поверхности площади, образуемой границей строительного и дверного проемов

ПРИЛОЖЕНИЕ Б
(обязательное)

Приспособления для определения потери целостности конструкции

1 - ручка; 2 - ватный тампон; 3 - зажим; 4 - поверхность опытного образца

Рисунок Б.1 - Рамка для закрепления ватного тампона

1 - ручка

Рисунок Б.2 - Конструкция щупов

Ключевые слова: дверь шахты, опытный образец, приспособление, предел огнестойкости, целостность, теплоизолирующая способность

 




ГОСТЫ, СТРОИТЕЛЬНЫЕ и ТЕХНИЧЕСКИЕ НОРМАТИВЫ.
Некоммерческая онлайн система, содержащая все Российские Госты, национальные Стандарты и нормативы.
В Системе содержится более 150000 файлов нормативно-технической документации, действующей на территории РФ.
Система предназначена для широкого круга инженерно-технических специалистов.

Рейтинг@Mail.ru Яндекс цитирования

Copyright © www.gostrf.com, 2008 - 2026