Крупнейшая бесплатная информационно-справочная система онлайн доступа к полному собранию технических нормативно-правовых актов РФ. Огромная база технических нормативов (более 150 тысяч документов) и полное собрание национальных стандартов, аутентичное официальной базе Госстандарта. GOSTRF.com - это более 1 Терабайта бесплатной технической информации для всех пользователей интернета. Все электронные копии представленных здесь документов могут распространяться без каких-либо ограничений. Поощряется распространение информации с этого сайта на любых других ресурсах. Каждый человек имеет право на неограниченный доступ к этим документам! Каждый человек имеет право на знание требований, изложенных в данных нормативно-правовых актах!

  


 

ГОСТ Р 51415-99

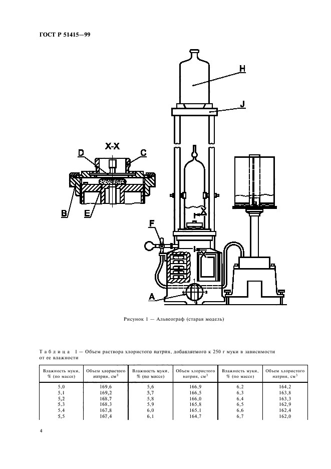
Мука пшеничная. Физические характеристики теста. Определение реологических свойств с применением альвеографа

Обозначение:ГОСТ Р 51415-99
Текущий статус документа: действующий
Название документа рус.:Мука пшеничная. Физические характеристики теста. Определение реологических свойств с применением альвеографа
Название документа англ.:Wheat flour. Physical characteristics of doughs. Determination of rheological properties using a alveograph
Дата актуализации текста:01.12.2013
Дата издания:01.01.2007
Дата введения:01.03.2001
Дата последнего изменения:22.05.2013
Переиздание:переиздание
Область применения:Настоящий стандарт устанавливает метод определения реологических свойств теста (максимального избыточного давления P, индекса раздувания G, средней абсциссы при разрыве L, энергии деформации W) для муки из зерна мягкой пшеницы с применением альвеографа
ГОСТ Р 51415-99ГОСТ Р 51415-99ГОСТ Р 51415-99ГОСТ Р 51415-99ГОСТ Р 51415-99ГОСТ Р 51415-99ГОСТ Р 51415-99ГОСТ Р 51415-99ГОСТ Р 51415-99ГОСТ Р 51415-99ГОСТ Р 51415-99ГОСТ Р 51415-99ГОСТ Р 51415-99ГОСТ Р 51415-99
 




ГОСТЫ, СТРОИТЕЛЬНЫЕ и ТЕХНИЧЕСКИЕ НОРМАТИВЫ.
Некоммерческая онлайн система, содержащая все Российские Госты, национальные Стандарты и нормативы.
В Системе содержится более 150000 файлов нормативно-технической документации, действующей на территории РФ.
Система предназначена для широкого круга инженерно-технических специалистов.

Рейтинг@Mail.ru Яндекс цитирования

Copyright © www.gostrf.com, 2008 - 2026