Крупнейшая бесплатная информационно-справочная система онлайн доступа к полному собранию технических нормативно-правовых актов РФ. Огромная база технических нормативов (более 150 тысяч документов) и полное собрание национальных стандартов, аутентичное официальной базе Госстандарта. GOSTRF.com - это более 1 Терабайта бесплатной технической информации для всех пользователей интернета. Все электронные копии представленных здесь документов могут распространяться без каких-либо ограничений. Поощряется распространение информации с этого сайта на любых других ресурсах. Каждый человек имеет право на неограниченный доступ к этим документам! Каждый человек имеет право на знание требований, изложенных в данных нормативно-правовых актах!

  


 

ГОСТ 6996-66

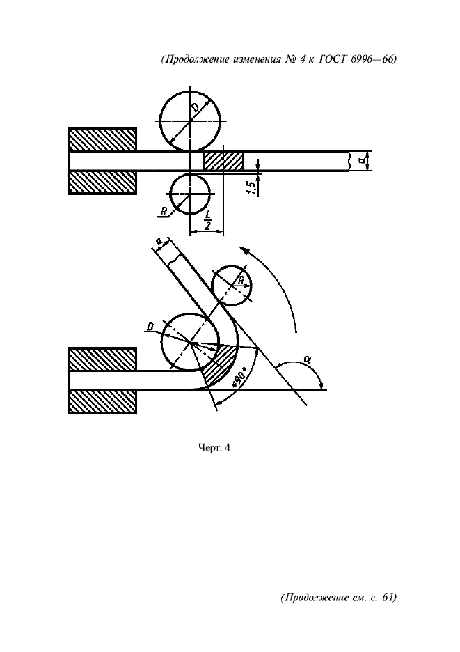
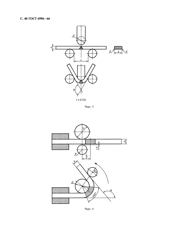
Сварные соединения. Методы определения механических свойств

Обозначение:ГОСТ 6996-66
Текущий статус документа: действующий
Название документа рус.:Сварные соединения. Методы определения механических свойств
Название документа англ.:Welded joints. Methods of mechanical properties determination
Дата актуализации текста:01.12.2013
Дата издания:01.11.2006
Дата введения:01.01.1967
Дата последнего изменения:22.05.2013
Переиздание:переиздание с изм. 1
Область применения:Настоящий стандарт устанавливает методы определения механических свойств сварного соединения в целом и его отдельных участков, а также наплавленного металла при всех видах сварки металлов и их сплавов.
Настоящий стандарт распространяется на испытания, проводимые при определении качества продукции и сварочных материалов, пригодности способов и режимов сварки, при установлении квалификации сварщиков и показателей свариваемости металлов и сплавов
Список изменений:№1 от 01.10.1980 (рег. 06.06.1980) «Срок действия продлен»
№2 от 01.01.1985 (рег. 30.09.1983) «Срок действия продлен»
№3 от 01.07.1991 (рег. 29.12.1990) «Срок действия продлен»
№4 от 01.01.2005 (рег. 08.10.2004) «Текстовое изменение; Изменены ссылочные НД»
Приложение №1:Изменение №4 к ГОСТ 6996-66
ГОСТ 6996-66ГОСТ 6996-66ГОСТ 6996-66ГОСТ 6996-66ГОСТ 6996-66ГОСТ 6996-66ГОСТ 6996-66ГОСТ 6996-66ГОСТ 6996-66ГОСТ 6996-66ГОСТ 6996-66ГОСТ 6996-66ГОСТ 6996-66ГОСТ 6996-66ГОСТ 6996-66ГОСТ 6996-66ГОСТ 6996-66ГОСТ 6996-66ГОСТ 6996-66ГОСТ 6996-66ГОСТ 6996-66ГОСТ 6996-66ГОСТ 6996-66ГОСТ 6996-66ГОСТ 6996-66ГОСТ 6996-66ГОСТ 6996-66ГОСТ 6996-66ГОСТ 6996-66ГОСТ 6996-66ГОСТ 6996-66ГОСТ 6996-66ГОСТ 6996-66ГОСТ 6996-66ГОСТ 6996-66ГОСТ 6996-66ГОСТ 6996-66ГОСТ 6996-66ГОСТ 6996-66ГОСТ 6996-66ГОСТ 6996-66ГОСТ 6996-66ГОСТ 6996-66ГОСТ 6996-66ГОСТ 6996-66

Изменение №4 к ГОСТ 6996-66

Обозначение:Изменение №4 к ГОСТ 6996-66
Дата введения:01.01.2005


Изменение №4 к ГОСТ 6996-66Изменение №4 к ГОСТ 6996-66Изменение №4 к ГОСТ 6996-66Изменение №4 к ГОСТ 6996-66Изменение №4 к ГОСТ 6996-66Изменение №4 к ГОСТ 6996-66Изменение №4 к ГОСТ 6996-66Изменение №4 к ГОСТ 6996-66Изменение №4 к ГОСТ 6996-66Изменение №4 к ГОСТ 6996-66Изменение №4 к ГОСТ 6996-66Изменение №4 к ГОСТ 6996-66Изменение №4 к ГОСТ 6996-66Изменение №4 к ГОСТ 6996-66Изменение №4 к ГОСТ 6996-66Изменение №4 к ГОСТ 6996-66Изменение №4 к ГОСТ 6996-66
 




ГОСТЫ, СТРОИТЕЛЬНЫЕ и ТЕХНИЧЕСКИЕ НОРМАТИВЫ.
Некоммерческая онлайн система, содержащая все Российские Госты, национальные Стандарты и нормативы.
В Системе содержится более 150000 файлов нормативно-технической документации, действующей на территории РФ.
Система предназначена для широкого круга инженерно-технических специалистов.

Рейтинг@Mail.ru Яндекс цитирования

Copyright © www.gostrf.com, 2008 - 2026