Крупнейшая бесплатная информационно-справочная система онлайн доступа к полному собранию технических нормативно-правовых актов РФ. Огромная база технических нормативов (более 150 тысяч документов) и полное собрание национальных стандартов, аутентичное официальной базе Госстандарта. GOSTRF.com - это более 1 Терабайта бесплатной технической информации для всех пользователей интернета. Все электронные копии представленных здесь документов могут распространяться без каких-либо ограничений. Поощряется распространение информации с этого сайта на любых других ресурсах. Каждый человек имеет право на неограниченный доступ к этим документам! Каждый человек имеет право на знание требований, изложенных в данных нормативно-правовых актах!

  


 

ГОСТ Р 52707-2007

Огнеупоры для разливки стали. Изделия огнеупорные для шиберных затворов сталеразливочных ковшей. Технические условия

Обозначение:ГОСТ Р 52707-2007
Текущий статус документа: действующий
Название документа рус.:Огнеупоры для разливки стали. Изделия огнеупорные для шиберных затворов сталеразливочных ковшей. Технические условия
Название документа англ.:Refractories for steel pouring. Refractory products for slide gates of casting ladles. Specifications
Дата актуализации текста:01.12.2013
Дата издания:21.06.2007
Дата введения:01.01.2008
Дата последнего изменения:22.05.2013
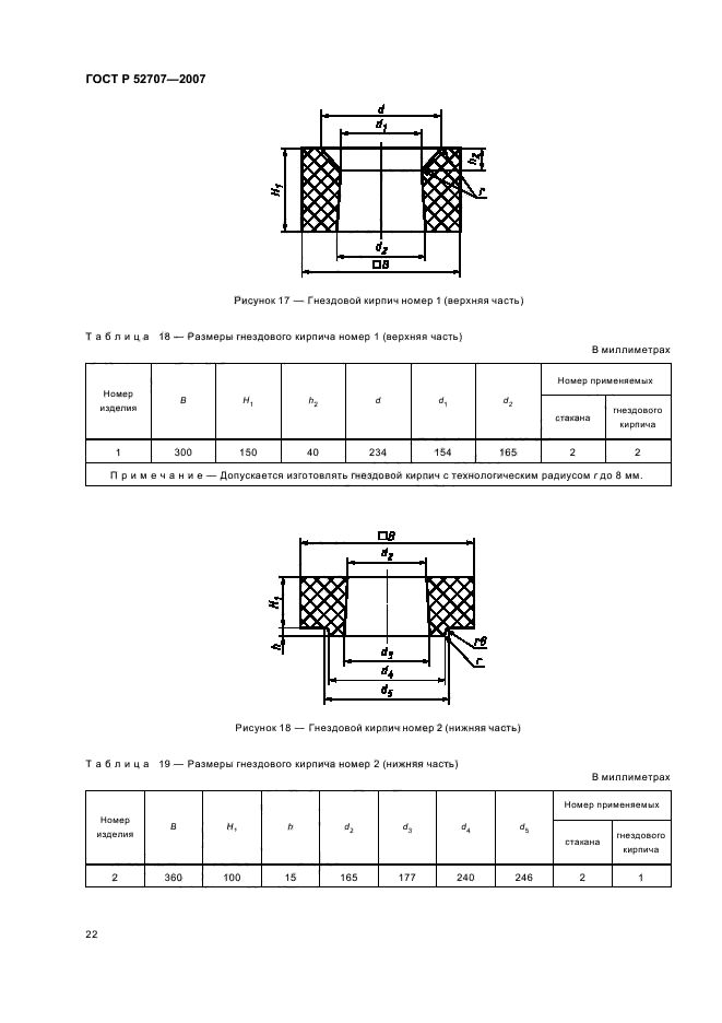
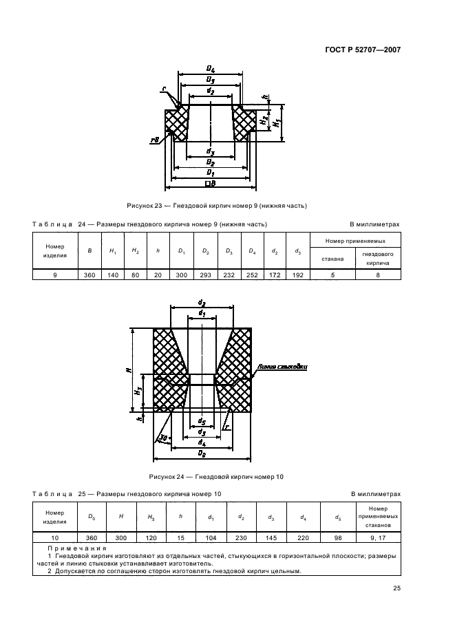
Область применения:Настоящий стандарт распространяется на огнеупорные изделия для шиберных затворов сталеразливочных ковшей: цельную плиту, составную плиту, состоящую из плиты под вкладыш и вкладыша, вставку, стакан, стакан-коллектор, гнездовой кирпич
Список изменений:№0 от 19.11.2007 (рег. 19.11.2007) «Дата введения перенесена»
ГОСТ Р 52707-2007ГОСТ Р 52707-2007ГОСТ Р 52707-2007ГОСТ Р 52707-2007ГОСТ Р 52707-2007ГОСТ Р 52707-2007ГОСТ Р 52707-2007ГОСТ Р 52707-2007ГОСТ Р 52707-2007ГОСТ Р 52707-2007ГОСТ Р 52707-2007ГОСТ Р 52707-2007ГОСТ Р 52707-2007ГОСТ Р 52707-2007ГОСТ Р 52707-2007ГОСТ Р 52707-2007ГОСТ Р 52707-2007ГОСТ Р 52707-2007ГОСТ Р 52707-2007ГОСТ Р 52707-2007ГОСТ Р 52707-2007ГОСТ Р 52707-2007ГОСТ Р 52707-2007ГОСТ Р 52707-2007ГОСТ Р 52707-2007ГОСТ Р 52707-2007ГОСТ Р 52707-2007ГОСТ Р 52707-2007ГОСТ Р 52707-2007ГОСТ Р 52707-2007ГОСТ Р 52707-2007ГОСТ Р 52707-2007ГОСТ Р 52707-2007ГОСТ Р 52707-2007ГОСТ Р 52707-2007ГОСТ Р 52707-2007ГОСТ Р 52707-2007ГОСТ Р 52707-2007ГОСТ Р 52707-2007ГОСТ Р 52707-2007ГОСТ Р 52707-2007ГОСТ Р 52707-2007ГОСТ Р 52707-2007ГОСТ Р 52707-2007ГОСТ Р 52707-2007ГОСТ Р 52707-2007ГОСТ Р 52707-2007ГОСТ Р 52707-2007ГОСТ Р 52707-2007ГОСТ Р 52707-2007
 




ГОСТЫ, СТРОИТЕЛЬНЫЕ и ТЕХНИЧЕСКИЕ НОРМАТИВЫ.
Некоммерческая онлайн система, содержащая все Российские Госты, национальные Стандарты и нормативы.
В Системе содержится более 150000 файлов нормативно-технической документации, действующей на территории РФ.
Система предназначена для широкого круга инженерно-технических специалистов.

Рейтинг@Mail.ru Яндекс цитирования

Copyright © www.gostrf.com, 2008 - 2026