Крупнейшая бесплатная информационно-справочная система онлайн доступа к полному собранию технических нормативно-правовых актов РФ. Огромная база технических нормативов (более 150 тысяч документов) и полное собрание национальных стандартов, аутентичное официальной базе Госстандарта. GOSTRF.com - это более 1 Терабайта бесплатной технической информации для всех пользователей интернета. Все электронные копии представленных здесь документов могут распространяться без каких-либо ограничений. Поощряется распространение информации с этого сайта на любых других ресурсах. Каждый человек имеет право на неограниченный доступ к этим документам! Каждый человек имеет право на знание требований, изложенных в данных нормативно-правовых актах!

  


 

ГОСТ Р 52728-2007

Метод натурной тензотермометрии. Общие требования

Обозначение:ГОСТ Р 52728-2007
Текущий статус документа: действующий
Название документа рус.:Метод натурной тензотермометрии. Общие требования
Название документа англ.:Method of strain-and-temperature measurements in situ. General requirements
Дата актуализации текста:01.12.2013
Дата издания:01.10.2007
Дата введения:30.09.2007
Дата последнего изменения:22.05.2013
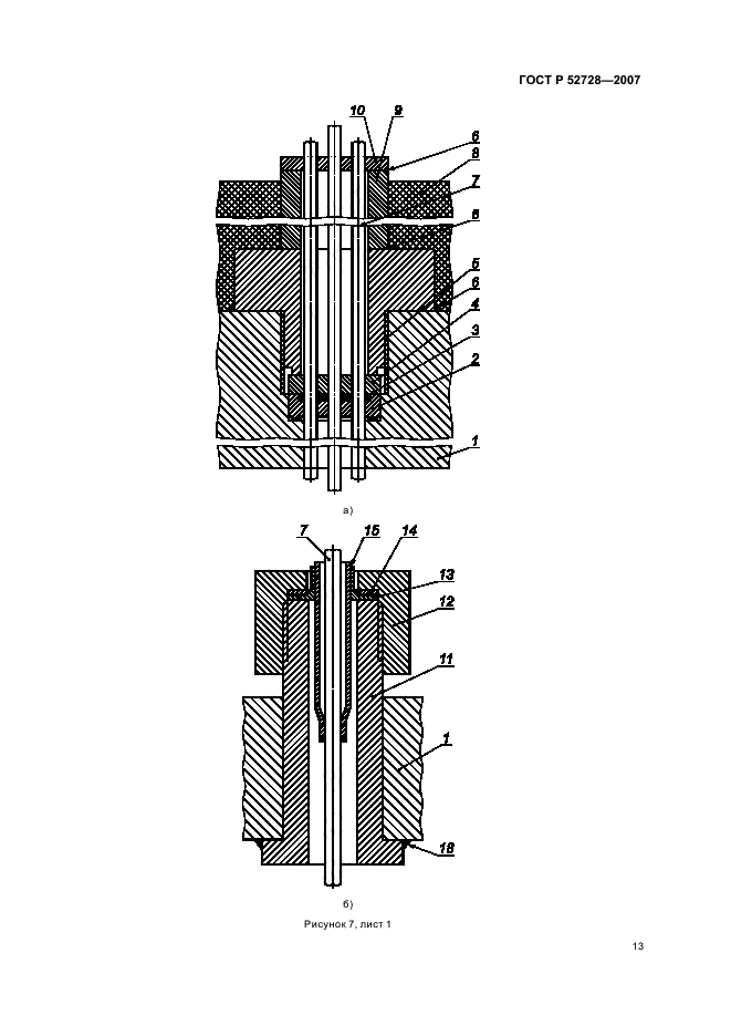
Область применения:Настоящий стандарт устанавливает основные положения метода тензотермометрических исследований напряженно-деформированного состояния элементов машиностроительного оборудования в натурных условиях, при пусконаладочных работах и в процессе эксплуатации.
Настоящий стандарт распространяется на сосуды и трубопроводы, работающие под давлением,а также на теплоэнергетическое оборудование ТЭС, эксплуатируемое при температуре не выше 450 град. С.
Настоящий стандарт допускается применять при исследованиях напряженно-деформированного состояния других видов конструкций, работающих в аналогичных условиях
ГОСТ Р 52728-2007ГОСТ Р 52728-2007ГОСТ Р 52728-2007ГОСТ Р 52728-2007ГОСТ Р 52728-2007ГОСТ Р 52728-2007ГОСТ Р 52728-2007ГОСТ Р 52728-2007ГОСТ Р 52728-2007ГОСТ Р 52728-2007ГОСТ Р 52728-2007ГОСТ Р 52728-2007ГОСТ Р 52728-2007ГОСТ Р 52728-2007ГОСТ Р 52728-2007ГОСТ Р 52728-2007ГОСТ Р 52728-2007ГОСТ Р 52728-2007ГОСТ Р 52728-2007ГОСТ Р 52728-2007
 




ГОСТЫ, СТРОИТЕЛЬНЫЕ и ТЕХНИЧЕСКИЕ НОРМАТИВЫ.
Некоммерческая онлайн система, содержащая все Российские Госты, национальные Стандарты и нормативы.
В Системе содержится более 150000 файлов нормативно-технической документации, действующей на территории РФ.
Система предназначена для широкого круга инженерно-технических специалистов.

Рейтинг@Mail.ru Яндекс цитирования

Copyright © www.gostrf.com, 2008 - 2026