Крупнейшая бесплатная информационно-справочная система онлайн доступа к полному собранию технических нормативно-правовых актов РФ. Огромная база технических нормативов (более 150 тысяч документов) и полное собрание национальных стандартов, аутентичное официальной базе Госстандарта. GOSTRF.com - это более 1 Терабайта бесплатной технической информации для всех пользователей интернета. Все электронные копии представленных здесь документов могут распространяться без каких-либо ограничений. Поощряется распространение информации с этого сайта на любых других ресурсах. Каждый человек имеет право на неограниченный доступ к этим документам! Каждый человек имеет право на знание требований, изложенных в данных нормативно-правовых актах!

  


 

ГОСТ Р 52592-2006

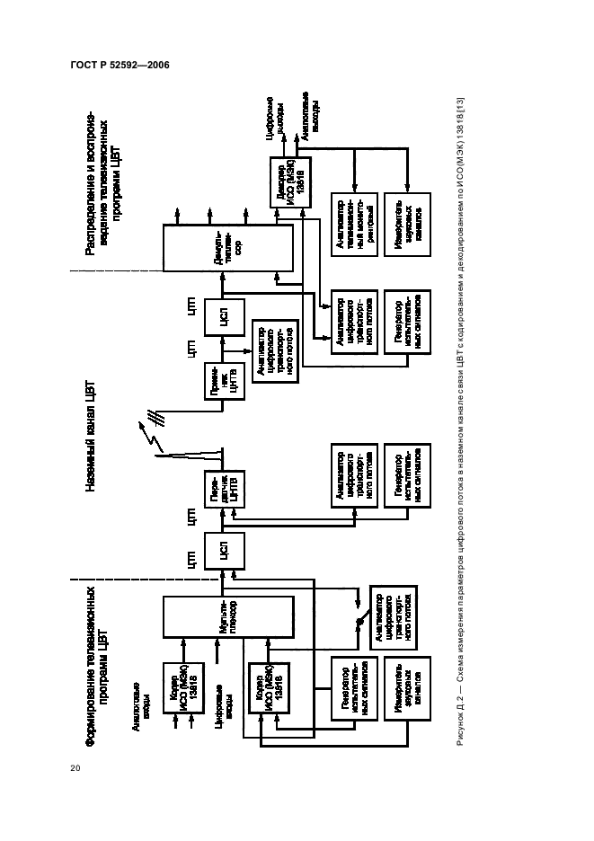
Тракт передачи сигналов цифрового вещательного телевидения. Звенья тракта и измерительные сигналы. Общие требования

Обозначение:ГОСТ Р 52592-2006
Текущий статус документа: действующий
Название документа рус.:Тракт передачи сигналов цифрового вещательного телевидения. Звенья тракта и измерительные сигналы. Общие требования
Название документа англ.:Signal channel of digital broadcast television. Channel parts and measuring signals. General requirements
Дата актуализации текста:01.12.2013
Дата издания:09.02.2007
Дата введения:01.01.2007
Дата последнего изменения:22.05.2013
Область применения:Настоящий стандарт распространяется на тракт передачи сигналов цифрового вещательного телевидения стандартной четкости и устанавливает:
- звенья тракта передачи сигналов цифрового вещательного телевидения;
- границы звеньев тракта передачи сигналов цифрового вещательного телевидения;
- виды интерфейсов тракта, его звеньев и их основные параметры;
- измерительные сигналы и их элементы для контроля основных показателей качества тракта передачи сигналов цифрового вещательного телевидения;
- основные требования к измерительным сигналам и средствам измерений.
Стандарт предназначен для использования при проведении измерений основных параметров трактов передачи сигналов цифрового вещательного телевидения стандартной четкости
ГОСТ Р 52592-2006ГОСТ Р 52592-2006ГОСТ Р 52592-2006ГОСТ Р 52592-2006ГОСТ Р 52592-2006ГОСТ Р 52592-2006ГОСТ Р 52592-2006ГОСТ Р 52592-2006ГОСТ Р 52592-2006ГОСТ Р 52592-2006ГОСТ Р 52592-2006ГОСТ Р 52592-2006ГОСТ Р 52592-2006ГОСТ Р 52592-2006ГОСТ Р 52592-2006ГОСТ Р 52592-2006ГОСТ Р 52592-2006ГОСТ Р 52592-2006ГОСТ Р 52592-2006ГОСТ Р 52592-2006ГОСТ Р 52592-2006ГОСТ Р 52592-2006ГОСТ Р 52592-2006ГОСТ Р 52592-2006ГОСТ Р 52592-2006ГОСТ Р 52592-2006ГОСТ Р 52592-2006ГОСТ Р 52592-2006ГОСТ Р 52592-2006ГОСТ Р 52592-2006ГОСТ Р 52592-2006ГОСТ Р 52592-2006
 




ГОСТЫ, СТРОИТЕЛЬНЫЕ и ТЕХНИЧЕСКИЕ НОРМАТИВЫ.
Некоммерческая онлайн система, содержащая все Российские Госты, национальные Стандарты и нормативы.
В Системе содержится более 150000 файлов нормативно-технической документации, действующей на территории РФ.
Система предназначена для широкого круга инженерно-технических специалистов.

Рейтинг@Mail.ru Яндекс цитирования

Copyright © www.gostrf.com, 2008 - 2026