Крупнейшая бесплатная информационно-справочная система онлайн доступа к полному собранию технических нормативно-правовых актов РФ. Огромная база технических нормативов (более 150 тысяч документов) и полное собрание национальных стандартов, аутентичное официальной базе Госстандарта. GOSTRF.com - это более 1 Терабайта бесплатной технической информации для всех пользователей интернета. Все электронные копии представленных здесь документов могут распространяться без каких-либо ограничений. Поощряется распространение информации с этого сайта на любых других ресурсах. Каждый человек имеет право на неограниченный доступ к этим документам! Каждый человек имеет право на знание требований, изложенных в данных нормативно-правовых актах!

  


 

ГОСТ 28759.2-90

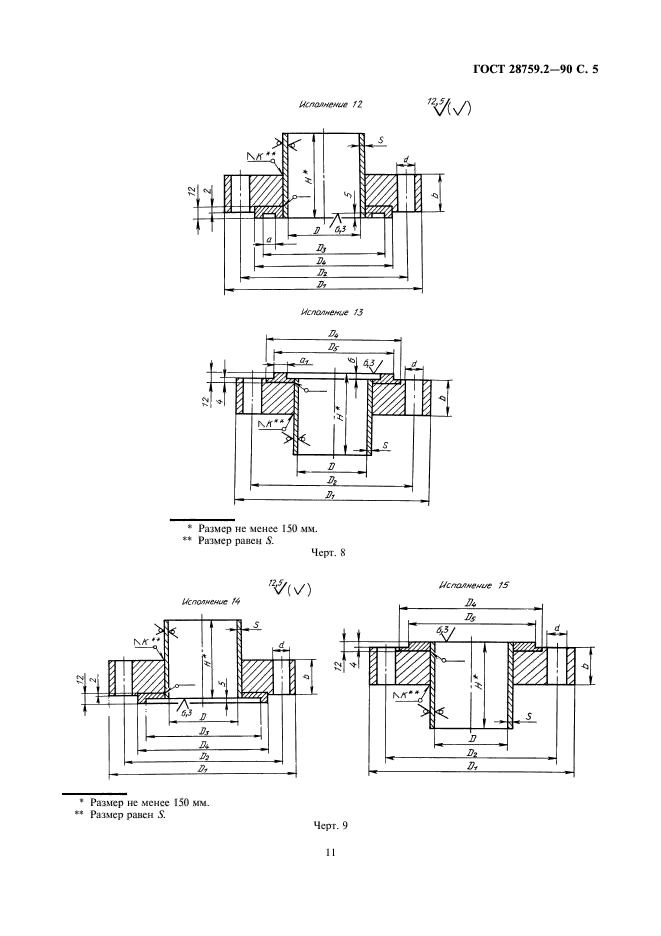
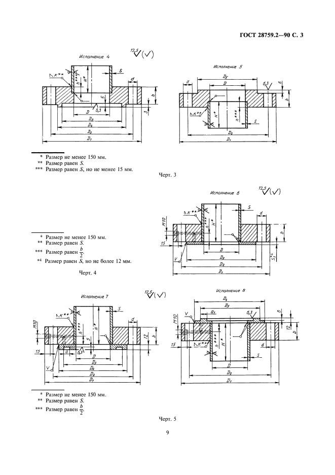
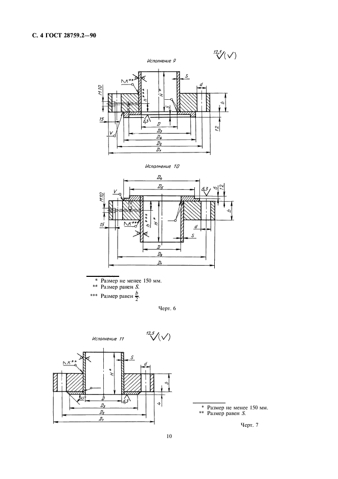
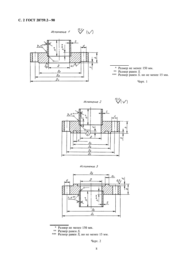
Фланцы сосудов и аппаратов стальные плоские приварные. Конструкция и размеры

Обозначение:ГОСТ 28759.2-90
Текущий статус документа: действующий
Название документа рус.:Фланцы сосудов и аппаратов стальные плоские приварные. Конструкция и размеры
Название документа англ.:Steel flat welded flanges of vessels and apparatus. Design and dimensions
Дата актуализации текста:01.12.2013
Дата издания:01.10.2005
Дата введения:01.01.1992
Дата последнего изменения:22.05.2013
Переиздание:переиздание
Взамен:ОСТ 26-426-79
Область применения:Настоящий стандарт распростаняется на стальные плоские приварные фланцы для сосудов и аппаратов диаметром от 400 до 4000 мм с условным давлением от 0,3 до 1,6 МПа при температуре рабочей среды от минус 70 град. С до плюс 300 град. С, предназначенные для работы в химической, нефтехимической, нефтеперерабатывающей и других отраслях промышленности, и направлен на обеспечение взаимозаменяемости и унификации фланцев сосудов и аппаратов
ГОСТ 28759.2-90ГОСТ 28759.2-90ГОСТ 28759.2-90ГОСТ 28759.2-90ГОСТ 28759.2-90ГОСТ 28759.2-90ГОСТ 28759.2-90ГОСТ 28759.2-90ГОСТ 28759.2-90ГОСТ 28759.2-90ГОСТ 28759.2-90ГОСТ 28759.2-90ГОСТ 28759.2-90
 




ГОСТЫ, СТРОИТЕЛЬНЫЕ и ТЕХНИЧЕСКИЕ НОРМАТИВЫ.
Некоммерческая онлайн система, содержащая все Российские Госты, национальные Стандарты и нормативы.
В Системе содержится более 150000 файлов нормативно-технической документации, действующей на территории РФ.
Система предназначена для широкого круга инженерно-технических специалистов.

Рейтинг@Mail.ru Яндекс цитирования

Copyright © www.gostrf.com, 2008 - 2026