Крупнейшая бесплатная информационно-справочная система онлайн доступа к полному собранию технических нормативно-правовых актов РФ. Огромная база технических нормативов (более 150 тысяч документов) и полное собрание национальных стандартов, аутентичное официальной базе Госстандарта. GOSTRF.com - это более 1 Терабайта бесплатной технической информации для всех пользователей интернета. Все электронные копии представленных здесь документов могут распространяться без каких-либо ограничений. Поощряется распространение информации с этого сайта на любых других ресурсах. Каждый человек имеет право на неограниченный доступ к этим документам! Каждый человек имеет право на знание требований, изложенных в данных нормативно-правовых актах!

  


 

ГОСТ 28370-89

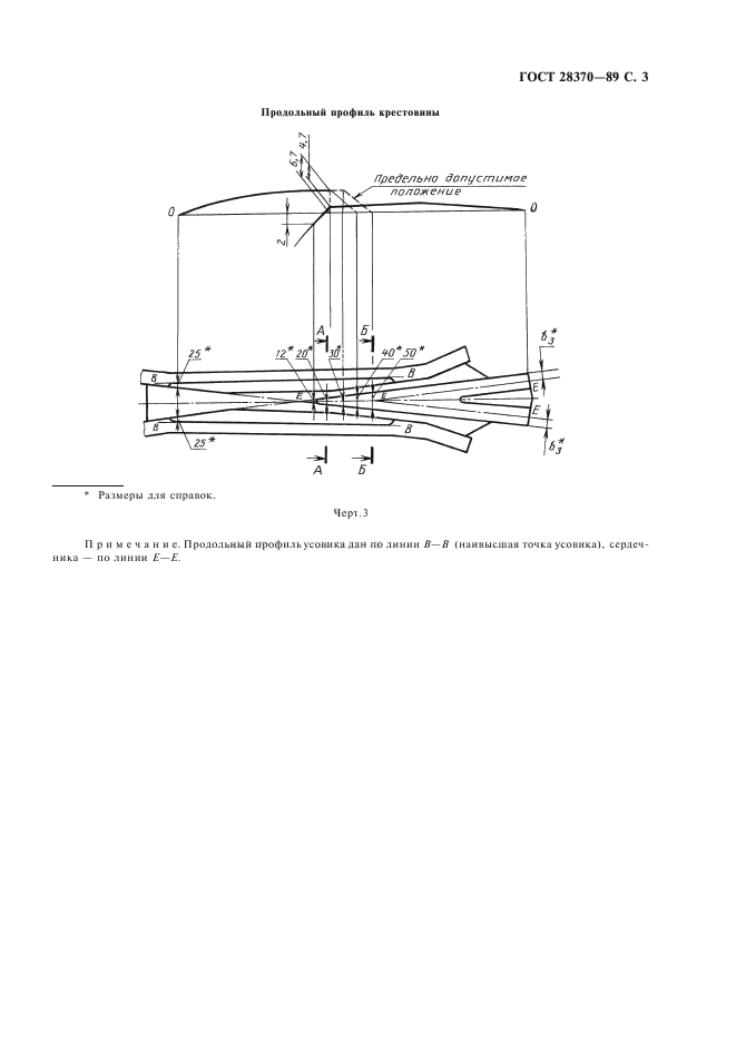
Крестовины сборные марок 1/11 и 1/9. Основные размеры

Обозначение:ГОСТ 28370-89
Текущий статус документа: действующий
Название документа рус.:Крестовины сборные марок 1/11 и 1/9. Основные размеры
Название документа англ.:Railbound frogs of 1/11 and 1/9 marks. Basic dimensions
Дата актуализации текста:01.12.2013
Дата издания:01.12.2005
Дата введения:30.06.1990
Дата последнего изменения:22.05.2013
Переиздание:переиздание с поправкой
Взамен:ОСТ 32.51-83
Область применения:Настоящий стандарт распространяется на острые крестовины стрелочных переводов марок 1/11 и 1/9 к рельсам типов Р75, Р65, Р50 с литыми сердечниками в общей отливке с наиболее изнашиваемой частью усовиков, применяемые на железных дорогах МПС СССР
ГОСТ 28370-89ГОСТ 28370-89ГОСТ 28370-89ГОСТ 28370-89ГОСТ 28370-89ГОСТ 28370-89ГОСТ 28370-89
 




ГОСТЫ, СТРОИТЕЛЬНЫЕ и ТЕХНИЧЕСКИЕ НОРМАТИВЫ.
Некоммерческая онлайн система, содержащая все Российские Госты, национальные Стандарты и нормативы.
В Системе содержится более 150000 файлов нормативно-технической документации, действующей на территории РФ.
Система предназначена для широкого круга инженерно-технических специалистов.

Рейтинг@Mail.ru Яндекс цитирования

Copyright © www.gostrf.com, 2008 - 2026