Крупнейшая бесплатная информационно-справочная система онлайн доступа к полному собранию технических нормативно-правовых актов РФ. Огромная база технических нормативов (более 150 тысяч документов) и полное собрание национальных стандартов, аутентичное официальной базе Госстандарта. GOSTRF.com - это более 1 Терабайта бесплатной технической информации для всех пользователей интернета. Все электронные копии представленных здесь документов могут распространяться без каких-либо ограничений. Поощряется распространение информации с этого сайта на любых других ресурсах. Каждый человек имеет право на неограниченный доступ к этим документам! Каждый человек имеет право на знание требований, изложенных в данных нормативно-правовых актах!

  


 

ГОСТ Р 50023-92

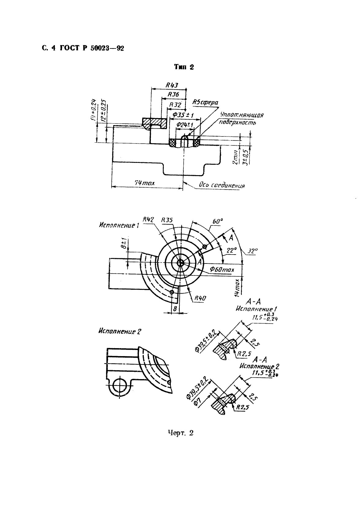
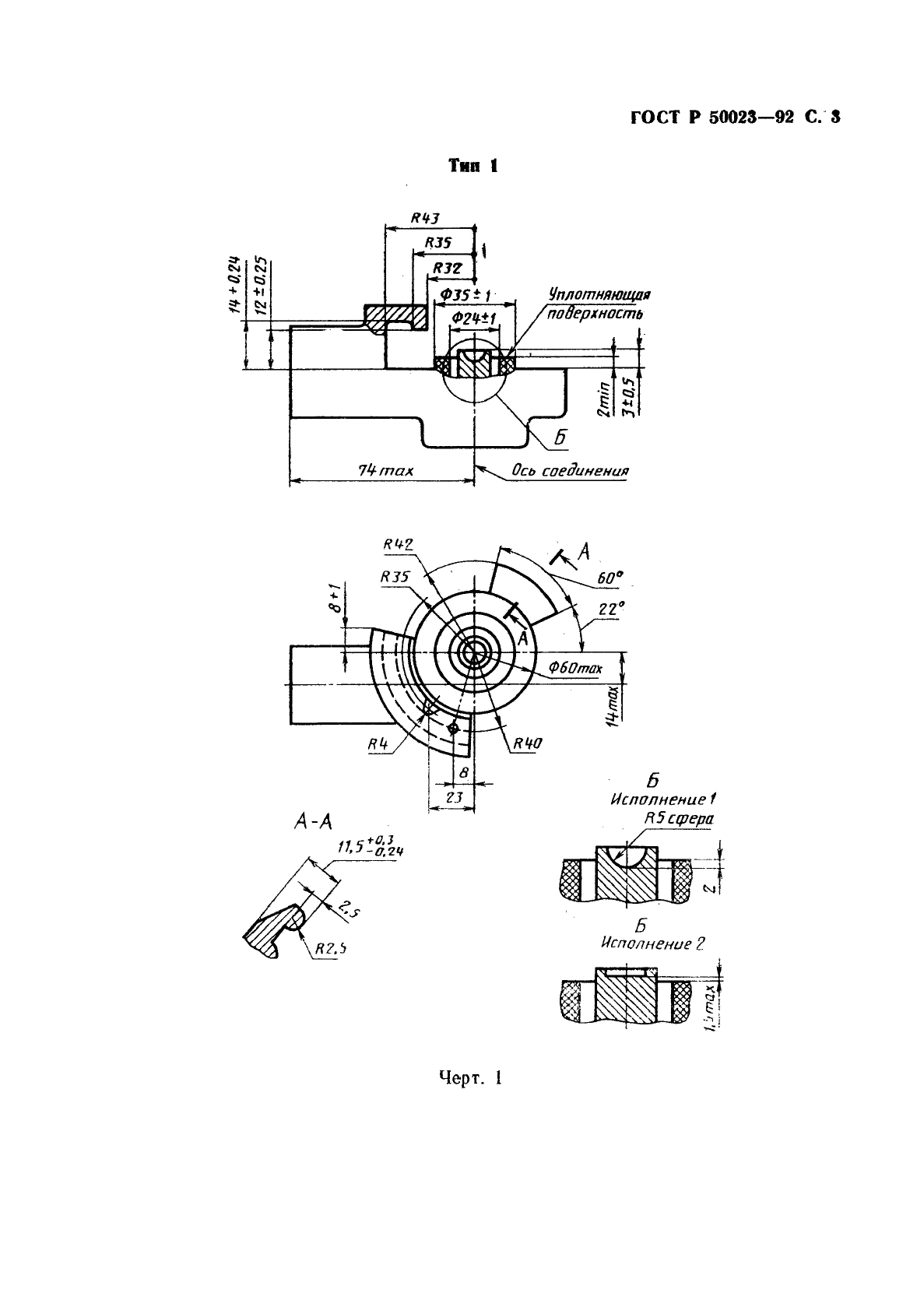
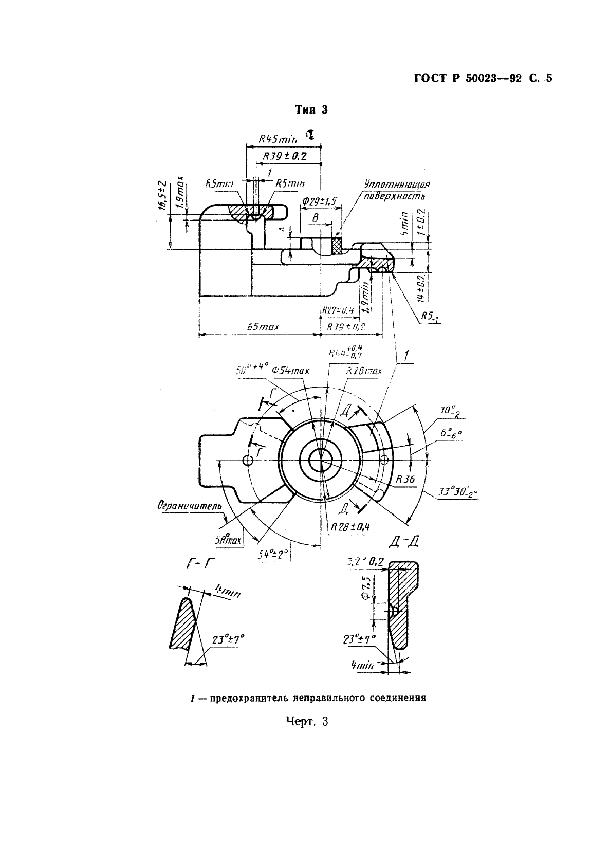
Головки соединительные пневматического привода тормозных систем. Типы, основные размеры. Общие технические требования и методы испытаний

Обозначение:ГОСТ Р 50023-92
Текущий статус документа: действующий
Название документа рус.:Головки соединительные пневматического привода тормозных систем. Типы, основные размеры. Общие технические требования и методы испытаний
Название документа англ.:Coupling heads of pneumatic transmission of braking systems. Types, basic dimensions. General technical requirements and test methods
Дата актуализации текста:01.12.2013
Дата издания:01.07.1994
Дата введения:01.01.1993
Дата последнего изменения:22.05.2013
Переиздание:переиздание
Область применения:Настоящий стандарт распространяется на соединительные головки, предназначенные для соединения однопроводных и двухпроводных приводов тормозных систем автомобилей и тракторов с приводами тормозных систем прицепов, полуприцепов и прицепных сельскохозяйственных машин, а также для соединения тормозных систем звеньев автопоездов и тракторных поездов, и устанавливает типы головок, основные присоединительные размеры, необходимые для обеспечения их соединения, технические требования и методы испытаний
ГОСТ Р 50023-92ГОСТ Р 50023-92ГОСТ Р 50023-92ГОСТ Р 50023-92ГОСТ Р 50023-92ГОСТ Р 50023-92ГОСТ Р 50023-92ГОСТ Р 50023-92ГОСТ Р 50023-92ГОСТ Р 50023-92ГОСТ Р 50023-92
 




ГОСТЫ, СТРОИТЕЛЬНЫЕ и ТЕХНИЧЕСКИЕ НОРМАТИВЫ.
Некоммерческая онлайн система, содержащая все Российские Госты, национальные Стандарты и нормативы.
В Системе содержится более 150000 файлов нормативно-технической документации, действующей на территории РФ.
Система предназначена для широкого круга инженерно-технических специалистов.

Рейтинг@Mail.ru Яндекс цитирования

Copyright © www.gostrf.com, 2008 - 2026