Крупнейшая бесплатная информационно-справочная система онлайн доступа к полному собранию технических нормативно-правовых актов РФ. Огромная база технических нормативов (более 150 тысяч документов) и полное собрание национальных стандартов, аутентичное официальной базе Госстандарта. GOSTRF.com - это более 1 Терабайта бесплатной технической информации для всех пользователей интернета. Все электронные копии представленных здесь документов могут распространяться без каких-либо ограничений. Поощряется распространение информации с этого сайта на любых других ресурсах. Каждый человек имеет право на неограниченный доступ к этим документам! Каждый человек имеет право на знание требований, изложенных в данных нормативно-правовых актах!

  


 

ГОСТ 6689.10-92

Никель, сплавы никелевые и медно-никелевые. Методы определения углерода

Обозначение:ГОСТ 6689.10-92
Текущий статус документа: действующий
Название документа рус.:Никель, сплавы никелевые и медно-никелевые. Методы определения углерода
Название документа англ.:Nickel, nickel and copper-nickel alloys. Methods for the determination of carbon
Дата актуализации текста:01.12.2013
Дата издания:12.08.1992
Дата введения:01.01.1993
Дата последнего изменения:22.05.2013
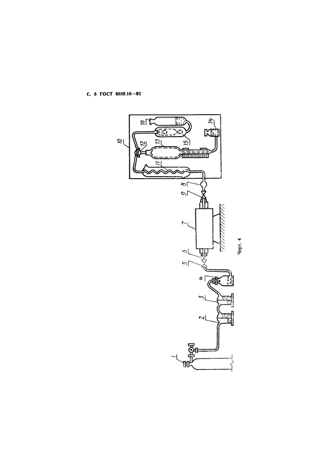
Область применения:Настоящий стандарт устанавливает потенциометрический (при массовой доле углерода от 0,002 до 0,3%), волюмометрический (при массовой доле углерода от 0,01 до 0,3%) методы и метод с применением автоматических и полуавтоматических анализаторов (при массовой доле углерода от 0,002 до 0,3%) для определения углерода в никелевых и медно-никелевых сплавах
ГОСТ 6689.10-92ГОСТ 6689.10-92ГОСТ 6689.10-92ГОСТ 6689.10-92ГОСТ 6689.10-92ГОСТ 6689.10-92ГОСТ 6689.10-92ГОСТ 6689.10-92ГОСТ 6689.10-92ГОСТ 6689.10-92ГОСТ 6689.10-92ГОСТ 6689.10-92ГОСТ 6689.10-92ГОСТ 6689.10-92ГОСТ 6689.10-92
 




ГОСТЫ, СТРОИТЕЛЬНЫЕ и ТЕХНИЧЕСКИЕ НОРМАТИВЫ.
Некоммерческая онлайн система, содержащая все Российские Госты, национальные Стандарты и нормативы.
В Системе содержится более 150000 файлов нормативно-технической документации, действующей на территории РФ.
Система предназначена для широкого круга инженерно-технических специалистов.

Рейтинг@Mail.ru Яндекс цитирования

Copyright © www.gostrf.com, 2008 - 2026