Крупнейшая бесплатная информационно-справочная система онлайн доступа к полному собранию технических нормативно-правовых актов РФ. Огромная база технических нормативов (более 150 тысяч документов) и полное собрание национальных стандартов, аутентичное официальной базе Госстандарта. GOSTRF.com - это более 1 Терабайта бесплатной технической информации для всех пользователей интернета. Все электронные копии представленных здесь документов могут распространяться без каких-либо ограничений. Поощряется распространение информации с этого сайта на любых других ресурсах. Каждый человек имеет право на неограниченный доступ к этим документам! Каждый человек имеет право на знание требований, изложенных в данных нормативно-правовых актах!

  


 

ГОСТ 27468-92

Оборудование тепломассобменное стационарных дистилляционных опреснительных установок. Общие технические требования

Обозначение:ГОСТ 27468-92
Текущий статус документа: действующий
Название документа рус.:Оборудование тепломассобменное стационарных дистилляционных опреснительных установок. Общие технические требования
Название документа англ.:Heat and mass exchange equipment of stationary distillation desalting plants. Specifications
Дата актуализации текста:01.12.2013
Дата издания:14.07.1992
Дата введения:01.01.1993
Дата последнего изменения:22.05.2013
Взамен: ОСТ 95 10094-85 ОСТ 95 10144-85 ОСТ 95 10254-86
Область применения:Настоящий стандарт распространяется на тепломассообменное оборудование стационарных дистилляционных опреснительных установок (ДОУ), предназначенных для производства пресной воды и дистиллята из природных и сточных вод.
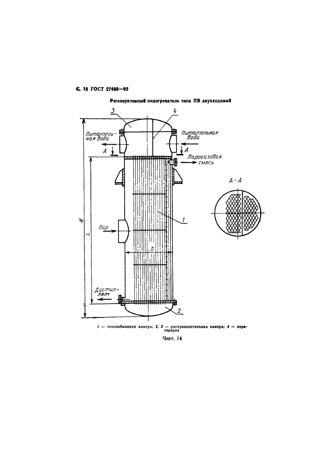
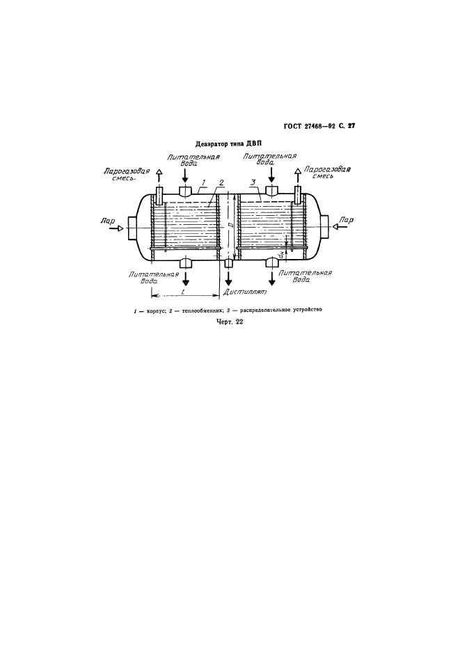
Стандарт устанавливает общие технические требования к испарителям, регенеративным подогревателям и вакуумным деаэраторам питательной воды, охладителям дистиллята и конденсаторам вторичного пара.
Стандарт не распространяется на испарители, включаемые в состав энергоблоков тепловых и атомных электрических станций, а также на испарители ДОУ, размещаемые на морских судах и других транспортных средствах
ГОСТ 27468-92ГОСТ 27468-92ГОСТ 27468-92ГОСТ 27468-92ГОСТ 27468-92ГОСТ 27468-92ГОСТ 27468-92ГОСТ 27468-92ГОСТ 27468-92ГОСТ 27468-92ГОСТ 27468-92ГОСТ 27468-92ГОСТ 27468-92ГОСТ 27468-92ГОСТ 27468-92ГОСТ 27468-92ГОСТ 27468-92ГОСТ 27468-92ГОСТ 27468-92ГОСТ 27468-92ГОСТ 27468-92ГОСТ 27468-92ГОСТ 27468-92ГОСТ 27468-92ГОСТ 27468-92ГОСТ 27468-92ГОСТ 27468-92ГОСТ 27468-92ГОСТ 27468-92ГОСТ 27468-92ГОСТ 27468-92ГОСТ 27468-92ГОСТ 27468-92ГОСТ 27468-92ГОСТ 27468-92ГОСТ 27468-92ГОСТ 27468-92ГОСТ 27468-92ГОСТ 27468-92ГОСТ 27468-92ГОСТ 27468-92ГОСТ 27468-92ГОСТ 27468-92ГОСТ 27468-92ГОСТ 27468-92ГОСТ 27468-92ГОСТ 27468-92ГОСТ 27468-92ГОСТ 27468-92ГОСТ 27468-92ГОСТ 27468-92ГОСТ 27468-92ГОСТ 27468-92ГОСТ 27468-92ГОСТ 27468-92ГОСТ 27468-92ГОСТ 27468-92ГОСТ 27468-92ГОСТ 27468-92ГОСТ 27468-92ГОСТ 27468-92ГОСТ 27468-92ГОСТ 27468-92ГОСТ 27468-92ГОСТ 27468-92ГОСТ 27468-92ГОСТ 27468-92ГОСТ 27468-92ГОСТ 27468-92ГОСТ 27468-92ГОСТ 27468-92ГОСТ 27468-92ГОСТ 27468-92ГОСТ 27468-92ГОСТ 27468-92ГОСТ 27468-92ГОСТ 27468-92ГОСТ 27468-92ГОСТ 27468-92ГОСТ 27468-92ГОСТ 27468-92ГОСТ 27468-92ГОСТ 27468-92ГОСТ 27468-92ГОСТ 27468-92ГОСТ 27468-92ГОСТ 27468-92ГОСТ 27468-92ГОСТ 27468-92ГОСТ 27468-92ГОСТ 27468-92ГОСТ 27468-92ГОСТ 27468-92
 




ГОСТЫ, СТРОИТЕЛЬНЫЕ и ТЕХНИЧЕСКИЕ НОРМАТИВЫ.
Некоммерческая онлайн система, содержащая все Российские Госты, национальные Стандарты и нормативы.
В Системе содержится более 150000 файлов нормативно-технической документации, действующей на территории РФ.
Система предназначена для широкого круга инженерно-технических специалистов.

Рейтинг@Mail.ru Яндекс цитирования

Copyright © www.gostrf.com, 2008 - 2026