Крупнейшая бесплатная информационно-справочная система онлайн доступа к полному собранию технических нормативно-правовых актов РФ. Огромная база технических нормативов (более 150 тысяч документов) и полное собрание национальных стандартов, аутентичное официальной базе Госстандарта. GOSTRF.com - это более 1 Терабайта бесплатной технической информации для всех пользователей интернета. Все электронные копии представленных здесь документов могут распространяться без каких-либо ограничений. Поощряется распространение информации с этого сайта на любых других ресурсах. Каждый человек имеет право на неограниченный доступ к этим документам! Каждый человек имеет право на знание требований, изложенных в данных нормативно-правовых актах!

  


 

ГОСТ 22254-92

Топливо дизельное. Метод определения предельной температуры фильтруемости на холодном фильтре

Обозначение:ГОСТ 22254-92
Текущий статус документа: действующий
Название документа рус.:Топливо дизельное. Метод определения предельной температуры фильтруемости на холодном фильтре
Название документа англ.:Diesel fuels. Cold filter method for determination of lowest filtering temperature
Дата актуализации текста:01.12.2013
Дата издания:13.04.1992
Дата введения:01.01.1993
Дата последнего изменения:22.05.2013
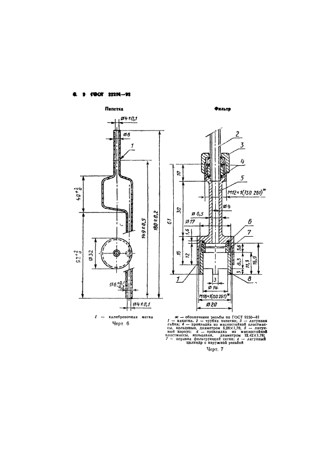
Область применения:Настоящий стандарт устанавливает метод определения предельной температуры фильтруемости на холодном фильтре дизельных и бытовых печных топлив, предназначенных для народного хозяйства и для экспорта
Метод распространяется на дизельные топлива без присадок и с присадками, а также на топлива, применяемые в домашних отопительных системах
ГОСТ 22254-92ГОСТ 22254-92ГОСТ 22254-92ГОСТ 22254-92ГОСТ 22254-92ГОСТ 22254-92ГОСТ 22254-92ГОСТ 22254-92ГОСТ 22254-92ГОСТ 22254-92ГОСТ 22254-92ГОСТ 22254-92ГОСТ 22254-92ГОСТ 22254-92ГОСТ 22254-92ГОСТ 22254-92
 




ГОСТЫ, СТРОИТЕЛЬНЫЕ и ТЕХНИЧЕСКИЕ НОРМАТИВЫ.
Некоммерческая онлайн система, содержащая все Российские Госты, национальные Стандарты и нормативы.
В Системе содержится более 150000 файлов нормативно-технической документации, действующей на территории РФ.
Система предназначена для широкого круга инженерно-технических специалистов.

Рейтинг@Mail.ru Яндекс цитирования

Copyright © www.gostrf.com, 2008 - 2026