Крупнейшая бесплатная информационно-справочная система онлайн доступа к полному собранию технических нормативно-правовых актов РФ. Огромная база технических нормативов (более 150 тысяч документов) и полное собрание национальных стандартов, аутентичное официальной базе Госстандарта. GOSTRF.com - это более 1 Терабайта бесплатной технической информации для всех пользователей интернета. Все электронные копии представленных здесь документов могут распространяться без каких-либо ограничений. Поощряется распространение информации с этого сайта на любых других ресурсах. Каждый человек имеет право на неограниченный доступ к этим документам! Каждый человек имеет право на знание требований, изложенных в данных нормативно-правовых актах!

  


 

ГОСТ 29113-91

Комбикорма, белково-витаминные добавки, карбамидный концентрат. Методы определения массовой доли карбамида

Обозначение:ГОСТ 29113-91
Текущий статус документа: действующий
Название документа рус.:Комбикорма, белково-витаминные добавки, карбамидный концентрат. Методы определения массовой доли карбамида
Название документа англ.:Mixed fooders, feeds protein and vitamin supplements, carbamide concentrate. Methods of determining carbamide mass portion
Дата актуализации текста:01.12.2013
Дата издания:01.03.2004
Дата введения:01.01.1993
Дата последнего изменения:22.05.2013
Переиздание:переиздание
Взамен:ОСТ 8-22-81
Область применения:Настоящий стандарт распространяется на комбикорма, белково-витаминные добавки, содержащие карбамид, карбамидный концентрат и устанавливает методы определения массовой доли карбамида
Список изменений:№0 от 16.06.2005 (рег. 16.06.2005) «Дата введения перенесена»
Приложение №1:Поправка к ГОСТ 29113-91
ГОСТ 29113-91ГОСТ 29113-91ГОСТ 29113-91ГОСТ 29113-91ГОСТ 29113-91ГОСТ 29113-91ГОСТ 29113-91ГОСТ 29113-91

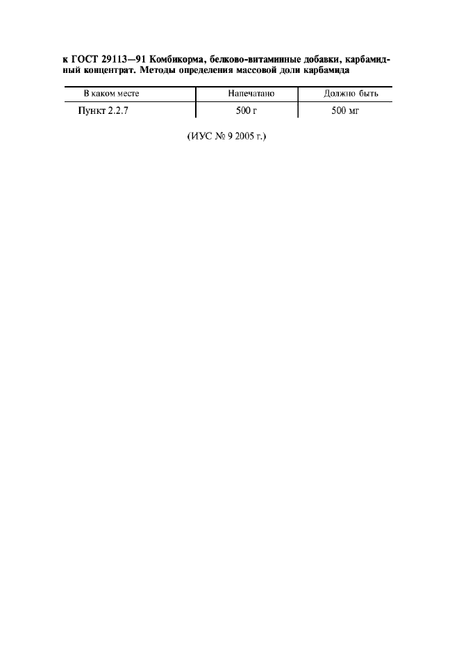
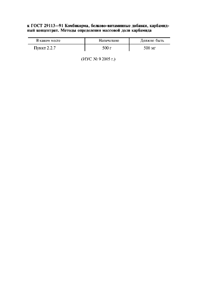
Поправка к ГОСТ 29113-91

Обозначение:Поправка к ГОСТ 29113-91
Дата введения:16.06.2005


Поправка к ГОСТ 29113-91
 




ГОСТЫ, СТРОИТЕЛЬНЫЕ и ТЕХНИЧЕСКИЕ НОРМАТИВЫ.
Некоммерческая онлайн система, содержащая все Российские Госты, национальные Стандарты и нормативы.
В Системе содержится более 150000 файлов нормативно-технической документации, действующей на территории РФ.
Система предназначена для широкого круга инженерно-технических специалистов.

Рейтинг@Mail.ru Яндекс цитирования

Copyright © www.gostrf.com, 2008 - 2026