Крупнейшая бесплатная информационно-справочная система онлайн доступа к полному собранию технических нормативно-правовых актов РФ. Огромная база технических нормативов (более 150 тысяч документов) и полное собрание национальных стандартов, аутентичное официальной базе Госстандарта. GOSTRF.com - это более 1 Терабайта бесплатной технической информации для всех пользователей интернета. Все электронные копии представленных здесь документов могут распространяться без каких-либо ограничений. Поощряется распространение информации с этого сайта на любых других ресурсах. Каждый человек имеет право на неограниченный доступ к этим документам! Каждый человек имеет право на знание требований, изложенных в данных нормативно-правовых актах!

  


 

ГОСТ 34.402-91

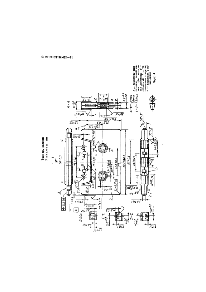
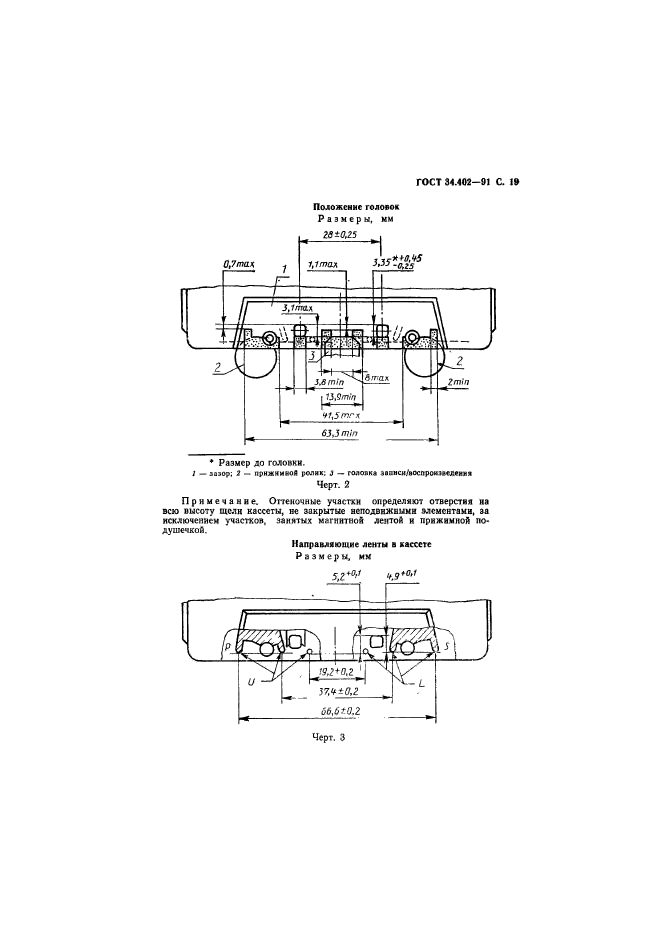
Информационная технология. Обмен информацией на кассете с магнитной лентой шириной 3,81 мм (0,15 дюйма) с плотностью записи 4 символа/мм (100 символов/дюйм) способом фазового кодирования при 63 переходах потоков/мм (1600 переходов потока/дюйм)

Обозначение:ГОСТ 34.402-91
Текущий статус документа: действующий
Название документа рус.:Информационная технология. Обмен информацией на кассете с магнитной лентой шириной 3,81 мм (0,15 дюйма) с плотностью записи 4 символа/мм (100 символов/дюйм) способом фазового кодирования при 63 переходах потоков/мм (1600 переходов потока/дюйм)
Название документа англ.:Information technology. Information interchange on 3,81 mm (0,15 in) magnetic tape cassete at 4 cpmm (100 cpI) phase encoded 63 ftpmm (1600 ftpI)
Дата актуализации текста:01.12.2013
Дата издания:01.03.1992
Дата введения:01.01.1993
Дата последнего изменения:25.11.2013
Область применения:Настоящий стандарт распространяется на кассеты с магнитной лентой шириной 3,81 мм (0,15 дюйма), предназначенные для обмена информацией между системами обработки информации, использующими 7-битный кодированный набор символов, и устанавливает требования, обеспечивающие обмен информацией и физическую взаимозаменяемость между этими системами
ГОСТ 34.402-91ГОСТ 34.402-91ГОСТ 34.402-91ГОСТ 34.402-91ГОСТ 34.402-91ГОСТ 34.402-91ГОСТ 34.402-91ГОСТ 34.402-91ГОСТ 34.402-91ГОСТ 34.402-91ГОСТ 34.402-91ГОСТ 34.402-91ГОСТ 34.402-91ГОСТ 34.402-91ГОСТ 34.402-91ГОСТ 34.402-91ГОСТ 34.402-91ГОСТ 34.402-91ГОСТ 34.402-91ГОСТ 34.402-91ГОСТ 34.402-91ГОСТ 34.402-91ГОСТ 34.402-91ГОСТ 34.402-91ГОСТ 34.402-91ГОСТ 34.402-91ГОСТ 34.402-91ГОСТ 34.402-91ГОСТ 34.402-91ГОСТ 34.402-91ГОСТ 34.402-91ГОСТ 34.402-91ГОСТ 34.402-91ГОСТ 34.402-91ГОСТ 34.402-91
 




ГОСТЫ, СТРОИТЕЛЬНЫЕ и ТЕХНИЧЕСКИЕ НОРМАТИВЫ.
Некоммерческая онлайн система, содержащая все Российские Госты, национальные Стандарты и нормативы.
В Системе содержится более 150000 файлов нормативно-технической документации, действующей на территории РФ.
Система предназначена для широкого круга инженерно-технических специалистов.

Рейтинг@Mail.ru Яндекс цитирования

Copyright © www.gostrf.com, 2008 - 2026