Крупнейшая бесплатная информационно-справочная система онлайн доступа к полному собранию технических нормативно-правовых актов РФ. Огромная база технических нормативов (более 150 тысяч документов) и полное собрание национальных стандартов, аутентичное официальной базе Госстандарта. GOSTRF.com - это более 1 Терабайта бесплатной технической информации для всех пользователей интернета. Все электронные копии представленных здесь документов могут распространяться без каких-либо ограничений. Поощряется распространение информации с этого сайта на любых других ресурсах. Каждый человек имеет право на неограниченный доступ к этим документам! Каждый человек имеет право на знание требований, изложенных в данных нормативно-правовых актах!

  


 

ГОСТ 28771-90

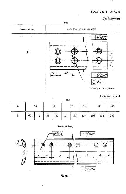
Машины землеройные. Тракторы с бульдозерным оборудованием, автогрейдеры, самоходные скреперы. Ножи. Основные формы и размеры

Обозначение:ГОСТ 28771-90
Текущий статус документа: действующий
Название документа рус.:Машины землеройные. Тракторы с бульдозерным оборудованием, автогрейдеры, самоходные скреперы. Ножи. Основные формы и размеры
Название документа англ.:Earth moving machinery. Tractors with dozer, graders, tractor scrapers. Cutting edges. Principal shapes and basic dimensions
Дата актуализации текста:01.12.2013
Дата издания:15.02.1991
Дата введения:01.01.1992
Дата последнего изменения:22.05.2013
Область применения:Стандарт устанавливает основные формы и размеры поперечного сечения ножей, а также расположение, формы и размеры отверстий под болты крепления ножей, используемых для тракторов с бульдозерным оборудованием, автогрейдеров и самоходных скреперов по ГОСТ 28764 с учетом их взаимозаменяемости
ГОСТ 28771-90ГОСТ 28771-90ГОСТ 28771-90ГОСТ 28771-90ГОСТ 28771-90ГОСТ 28771-90ГОСТ 28771-90ГОСТ 28771-90ГОСТ 28771-90ГОСТ 28771-90ГОСТ 28771-90ГОСТ 28771-90ГОСТ 28771-90ГОСТ 28771-90ГОСТ 28771-90
 




ГОСТЫ, СТРОИТЕЛЬНЫЕ и ТЕХНИЧЕСКИЕ НОРМАТИВЫ.
Некоммерческая онлайн система, содержащая все Российские Госты, национальные Стандарты и нормативы.
В Системе содержится более 150000 файлов нормативно-технической документации, действующей на территории РФ.
Система предназначена для широкого круга инженерно-технических специалистов.

Рейтинг@Mail.ru Яндекс цитирования

Copyright © www.gostrf.com, 2008 - 2026