Крупнейшая бесплатная информационно-справочная система онлайн доступа к полному собранию технических нормативно-правовых актов РФ. Огромная база технических нормативов (более 150 тысяч документов) и полное собрание национальных стандартов, аутентичное официальной базе Госстандарта. GOSTRF.com - это более 1 Терабайта бесплатной технической информации для всех пользователей интернета. Все электронные копии представленных здесь документов могут распространяться без каких-либо ограничений. Поощряется распространение информации с этого сайта на любых других ресурсах. Каждый человек имеет право на неограниченный доступ к этим документам! Каждый человек имеет право на знание требований, изложенных в данных нормативно-правовых актах!

  


 

ГОСТ 28715-90

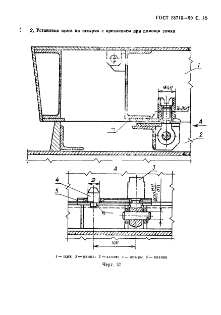
Формы стальные для изготовления железобетонных изделий. Проемообразователи и вкладыши. Конструкция

Обозначение:ГОСТ 28715-90
Текущий статус документа: действующий
Название документа рус.:Формы стальные для изготовления железобетонных изделий. Проемообразователи и вкладыши. Конструкция
Название документа англ.:Steel monlds for reinforced concrete members. Elements forming openings and recesses. Design
Дата актуализации текста:01.12.2013
Дата издания:20.03.1991
Дата введения:01.01.1991
Дата последнего изменения:22.05.2013
Область применения:Настоящий стандарт распространяется на сварные проемообразователи и вкладыши стальных форм для изготовления железобетонных изделий по ГОСТ 25781 и элементы их крепления к форме и устанавливает требования к конструкции основных стандартизируемых сборочных единиц и деталей.
Стандарт не распространяется на проемообразователи и вкладыши, изготовляемые из стальных, чугунных и алюминиевых отливок и полимерных материалов, на устройства, образующие в изделии каналы для электропроводки, и злементы архитектурного назначения
ГОСТ 28715-90ГОСТ 28715-90ГОСТ 28715-90ГОСТ 28715-90ГОСТ 28715-90ГОСТ 28715-90ГОСТ 28715-90ГОСТ 28715-90ГОСТ 28715-90ГОСТ 28715-90ГОСТ 28715-90ГОСТ 28715-90ГОСТ 28715-90ГОСТ 28715-90ГОСТ 28715-90ГОСТ 28715-90ГОСТ 28715-90ГОСТ 28715-90ГОСТ 28715-90ГОСТ 28715-90
 




ГОСТЫ, СТРОИТЕЛЬНЫЕ и ТЕХНИЧЕСКИЕ НОРМАТИВЫ.
Некоммерческая онлайн система, содержащая все Российские Госты, национальные Стандарты и нормативы.
В Системе содержится более 150000 файлов нормативно-технической документации, действующей на территории РФ.
Система предназначена для широкого круга инженерно-технических специалистов.

Рейтинг@Mail.ru Яндекс цитирования

Copyright © www.gostrf.com, 2008 - 2026