Крупнейшая бесплатная информационно-справочная система онлайн доступа к полному собранию технических нормативно-правовых актов РФ. Огромная база технических нормативов (более 150 тысяч документов) и полное собрание национальных стандартов, аутентичное официальной базе Госстандарта. GOSTRF.com - это более 1 Терабайта бесплатной технической информации для всех пользователей интернета. Все электронные копии представленных здесь документов могут распространяться без каких-либо ограничений. Поощряется распространение информации с этого сайта на любых других ресурсах. Каждый человек имеет право на неограниченный доступ к этим документам! Каждый человек имеет право на знание требований, изложенных в данных нормативно-правовых актах!

  


 

ГОСТ 28712-90

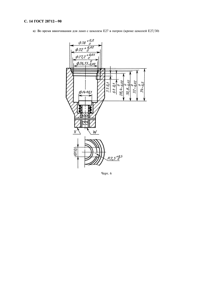
Лампы накаливания для бытового и аналогичного общего освещения. Требования безопасности

Обозначение:ГОСТ 28712-90
Текущий статус документа: утратил силу в РФ
Название документа рус.:Лампы накаливания для бытового и аналогичного общего освещения. Требования безопасности
Название документа англ.:Tungsten filament lamps for domestic and similar general lighting purposes. Safety requirements
Дата актуализации текста:01.12.2013
Дата издания:01.06.2005
Дата введения:01.01.1995
Дата последнего изменения:22.05.2013
Дата окончания срока действия:01.01.2009
Переиздание:переиздание
Область применения:Настоящий стандарт устанавливает требования безопасности и взаимозаменяемости для ламп накаливания бытового и аналогичного общего освещения
Список изменений:№0 от 01.01.2009 (рег. 25.12.2008) «Поправка к изменению»
ГОСТ 28712-90ГОСТ 28712-90ГОСТ 28712-90ГОСТ 28712-90ГОСТ 28712-90ГОСТ 28712-90ГОСТ 28712-90ГОСТ 28712-90ГОСТ 28712-90ГОСТ 28712-90ГОСТ 28712-90ГОСТ 28712-90ГОСТ 28712-90ГОСТ 28712-90ГОСТ 28712-90ГОСТ 28712-90ГОСТ 28712-90ГОСТ 28712-90ГОСТ 28712-90ГОСТ 28712-90ГОСТ 28712-90ГОСТ 28712-90ГОСТ 28712-90ГОСТ 28712-90ГОСТ 28712-90ГОСТ 28712-90ГОСТ 28712-90ГОСТ 28712-90ГОСТ 28712-90ГОСТ 28712-90
 




ГОСТЫ, СТРОИТЕЛЬНЫЕ и ТЕХНИЧЕСКИЕ НОРМАТИВЫ.
Некоммерческая онлайн система, содержащая все Российские Госты, национальные Стандарты и нормативы.
В Системе содержится более 150000 файлов нормативно-технической документации, действующей на территории РФ.
Система предназначена для широкого круга инженерно-технических специалистов.

Рейтинг@Mail.ru Яндекс цитирования

Copyright © www.gostrf.com, 2008 - 2026