Крупнейшая бесплатная информационно-справочная система онлайн доступа к полному собранию технических нормативно-правовых актов РФ. Огромная база технических нормативов (более 150 тысяч документов) и полное собрание национальных стандартов, аутентичное официальной базе Госстандарта. GOSTRF.com - это более 1 Терабайта бесплатной технической информации для всех пользователей интернета. Все электронные копии представленных здесь документов могут распространяться без каких-либо ограничений. Поощряется распространение информации с этого сайта на любых других ресурсах. Каждый человек имеет право на неограниченный доступ к этим документам! Каждый человек имеет право на знание требований, изложенных в данных нормативно-правовых актах!

  


 

ГОСТ 12.4.159-90

Система стандартов безопасности труда. Средства индивидуальной защиты органов дыхания фильтрующие. Методы определения времени защитного действия фильтрующе-поглощающих коробок по газообразным вредным веществам

Обозначение:ГОСТ 12.4.159-90
Текущий статус документа: действующий
Название документа рус.:Система стандартов безопасности труда. Средства индивидуальной защиты органов дыхания фильтрующие. Методы определения времени защитного действия фильтрующе-поглощающих коробок по газообразным вредным веществам
Название документа англ.:Occupational safety standards system. Means for individual protection of breathing organs. Methods of testing all-service canisters protection time against noxious gaseous contaminants
Дата актуализации текста:01.12.2013
Дата издания:03.10.1990
Дата введения:01.01.1991
Дата последнего изменения:22.05.2013
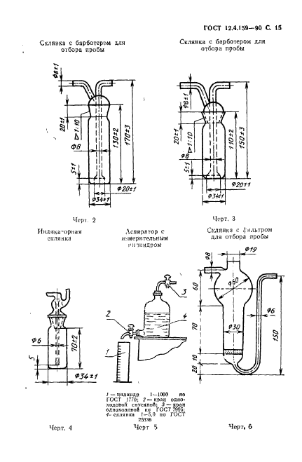
Область применения:Настоящий стандарт распространяется на промышленные фильтрующие средства индивидуальной защиты органов дыхания и устанавливает методв определения времени защитного действия фильтрующе-поглащающих коробок по газообразным вредным веществам: гидриду серы, диоксиду серы, аммиаку, гидриду мышьяка
ГОСТ 12.4.159-90ГОСТ 12.4.159-90ГОСТ 12.4.159-90ГОСТ 12.4.159-90ГОСТ 12.4.159-90ГОСТ 12.4.159-90ГОСТ 12.4.159-90ГОСТ 12.4.159-90ГОСТ 12.4.159-90ГОСТ 12.4.159-90ГОСТ 12.4.159-90ГОСТ 12.4.159-90ГОСТ 12.4.159-90ГОСТ 12.4.159-90ГОСТ 12.4.159-90ГОСТ 12.4.159-90ГОСТ 12.4.159-90ГОСТ 12.4.159-90ГОСТ 12.4.159-90ГОСТ 12.4.159-90ГОСТ 12.4.159-90ГОСТ 12.4.159-90
 




ГОСТЫ, СТРОИТЕЛЬНЫЕ и ТЕХНИЧЕСКИЕ НОРМАТИВЫ.
Некоммерческая онлайн система, содержащая все Российские Госты, национальные Стандарты и нормативы.
В Системе содержится более 150000 файлов нормативно-технической документации, действующей на территории РФ.
Система предназначена для широкого круга инженерно-технических специалистов.

Рейтинг@Mail.ru Яндекс цитирования

Copyright © www.gostrf.com, 2008 - 2026