Крупнейшая бесплатная информационно-справочная система онлайн доступа к полному собранию технических нормативно-правовых актов РФ. Огромная база технических нормативов (более 150 тысяч документов) и полное собрание национальных стандартов, аутентичное официальной базе Госстандарта. GOSTRF.com - это более 1 Терабайта бесплатной технической информации для всех пользователей интернета. Все электронные копии представленных здесь документов могут распространяться без каких-либо ограничений. Поощряется распространение информации с этого сайта на любых других ресурсах. Каждый человек имеет право на неограниченный доступ к этим документам! Каждый человек имеет право на знание требований, изложенных в данных нормативно-правовых актах!

  


 

ГОСТ 10921-90

Вентиляторы радиальные и осевые. Методы аэродинамических испытаний

Обозначение:ГОСТ 10921-90
Текущий статус документа: действующий
Название документа рус.:Вентиляторы радиальные и осевые. Методы аэродинамических испытаний
Название документа англ.:Radial and axial fans. Aerodynamic testing methods
Дата актуализации текста:01.12.2013
Дата издания:24.04.1991
Дата введения:01.01.1992
Дата последнего изменения:22.05.2013
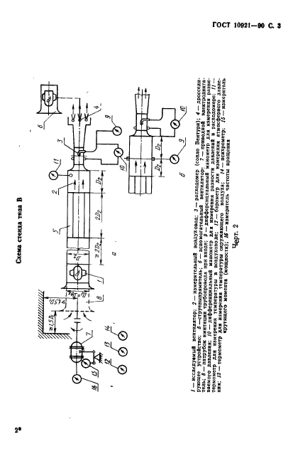
Область применения:Настоящий стандарт распространяется на радиальные и осевые вентиляторы с диаметрами рабочих колес от 0,05 до 5,0 м, создающих при нормальной плотности воздуха 1,2 кг/м куб полное давление не более 30 кПа, и устанавливает методы получения их аэродинамических характеристик на испытательных стендах
ГОСТ 10921-90ГОСТ 10921-90ГОСТ 10921-90ГОСТ 10921-90ГОСТ 10921-90ГОСТ 10921-90ГОСТ 10921-90ГОСТ 10921-90ГОСТ 10921-90ГОСТ 10921-90ГОСТ 10921-90ГОСТ 10921-90ГОСТ 10921-90ГОСТ 10921-90ГОСТ 10921-90ГОСТ 10921-90ГОСТ 10921-90ГОСТ 10921-90ГОСТ 10921-90ГОСТ 10921-90ГОСТ 10921-90ГОСТ 10921-90ГОСТ 10921-90ГОСТ 10921-90ГОСТ 10921-90ГОСТ 10921-90ГОСТ 10921-90ГОСТ 10921-90ГОСТ 10921-90ГОСТ 10921-90ГОСТ 10921-90ГОСТ 10921-90ГОСТ 10921-90ГОСТ 10921-90
 




ГОСТЫ, СТРОИТЕЛЬНЫЕ и ТЕХНИЧЕСКИЕ НОРМАТИВЫ.
Некоммерческая онлайн система, содержащая все Российские Госты, национальные Стандарты и нормативы.
В Системе содержится более 150000 файлов нормативно-технической документации, действующей на территории РФ.
Система предназначена для широкого круга инженерно-технических специалистов.

Рейтинг@Mail.ru Яндекс цитирования

Copyright © www.gostrf.com, 2008 - 2026