Крупнейшая бесплатная информационно-справочная система онлайн доступа к полному собранию технических нормативно-правовых актов РФ. Огромная база технических нормативов (более 150 тысяч документов) и полное собрание национальных стандартов, аутентичное официальной базе Госстандарта. GOSTRF.com - это более 1 Терабайта бесплатной технической информации для всех пользователей интернета. Все электронные копии представленных здесь документов могут распространяться без каких-либо ограничений. Поощряется распространение информации с этого сайта на любых других ресурсах. Каждый человек имеет право на неограниченный доступ к этим документам! Каждый человек имеет право на знание требований, изложенных в данных нормативно-правовых актах!

  


 

ГОСТ 7076-99

Материалы и изделия строительные. Метод определения теплопроводности и термического сопротивления при стационарном тепловом режиме

Обозначение:ГОСТ 7076-99
Текущий статус документа: действующий
Название документа рус.:Материалы и изделия строительные. Метод определения теплопроводности и термического сопротивления при стационарном тепловом режиме
Название документа англ.:Building materials and products. Method of determination of steady-state thermal conductivity and thermal resistance
Дата актуализации текста:01.12.2013
Дата издания:10.03.2000
Дата введения:31.03.2000
Дата последнего изменения:22.05.2013
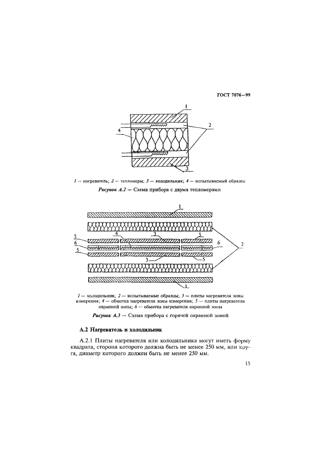
Область применения:Настоящий стандарт распространяется на строительные материалы и изделия, а также на материалы и изделия, предназначенные для тепловой изоляции промышленного оборудования и трубопроводов, и устанавливает метод определения их эффективной теплопроводности и термического сопротивления при средней температуре образца от минус 40 до + 200 град. С.
Стандарт не распространяется на материалы и изделия с теплопроводностью более 1,5 Вт/(м.К)
ГОСТ 7076-99ГОСТ 7076-99ГОСТ 7076-99ГОСТ 7076-99ГОСТ 7076-99ГОСТ 7076-99ГОСТ 7076-99ГОСТ 7076-99ГОСТ 7076-99ГОСТ 7076-99ГОСТ 7076-99ГОСТ 7076-99ГОСТ 7076-99ГОСТ 7076-99ГОСТ 7076-99ГОСТ 7076-99ГОСТ 7076-99ГОСТ 7076-99ГОСТ 7076-99ГОСТ 7076-99ГОСТ 7076-99ГОСТ 7076-99ГОСТ 7076-99ГОСТ 7076-99ГОСТ 7076-99ГОСТ 7076-99ГОСТ 7076-99
 




ГОСТЫ, СТРОИТЕЛЬНЫЕ и ТЕХНИЧЕСКИЕ НОРМАТИВЫ.
Некоммерческая онлайн система, содержащая все Российские Госты, национальные Стандарты и нормативы.
В Системе содержится более 150000 файлов нормативно-технической документации, действующей на территории РФ.
Система предназначена для широкого круга инженерно-технических специалистов.

Рейтинг@Mail.ru Яндекс цитирования

Copyright © www.gostrf.com, 2008 - 2026