Крупнейшая бесплатная информационно-справочная система онлайн доступа к полному собранию технических нормативно-правовых актов РФ. Огромная база технических нормативов (более 150 тысяч документов) и полное собрание национальных стандартов, аутентичное официальной базе Госстандарта. GOSTRF.com - это более 1 Терабайта бесплатной технической информации для всех пользователей интернета. Все электронные копии представленных здесь документов могут распространяться без каких-либо ограничений. Поощряется распространение информации с этого сайта на любых других ресурсах. Каждый человек имеет право на неограниченный доступ к этим документам! Каждый человек имеет право на знание требований, изложенных в данных нормативно-правовых актах!

  


 

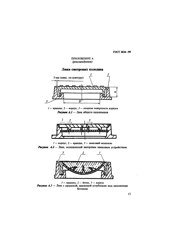
ГОСТ 3634-99

Люки смотровых колодцев и дождеприемники ливнесточных колодцев. Технические условия

Обозначение:ГОСТ 3634-99
Текущий статус документа: действующий
Название документа рус.:Люки смотровых колодцев и дождеприемники ливнесточных колодцев. Технические условия
Название документа англ.:Access manhole covers and storm-flow receivers for manholes. Technical requirements
Дата актуализации текста:01.12.2013
Дата издания:18.12.2000
Дата введения:01.01.2001
Дата последнего изменения:22.05.2013
Взамен:
Область применения:Настоящий стандарт распространяется на люки колодцев и камер подземных инженерных городских коммуникаций: тепловых, газовых и кабельных сетей, водопровода, канализации, а также на дождеприемники ливневой канализации, предназначенные для приема поверхностных сточных вод и атмосферных осадков.
Решетки дождеприемников, выполненные по настоящему стандарту, нельзя устанавливать в полу помещений и на крыше зданий
ГОСТ 3634-99ГОСТ 3634-99ГОСТ 3634-99ГОСТ 3634-99ГОСТ 3634-99ГОСТ 3634-99ГОСТ 3634-99ГОСТ 3634-99ГОСТ 3634-99ГОСТ 3634-99ГОСТ 3634-99ГОСТ 3634-99ГОСТ 3634-99ГОСТ 3634-99ГОСТ 3634-99ГОСТ 3634-99ГОСТ 3634-99ГОСТ 3634-99ГОСТ 3634-99ГОСТ 3634-99ГОСТ 3634-99ГОСТ 3634-99ГОСТ 3634-99
 




ГОСТЫ, СТРОИТЕЛЬНЫЕ и ТЕХНИЧЕСКИЕ НОРМАТИВЫ.
Некоммерческая онлайн система, содержащая все Российские Госты, национальные Стандарты и нормативы.
В Системе содержится более 150000 файлов нормативно-технической документации, действующей на территории РФ.
Система предназначена для широкого круга инженерно-технических специалистов.

Рейтинг@Mail.ru Яндекс цитирования

Copyright © www.gostrf.com, 2008 - 2026