Крупнейшая бесплатная информационно-справочная система онлайн доступа к полному собранию технических нормативно-правовых актов РФ. Огромная база технических нормативов (более 150 тысяч документов) и полное собрание национальных стандартов, аутентичное официальной базе Госстандарта. GOSTRF.com - это более 1 Терабайта бесплатной технической информации для всех пользователей интернета. Все электронные копии представленных здесь документов могут распространяться без каких-либо ограничений. Поощряется распространение информации с этого сайта на любых других ресурсах. Каждый человек имеет право на неограниченный доступ к этим документам! Каждый человек имеет право на знание требований, изложенных в данных нормативно-правовых актах!

  


 

ГОСТ 28164-89

Боксы радиационно-защитные с перчатками. Типы

Обозначение:ГОСТ 28164-89
Текущий статус документа: действующий
Название документа рус.:Боксы радиационно-защитные с перчатками. Типы
Название документа англ.:Radiation-shielding glove boxes. Types
Дата актуализации текста:01.12.2013
Дата издания:05.09.1989
Дата введения:30.06.1990
Дата последнего изменения:22.05.2013
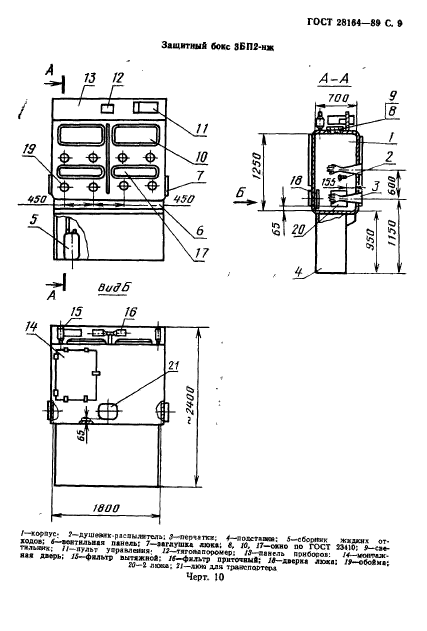
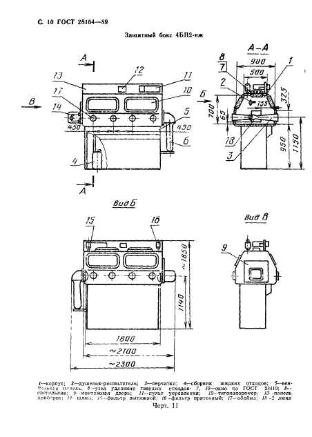
Область применения:Настоящий стандарт распространяется на металлические и пластмассовые радиационно-защитные боксы с перчатками, с толщинами радиационной защиты из стали не более 2,5 мм или из органического стекла и других пластмасс не более 10 мм, оснащенные герметичными перчатками, предназначенные для работы с радиоактивными веществами в открытом виде по I, II и III классам работ, определяемым “Основными санитарными правилами работы с радиоактивными веществами и другими источниками ионизирующих излучений ОСП 72/87“, утвержденными Главным Государственным санитарным врачом.
Стандарт не распространяется на радиационно-защитные боксы, предназначенные для применения на передвижных объектах, а также боксы, предназначенные для специальных целей
ГОСТ 28164-89ГОСТ 28164-89ГОСТ 28164-89ГОСТ 28164-89ГОСТ 28164-89ГОСТ 28164-89ГОСТ 28164-89ГОСТ 28164-89ГОСТ 28164-89ГОСТ 28164-89ГОСТ 28164-89ГОСТ 28164-89ГОСТ 28164-89ГОСТ 28164-89ГОСТ 28164-89ГОСТ 28164-89ГОСТ 28164-89ГОСТ 28164-89ГОСТ 28164-89
 




ГОСТЫ, СТРОИТЕЛЬНЫЕ и ТЕХНИЧЕСКИЕ НОРМАТИВЫ.
Некоммерческая онлайн система, содержащая все Российские Госты, национальные Стандарты и нормативы.
В Системе содержится более 150000 файлов нормативно-технической документации, действующей на территории РФ.
Система предназначена для широкого круга инженерно-технических специалистов.

Рейтинг@Mail.ru Яндекс цитирования

Copyright © www.gostrf.com, 2008 - 2026