Крупнейшая бесплатная информационно-справочная система онлайн доступа к полному собранию технических нормативно-правовых актов РФ. Огромная база технических нормативов (более 150 тысяч документов) и полное собрание национальных стандартов, аутентичное официальной базе Госстандарта. GOSTRF.com - это более 1 Терабайта бесплатной технической информации для всех пользователей интернета. Все электронные копии представленных здесь документов могут распространяться без каких-либо ограничений. Поощряется распространение информации с этого сайта на любых других ресурсах. Каждый человек имеет право на неограниченный доступ к этим документам! Каждый человек имеет право на знание требований, изложенных в данных нормативно-правовых актах!

  


 

ГОСТ 28043-89

Персональные электронные вычислительные машины. Интерфейс накопителей на жестких несменных магнитных дисках с подвижными головками. Общие требования

Обозначение:ГОСТ 28043-89
Текущий статус документа: действующий
Название документа рус.:Персональные электронные вычислительные машины. Интерфейс накопителей на жестких несменных магнитных дисках с подвижными головками. Общие требования
Название документа англ.:Personal computers. Removable heads hard fixed disk drive interface. General requirements
Дата актуализации текста:01.12.2013
Дата издания:01.09.1989
Дата введения:30.06.1990
Дата последнего изменения:22.05.2013
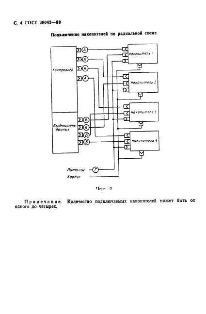
Область применения:Настоящий стандарт распространяется на интерфейс накопителей на жестких несменных магнитных дисках с подвижными головками со скоростью передачи данных 625 кбайт.с в степени минус 1, используемый в персональных вычислительных машинах общего и специального назначения.
Настоящий стандарт устанавливает общие требования к интерфейсу, состав и требования к функциональным характеристикам сигналов и линий связи между накопителем, контроллером и источниками электропитания
ГОСТ 28043-89ГОСТ 28043-89ГОСТ 28043-89ГОСТ 28043-89ГОСТ 28043-89ГОСТ 28043-89ГОСТ 28043-89ГОСТ 28043-89ГОСТ 28043-89ГОСТ 28043-89ГОСТ 28043-89ГОСТ 28043-89ГОСТ 28043-89ГОСТ 28043-89ГОСТ 28043-89
 




ГОСТЫ, СТРОИТЕЛЬНЫЕ и ТЕХНИЧЕСКИЕ НОРМАТИВЫ.
Некоммерческая онлайн система, содержащая все Российские Госты, национальные Стандарты и нормативы.
В Системе содержится более 150000 файлов нормативно-технической документации, действующей на территории РФ.
Система предназначена для широкого круга инженерно-технических специалистов.

Рейтинг@Mail.ru Яндекс цитирования

Copyright © www.gostrf.com, 2008 - 2026