Крупнейшая бесплатная информационно-справочная система онлайн доступа к полному собранию технических нормативно-правовых актов РФ. Огромная база технических нормативов (более 150 тысяч документов) и полное собрание национальных стандартов, аутентичное официальной базе Госстандарта. GOSTRF.com - это более 1 Терабайта бесплатной технической информации для всех пользователей интернета. Все электронные копии представленных здесь документов могут распространяться без каких-либо ограничений. Поощряется распространение информации с этого сайта на любых других ресурсах. Каждый человек имеет право на неограниченный доступ к этим документам! Каждый человек имеет право на знание требований, изложенных в данных нормативно-правовых актах!

  


 

ГОСТ 27915-88

Реле измерительные с одной входной воздействующей величиной с ненормируемым временем или независимой выдержкой времени

Обозначение:ГОСТ 27915-88
Текущий статус документа: действующий
Название документа рус.:Реле измерительные с одной входной воздействующей величиной с ненормируемым временем или независимой выдержкой времени
Название документа англ.:Single input energizing quantity measuring relays with non-specified time or wiht independent specified time
Дата актуализации текста:01.12.2013
Дата издания:06.02.1988
Дата введения:01.01.1992
Дата последнего изменения:22.05.2013
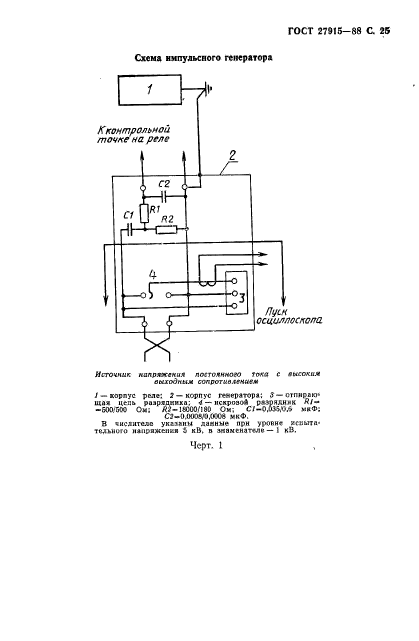
Область применения:Настоящий стандарт распространяется на измерительные электрические реле, используемые в электротехнике, с контактом (ами), с одной входной воздействующей величиной с ненормируемым временем или независимой выдержкой времени.
Стандарт рспространяется только на новые реле.
Стандарт рспространяется на реле, используемые в электротехнике, и не распространяется на реле, применяемые в телеграфных и телефонных системах, в системах блокировки и сигнализации, используемых на железных дорогах
ГОСТ 27915-88ГОСТ 27915-88ГОСТ 27915-88ГОСТ 27915-88ГОСТ 27915-88ГОСТ 27915-88ГОСТ 27915-88ГОСТ 27915-88ГОСТ 27915-88ГОСТ 27915-88ГОСТ 27915-88ГОСТ 27915-88ГОСТ 27915-88ГОСТ 27915-88ГОСТ 27915-88ГОСТ 27915-88ГОСТ 27915-88ГОСТ 27915-88ГОСТ 27915-88ГОСТ 27915-88ГОСТ 27915-88ГОСТ 27915-88ГОСТ 27915-88ГОСТ 27915-88ГОСТ 27915-88ГОСТ 27915-88ГОСТ 27915-88ГОСТ 27915-88ГОСТ 27915-88ГОСТ 27915-88ГОСТ 27915-88ГОСТ 27915-88ГОСТ 27915-88ГОСТ 27915-88
 




ГОСТЫ, СТРОИТЕЛЬНЫЕ и ТЕХНИЧЕСКИЕ НОРМАТИВЫ.
Некоммерческая онлайн система, содержащая все Российские Госты, национальные Стандарты и нормативы.
В Системе содержится более 150000 файлов нормативно-технической документации, действующей на территории РФ.
Система предназначена для широкого круга инженерно-технических специалистов.

Рейтинг@Mail.ru Яндекс цитирования

Copyright © www.gostrf.com, 2008 - 2026