Крупнейшая бесплатная информационно-справочная система онлайн доступа к полному собранию технических нормативно-правовых актов РФ. Огромная база технических нормативов (более 150 тысяч документов) и полное собрание национальных стандартов, аутентичное официальной базе Госстандарта. GOSTRF.com - это более 1 Терабайта бесплатной технической информации для всех пользователей интернета. Все электронные копии представленных здесь документов могут распространяться без каких-либо ограничений. Поощряется распространение информации с этого сайта на любых других ресурсах. Каждый человек имеет право на неограниченный доступ к этим документам! Каждый человек имеет право на знание требований, изложенных в данных нормативно-правовых актах!

  


 

ГОСТ 27871-88

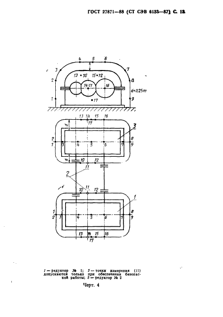
Редукторы общего назначения. Методы определения уровня звуковой мощности

Обозначение:ГОСТ 27871-88
Текущий статус документа: утратил силу в РФ
Название документа рус.:Редукторы общего назначения. Методы определения уровня звуковой мощности
Название документа англ.:Reducers of general usage. Methods for the determination of the sound power level
Дата актуализации текста:01.12.2013
Дата издания:16.01.1989
Дата введения:01.01.1990
Дата последнего изменения:22.05.2013
Дата окончания срока действия:01.07.2008
Список изменений:№0 от 01.07.2008 (рег. 27.12.2007) «Поправка к изменению»
ГОСТ 27871-88ГОСТ 27871-88ГОСТ 27871-88ГОСТ 27871-88ГОСТ 27871-88ГОСТ 27871-88ГОСТ 27871-88ГОСТ 27871-88ГОСТ 27871-88ГОСТ 27871-88ГОСТ 27871-88ГОСТ 27871-88ГОСТ 27871-88ГОСТ 27871-88ГОСТ 27871-88ГОСТ 27871-88ГОСТ 27871-88ГОСТ 27871-88ГОСТ 27871-88ГОСТ 27871-88ГОСТ 27871-88ГОСТ 27871-88ГОСТ 27871-88ГОСТ 27871-88ГОСТ 27871-88ГОСТ 27871-88ГОСТ 27871-88ГОСТ 27871-88ГОСТ 27871-88ГОСТ 27871-88ГОСТ 27871-88ГОСТ 27871-88ГОСТ 27871-88ГОСТ 27871-88
 




ГОСТЫ, СТРОИТЕЛЬНЫЕ и ТЕХНИЧЕСКИЕ НОРМАТИВЫ.
Некоммерческая онлайн система, содержащая все Российские Госты, национальные Стандарты и нормативы.
В Системе содержится более 150000 файлов нормативно-технической документации, действующей на территории РФ.
Система предназначена для широкого круга инженерно-технических специалистов.

Рейтинг@Mail.ru Яндекс цитирования

Copyright © www.gostrf.com, 2008 - 2026