Крупнейшая бесплатная информационно-справочная система онлайн доступа к полному собранию технических нормативно-правовых актов РФ. Огромная база технических нормативов (более 150 тысяч документов) и полное собрание национальных стандартов, аутентичное официальной базе Госстандарта. GOSTRF.com - это более 1 Терабайта бесплатной технической информации для всех пользователей интернета. Все электронные копии представленных здесь документов могут распространяться без каких-либо ограничений. Поощряется распространение информации с этого сайта на любых других ресурсах. Каждый человек имеет право на неограниченный доступ к этим документам! Каждый человек имеет право на знание требований, изложенных в данных нормативно-правовых актах!

  


 

ГОСТ 27713-88

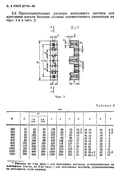
Литейное оборудование. Машины для литья в кокиль. Присоединительные размеры крепления кокилей

Обозначение:ГОСТ 27713-88
Текущий статус документа: действующий
Название документа рус.:Литейное оборудование. Машины для литья в кокиль. Присоединительные размеры крепления кокилей
Название документа англ.:Foundry equipment. Machines for casting in chill moulds. Mounting dimensions for chill fixing
Дата актуализации текста:01.12.2013
Дата издания:09.08.1988
Дата введения:30.06.1989
Дата последнего изменения:22.05.2013
Область применения:Настоящий стандарт распространяется на вновь проектируемые и модернизируемые машины для литья в кокиль с вертикальным, горизонтальным и комбинированным разъемом по ГОСТ 9451-84, предназначенные для серийного производства
ГОСТ 27713-88ГОСТ 27713-88ГОСТ 27713-88ГОСТ 27713-88ГОСТ 27713-88ГОСТ 27713-88ГОСТ 27713-88ГОСТ 27713-88ГОСТ 27713-88ГОСТ 27713-88ГОСТ 27713-88ГОСТ 27713-88ГОСТ 27713-88ГОСТ 27713-88ГОСТ 27713-88
 




ГОСТЫ, СТРОИТЕЛЬНЫЕ и ТЕХНИЧЕСКИЕ НОРМАТИВЫ.
Некоммерческая онлайн система, содержащая все Российские Госты, национальные Стандарты и нормативы.
В Системе содержится более 150000 файлов нормативно-технической документации, действующей на территории РФ.
Система предназначена для широкого круга инженерно-технических специалистов.

Рейтинг@Mail.ru Яндекс цитирования

Copyright © www.gostrf.com, 2008 - 2026